заявка
№ US 0005849536
МПК A61K38/00

Cloning and production of human von willebrand factor GPIb binding domain polypeptides and methods of using same

Авторы:
Garfinkel; Leonard
Правообладатель:
Номер заявки
8347594
Дата подачи заявки
30.11.1994
Опубликовано
15.12.1998
Страна
US
Как управлять
интеллектуальной собственностью
Реферат

[320]

The subject invention provides non-glycosylated, biologically active polypeptides which comprise the vWF (von Willebrand Factor) GP1b binding domain. These polypeptides may be used to inhibit platelet adhesion and aggregation in the treatment of subjects with conditions such as cerebrovascular disorders and cardiovascular disorders. This invention also provides expression plasmids encoding these polypeptides as well as methods of producing by transforming a bacterial cell and recovering such polypeptides. In addition, the subject invention provides methods of treating and preventing cerebrovascular, cardiovascular and other disorders using these polypeptides to inhibit platelet aggregation.

Формула изобретения

1. A non-glycosylated, biologically active polypeptide consisting of the amino acid sequence: см. иллюстрацию в PDF-документе wherein X is NH2 -methionine- or NH2 -- and the two cysteines included in the sequence are joined by a disulfide bond.

2. A pharmaceutical composition comprising an amount of a polypeptide of claim 1 effective to inhibit platelet aggregation and a pharmaceutically acceptable carrier.

3. A method of inhibiting platelet aggregation which comprises contacting platelets with an amount of a polypeptide of claim 1 effective to inhibit platelet aggregation so as to inhibit platelet aggregation.

4. A method of claim 3 wherein the amount effective to inhibit platelet aggregation is 0.1-200 mg/kg body weight.

5. A method of claim 4 wherein the amount effective to inhibit platelet aggregation is 1-20 mg/kg body weight.

6. A method of claim 3 wherein the amount effective to inhibit platelet aggregation is an amount sufficient to maintain a blood concentration of 0.1-10 μM polypeptide.

7. A method of claim 6 wherein the blood concentration is maintained at about 1 μM polypeptide.

8. A method of treating a subject with a cerebrovascular disorder which comprises administering to the subject an amount of a polypeptide of claim 1 effective to inhibit platelet aggregation.

9. A method of treating a subject with a cardiovascular disorder which comprises administering to the subject an amount of a polypeptide of claim 1 effective to inhibit platelet aggregation.

10. A method of treating a subject in accordance with claim 9, wherein the cardiovascular disorder comprises acute myocardial infarction.

11. A method of treating a subject in accordance with claim 9, wherein the cardiovascular disorder comprises angina.

12. A method of inhibiting platelet aggregation in a subject prior to, during, or after the subject has undergone angioplasty, thrombolytic treatment, or coronary bypass surgery which comprises administering to the subject an amount of a polypeptide of claim 1 effective to inhibit platelet aggregation.

13. A method of maintaining blood vessel patency in a subject prior to, during, or after the subject has undergone coronary bypass surgery, which comprises administering to the subject an amount of a polypeptide of claim 1 effective to inhibit platelet aggregation.

14. A method of inhibiting thrombosis in a subject which comprises administering to the subject an amount of a polypeptide of claim 1 effective to inhibit the thrombosis.

15. A method of claim 14, wherein the thrombosis is associated with an inflammatory response.

16. A polypeptide in accordance with claim 1 bound to a solid matrix.

17. A method of treating a subject suffering from platelet adhesion to damaged vascular surfaces which comprises administering to the subject an amount of the polypeptide of claim 1 effective to inhibit platelet adhesion to damaged vascular surfaces.

18. A method of claim 17 wherein the amount effective to inhibit platelet adhesion is 0.1-200 mg/kg body weight.

19. A method of claim 18 wherein the amount effective to inhibit platelet aggregation is 1-20 mg/kg body weight.

20. A method of claim 17 wherein the amount effective to inhibit platelet adhesion is the amount sufficient to maintain a blood concentration of 0.1-10 μM polypeptide.

21. A method of claim 20 wherein the blood concentration is maintained at about 1 μM polypeptide.

22. A method of thrombolytic treatment of thrombi-containing, platelet-rich aggregates in a subject which comprises administering to the subject an amount of the polypeptide of claim 1 effective to treat thrombi-containing, platelet-rich aggregates.

23. A method of preventing platelet adhesion to a prosthetic material or device in a subject which comprises administering to the subject an amount of the polypeptide of claim 1 effective to prevent platelet adhesion to the material or device.

24. A method of inhibiting re-occlusion in a subject following angioplasty or thrombolysis which comprises administering to the subject an amount of the polypeptide of claim 1 effective to inhibit re-occlusion.

Описание

[1]

This application is a continuation of U.S. Ser. No. 08/080,690, filed Jun. 22, 1993, now abandoned; which is a continuation of U.S. Ser. No. 07/753,815, filed Sep. 3, 1991, now abandoned; which is filed under 35 USC 371 as the national stage of International Application No. PCT/US91/01416, filed Mar. 1, 1991; which is a continuation-in-part of U.S. Ser. No. 07/487,767, filed Mar. 2, 1990, now abandoned, the contents of which are hereby incorporated by reference into the present disclosure.

BACKGROUND OF THE INVENTION

[2]

Throughout this application various publications are referenced within parentheses. The disclosures of these publications in their entireties are hereby incorporated by reference in this application in order to more fully describe the state of the art to which this invention pertains.

[3]

This invention relates to the cloning and production of human von Willebrand Factor analogs and methods of using such analogs.

Structural Features of von Willebrand Factor

[4]

Von Willebrand Factor (vWF) is a large plasma protein which is synthesized in the endothelial cells which form the inner surface lining of the blood vessel wall, and by megakarocytes, the precursor of platelets. Large amounts of vWF are found in platelet α-granules, whose contents are released into the blood upon platelet activation. Newly synthesized vWF in endothelial cells may enter the blood via two alternative pathways. Part is secreted constitutively into the blood, mainly as disulfide-linked dimers or small multimers of a 250,000 dalton subunit. Alternatively, part enters secretory organelles called Weibel-Palade bodies. The vWF stored in Weibel-Palade bodies is highly multimeric, ranging in size from that of a dimer to multimers of 50 or more subunits, and can be released from the cells by treatment with secretatogues, such as thrombin. The highly multimeric vWF is the most effective in promoting platelet adhesion.

[5]

The gene encoding vWF has been isolated and shown to be greater than 150 kb in length. It is composed of over 20 exons. The vWF mRNA is approximately 9000 bases in length and encodes a pre-pro-vWF of 2813 amino acids. Residues 1-22 form a processed leader sequence which presumably is cleaved after entry of the protein into the rough endoplasmic reticulum. The N-terminal portion of the pro-vWF (741 amino acids) is the pro-peptide which is not present in mature vWF. This peptide is present in the blood and has been shown to be identical to a blood protein previously known as von Willebrand Antigen II (vW AgII). The pro-peptide is essential for the multimerization of vWF. Cells into which a vWF cDNA containing only mature vWF sequences have been introduced produce only dimers. No function is known for the propeptide/vW AgII.

[6]

DNA sequence analysis has demonstrated that the pro-vWF precursor is composed of repeated domain subunits. Four different domains have been identified. Mature vWF consists of three A type, three B type, and two C type domains. There are also two complete and one partial D type domain. The pro-peptide consists of two D type domains, leading to the speculation that it may have associated functions.

[7]

Mature vWF is a multivalent molecule which has binding sites for several proteins. One of the binding sites recognizes the platelet glycoprotein Ib (GPIb). Using proteolytic digests this site has been localized to the region between amino acid residues 449 and 728 of mature vWF. In addition, vWF has at least two collagen binding sites, at least two heparin binding sites, a Factor VIII binding site, and a RGD site which binds to the platelet GP IIb/IIIa receptor.

Involvement Of vWF In Platelet Adhesion To Subendothelium

[8]

Evidence that vWF, and specifically, the binding of vWF to the platelet GPIb receptor, is essential for normal platelet adhesion, is based on both clinical observations and in vitro studies. Patients with the bleeding disorder von Willebrand Disease (vWD) have reduced levels of vWF or are completely lacking in vWF. Alternatively, they may have defective vWF. Another disorder, Bernard-Soulier Syndrome (BSS), is characterized by platelets lacking GPIb receptors.

[9]

The in vitro system which most closely approximates the environment of a damaged blood vessel consists of a perfusion chamber in which an everted blood vessel segment (rabbit aorta, human post-mortem renal artery, or the human umbilical artery) is exposed to flowing blood. After stripping off the layer of endothelial cells from the vessel, blood is allowed to flow through the chamber. The extent of platelet adhesion is estimated directly by morphometry or indirectly using radiolabeled platelets. Blood from patients with VWD or BSS does not support platelet adhesion in this system while normal blood does, indicating the need for vWF and platelet GPIb. Moreover, addition of monoclonal antibodies to GPIb prevents platelet adhesion as well. The vWF-dependence of platelet adhesion is more pronounced under conditions of high shear rates, such as that present in arterial flow. Under conditions of low shear rates, platelet adhesion may be facilitated by other adhesion proteins, such as fibronectin. Possibly, the adhesive forces provided by these other proteins are not adequate to support adhesion at high shear forces, and vWF dependence becomes apparent. Also, the multimeric nature of the vWF may provide for a stronger bond by binding more sites on the platelet.

[10]

About 20% of patients from whom clots have been removed by angioplasty or by administration of tissue plasminogen activator (tPA) suffer re-occlusion. This is presumably the result of damage to the endothelium during the treatment which results in the adhesion of platelets to the affected region on the inner surface of the vessel. This is followed by the aggregation of many layers of platelets and fibrin onto the previously adhered platelets, forming a thrombus.

[11]

To date none of the anti-platelet aggregation agents described in the literature prevent the initial platelet adhesion to the exposed sub-endothelium thereby preventing subsequent clot formation.

[12]

The subject invention provides non-glycosylated, biologically active polypeptides which comprise the vWF (von Willebrand Factor) GP1b binding domain. These polypeptides may be used inter alia to inhibit platelet adhesion and aggregation in the treatment of subjects with conditions such as cerebrovascular disorders and cardiovascular disorders. This invention also provides expression plasmids encoding these polypeptides as well as methods of producing by transforming a bacterial cell and recovering such polypeptides. In addition, the subject invention provides methods of treating and preventing cerebrovascular, cardiovascular and other disorders using these polypeptides to inhibit platelet aggregation.

SUMMARY OF THE INVENTION

[13]

This invention provides a non-glycosylated, biologically active polypeptide having the amino acid sequence: см. иллюстрацию в PDF-документе wherein X is NH2 -methionine- or NH2 --;

[14]

A is a sequence of at least 1, but less than 35 amino acids, which sequence is present in naturally occurring vWF, the carboxy terminal amino acid of which is the tyrosine #508 shown in FIG. 12 SEQ ID NO.1;

[15]

B is a sequence of at least 1, but less than 211 amino acids, which sequence is present in naturally occurring vWF, the amino terminal amino acid of which is the aspartic acid #696 shown in FIG. 12 SEQ ID NO.1; and

[16]

the two cysteines included within the bracketed sequence are joined by a disulfide bond.

[17]

In addition, the subject invention provides a method of producing any of the above-described polypeptides which comprises transforming a bacterial cell with an expression plasmid encoding the polypeptide, culturing the resulting bacterial cell so that the cell produces the polypeptide encoded by the plasmid, and recovering the polypeptide so produced.

[18]

Furthermore, the subject invention provides a pharmaceutical composition comprising an amount of any of the above-described polypeptides effective to inhibit platelet aggregation and a pharmaceutically acceptable carrier. The subject invention also provides a method of inhibiting platelet aggregation which comprises contacting platelets with an amount of any of the above-described polypeptides effective to inhibit platelet aggregation. In addition, the subject invention provides methods of treating, preventing or inhibiting disorders such as cerebrovascular or cardiovascular disorders or thrombosis, comprising administering to the subject an amount of any of the above-described polypeptides effective to treat or prevent such disorders.

[19]

The subject invention also provides a method for recovering a purified, biologically active above-described polypeptide which comprises:

[20]

(a) producing in a bacterial cell a first polypeptide having the amino acid sequence of the polypeptide but lacking the disulfide bond;

[21]

(b) disrupting the bacterial cell so as to produce a lysate containing the first polypeptide;

[22]

(c) treating the lysate so as to obtain inclusion bodies containing the first polypeptide;

[23]

(d) contacting the inclusion bodies from step (c) so as to obtain the first polypeptide in soluble form;

[24]

(e) treating the resulting first polypeptide so as to form the biologically active polypeptide;

[25]

(f) recovering the biologically active polypeptide so formed; and

[26]

(g) purifying the biologically active polypeptide so recovered.

BRIEF DESCRIPTION OF THE FIGURES

[27]

FIG. 1: Construction of pvW1P

[28]

This figure shows the construction of plasmid pvW1P. A series of vWF cDNA clones in λ gt11 (isolated from a human endothelial cell cDNA library) were isolated. One cDNA clone covering the entire GPIb binding domain was subcloned into the EcoRI site of pUC19. The resulting plasmid, pvW1P, contains a 2.5 kb cDNA insert.

[29]

FIG. 2: Construction of pvWF-VA1

[30]

This figure shows the construction of plasmid pvWF-VA1. A synthetic oligomer containing an ATG initiation codon located before the amino acid glu-437 (i.e., the 437th amino acid in the vWF protein shown in FIG. 12) was ligated to plasmid pvW1P digested with NdeI and Bsu36I. The resulting plasmid was designated pvWF-VA1, and has been deposited in E. coli strain Sφ930 under ATCC Accession No. 68530.

[31]

FIG. 3: Construction of pvWF-VB1

[32]

This figure shows the construction of plasmid pvWF-VB1. A synthetic oligomer containing an ATG initiation codon located before the amino acid phe-443 (see FIG. 12) was ligated to plasmid pvW1p digested with NdeI and Bsu36I. The resulting plasmid was designated pvWF-VB1.

[33]

FIG. 4: Construction of pvWF-VA2

[34]

This figure shows the construction of plasmid pvWF-VA2. A synthetic oligomer containing a TAA termination codon located after the amino acid lys-728 (see FIG. 12) was ligated to plasmid pvWF-VA1 digested with HindIII and XmaI.

[35]

The resulting plasmid was designated pvWF-VA2.

[36]

FIG. 5: Construction of pvWF-VB2

[37]

This figure shows the construction of plasmid pvWF-VB2. A synthetic oligomer containing a TAA termination codon was ligated to plasmid pvWF-VB1 digested with HindIII and XmaI. The resulting plasmid was designated pvWF-VB2.

[38]

FIG. 6: Construction of pvWF-VA3

[39]

This figure shows the construction of plasmid pvWF-VA3. An NdeI-EcoRV fragment was isolated from plasmid pvWF-VA2 and ligated to plasmid pMF-945 (constructed as described in FIG. 11) digested with NdeI and PvuII. The plasmid obtained was designated pvWF-VA3. The plasmid expresses VA, a vWF GPIb binding domain polypeptide which includes amino acids 437 to 728 (see FIG. 12) under the control of the deo P1 P2 promoter.

[40]

FIG. 7: Construction of pvWF-VB3

[41]

This figure shows the construction of plasmid pvWF-VB3. An NdeI-EcoRV fragment was isolated from plasmid pvWF-VB2 and ligated to plasmid pMF-945 digested with NdeI and PvuII. The plasmid obtained was designated pvWF-VB3. The plasmid expresses VB, a vWF GPIb binding domain polypeptide which includes amino acids 443 to 728 under the control of the deo P1 P2 promoter.

[42]

FIG. 8: Construction of pvWF-VC3

[43]

This figure shows the construction of plasmid pvWF-VC3. A synthetic linker was ligated to pvWF-VA3 digested with NdeI and Tth111I. The plasmid obtained was designated pvWF-VC3, and has been deposited with the ATCC under ATCC Accession No. 68241. The plasmid expresses VC (also referred to as VCL or VC3), a vWF GPIb binding domain polypeptide which includes amino acids 504 to 728 (see FIG. 12) under the control of the deo P1 P2 promoter.

[44]

FIG. 9: Construction of pvWF-VD3

[45]

This figure shows the construction of plasmid pvWF-VD3. A synthetic linker was ligated to pvWF-VA3 digested with NdeI and Tth111I. The plasmid obtained was designated pvWF-VD3. The plasmid expresses VD, a vWF GPIb binding domain polypeptide which includes amino acids 513 to 728 (see FIG. 12) under the control of the deo P1 P2 promoter.

[46]

FIG. 10: Relative Alignment of Plasmids Expressing vWF-GPIb Binding Domain Polypeptides

[47]

This figure shows the relative alignment of the plasmids expressing the vWF-GPIb binding domain polypeptides. Also shown on the top two lines are representations of the vWF cDNA and the location of the GPIb binding domain coding region within the cDNA.

[48]

FIG. 11: Construction of Plasmid pMF-945

[49]

This figure shows the construction of plasmid pMF-945. Plasmid pEFF-920 (in Escherichia coli Sφ930, ATCC Accession No. 67706) was cleaved with BglII and NdeI, and the large fragment was isolated. This fragment was ligated to the small 540 bp fragment produced by cleaving plasmid pMF-5534 (ATCC Accession No. 67703) with BglII and NdeI. This produces plasmid pMF-945 which harbors the PAR sequence and in 5' and 3' order the deo P1 P2 promoter sequences, the modified deo ribosomal binding site with an enhancer sequence, a pGH analog coding sequence and the T1 T2 transcription termination sequences. Plasmid pMF-945 is a high level expressor of pGH analog protein.

[50]

FIG. 12: Translated cDNA Sequence of Mature Human vWF

[51]

This figure which consists of FIGS. 12A, 12B, 12C, 12D, 12E, 12F, 12G and 12H shows the translated cDNA sequence of mature human von Willebrand Factor SEQ ID NO.1.

[52]

This sequence was compiled using the data disclosed by Verweij, C. L., et al., EMBO Journal 5: 1839-1847 (1986) and Sadler, J. E., et al., Proc. Natl. Acad. Sci. 82: 6394-6398 (1985). This nucleotide sequence commences with nucleotide number 2519 (where nucleotide 1 relates to the start of the coding sequence for the signal peptide) and terminates with nucleotide 8668, a total of 6150 nucleotides encoding mature vWF consisting of 2050 amino acids. The translated amino acid sequence commences with amino acid number 1 and terminates with amino acid number 2050. The corresponding nucleotide and amino acid designations are used throughout this application.

[53]

FIG. 13: Translated Sequence of VC, the vWF GPIb Binding Domain Polypeptide Expressed by Plasmids pvWF-VC3 and pvWF-VCL

[54]

This figure shows the translated sequence of the von Willebrand Factor GPIb binding domain polypeptide expressed by plasmids pvWF-VC3 (ATCC Accession No. 68241) and pvWF-VCL (ATCC Accession No. 68242 SEQ ID NO.2).

[55]

The first codon ATG encoding the translation initiation codon methionine has been added to the nucleotide sequence corresponding to nucleotides 4028 to 4702 of the sequence of FIG. 12. This sequence encodes a polypeptide containing 225 amino acids (plus the initiation methionine) corresponding to amino acid Leu 504 to amino acid Lys 728 of FIG. 12, i.e. 226 amino acids in total.

[56]

FIG. 14: Construction of pvWF-VCL

[57]

This figure shows the construction of plasmid pvWF-VCL. Plasmid pvWF-VC3 was digested with HindIII and StyI and the 860 base pair fragment isolated. This fragment was ligated with the large fragment isolated from the HindIII-StyI digest of plasmid pMLK-100. The resulting plasmid was designated pvWF-VCL and deposited in E. coli 4300(F-) with the ATCC under ATCC Accession No. 68242. This plasmid expresses VCL, the same vWF GPIb binding domain polypeptide as pvWF-VC3 (methionine plus amino acids 504-728), however under control of the λPL promoter and the deo ribosomal binding site.

[58]

FIG. 15: Construction of Plasmid pvWF-VE2

[59]

Plasmid pvWF-VA2 was digested with NdeI and PstI and the large fragment isolated. Synthetic oligomers No. 2 and No. 3 (shown in FIG. 16) were treated with T4 polynucleotide kinase. The large pvWF-VA2 fragment was then ligated with synthetic oligomers No. 1 and No. 4, (shown in FIG. 16) and with kinased oligomers No. 2 and No. 3. The resulting plasmid was designated pvWF-VE2.

[60]

FIG. 16: Synthetic Oligomers Used in Construction of pvWF-VE2.

[61]

This figure shows the four synthetic linkers (Nos. 1-4) used in construction of pvWF-VE2.

[62]

FIG. 17: Construction of Plasmid pvWF-VE3

[63]

Plasmid pvWF-VE2 was digested with NdeI and HindIII and the small 770 bp fragment isolated and ligated with the large fragment isolated from the NdeI-HindIII digest of plasmid pMLK-7891. The resulting plasmid was designated pvWF-VE3.

[64]

FIG. 18: Construction of Plasmid pvWF-VEL

[65]

Plasmid pvWF-VE3 was digested with XmnI, treated with bacterial alkaline phosphatase (BAP), and further digested with NdeI and HindIII. Plasmid pMLK-100 was digested with NdeI and HindIII and treated with BAP. The two digests were mixed and ligated, producing plasmid pvWF-VEL which expresses the DNA sequence corresponding to amino acids 469-728 of mature vWF under the control of the λPL promoter and the cII ribosomal binding site.

[66]

FIG. 19: The Effect of VCL on BJV-Induced Aggregation in Human Platelet Rich Plasma (PRP)

[67]

This figure provides the results of a standardized von Willebrand Factor (vWF)-dependent aggregation assay using human PRP.

[68]

FIG. 20: The Effect of VCL on BJV-Induced Aggregation in Rat PRP

[69]

This figure provides the results of a standardized von Willebrand Factor (vWF)-dependent aggregation assay using rat PRP.

[70]

FIG. 21: Inhibition of Platelet Adhesion to Endothelial Cell Extracellular Matrix (ECM) by the GPIb Binding Domain Polypeptide VCL

[71]

This figure shows the effect of VCL on binding of platelets to immobilized ECM as described in Example 9. At both low and high shear rates, VCL is effective in reducing platelet adhesion to ECM in vitro.

[72]

FIG. 22: Dose Response Curve of Inhibition of Platelet Adhesion to Endothelial Cell Extracellular Matrix (ECM) by the GPIb Binding Domain Polypeptide VCL

[73]

A series of concentrations of VCL was tested to determine the IC50 of VCL in vitro as described in Example 9. As seen in the figure, the IC50 is about 0.8 μM VCL, while maximal inhibition is achieved at about 2 μM VCL.

[74]

FIG. 23: Inhibition of Platelet Adhesion to Fibrinogen by the GPIb Binding Domain Polypeptide VCL

[75]

Platelet adhesion to immobilized fibrinogen and laminin were tested in the glass cover slip model as described in Example 9. VCL was more inhibitory of platelet adhesion to fibrinogen at a high shear rate than at a low shear rate. VCL did not inhibit binding of platelets to laminin.

[76]

FIG. 24: Inhibition of Platelet Adhesion to Collagen, vWF, and Fibronectin by the GPIb Binding Domain Polypeptide VCL

[77]

Platelet adhesion to immobilized collagen (Type I), immobilized vWF, and immobilized fibronectin was tested in the model as described in Example 9.

[78]

FIG. 25: Platelet Adhesion to VCL

[79]

VCL was also tested as a substrate in the model described in Example 9. Binding of platelets is low at both low and high shear rates (≦5% coverage).

DETAILED DESCRIPTION OF THE INVENTION

[80]

The plasmids pvWF-VC3, pvWF-VCL and pvWF-VA1 were deposited in Escherichia coli pursuant to, and in satisfaction of, the requirements of the Budapest Treaty on the International Recognition of the Deposit of Microorganisms for the Purposes of Patent Procedure with the American Type Culture Collection (ATCC), 12301 Parklawn Drive, Rockville, Md. 20852 under ATCC Accession Nos. 68241, 68242 and 68530, respectively.

[81]

This invention provides a non-glycosylated, biologically active polypeptide having the amino acid sequence: см. иллюстрацию в PDF-документе wherein X is NH2 -methionine- or NH2 --;

[82]

A is a sequence of at least 1, but less than 35 amino acids, which sequence is present in naturally occurring human vWF, the carboxy terminal amino acid of which is the tyrosine #508 shown in FIG. 12 SEQ ID NO.1;

[83]

B is a sequence of at least 1, but less than 211 amino acids, which sequence is present in naturally occurring human vWF, the amino terminal amino acid of which is the aspartic acid #696 shown in FIG. 12 SEQ ID NO.1; and the two cysteines included within the bracketed sequence are joined by a disulfide bond. The bracketed sequence comprises amino acids #509-#695 of FIG. 12.

[84]

In one embodiment, this polypeptide has the amino acid sequence: см. иллюстрацию в PDF-документе wherein X is NH2 -- or NH2 -methionine-, preferably NH2 -methionine-.

[85]

The bracketed sequence comprises amino acids #504-#728 of FIG. 12 SEQ ID NO.1.

[86]

One skilled in the art to which the subject invention pertains can readily make such polypeptides using recombinant or non-recombinant DNA techniques.

[87]

The polypeptides may be constructed using recombinant DNA technology. One means for obtaining the polypeptides is to express nucleic acid encoding the polypeptides in a suitable host, such as a bacterial, yeast, or mammalian cell, using methods well known in the art, and recovering the polypeptide after it has been expressed in such a host.

[88]

Examples of vectors that may be used to express the nucleic acid encoding the polypeptides are viruses such as bacteriophages (such as phage lambda), cosmids, plasmids, and other recombination vectors. Nucleic acid molecules are inserted into vector genomes by methods well known in the art. For example, using conventional restriction enzyme sites, insert and vector DNA can both be exposed to a restriction enzyme to create complementary ends on both molecules which base pair with each other and are then ligated together with a ligase. Alternatively, linkers can be ligated to the insert DNA which correspond to a restriction site in the vector DNA, which is then digested with the restriction enzyme which cuts at that site. Other means are also available.

[89]

Vectors comprising nucleic acid encoding the polypeptides may be adapted for expression in a bacterial cell, a yeast cell, or a mammalian cell which additionally comprise the regulatory elements necessary for expression of the nucleic acid in the bacterial, yeast, or mammalian cells so located relative to the nucleic acid encoding the polypeptide as to permit expression thereof. Regulatory elements required for expression include promoter sequences to bind RNA polymerase and transcription initiation sequences for ribosome binding.

[90]

For example, a bacterial expression vector may include a promoter such as the λPL or deo promoters and for transcription initiation the CII or deo ribosomal binding sites. Such vectors may be obtained commercially or assembled from the sequences described by methods well known in the art, for example the methods described above for constructing vectors in general.

[91]

In addition, non-recombinant techniques such as chemical synthesis, synthetic DNA or cDNA may be used to obtain the above-described polypeptides. One means of isolating the polypeptide is to probe a human genomic library with a natural or artificially designed DNA probe, using methods well known in the art. DNA and cDNA molecules which encode the polypeptides may be used to obtain complementary genomic DNA, cDNA or RNA from human, mammalian or other animal sources, or to isolate related cDNA or genomic clones by the screening of cDNA or genomic libraries.

[92]

The subject invention further provides a pharmaceutical composition comprising an amount of any of the above-described polypeptides effective to inhibit platelet aggregation and a pharmaceutically acceptable carrier.

[93]

As used herein, the term "pharmaceutically acceptable carrier" encompasses any of the standard pharmaceutical carriers. Such carriers are well known in the art and may include, but are in no way and are not intended to be limited to, any of the standard pharmaceutical carriers such as phosphate buffered saline solutions, water, emulsions such as oil/water emulsion, and various types of wetting agents. Other carriers may also include sterile solutions, tablets, coated tablets, and capsules.

[94]

Typically such carriers contain excipients such as starch, milk, sugar, certain types of clay, gelatin, stearic acid or salts thereof, magnesium or calcium stearate, talc, vegetable fats or oils, gums, glycols, or other known excipients. Such carriers may also include flavor and color additives or other ingredients. Compositions comprising such carriers are formulated by well known conventional methods.

[95]

The composition has an amount sufficient to result in a blood concentration of 0.06 to 58 μM, preferably between about 0.06 and 29 μM, for example 0.23 to 23 μM. Expressed in different terms, the amount should be 0.1 to 100 mg/Kg body weight, preferably 0.1 to 50 mg/Kg body weight, for example 0.4 to 40 mg/kG body weight.

[96]

The administration of the composition may be effected by any of the well known methods, including but not limited to intravenous, intramuscular, subcutaneous and oral administration.

[97]

This invention also provides a method of inhibiting platelet aggregation which comprises contacting platelets with an amount of any of the above-described polypeptides effective to inhibit platelet aggregation so as to inhibit platelet aggregation. The range of the amount effective to inhibit platelet aggregation is 0.1-200 mg/kg body weight, preferably 1-20 mg/kg body weight. The amount effective to inhibit platelet aggregation is an amount sufficient to maintain a blood concentration of 0.1-10 μM polypeptide. In a preferred embodiment, the blood concentration is maintained at about 1 μM polypeptide.

[98]

This invention also provides expression plasmids encoding the above-described polypeptides. In one embodiment, the expression plasmid encoding the polypeptide with the bracketed sequence, i.e. amino acids #504-#728 of FIG. 12, is designated pvWF-VC3 and is deposited under ATCC Accession No. 68241. In another embodiment, the expression plasmid encoding a polypeptide with the bracketed sequence, i.e. amino acids #504-#728 of FIG. 12, is designated pvWF-VCL and is deposited under ATCC Accession No. 68242.

[99]

The expression plasmids of this invention further comprise suitable regulatory elements positioned within the plasmid relative to the DNA encoding the polypeptide so as to effect expression of the polypeptide in a suitable host cell, such as promoter and operators, e.g. deo P1 P2 and λPL OL, ribosomal binding sites, e.g. deo and CII, and repressors. Other suitable regulatory elements include, for example, the lac, trp, tac, and lpp promoters (European Patent Application Publication No. 0303972, published Feb. 22, 1989).

[100]

The suitable regulatory elements are positioned within the plasmid relative to the DNA encoding the polypeptide so as to effect expression of the polypeptide in a suitable host cell. In preferred embodiments of the invention, the regulatory elements are positioned close to and upstream of the DNA encoding the polypeptide.

[101]

The expression plasmids of this invention may be introduced into suitable host cells, preferably bacterial host cells. Preferred bacterial host cells are Escherichia coli cells. Examples of suitable Escherichia coli cells are strains Sφ930 or 4300, but other Escherichia coli strains and other bacteria can also be used as host cells for the plasmids. Such bacteria include Pseudomonas aeruginosa and Bacillus subtilis.

[102]

The bacteria used as hosts may be any strain including auxotrophic (such as A1645), prototrophic (such as A4255), and lytic strains; F+ and F- strains; strains harboring the cI857 repressor sequence of the λ prophage (such as A1645 and A4255); and strains deleted for the deo repressors and the deo gene (see European Patent Application Publication No. 0303972, published Feb. 22, 1989). Escherichia coli strain A4255 (F+) has been deposited under ATCC Accession No. 53468, and Escherichia coli strain A1645 has been deposited under ATCC Accession No. 67829.

[103]

The invention provides a bacterial cell which comprises these expression plasmids. In one embodiment, the bacterial cell is an Escherichia coli cell. In preferred embodiments, the invention provides an Escherichia coli cell containing the plasmid designated pvWF-VA1, deposited in E. coli strain Sφ930 with the ATCC under ATCC Accession No. 68530; pvWF-VA3; pvWF-VB3; pvWF-VC3, deposited in E. coli strain Sφ930 with the ATCC under ATCC Accession No. 68241; pvWF-VD3; or pvWF-VCL, deposited in E. coli strain 4300(F-) with the ATCC under ATCC Accession No. 68242.

[104]

All the E. coli host strains described above can be "cured" of the plasmids they harbor by methods well-known in the art, e.g. the ethidium bromide method described by R. P. Novick in Bacteriol. Review 33, 210 (1969).

[105]

In addition, the subject invention provides a method of producing any of the above-described polypeptides which comprises transforming a bacterial cell with an expression plasmid encoding the polypeptide, culturing the resulting bacterial cell so that the cell produces the polypeptide encoded by the plasmid, and recovering the polypeptide so produced.

[106]

Furthermore, the invention provides a method of treating a subject with a cerebrovascular disorder which comprises administering to the subject an amount of any of the polypeptides of the invention effective to inhibit platelet aggregation.

[107]

Also provided is a method of treating a subject with a cardiovascular disorder which comprises administering to the subject an amount of a polypeptide effective to inhibit platelet aggregation. Examples of cardiovascular disorders susceptible to treatment include acute myocardial infarction or angina.

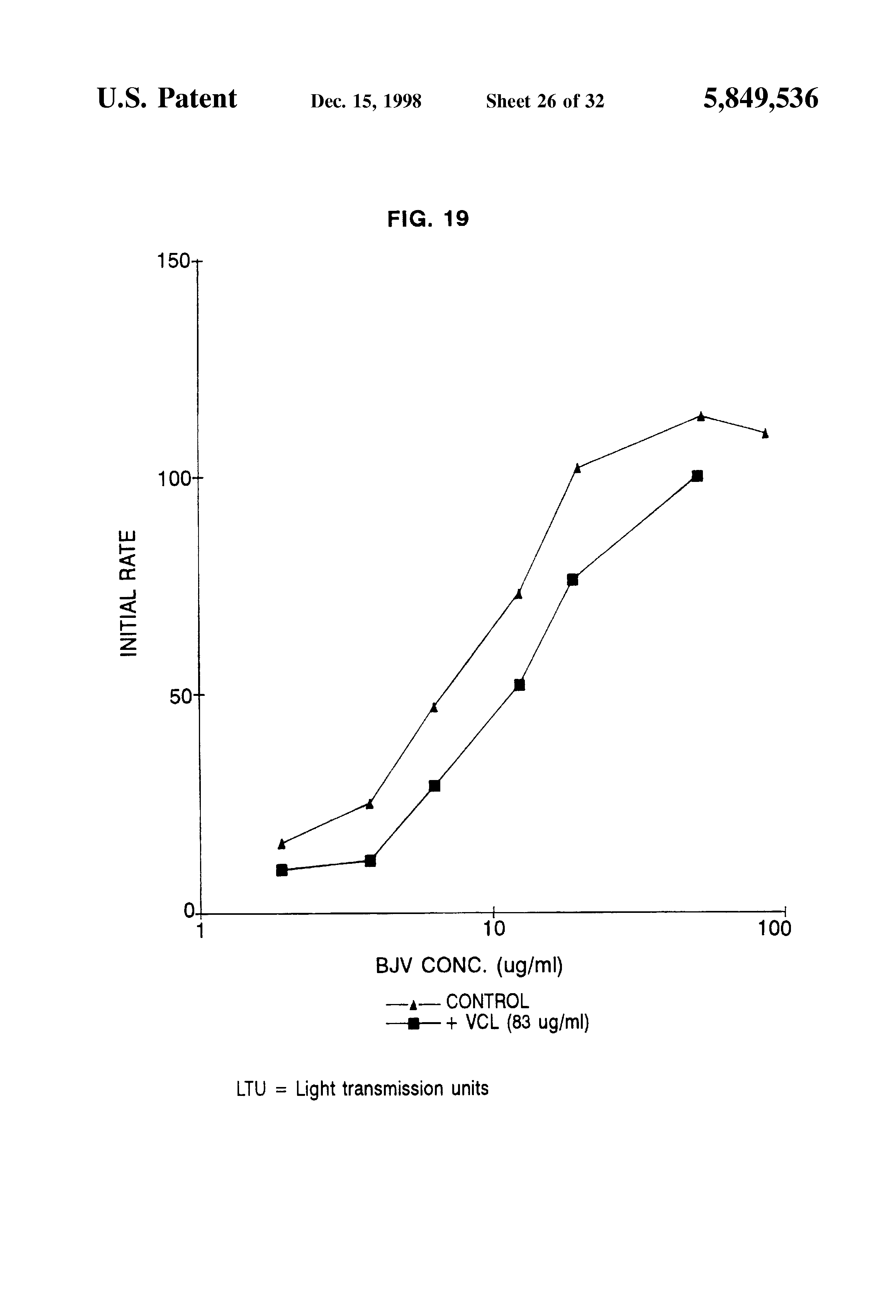
[108]

Further, the subject invention provides method of inhibiting platelet aggregation in a subject prior to, during, or after the subject has undergone angioplasty, thrombolytic treatment, or coronary bypass surgery which comprises administering to the subject an amount of a polypeptide of the invention effective to inhibit platelet aggregation.

[109]

The invention also provides a method of maintaining blood vessel patency in a subject prior to, during, or after the subject has undergone coronary bypass surgery, which comprises administering to the subject an amount of a polypeptide of the invention effective to inhibit platelet aggregation.

[110]

The invention also provides a method of treating a subject having cancer which comprises administering to the subject an amount of a polypeptide of the invention effective to retard tumor metastasis.

[111]

The invention also provides a method of inhibiting thrombosis in a subject which comprises administering to the subject an amount of a polypeptide of the invention effective to inhibit the thrombosis. The thrombosis may be associated with an inflammatory response.

[112]

In addition, the subject invention provides a polypeptide of the invention bound to a solid matrix.

[113]

The invention also provides a method of treating a subject suffering from platelet adhesion to damaged vascular surfaces which comprises administering to the subject an amount of the polypeptide of the invention effective to inhibit platelet adhesion to damaged vascular surfaces. The range of the amount effective to inhibit platelet adhesion is 0.1-200 mg/kg body weight, preferably 1-20 mg/kg body weight. The amount effective to inhibit platelet adhesion is the amount sufficient to maintain a blood concentration of 0.1-10 μM polypeptide. In a preferred embodiment, the blood concentration is maintained at about 1 μM polypeptide.

[114]

The invention also provides a method of preventing platelet adhesion to a prosthetic material or device in a subject which comprises administering to the subject an amount of the polypeptide of the invention effective to prevent platelet adhesion to the material or device.

[115]

The invention also provides a method of inhibiting re-occlusion in a subject following angioplasty or thrombolysis which comprises administering to the subject an amount of the polypeptide of the invention effective to inhibit re-occlusion.

[116]

The invention also provides a method of preventing vaso-occlusive crises in a subject suffering from sickle cell anemia which comprises administering to the subject an amount of the polypeptide of the invention effective to prevent vaso-occlusive crises.

[117]

The invention also provides a method of preventing arteriosclerosis in a subject which comprises administering to the subject an amount of the polypeptide of the invention effective to prevent arteriosclerosis.

[118]

The invention also provides a method of thrombolytic treatment of thrombi-containing, platelet-rich aggregates in a subject which comprises administering to the subject an amount of the polypeptide of the invention effective to treat thrombi-containing, platelet-rich aggregates.

[119]

The invention also provides a method of preventing platelet activation and thrombus formation due to high shear forces in a subject suffering from stenosed or partially obstructed arteries which comprises administering to the subject an amount of the polypeptide of the invention effective to prevent platelet activation and thrombus formation.

[120]

The invention also provides a method of preventing thrombin-induced platelet activation in a subject which comprises administering to the subject an amount of the polypeptide of the invention effective to prevent thrombin-induced platelet activation.

[121]

The invention also provides a method of preventing stenosis as a result of smooth muscle proliferation following vascular injury in a subject which comprises administering to the subject an amount of the polypeptide of the invention effective to prevent stenosis.

[122]

The invention also provides a method for recovering a purified, biologically active polypeptide of the invention which comprises:

[123]

(a) producing in a bacterial cell a first polypeptide having the amino acid sequence of the polypeptide but lacking the disulfide bond;

[124]

(b) disrupting the bacterial cell so as to produce a lysate containing the first polypeptide;

[125]

(c) treating the lysate so as to obtain inclusion bodies containing the first polypeptide;

[126]

(d) contacting the inclusion bodies from step (c) so as to obtain the first polypeptide in soluble form;

[127]

(e) treating the resulting first polypeptide so as to form the biologically active polypeptide;

[128]

(f) recovering the biologically active polypeptide so formed; and

[129]

(g) purifying the biologically active polypeptide so recovered.

[130]

Step (e) may comprise contacting the polypeptide with a thiol-containing compound and disulfide so as to refold and reoxidize the polypeptide. Preferably, the thiol-containing compound is glutathione, thioredoxin, β-mercaptoethanol or cysteine.

[131]

The contacting of step (d) may be effected in the presence of a denaturant such as guanidine hydrochloride or urea.

[132]

The recovery of the polypeptide in step (f) may comprise removing the denaturant by dialysis.

[133]

In step (g), the biologically active polypeptide may be purified by cation exchange chromatography.

[134]

The first polypeptide may also be purified by cation exchange chromatography after step (d).

[135]

The invention also provides a method for treating a subject suffering from von Willebrand Disease type IIb which comprises administering to the subject an amount of the polypeptide of the invention effective to prevent binding of platelets to plasma vWF. Plasma vWF does not normally bind platelet GPIb in the circulation. GPIb binds to vWF only in the presence of an inducer such as ristocetin or botrocetin, or if the vWF is immobilized. Patients suffering from von Willebrand Disease type IIb (vWDIIb) have a mutant vWF which spontaneously binds platelet GPIb in the circulation, causing thrombocytopenia and a resultant bleeding disorder due to the lack of platelets.

[136]

The examples which follow are set forth to aid in understanding the invention but are not intended to, and should not be so construed as to, limit its scope in any way. The examples do not include detailed descriptions for conventional methods employed in the construction of vectors, the insertion of genes encoding polypeptides of interest into such vectors or the introduction of the resulting plasmids into bacterial hosts. Such methods are well-known to those skilled in the art and are described in numerous publications including Sambrook, Fritsch and Maniatis, Molecular Cloning: A Laboratory Manual, 2nd Edition, Cold Spring Harbor Laboratory Press, USA, (1989).

EXAMPLES

[137]

All the references to map positions correspond to the identically numbered positions along the translated nucleotide sequence of mature human von Willebrand Factor shown in FIG. 12 SEQ ID NO.1.

Example 1

Cloning and Expression of vWF GP1b Binding Domain Polypeptides

[138]

cDNA Cloning of Human vWF GP1b Binding Domain

[139]

A human endothelial cDNA library (obtained from CLONTECH Laboratories, Inc.) in λgt11 was screened for human vWF positive sequences using two synthetic DNA probes. The probes were synthesized according to the published DNA sequence (Sadler et al., Proc. Nat. Acad. Sci. 82: 6394-8 (1985) and Verweij et al., EMBO J. 3: 1829-47 (1986)) of human vWF (flanking 5' end and 3' end of the vWF domain known to bind the GPIb receptor) (see FIG. 12).

[140]

The synthetic probes have the following sequences: см. иллюстрацию в PDF-документе

[141]

A series of vWF cDNA clones covering the entire GPIb binding domain were identified and isolated. The cDNA fragments were subcloned into EcoRI site of pUC-19 (New England Biolabs, Inc.). One of the subclones, designated pvW1P (FIG. 1), contains a 2.5 Kb insert. This 2.5 Kb insert covers the entire GPIb binding domain extending from 550 bp upstream of the GPIb binding site to 1100 bp downstream of the GPIb binding site. (The subclone pvW2P has also been designated pvWF-1P).

[142]

Manipulation of DNA Coding for the vWF GPIb Binding Domain

[143]

In order to obtain expression of the GPIb binding domain in Escherichia coli under the regulation of the deo P1 P2 promoter, the cDNA fragment of vWF, derived from plasmid pvW1P was used for further manipulations as described below. As indicated previously, the vWF tryptic digest fragment that binds the GPIb receptor is from amino acid Val 449 to amino acid Lys 728.

[144]

A. Subcloning of the 5' end of vWF GPIb binding domain and addition of a translation initiation codon ATG.

[145]

Plasmid pvW1P has two convenient restriction sites at the 5' end. Bsu36I which cuts at the DNA sequence corresponding to amino acid Ser (445), and Tth111I which cuts at amino acid Asp (514). Synthetic fragments of various size were designed that insert an ATG translation initiation codon at the 5' end as well as additional amino acids. This was done first, in order to maximize the chances of obtaining high levels of expression. Second, they are a first step towards reducing the size of the vWF GPIb binding domain peptide down to the minimal size needed, possibly eliminating collagen and heparin binding sites which may ultimately interfere with the function of the product.

[146]

A1. Amino acid Glu 437 at 5' end

[147]

Synthetic oligomers with the sequences: см. иллюстрацию в PDF-документе were ligated to plasmid pvWF-1P digested with NdeI and Bsu36I (see FIG. 2). The plasmid obtained was designated pvWF-VA1. Plasmid pvWF-VA1 has been maintained in E. coli strain Sφ930 and was deposited under ATCC Accession No. 68530.

[148]

A2. Amino acid Phe 443 at 5' end

[149]

Synthetic oligomers with the sequences: см. иллюстрацию в PDF-документе were ligated to plasmid pvW1P digested with NdeI and Bsu36I (see FIG. 3). The plasmid obtained was designated pvWF-VB1.

[150]

B. Subcloning of the 3' end of vWF GPIb binding domain, introduction of translation stop codon.

[151]

B1. Introduction of stop codon in plasmid pVWF-VA1

[152]

A synthetic oligomer with the sequence: см. иллюстрацию в PDF-документе was ligated to an XmaI and HindIII digested plasmid pvWF-VA1 (see FIG. 4). The plasmid obtained was designated pvWF-VA2. This newly constructed plasmid contains a translation termination codon TAA adjacent to amino acid 728 (Lys) and EcoRV site.

[153]

B2. Introduction of translation stop codon in plasmid pvWF-VB1

[154]

A synthetic oligomer with the sequence: см. иллюстрацию в PDF-документе was ligated to plasmid pvWF-VB1 digested with XmaI and HindIII. The plasmid obtained was designated pvWF-VB2 (see FIG. 5).

[155]

Expression of the vWF GPIb binding domain in Escherichia coli

[156]

In order to obtain expression of the vWF GPIb binding domain various expression plasmids were constructed based on a deo P1 P2 constitutive promoter system.

[157]

1. Expression of a vWF GPIb binding domain polypeptide including amino acid Glu 437 to amino acid Lys 728 (based on plasmid pvWF-VA2)

[158]

An NdeI-EcoRV fragment was isolated from plasmid pvWF-VA2 and ligated into plasmid pMF-945 (see FIG. 11) digested with NdeI and PvuII (see FIG. 6). The plasmid obtained was designated as pvWF-VA3 and was maintained in Escherichia coli strain Sφ930.

[159]

2. Expression of a vWF GPIb binding domain polypeptide including amino acid Phe 443 to amino acid Lys 728 (based on plasmid pvWF-VB2)

[160]

An NdeI-EcoRV fragment was isolated from plasmid pvWF-VB2 and ligated into plasmid pMF-945 digested with NdeI and PvuII (see FIG. 7). The plasmid obtained was designated as pvWF-VB3 and was maintained in Escherichia coli strain Sφ930.

[161]

3. Expression of a vWF GPIb binding domain polypeptide including amino acid Leu 504 to amino acid Lys 728 (based on expression plasmid pvWF-VA3)

[162]

A synthetic oligomer with the sequence: см. иллюстрацию в PDF-документе was ligated to plasmid pvWF-VA3 digested with NdeI and Tth111I. The plasmid obtained was designated as pvWF-VC3 (see FIG. 8). Plasmid pvWF-VC3 is maintained in Escherichia coli strain Sφ930 and has been deposited with the ATCC under Accession No. 68241 (also see FIG. 13).

[163]

4. Expression of a vWF GPIb binding domain polypeptide including amino acid Leu 513 to amino acid Lys 728 (based on expression plasmid pvWF-VA3)

[164]

A synthetic oligomer with the sequence: см. иллюстрацию в PDF-документе was ligated to plasmid pvWF-VA3 digested with NdeI and Tth111I. The plasmid obtained was designated as pVWF-VC3 (see FIG. 9). Plasmid pvWF-VD3 is maintained in Escherichia coli strain Sφ930.

[165]

Expression of vWF-GPIb binding domain polypeptides

[166]

The relative alignment of the expression plasmids is shown in FIG. 10. Plasmids pvWF-VA3, pvWF-VB3, pvWF-VC3 and pvWF-VD3 in Escherichia coli strain Sφ930 were used in order to analyze the levels of expression of the various vWF-GPIb binding domain peptides. The clones obtained were grown in LB medium containing Amp (100 μg/ml) at 37° C. for 48 hours.

[167]

After 48 hours growth bacterial cells were harvested and centrifuged for 2 minutes at 10,000 RPM. Pellets were dissolved in 1/10 volume of 50 mM Tris-HCl pH=8.0. Sample buffer (containing SDS and β-mercaptoethanol) was added. Samples were boiled for 10 minutes and loaded on a 10% SDS polyacrylamide gel. The expression of the vWF GPIb binding domain polypeptides in clones pvWF-VA3, pvWF-VB3 and pvWF-VD3 was low relative to the bacterial total proteins. The vWF polypeptides from these clones were detectable by Western blot analysis using commercially available polyclonal vWF antibody (Dekopatts a/s, Glostrup, Denmark). However, clones originated from Escherichia coli strain Sφ930 transformed with plasmid pvWF-VC3 expressed the vWF GPIb binding domain polypeptide (amino acid Leu 504 to amino acid Lys 728 plus methionine) at high levels (as a major band) detectable upon Coomassie staining.

[168]

Escherichia coli strain Sφ930 harboring plasmid pvWF-VC3 was deposited with the ATCC under Accession No. 68241. Subsequently, an inducible plasmid was constructed which contains the same vWF coding region as pvWF-VC3, expressed under the control of the λPL promoter and the deo ribosomal binding site (see FIG. 14). This new plasmid, designated pvWF-VCL, proved to be a high expressor of VCL, the vWF GPIb binding domain polypeptide (methionine plus amino acid Leu 504 to amino acid Lys 728). This plasmid was deposited in Escherichia coli strain 4300 with the ATCC under Accession No. 68242. Escherichia coli strain 4300, constructed from Escherichia coli strain ATCC Accession No. 12435, is a wild-type, F-, biotin dependent strain, harboring the λ cI857 temperature-sensitive repressor. (A third plasmid construct harboring the same vWF coding region under the control of the λ promoter and the cII ribosomal binding site did not express any vWF peptide detectable by Coomassie staining.)

[169]

The NdeI-HindIII insert of pvWF-VCL can be conveniently subcloned into other expression vectors such as commercially available pUC19 for production of a series of polypeptides which include the same amino acid sequence from amino acid 509 (cys) to amino acid 695 (cys) and have the same biological activity.

Example 2

Fermentation of Bacteria Expressing vWF GPIb Binding Domain Polypeptides

[170]

During scale-up fermentations of clone pvWF-VC3 it was found that the host tends to lose the plasmid due to instability. The loss of plasmids caused a reduction in vWF GPIb binding domain polypeptide expression. It was found necessary to maintain continuous selective pressure (i.e., continuous addition of Ampicillin) in order to maintain plasmid copy number and to maintain the expression levels. Large scale fermentation was carried out for 12 hours.

[171]

Fermentation was carried out in the following growth medium

[172]

[173]

Fructose (50%) was added to the growth medium at final concentration of 150 ml/liter and Ampicillin (100 mg/ml) was pumped continuously into the fermentor (total of 8 ml/liter). Fermentation was carried out for 12 hours at 37° C.

[174]

Purification of polypeptides

[175]

Cells were harvested after 12 hours fermentation and centrifuged. The bacterial pellet obtained was resuspended in buffer ?50 mM Tris pH=8.0, 50 mM NaCl, 1 mM EDTA, 1 mM DTT (dithiothreitol), 1 mM PMSF (Phenylmethylsulfonyl fluoride) and 10% Glycerol!. After additional centrifugation and sonication the vWF GPIb binding domain polypeptide was found in the pellet.

[176]

The vWF GPIb binding domain polypeptide was further purified by solubilization of the pellet in 8M Urea containing 10 mM DTT, 25 mM Tris pH=8 and 1 mM EDTA at room temperature. The solubilized pellet was fractionated on a DEAE cellulose ion exchange column chromatography. (Elution buffer as above except 0.5 mM DTT).

[177]

The vWF GPIb binding domain polypeptide was eluted at 150 mM NaCl. After dilution to 50 mM NaCl (in the above buffer) the partially purified peptide was loaded on a Q-Sepharose column. Elution from the Q-Sepharose column was carried out at various NaCl concentrations (step elution). The vWF GPIb binding domain peptide was pooled in four peaks which eluted at 100 mM, 200 mM, 250 mM and 500 mM NaCl. All four peaks were dialyzed against 150 mM NaCl and 50 mM Tris pH=8 for 36 hours. During the dialysis the Urea concentration of the dialysis solution was reduced in a linear gradient from 6M Urea to no Urea.

Example 3

Biological Activity of vWF GPIb Binding Domain Polypeptides

[178]

Platelet Aggregation Assays

[179]

vWF preparation

[180]

Human plasma-derived vWF was purified from human outdated blood bank plasma according to J. Loscalzo and R. I. Handin, Biochemistry 23: 3880-3886 (1984). The purified plasma-derived vWF was concentrated by Amicon 100,000 cut-off filter membrane, to a final concentration of 0.25 mg/ml.

[181]

Asialo-vWF preparation

[182]

The purified plasma-derived human vWF was desialyated according to L. DeMarco and S. Shapiro, J. Clin. Invst. 68: 321-328 (1981) with the following modifications:

[183]

1. The Neuraminidase used was from Vibrio cholera type II (Sigma).

[184]

2. The reaction mixture contained 0.2 Units enzyme/mg protein and protease inhibitors according to the following concentrations: Benzamidine (20 mM), Leupeptin (15 μg/ml) and Aprotinin 20 (U/ml). The asialo-vWF was used for platelet aggregation without any further purification.

[185]

Platelet aggregation--Induced by Asialo-vWF

[186]

As stated above, soluble vWF does not bind to platelets via the GPIb receptor. Asialo-vWF, obtained by neuraminidase treatment to remove sialic acid residues, readily binds to platelets via GPIb. Presumably, the desialation lowers the net negative charge on the vWF, allowing it to bind to the negatively charged GPIb receptor. Asialo-vWF binding to platelets causes activation, release of ADP, and GP IIb/IIIa mediated aggregation. Platelet aggregation induced by asialo-vWF was carried out with 200 μl of PRP (Platelet-rich plasma) (Fujimura Y., et al., J. Biol. Chem. 261: 381-385 (1986)) and 39 μg/ml of asialo-vWF (final concentration) in a Lumi aggregometer. The results of inhibition of platelet aggregation with VC, the vWF GPIb binding domain polypeptide, are summarized in Table I.

[187]

VC (also referred to as VCL or VC3) is a vWF GPIb binding domain polypeptide which includes methionine plus amino acids 504-728 (see FIG. 12).

[188]

vWF-Ristocetin induced platelet aggregation

[189]

Ristocetin-induced platelet aggregation in the presence of purified human intact vWF was carried out with washed human platelets according to Fujimura Y. et al., J. Biol. Chem. 261: 381-385 (1986).

[190]

The results of inhibition of platelet aggregation induced by ristocetin in the presence of intact vWF are summarized in Table II. Additional results using these assays are described in Example 5.

[191]

[192]

Example 4

[193]

An Improved Method of Obtaining Pure, Oxidized, Folded and Biologically Active vWF GPIb Binding Domain Polypeptide

[194]

In Example 2, fermentation of cells harboring plasmid pvWF-VC3 was described. Subsequently, a preferred plasmid, pvWF-VCL was constructed as described in Example 1 and maintained in E. coli strain A4300. This host/plasmid system was fermented essentially as known in the art for vectors containing a gene expressed under control of the λPL promoter, see, for example coassigned EPO Patent Publication No. 173,280, published Mar. 5, 1986, Example 5, pages 73-74 (without added biotin, thiamine, trace elements, and ampicillin). In this improved method of purification of vWF GPIb binding domain polypeptide, a cell pellet of the above fermentation of A4300/pvWF-VCL was used.

[195]

In this improved method a purer and more active polypeptide is produced than by the method disclosed in Example 2. The general scheme of the downstream process consists of steps A through H as follows:

[196]

A. Cell disruption and suspension of pellet

[197]

A pellet containing the vWF GPIb binding domain polypeptide is obtained as described in Example 2, by sonication and centrifugation of a cell suspension in 50 mM Tris-HCl pH=8, 50 mM NaCl, 1 mM EDTA, 1 mM DTT, 1 mM PMSF, and 10% Glycerol.

[198]

The pellet containing the inclusion bodies is dissolved at about 10% w/v in a solution such that the final concentrations after dissolution are 8M urea, 20 mM DTT, 20 mM HEPES pH 8, and 100 mM NaCl. The resulting solution may be further purified by ion exchange chromatography as described below. Alternatively, the inclusion bodies may be solubilized in a buffer containing 6M guanidine hydrochloride followed by buffer exchange to urea. The inclusion bodies may also be dissolved at different concentrations of urea, guanidine hydrochloride or any other denaturant or in the absence of denaturants, for example, at extremes of pH.

[199]

B. Cation exchange chromatography

[200]

This step eliminates most of the contaminants and produces the vWF GPIb binding domain polypeptide at greater than 90% purity. Any cation exchange (e.g. carboxymethyl) method may be used in this step, but CM-Sepharose fast flow (Pharmacia) chromatography is preferred. The functional group may be carboxymethyl, a phospho group or sulphonic groups such as sulphopropyl. The matrix may be based on inorganic compounds, synthetic resins, polysaccharides, or organic polymers; possible matrices are agarose, cellulose, trisacryl, dextran, glass beads, oxirane acrylic beads, acrylamide, agarose/polyacrylamide copolymer (Ultrogel) or hydrophilic vinyl polymer (Fractogel). In a specific embodiment, the polypeptide is loaded onto a CM-Sepharose FF column equilibrated with 8M urea, 1 mM DTT, 20 mM HEPES pH 8, 100 mM NaCl. Pure polypeptide elutes in 8M urea, 1 mM DTT, 20 mM HEPES pH 8 and 200 mM NaCl. Up to about 30 OD280 units of solubilized inclusion bodies may be loaded per ml CM-Sepharose FF. At this ratio the eluted polypeptide typically has a concentration of 4-5 OD280 /ml.

[201]

C. Oxidation/Refolding

[202]

The polypeptide solution eluted from the cation exchange step above is treated with 6M guanidine hydrochloride (GuCl) to disrupt any aggregates. The polypeptide is then diluted to 0.05 OD280 /ml in 2M GuCl, pH 5-11, preferably 20 mM HEPES pH 8, 0.1 mM GSSG (glutathione, oxidized form). This mixture is allowed to stand overnight at room temperature. The products are analyzed by gel filtration on fast protein liquid chromatography (FPLC) such as Superose 12 before proceeding. Analysis shows that this protein concentration reproducibly yields about 30% correctly oxidized monomers, and 70% S-linked dimers and multimers, as well as reduced and incorrectly oxidized monomers. A higher protein concentration gives a higher absolute yield of correctly oxidized monomers but a lower percentage yield due to increased formation of S-linked dimers and multimers. For example, a protein concentration of 0.1 OD280 /ml yields only 20% correctly oxidized monomers. Reducing the concentration to 0.025 OD280 /ml yields 35-40% correctly oxidized monomers but a lower absolute yield per liter oxidation. Oxidations may also be performed in urea instead of in GuCl, or in any other denaturant or in the absence of denaturants under appropriate buffer conditions in which, for example, pH, ionic strength, and hydrophobicity are varied. The preferred concentration of urea is in the range 0.5M to 10M, preferably 4M, and the preferred oxidant is GSSG in the range 0.01 mM to 5 mM preferably 0.1 mM. Other oxidants such as CuCl2 may be used or alternatively no oxidant may be added, thereby utilizing air oxidation only. For scale-up, 4M urea is the presently preferred solution for the oxidation step.

[203]

D. Concentration

[204]

The oxidation products are concentrated, preferably to about OD280 =1 by a tangential flow ultra-filtration system with a 30K cutoff membrane, such as a "MINITAN" or "PELLICON" system of Millipore. The filtrate is quite clear as the material is relatively clean and most of the contaminants are large enough not to pass through the 30K membrane. It is thus possible to reuse the filtrate for performing oxidations. This results in considerable savings since large volumes of 2M GuCl are quite expensive. No difference in the oxidation products of oxidations performed in reused versus freshly prepared 2M GuCl was detectable by FPLC analysis.

[205]

E. Dialysis

[206]

It is necessary to reduce the GuCl or urea concentration to less than 10 mM. This is achieved by dialysis against 20 mM HEPES pH8, 100 mM NaCl. The dialysis was performed in dialysis tubing with 2-3 changes of buffer, but may be alternatively performed by diafiltration against the same buffer in a tangential flow ultrafiltration system with a 10K MW cutoff membrane.

[207]

During dialysis, as the concentration of GuCl (or urea or other denaturant) decreases, a white precipitate forms. This precipitate contains about 80% of the protein yielded by step D comprising S--S linked dimers, reduced and incorrectly oxidized monomer and some contaminants which coeluted from the cation exchange step. The supernatant is nearly 100% correctly oxidized and refolded monomer at a concentration of 0.2 OD280 /ml, which is about 20% of the protein yield of step D. This selective precipitation of contaminants and undesirable forms of the protein as a result of dialysis was surprising and not predictable. The yield of correctly oxidized monomer can be greatly increased by recovery from the precipitate. This is done as follows: the solution is clarified by centrifugation. The supernatant is saved, and the pellet is treated with DTT to reduce S--S bonds and reoxidized as described above. The pellet is dissolved in a minimal volume of 6M GuCl, 20 ml HEPES pH 8, 150 mM NaCl, 20 mM DTT. The solution was passed through Sephadex G25 in a buffer similar to the dissolution buffer but containing only 1 mM DTT (instead of 20 mM). The eluate is then diluted to OD280 =0.05 and treated as in steps C, D and E above. This procedure may be repeated more than once as long as additional purified monomer is obtained. All of the supernatants are then combined.

[208]

F. Cation exchange

[209]

The combined supernatant of the dialysate of step E is concentrated by binding to CM Sepharose in 20 mM HEPES pH8, 100 mM NaCl. Elution is with 20 mM HEPES pH8, 400 mM NaCl. The eluate is exclusively monomeric despite the high salt concentration. Concentrations of up to 3 mg/ml have been achieved by this method and that is not the upper limit. This step can alternatively be performed with Heparin-Sepharose which also binds the purified monomer in 10 mM Tris pH 7.4, 150 mM NaCl. Elution from Heparin-Sepharose is performed using 10 mM Tris-HCl pH 7.4, 500 mM NaCl.

[210]

G. Dialysis

[211]

The product of the previous step is dialyzed against 20 mM HEPES pH8, 150 mM NaCl.

[212]

H. Storage

[213]

At this stage the purified vWF GPIb binding domain polypeptide may be lyophilized. Upon reconstitution in a volume of water equal to the volume before lyophilization, the resultant solution contains exclusively monomeric protein showing no traces of dimers or other multimers on FPLC.

[214]

In a specific embodiment of this method the following procedure was performed:

[215]

a) 10 gm inclusion bodies (comprising 0.43 g net dry weight) were dissolved in a final volume of 100 ml 8M urea, 20 mM DTT, 20 mM HEPES pH 8, 100 mM NaCl.

[216]

b) The protein was loaded onto a CM Sepharose column equilibrated with 8M urea, 1 mM DTT, 20 mM HEPES pH 8, 100 mM NaCl. The protein eluted at 200 mM NaCL in 8M urea, 20 mM HEPES pH 8, 1 mM DTT, and was saved.

[217]

c) The saved eluate of the previous step was treated with 6M GuCl to eliminate any aggregates, and was then diluted to 0.05 OD280 /ml in 2M GuCl, 20 mM HEPES pH 8, 0.1 mM GSSG. Oxidation was performed overnight at room temperature. (Note that the oxidation step can be performed in the presence of urea instead of GuCl.)

[218]

d) The oxidation products were concentrated to OD280 =1 by ultrafiltration on a "MINITAN" unit containing a 30K membrane.

[219]

e) The concentrate of the previous step was dialyzed with three buffer changes against 20 mM HEPES pH 8, 100 mM NaCl. During dialysis, as the GuCl concentration decreased, a white precipitate formed which was removed by centrifugation and reprocessed once as described above. The supernatants were combined.

[220]

f) The combined supernatants were concentrated by binding to CM Sepharose in 20 mM HEPES pH 8, 100 mM NaCl. The polypeptide was eluted in 20 mM HEPES, pH 8, 400 mM NaCl and stored at 4° C.

[221]

g) The saved eluate from the previous step was dialyzed against 20 mM HEPES pH 8, 150 mM NaCl at 4° C.

[222]

h) After dialysis, the purified vWF GPIb binding domain polypeptide, designated VCL, was lyophilized.

[223]

Analysis of VCL

[224]

1. Amino acid sequence analysis of VCL purified as described above revealed that the N-terminal sequence is Met-Leu-His-Asp-Phe which is the expected sequence according to FIG. 12 with the addition of an N-terminal methionine residue.

[225]

2. Examination of VCL on polyacrylamide gels revealed that VCL electrophoreses at lower apparent molecular weight under non-reducing conditions than under reducing conditions (beta-mercaptoethanol). This shift from compact to less compact configuration is consistent with the reduction of a disulfide bond. Such an intramolecular bond is formed between the cysteines at positions 509 and 695. (The shift in molecular weight is not large enough to be consistent with the reduction of an intermolecular bond.)

Example 5

[226]

Biological Activity of VCL, a vWF GPIb binding domain polypeptide

[227]

The vwF GPIb binding domain polypeptide produced as described in Example 4 was designated VCL and was assayed for biological activity as described below.

[228]

1. Ristocetin induced platelet aggregation (RIPA)

[229]

RIPA assay was performed as described in Example 3 in a reaction mix containing 2×108 platelets/ml, 1 μg/ml plasma vWF, and 1 mg/ml ristocetin. A series of concentrations of VCL was tested and the IC50 of VCL in 3 assays was determined to be 0.2-0.3 μM. 100% inhibition was achieved with about 1 μM VCL.

[230]

2. Asialo vWF induced platelet aggregation

[231]

Asialo vWF induced platelet aggregation assay was performed as described in Example 3 with 200 μl platelet-rich plasma (PRP) and 10 μg/ml asialo-vWF in a Lumi aggregometer. A series of concentrations of VCL was tested and the IC50 of VCL in this assay was determined to be 0.15 μM, and complete inhibition by 0.5 μM.

[232]

3. Effect of VCL on preformed aggregates

[233]

The effect of VCL on preformed aggregates made by RIPA was tested. Aggregates were formed as in paragraph (1) above in the absence of VCL. Addition of VCL to a concentration of 0.5 μM disrupted the aggregates instantaneously.

[234]

4. Inhibition of thrombin induced platelet aggregation

[235]

Thrombin induced platelet aggregation assay was performed using 0.025 unit/ml thrombin and stractan prepared platelets. A series of concentrations of VCL was tested and the IC50 of VCL in this assay was determined to be 0.3 μM. This is a surprising effect, since in a parallel experiment, VCL was not effective in inhibiting direct binding of ?125 I! labelled thrombin to platelets.

[236]

5. Effect on platelet deposition under conditions of flow

[237]

In a model system consisting of an everted denuded human umbilical artery in a flow cell, platelet deposition may be determined. Whole human blood flows over the artery fragment. After 10-15 minutes, the flow is stopped and platelet deposition is determined microscopically. The IC50 of VCL in this system was determined to be about 1 μM.

[238]

All the above results are summarized in Table III.

[239]

The inhibitory activity of VCL on ristocetin-induced or asialo vWF-induced platelet aggregation, ristocetin-induced vWF binding, and platelet adhesion was lost upon reduction of the disulfide bond between the cysteines at positions 509 and 695. In some experiments, the reduced VCL precipitated out of solution.

[240]

Example 6

Construction of Plasmid pvWF-VEL

[241]

It was decided to construct a plasmid which expresses a slightly longer portion of the vWF GPIb binding domain than pvWF-VCL. The construction is shown in FIGS. 15-18 and described in the brief descriptions of the figures.

[242]

A. Construction of pvWF-VE2

[243]

Plasmid pvWF-VA2 (constructed as shown in FIG. 4) was digested with NdeI and PstI and the large fragment isolated. Four synthetic oligomers shown in FIG. 16 were prepared. Nos. 2 and 3 were treated with T4 polynucleotide kinase to add 5' phosphate. The above mentioned large fragment of pvWF-VA2 was ligated as shown in FIG. 15 with the four oligomers (two kinased, and two non-kinased). The resulting plasmid shown in FIG. 15 was designated pvWF-VE2.

[244]

B. Construction of plasmid pvWF-VE3

[245]

Plasmid pvWF-VE2 was digested with NdeI and HindIII and the 770 bp fragment containing the vWF GPIb binding domain was isolated. Plasmid pMLK-7891 was also digested with NdeI and HindIII and the large fragment was isolated. The resulting plasmid, shown in FIG. 17, was designated pvWF-VE3.

[246]

C. Construction of plasmid pvWF-VEL

[247]

Plasmid pvWF-VE3 was digested with XmnI, dephosphorylated with bacterial alkaline phosphatase (BAP) and then digested with NdeI and HindIII. Plasmid pMLK-100 was digested with NdeI and HindIII and dephosphorylated with BAP. The two digests were then ligated to yield plasmid pvWF-VEL as shown in FIG. 18. This plasmid expresses the DNA sequence corresponding to amino acids 469-728 of mature vWF under the control of the λPL promoter and the cII ribosomal binding site. The protein probably also includes an additional N-terminal methionine residue. A conservative base change was introduced into ala-473 changing GCC to GCA which also encodes alanine. This introduced an SphI site into the gene by changing GCCTGC to GCATGC.

[248]

Expression of pvWF-VEL in E. coli 4300(F-) yields a 29 kD protein which reacts strongly with a monoclonal anti-vWF antibody and will be referred to herein as VEL.

Example 7

[249]

Pharmaceutical Uses of vWF GPIb Binding Domain Polypeptide

[250]

Examples 1 and 4 describe the production and purification of a novel vWF GPIb binding domain polypeptide designated VCL. Some of the uses envisaged for VCL or for other vWF GPIb binding domain polypeptides are described below. Pharmaceutical compositions containing VCL or such other polypeptides may be formulated with a suitable pharmaceutically acceptable carrier using methods and carriers well known in the art.

[251]

1. The VCL composition described above may be used for prevention of platelet adhesion to damaged vascular surfaces (see Example 5, sub-section 5).

[252]

2. The VCL composition described above may be used for disruption of platelet-rich aggregates (see Example 5, subsection 3).

[253]

3. The VCL composition described above may be used for prevention of re-occlusion following angioplasty or thrombolysis (see Bellinger et al., PNAS, USA, 84: 8100-8104 (1987), Prevention of occlusive coronary artery thrombosis by a murine monoclonal antibody to porcine von Willebrand Factor).

[254]

4. The VCL composition described above may be used for prevention of platelet activation and thrombus formation due to high shear forces such as in stenosed or partially obstructed arteries or at arterial bifurcations (see Peterson et al., Blood 2: 625-628 (1987), Shear-induced platelet aggregation requires von Willebrand Factor and platelet membrane glycoproteins Ib and IIb-IIIa).

[255]

5. The VCL composition described above may be used for prevention of thrombosis and re-occlusion after angioplasty or thrombolysis due to thrombin activation of platelets (see Fuster et al., J. Am. Coll. Cardiol. 12: 78A-84A (1988), Antithrombotic therapy after myocardial reperfusion in acute myocardial infarction).

[256]

6. The VCL composition described above may be used for prevention of platelet adhesion to and aggregation on prosthetic materials (see Badimon et al., J. of Biomaterials Applications, 5: 27-48 (1990), Platelet interaction to prosthetic materials--role of von Willebrand Factor in Platelet Interaction to PTFE).

[257]

7. The VCL composition described above may be used for prevention of intramyocardial platelet aggregation in patients with unstable angina (see Davies et al., Circulation 73: 418-427 (1986), Intramyocardial platelet aggregation in patients with unstable angina suffering sudden ischemic cardiac death).

[258]

8. The VCL composition described above may be used for prevention of vasospasm and vasoconstriction following arterial injury caused by angioplasty, thrombolysis or other causes (see Lam et al., Circulation 75: 243-248 (1987), Is vasospasm related to platelet deposition?).

[259]

9. The VCL composition described above may be used for prevention of restenosis following angioplasty or thrombolysis (see McBride et al., N. Eng. J. of Med. 318: 1734-1737 (1988), Restenosis after successful coronary angioplasty).

[260]

10. The VCL composition described above may be used for prevention of vaso-occlusive crises in sickle-cell anemia (see Wick et al., J. Clin. Invest. 80: 905-910 (1987), Unusually large von Willebrand multimers increase adhesion of sickle erythrocytes to human endothelial cells under controlled flow).

[261]

11. The VCL composition described above may be used for prevention of thrombosis associated with inflammatory response (see Esmon, Science 235: 1348-1352 (1987), The regulation of natural anticoagulant pathways).

[262]

12. The VCL composition described above may be used for prevention of arteriosclerosis (see Fuster et al., Circulation Res. 51: 587-593 (1982), Arteriosclerosis in normal and von Willebrand pigs).

[263]

13. The VCL composition described above may be used as an antimetastatic agent (see Kitagawa et al., Cancer Res. 49: 537-541 (1989), Involvement of platelet membrane glycoprotein Ib and IIb/IIIa complex in thrombin-dependent and -independent platelet aggregations induced by tumor cells).

Example 8

[264]

1. In Vitro Studies

[265]

For these studies VCL, or vehicle control, was made up fresh in sterile water (2.2 mg/ml stock).

[266]

A. Platelet Aggregation (PRP)

[267]

This is a standardized von Willebrand Factor (vWF)-dependent aggregation assay using human or rat platelet rich plasma (PRP). The addition of various concentrations of unfractionated Bothrops jararaca venom (BJV), which includes botrocetin and an additional thrombin-like component, or ristocetin results in an aggregatory response in the absence of any additional agent. Using ristocetin (1.5 mg/ml) as the agonist 43 μg/ml VCL abolished the aggregation of human PRP. Ristocetin up to 5.0 mg/ml did not cause measurable aggregation of rat PRP. Using this assay system with BJV as the agonist VCL at 83 μg/ml slightly inhibited the response of human PRP (FIG. 19) but not rat PRP (FIG. 20).

[268]

It is concluded that ristocetin is not a suitable agonist for inducing vWF dependent aggregation in the rat. Further, it is not possible to monitor the effects of VCL ex vivo using BJV-induced aggregation of rat PRP. However, VCL does inhibit vWF-dependent aggregation in human PRP in vitro.

[269]

B. Platelet Thrombin Receptor Assay

[270]

This assay measures the inhibition of thrombin-induced platelet pro-coagulant expression and is briefly described below. Human washed platelets are incubated in a buffer which contains CaCl2, factor Xa, prothrombin, and human alpha-thrombin for 60 min at 28° C. At the end of this period an aliquot is transferred into a buffer containing S2238 and EDTA (to prevent any further thrombin generation). The S2238 reaction is terminated after 15 minutes at room temperature with acetic acid and the absorbance at 405 nm read. The amount of S2238 cleavage directly due to the added human alpha-thrombin is estimated by including a control which contains no prothrombin and this value is subtracted from all results. VCL was tested in this assay at a final concentration of 0.1 mg/ml.

[271]

This assay is sensitive to both thrombin inhibitors and thrombin receptor antagonists. In the presence of VCL the thrombin generation was 114% of control (n=2).

[272]

We therefore conclude that VCL is not a thrombin receptor antagonist in this system.

[273]

2. In Vivo Studies

[274]

Arterial Thrombosis Model (Rat)

[275]

This method is essentially a modification of the model of Shand et al., Thromb. Res. 45 505-515 (1987). The method we use routinely is outlined below.

[276]

Rats are labelled with111 In platelets and125 I fibrinogen. The dorsal aorta is clamped, using modified Spencer-Wells forceps, for 1 minute. After a 45 minute reperfusion period the damaged vessel is removed, washed in citrate and counted. Results are expressed as mg blood equivalents. Differences in radiolabel accumulation between placebo and drug-treated animals are calculated and expressed as a percentage inhibition.

[277]

For the purpose of the evaluation of VCL the route of administration was by bolus intravenous injection. VCL was used at doses of 2 mg/kg (n=5) and 4 mg/kg (n=3). It was administered 1 minute prior to clamping. The vessel was then reperfused for twenty minutes. The antithrombotic effect was assessed at the 20 minute end point of the reperfusion. The shortening of the reperfusion time (as compared to routine) was designed to save compound. Appropriate vehicle controls (n=5 for both doses) were assessed.

[278]

It can be seen that under these conditions VCL inhibits thrombus formation in this model (Table IV). The inhibition is seen for the platelet (III In) components of the thrombus at the 4 mg/kg dose. The other changes do not reach statistical significance, thus VCL shows antithrombotic efficacy in this rat arterial model.

[279]

In conclusion, VCL exhibits an antithrombotic effect in this rat model of arterial thrombosis which may be dose dependent.

[280]

3. Discussion

[281]

From the present data it appears that the VCL interacts with the human platelet vWF receptor and hence inhibits platelet aggregation in human PRP. There is however a marked difference between species (rat vs. human) when comparing inhibition of platelet aggregation. The species specificity of this effect and the causal mechanism were not investigated further. At a practical level this meant we were unable to analyze ex vivo samples in order to correlate the effects of VCL on aggregation and arterial thrombosis. Hence the analysis and interpretation of the in vivo efficacy of VCL as an antithrombotic in the rat arterial thrombosis model is complicated by this factor.

[282]

Despite GP1b possessing binding sites for both vWF and thrombin it would appear that any effects of VCL on thrombin binding to GP1b do not translate into antagonism of thrombin-induced pro-coagulant expression.

[283]

Overall VCL shows an antithrombotic effect in the rat arterial thrombosis model. This inhibition may be due to its interference with the binding of vWF to its receptor.

[284]

[285]

The results are expressed as mean percentage inhibition ± standard error. The number of experiments in the treated groups are denoted in the table and in all cases were compared to a group of 5 control animals. Statistical analysis was performed on the raw data prior to transformation to percentage inhibition. NS=not statistically significant.

Example 9

Effect of VCL on In Vitro Platelet Binding to Vascular Components in a Luminar Flow Cell

[286]

The GPIb binding domain polypeptide, VCL, produced as described in Example 2 and purified as described in Example 4, was tested for its effect on binding of platelets to different substrates naturally found in the human vascular system. The substrates tested were endothelial cell extra-cellular matrix (ECM), fibrinogen, collagen, vWF, and fibronectin.

[287]

The test model, which has been previously described (Sakariassen et al, J. Lab. Clin. Med. 102: 522-535 (1983)), consists of a laminar flow cell into which a glass cover slip containing the test surface is inserted. The test surface is formed by spraying or otherwise forming a layer of the substrate on the glass cover slip. After insertion into the flow cell, the cover slip is then subjected to perfusion with platelets under conditions of controlled flow and shear rates, and platelet adhesion is determined as percent coverage of the test surface by platelets.

[288]

1. ECM

[289]

Endothelial cells were grown on a glass cover slip and removed, leaving a layer of ECM as the test surface. Platelet binding was measured at two shear rates. The results are shown in FIG. 21. Platelet coverage was approximately 25% and 50% at shear rates of 300 and 1300 s-1 respectively. The presence of 1 μM VCL in the perfusion solution inhibited platelet adhesion to levels of about 8% and 28% coverage respectively, which correspond to about 70% and 50% inhibition respectively. These figures show no significant difference in VCL inhibition at high and low shear rates.

[290]

FIG. 22 shows a dose-response curve to VCL at a shear rate of 1300 s- 1 from which it is possible to extrapolate a value for the IC50 =0.8 μM VCL.

[291]

2. Fibrinogen

[292]

Platelet binding to a test surface of immobilized fibrinogen was approximately equal at the two shear rates tested (300 and 1300 s-1), and in both cases was between 35-40% as shown in FIG. 23. Inhibition by 1 μM VCL was approximately 40% at the lower shear rate and 75% at the higher shear rate, representing coverage of about 22% and 10% respectively. Hantgan et al, Blood 2: 345-353, using monoclonal antibodies to α-GPIb and α-vWF (GPIb site) have shown that vWF is a major intermediate in platelet adhesion to fibrinogen. However, to the best of our knowledge,this is the first disclosure that a vWF polypeptide fragment inhibits platelet adhesion to fibrin. These results thus demonstrate the possible use of VCL in prevention of reocclusion following thrombolysis by blocking binding of platelets to the fibrin-rich residues present in blood after thrombolysis. VCL does not inhibit platelet binding to laminin (another subendothelial matrix protein) indicating that the platelet-fibrin interaction is indeed a specific vWF mediated reaction, while the platelet-laminin reaction is not mediated by vWF.

[293]

3. Collagen, vWF, and Fibronectin

[294]

These three substrates were compared by preparing test surfaces of each as described above. The results are shown in FIG. 24.

[295]

Platelet adhesion to immobilized collagen (type I) was low: about 8% coverage at 300 s-1 shear rate and about 4% coverage at 1300 s-1 shear rate. 1 μM VCL inhibited this adhesion by about 50%.

[296]

Platelet adhesion to test surfaces of immobilized vWF was quite high: about 20% at a shear rate of 300 s-1, and about 40% at a shear rate of 1300 s-1. 1 μM VCL inhibited adhesion by only about 25%. This is consistent with data demonstrating that platelet adhesion to immobilized vWF is primarily via CPIIb-IIIA and only partially via GPIb. Interactions between platelets and immobilized vWF, particularly purified vWF immobilized on a glass or plastic surface, are mainly through the GPIIb-IIIa sites rather than through the GPIb site which may be blocked by VCL.

[297]

Platelet adhesion to immobilized fibronectin was about 10% at both 300 s-1 and 1300 s-1 shear rates. However, VCL inhibition was only about 25% at the lower shear rate, but approximately 80% at the higher shear rate.

[298]

This is an indication that vWF mediates platelet adhesion to immobilized fibronectin at high shear rates.

[299]

4. VCL

[300]

Platelet adhesion to immobilized VCL was also tested. Adhesion of platelets to VCL is shown by the data summarized in FIG. 25. Adhesion of platelets is ≦5% coverage at both low and high shear rates, which was ten-fold higher than adhesion to albumin under the same conditions. This indicates specific binding of VCL to platelets. The low coverage is probably a characteristic of the VCL substrate being immobilized on the glass surface. Behavior in solution may be expected to differ.

[301]

The above results give an indication that VCL is particularly effective at inhibiting platelet adhesion to specific substrates at high shear rates. From this, it may be inferred that vWF mediates platelet binding at high shear rates.

[302]

Since clinically relevant situations are often in regions of high shear (e.g. residual thrombus, percutaneous transluminal coronary angioplasty (PTCA)), a vWF polypeptide fragment such as the GPIb binding site polypeptide VCL may be of particular utility in such circumstances.

[303]

An example of the efficacy of VCL in inhibiting platelet adhesion ex vivo at high shear rates is shown in Example 10.

Example 10

Ex Vivo Inhibition of Platelet Adhesion by VCL in a Porcine Aorta Model

[304]

The effect of VCL was tested in a model more closely approximating in vivo conditions (Badimon et al, Artiosclerosis 6: 312-320, (1986). A section of porcine aorta was perfused in a flow cell with normal human blood containing 90 mM sodium citrate and additionally containing111 Indium labelled platelets. The aortic section was treated to mimic mild (MD) or severe (SD) vessel wall damage. The blood was incubated with saline or 0.5 μM VCL for 10 minutes prior to perfusion. Following perfusion for 5 minutes, and appropriate washing, platelet adhesion was determined by measuring the tissue radioactivity.

[305]

The results, summarized in Table V, show that VCL is effective in reducing platelet deposition at the high flow rate tested, but not at a low flow rate. The effect of VCL was particularly dramatic in the experiment mimicking severe damage where platelet deposition was reduced from 164±48×105 /cm2 to 64±15×105 /cm2, a reduction of approximately 60%. In mildly damaged tissue, the reduction was about 50%, from platelet deposition of 25±7×105 /cm2 to 13±4×105 /cm2. At the low flow rate tested, VCL did not inhibit platelet deposition to seriously damaged tissue.

[306]

[307]

As discussed in Example 9, since clinically relevant situations are often in regions of high shear, a vWF GPIb binding site polypeptide fragment such as VCL may be of particular utility in such circumstances.

[308]

These results suggest that VCL is effective in reducing mural thrombus formation by inhibiting interaction between platelets and blood vessel walls, and may be especially effective in clinical situations of high risk of thrombosis such as stenotic disrupted atherosclerotic plaque which is a condition comprising severe damage at high shear rate.

Example 11

Effect of VCL in stabilizing Cardiovascular Function in an In Vivo Canine coronary Artery Model

[309]

A mild stenosis was created in a canine coronary artery using a cylindrical, plastic constrictor. As a result of the stenosis, thrombi form and embolize spontaneously in a cyclic manner leading to cyclic flow variations (CFV) (Ashton et al, Circulation Research 59: 568-578 (1986)).

[310]

The test material is administered after establishment of CFV. The result is expressed as the percentage of animals in which CFV is abolished as a result of administration of the material being tested. Subsequently, renewed platelet aggregation is induced by the administration of epinephrine. The percentage of treated animals in which epinephrine administration induces CFV as a result of renewed platelet aggregation is a further indication of the efficacy of the materials under evaluation.

[311]

Two materials, VCL, a GPIb binding domain polypeptide, and a thromboxane A2 (TXA2) receptor antagonist were tested to determine their effect in this model. VCL was administered at 0.5 mg/kg i.v. bolus plus 0.25 mg/kg/hr i.v infusion to maintain blood concentration of about 0.3 μM, based on 1 liter of blood representing approximately 14 kg of body weight.

[312]

The results are summarized in Table VI. VCL abolished CFV in 43% of the animals, the TXA2 receptor antagonist in 71% of the animals, and the two materials in combination abolished CFV in 100% of the animals.

[313]

Subsequent administration of epinephrine reestablished CFV in 100% of the animals treated with only one of the two materials tested, but in only 50% of the animals treated with the combination of both materials.

[314]

Furthermore, as may be seen from Table VI, the dose of epinephrine required to restore CFV was higher in the animals treated with VCL (0.3 μg/kg/min) than in animals treated with the TXA2 receptor antagonist (0.2 μg/kg/min), and at least double in the animals treated with both (0.6 μg/kg/min). Thus VCL provides greater protection against epinephrine induced CFV than TXA2 receptor antagonist, and use of VCL in combination with TXA2 receptor antagonist provides at least double the protection of either agent used alone.

[315]

[316]

These results are an indication that VCL confers increased protection against CFV and against epinephrine induced platelet aggregation.

Example 12

Effect of VCL on Bleeding in a Baboon

[317]

A model using a baboon for vascular studies has been described (Kelly et al, Blood 77: 1006-1012, (March 1991)). Preliminary results indicate that administration of 10 μM VCL increased bleeding time from 4 minutes to 30 minutes without affecting platelet viability or causing thrombocytopenia. These are attributes required of an inhibitor of platelet adhesion to subendothelium.

[318]

Based on these results and the results presented in Example 11, probable dosages would be in range of 0.1-200 mg/kg body weight, preferably 1-20 mg/kg body weight, based on 1 L blood representing about 14 kg body weight. It might be necessary for further i.v. administration to maintain a blood concentration of about 1 μM.

[319]

Как компенсировать расходы
на инновационную разработку
Похожие патенты