заявка
№ US 0005296460
МПК C07C45/77

CVD method for forming Bi -containing oxide superconducting films

Авторы:
Wessels; Bruce W. Marks; Tobin J. Richeson; Darrin S.
Все (5)
Правообладатель:
Номер заявки
7926156
Дата подачи заявки
05.08.1992
Опубликовано
22.03.1994
Страна
US
Как управлять
интеллектуальной собственностью
Чертежи 
4
Реферат

[50]

Films of high Tc Bi-Sr-Ca-Cu-O superconductor have been prepared by MOCVD using volatile metal organic precursors and water vapor. The metal organic precursors are volatized along with a bismuth source, such as Bi(C6 H5)3, deposited on a heated substrate to form a film, and annealed.

Формула изобретения

1. A method for the preparation of a superconductive ceramic film by chemical vapor deposition comprising the steps of:

(a) flushing evaporation chambers with an inert gas;

(b) placing at least three metal organic beta-diketonate complexes in said chambers, the first of said complexes being based on Sr and being placed in a first flushed chamber, the second of said complexes being based on Ca and being placed in a second flushed chamber, the third of said complexes being based on Cu and being placed in a third flushed chamber;

(c) placing a compound of the formula BiR3 " where R" is selected from the group consisting of alkyl, alkoxide, aryl and halide in a fourth flushed chamber;

(d) heating each of said complexes to its vaporizing temperature to cause a source flow comprising vapors of each of said complexes in each respective chamber;

(e) heating a substrate to a temperature of about 500° C.-700° C. in a heated deposition chamber;

(f) transporting said vapors into said heated deposition chamber;

(g) initiating a flow of water vapor into said deposition chamber;

(h) depositing a film from said vapors onto said substrate in said deposition chamber;

(i) terminating said source flow;

(j) maintaining said water vapor flow; and

(k) adjusting the temperature of said substrate to the range of 600° C.-950° C. in flowing oxygen to thereby anneal said film to result in said superconductive ceramic film represented by the formula Bi2 Sr2 Can-1 Cun oxide; n=1, 2, 3.

2. The method of claim 1 further including the step of adding oxygen to the deposition chamber with said flow of water vapor.

Описание

[1]

This is a divisional application of U.S. Ser. No. 691,477, filed Apr. 25, 1991 now U.S. Pat. No. 5,185,317, which is a continuation of U.S. Ser. No. 436,078, filed Nov. 3, 1989, now abandoned, which is a continuation-in-part of U.S. Ser. No. 158,322, filed Feb. 19, 1988.

BACKGROUND OF THE INVENTION

[2]

This application relates to a method for forming superconducting materials through the use of chemical vapor deposition and more specifically, it involves a preparation of superconducting films through the use of metal organic chemical vapor deposition of volatile metal organic complexes.

[3]

The recent discovery of metal oxide ceramic materials with relatively high superconducting transition temperatures gives rise to a large number potential applications in advanced materials based technologies. However, appropriate practical synthesis and processing methodologies for forming the superconductive ceramics are required for the use of superconducting materials in microelectronics and optoelectronics. Particularly desirable superconductors are [TlOm Ba2 Can-1 Cun O2n+2 ; m=1,2; n=1 ,2,3] and [(BiO)2 Sr2 Can-1 Cun Ox n=1,2,3]. In general, such superconductive ceramics may be formed as high-quality thin films which are deposited from the gas phase. These thin films have in the past been deposited by physical vapor deposition techniques (ion-sputtering, electron beam, plasma, laser) which employ metal and metal oxide sources. All of these vapor deposition techniques require expensive and/or energy-intensive equipment, must be carried out at high temperatures and do not provide consistently good quality films.

[4]

Metal organic chemical vapor deposition has been used for depositing thin films from a vaporizable material. When using metal organic chemical vapor deposition (MOCVD) for depositing metal oxide films on substrates, volatile metal organic precursors must be used. Metal organic precursors for the preparation of the known superconductive ceramic materials which are stable in the gas phase are not generally available. However, the chemical vapor deposition technique does potentially offer the advantage, when compared to the physical methods of film preparation, of higher quality, smoother and more crystalline films produced at lower temperatures and amenability to large scale deposition.

[5]

In order to use metal organic chemical vapor deposition, the metal precursor compounds must be sufficiently volatile to transport the compound as a gas to the substrate site. In addition, the metal precursor compound must be relatively stable in the gaseous state. Coordination number and coordinative saturation appear to play a major role in determining the Volatility of neutrally charged metal organics. In general, in low oxidation states, a metal complex with non-bulky ligands will attempt to expand its coordination number by coordinating additional ligands, or, when these are unavailable, by forming ligand bridging bonds to neighboring ions. Such bridging bonds lead to polymeric structures, high lattice energies, and low volatility. Two approaches can be used to circumvent this problem. In higher oxidation states, the metal will have a smaller ionic radius, hence a smaller desired coordination number, and generally more non-bridging ligands per metal ion. This usually leads to higher volatility. Another way to reduce intermolecular interactions is by employing sterically bulky and/or fluorinated ligands. Also important, but apparently less critical, is keeping the molecular weight as low as possible.

[6]

The compounds selected for use in metal organic chemical vapor deposition must be stable to the thermal conditions necessary to volatilize them. In general, many of the properties which impart volatility additionally afford some resistance to thermal degradation, and therefore, the approaches which should foster higher volatility are also reasonable initial approaches to enhance thermal stability.

[7]

As a result, the optimum manner for rendering metal complexes volatile should be complexation by bulky and/or multidentate non-polar hydrocarbon ligands, which saturate the coordination sphere and prevent oligomerization. Ligand fluorination further enhances volatility.

[8]

Among the currently known classes of high Tc superconductors, Tl-Ba-Ca-Cu-O materials [TlOm Ba2 Can-1 Cun O2n+2 ; m=1,2; n=1,2,3] and Bi-Sr-Ca-Cu-O materials [(BiO)2 Sr2 Can-1 Cun Ox n=1,2,3] exhibit a multiplicity of superconducting phases, high environmental stability, ease of synthesis, and Tc values as high as 122K. Such valuable characteristics have stimulated efforts to prepare high quality Tl-Ba-Ca-Cu-O and Bi-Sr-Ca-Cu-O thin films, and to date activity has largely centered on physical vapor deposition techniques such as sputtering, multi-layer thermal evaporation, and electron beam evaporation. If appropriate molecular precursors and deposition chemistry could be developed, metal organic chemical vapor deposition (MOCVD) would offer an attractive alternative approach and the potential advantages of simplified deposition apparatus, high deposition rates, efficiency in coating complex shapes, excellent film uniformity, and adaptability to deposition under highly oxidizing conditions.

SUMMARY OF THE INVENTION

[9]

Accordingly, an object of the subject invention is a method of preparing a superconductive film by metal organic chemical vapor deposition.

[10]

Another object of the subject invention is the use of volatile metal organic complexes in the preparation of the superconductive material [TlOm Ba2 Can-1 Cun O2n+2 ; m=1,2; n=1,2,3] or [(BiO)2 Sr2 Can-1 Cun Ox n=1,2,3].

[11]

Still another object of the subject invention is the use of metal organic chemical vapor deposition with volatile metal organics, and volatile thallium or bismuth compounds, to form either [TlOm Ba2 Can-1 Cun O2n+2 ; m=1,2; n=1,2,3] or [(BiO)2 Sr2 Can-1 Cun Ox n=1,2,3].

[12]

These and other objects of the subject invention are attained wherein selected metal organics such as thallium complexes, bismuth complexes, metal organic copper complexes, calcium complexes, barium complexes and strontium complexes are vaporized or sublimed and caused to flow past a heated substrate where they are deposited and then transformed to form a high Tc superconducting film of the formula [TlOm Ba2 Can-1 Cun O2n+2 ; m=1,2; n=1,2,3] or [(BiO)2 Sr2 Can-1 Cun Ox n=1,2,3]. Films of the high Tc Tl-Ba-Ca-Cu-O or Bi-Sr-Ca-Cu-O superconductor can be prepared by either of two metal organic chemical vapor deposition routes.

[13]

To prepare a thallium superconductor film, a Ba-Ca-Cu-O film is first deposited on yttria-stabilized zirconia or other suitable substrate using, for example, the volatile precursors Ba(heptafluorodimethyloctanedionate)2, Ca(dipivaloylmethanate)2, and Cu(acetylacetonate)2. Thallium may next be incorporated in the film either by vapor diffusion using bulk Tl-Ba-Ca-Cu-O as the source, or by metal organic chemical vapor deposition using Tl(cyclopentadiene) or other volatile thallium metal organics as the source.

[14]

A bismuth superconductor film is prepared by a metal organic chemical vapor deposition procedure prepared through volatile metal organics precursors such as Cu(acetylacetonate)2, Sr(dipivaloylmethanate)2, Ca(dipivaloylmethanate)2, and triphenyl bismuth or other volatile bismuth-organics. These metal organics are deposited under an argon atmosphere with oxygen and water vapor as reactants, and annealed.

BRIEF DESCRIPTION OF THE DRAWINGS

[15]

FIG. 1 is a schematic drawing of one type of an organic metal chemical vapor deposition apparatus which might be used in the method of the subject invention.

[16]

FIG. 2 shows x-ray diffraction patterns of a Tl-Ba-Ca-Cu-O film on yttrium-stabilized zirconia prepared by MOCVD and vapor diffusion of thallium.

[17]

FIG. 3 shows x-ray diffraction patterns of Tl-Ba-Ca-Cu-O film on yttrium-stabilized zirconia prepared by MOCVD.

[18]

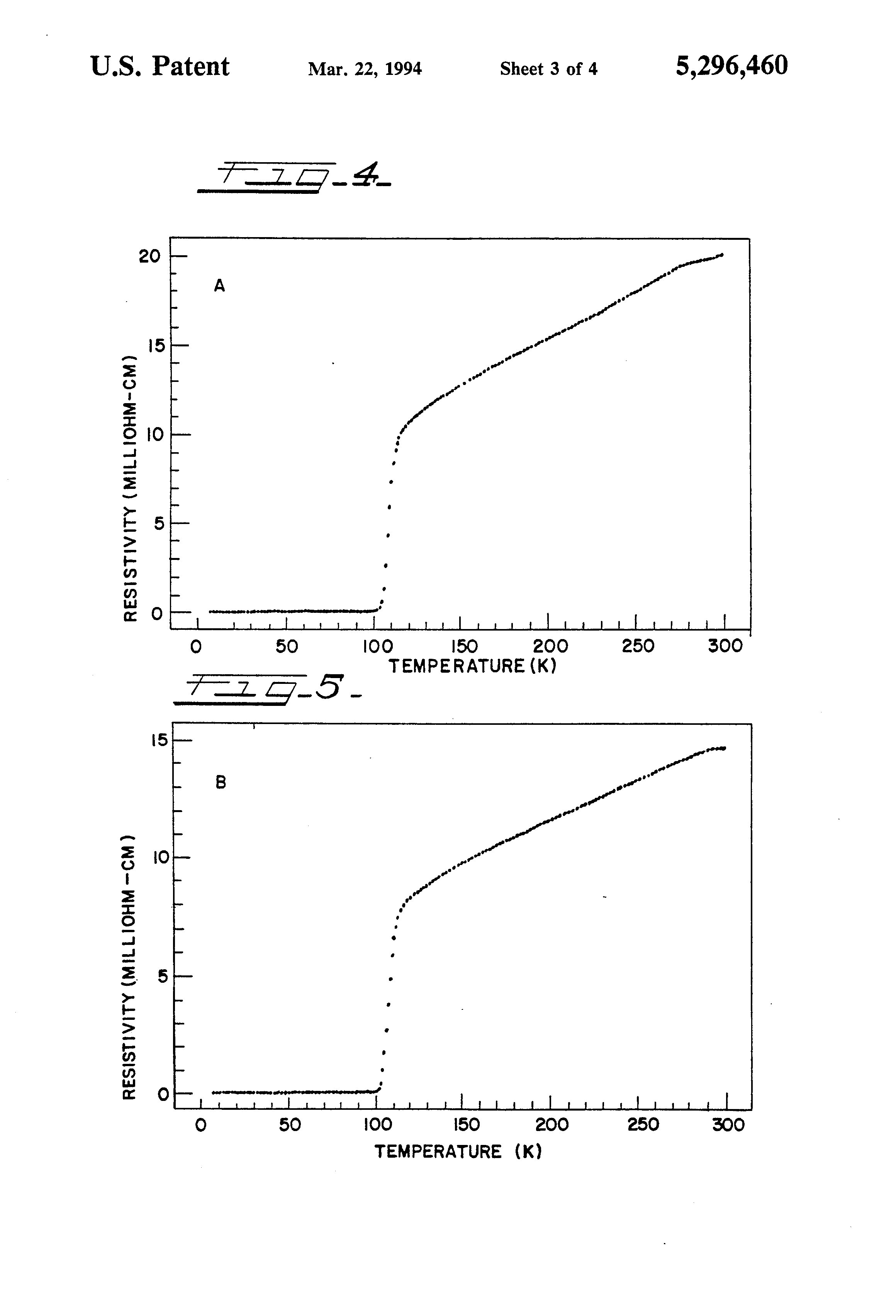
FIG. 4 is a graph of four-probe variable temperature electrical resistivity data for the film of FIG. 2.

[19]

FIG. 5 is a graph of four-probe variable temperature electrical resistivity data for the film of FIG. 3.

[20]

FIG. 6 is a graph of four-probe Variable temperature electrical resistivity data for the film Bi2 (Sr,Ca)3 Cu2 Ox.

DETAILED DESCRIPTION OF THE INVENTION

[21]

For film preparation of metals and their compounds, the following types of metal organics are generally used: Alkyl- and aryl- derivatives of metals, alkoxides and acetylacetonates, carbonyls, cyclopentadienyls, arene-derivatives, arene-carbonyls, and, as suggested herein, -diketonates. The main requirements for such substances used for film preparation are the following:

[22]

1. The metal organic should be transformable into the vapor phase without decomposition. The concentration of the metal organic vapor must be sufficient;

[23]

2. The metal organic decomposition must be gaseous and should not form side reactions which may lead to contamination of the film and to the formation of nonvolatile organic compounds; and

[24]

3. The metal organic must be available and relatively stable at room temperature.

[25]

Ligand systems which may be utilized in the subject invention to form the stable volatile metal organic compounds are β-diketonates of the formula (A): см. иллюстрацию в PDF-документе where R and R' are alkyl or fluoroalkyl groups. More particularly, copper complexes of type A (n-2), with R=R'=CH3 (acac), R=R'=C(CH3)3 (dpm), and CF3 (hfa) are quite volatile. Type A complexes of M=Tl or Bi (n=3) where R=R'=C(CH3)3, or CF3 are also relatively volatile. In addition, Type A, M=Tl or Bi, complexes with R=C(CH3)3, R'=CF2 CF2 CF3 (fod) are far more volatile than those with dpm. Volatile Type A complexes (n=2) are prepared for barium where (in order of increasing volatility) R=R'=C(CH3)3 ; R=C(CH3)3, R=CF2 CF2 CF3 ; and R=R'=CF2 CF3 (dfh). The following expressions will be used interchangeably hereinafter:

[26]

Dipivaloylmethane complex=dpm=2,2,6,6-tetramethyl-3,5-heptanedione=C11 H19 O22

[27]

Acetylacetone complex=C5 H7 O2 Hexaflouroacetylacetone complex=hfa=CF3 COCHCOCF3 =C5 HO2 F66

[28]

C7 HO2 F10 =C2 F5 COCHCOC2 F5 =dfh

[29]

C4 H9 COCHCOC4 H9 C3 F7 =C14 H19 O2 F7 =fod

[30]

For Bi and Tl sources, the metal organic compounds of the formula BiR3, TlR' and TlR'3 where R and R' are groups such as alkyl, alkoxide, aryl, halide, and mixtures thereof. For thallium, R' may also be an alicyclic group such as cyclopentadienyl. The preferred compounds are triphenyl bismuth and cyclopentadienyl thallium: см. иллюстрацию в PDF-документе which offer high volatility, air stability, and reactivity with respect to deposition chemistry.

[31]

Representative compounds useful in the subject invention and their sublimation temperature are given below in Table I.

[32]

[33]

The apparatus for film deposition, to a great extent, determines the film growth rate and the productivity of the deposition process. The exact construction of the apparatus generally depends on the method of substrate heating, the geometry and the composition of the substrate, and the properties of the initial substances and requirements of the films to be prepared. As shown in FIG. 1, the chemical vapor deposition apparatus suitable for use in the method of the subject invention is shown at 10 and comprises evaporation chambers 12, 14 and 16 having external heating means, such as heating tape or other resistive heating means 18, 20 and 22 about the respective evaporation chambers 12, 14 and 16, all of which lead to the deposition or reaction chamber 32, which itself is surrounded by a resistive heating means, such as heat tape 24. The number of evaporation chambers may be more or less, as needed. The reaction chamber 32 is preferably constructed of quartz. Within the reaction chamber are substrates 29 which may comprise SrTiO3, LiNbO3, Al2 O3, Si3 N4, SiO2, MgO, platinum, gold, silver, or stainless steel. Passing through one of the evaporation chambers is a conduit for the introduction of oxygen and other reactants to the reaction chamber 32. Within each of the evaporation chambers, there are evaporation boats 26, 27 and 28 in the respective evaporation chambers 12, 14, and 16. While shown as three separate evaporation chambers, it is possible that the evaporation chambers may be combined in one chamber.

[34]

Generally speaking, the thermal decomposition of the respective metal organics on the substrate is accomplished in the following manner: Each different metal organic reagent is placed in the evaporation boat or reservoir. The entire assembly is flushed with an inert gas, such as nitrogen or argon. The evaporation chambers and reaction chambers are then heated to 100° C.-750° C. dependent on the reactants, and a flow of oxidizing gas, such as O2 or tetrahydrofuran and/or a hydrolyzing gas such as methanol, ethanol, or water vapor is initiated into the reaction chamber while the chamber and substrate are maintained at that temperature. Source flows of each composition are initiated when the metal organic is sublimed or otherwise vaporized. The vapors of each metal organic are then transported to the heated substrate by natural convection or by the flow of the carrier gas. On the heated substrate, the metal organics decompose with the formation of a continuous film of metal oxide of desired composition and react with the oxidizing gas. The organo ligands remaining after deposition of the metal oxide onto the substrate may then be exhausted to a capture means as known in the art. The ligands thus captured may then be discarded or reused to form further metal organic ligands.

[35]

In the second stage of deposition, the evaporation boat temperature for each metal organic reagent is reduced to below the vaporizing or sublimation temperature of the metal organic, and the reactant gas flow is changed to pure oxygen at a flow rate of about 5-500 ml/min., and preferably 100 ml/min.-200 ml/min. The substrate is heated to 600° C.-950° C. to anneal the deposited metal oxidofilm and then allowed to slowly cool in the oxygen flow for a period of 1-24 hours. The resulting superconductive film may be protected from atmospheric moisture or other contaminants by coating with a noble metal overlayer such as gold, silver, or platinum, or by treating with a silylating agent such as hexamethyldisilizane.

[36]

Representative examples for the preparation of a complex for use in the present invention are as follows:

EXAMPLE I

Synthesis of Tl(C5 H7 O2)Tl[tris(acetylacetonate)]

[37]

0.05 mol of Tl(NO3)3 is dissolved in water. NH4 OH is added to the resulting solution slowly to precipitate hydroxide, and neutralize the solution. 0.15 mol (15.5 ml) of acetylacetone is added to the solution and the same is refluxed for 30 minutes. The solution is cooled, filtered, and washed with hot water to remove unreacted acetylacetone. Drying in a vacuum desiccator yields Tl(C5 H7 O2)3.

EXAMPLE II

Synthesis of Tl(C11 H19 O2)3 (Tl(dpm)3)

[38]

0.06 mol of dipivaloylmethane is dissolved in 30 ml of ethanol, and placed in a flask with a stopcock connected to an exhaust unit. 2.4 gr of NaOH is dissolved in 50 ml of 50% ethanol; the resulting solution is poured into the flask. The reaction product is continuously stirred by means of a magnetic stirrer. To this is added a solution obtained by dissolving 0.02 mol of Tl(NO3)3 6H2 O in 50 ml of 50% ethanol. The flask is placed under nitrogen and the solution stirred for 2 hours. It is then distilled under reduced pressure until the solution is reduced to half of its initial volume. 350 ml of distilled water is added to separate a precipitate of Tl(dpm)3, which is vacuum-filtered and dried. The crystals are re-crystallized under nitrogen from n-hexane, and vacuum-dried.

[39]

Utilizing complexes, such as those listed above, which may be prepared according to the procedures of Examples I and II, or which may be obtained from commercial sources, a high Tc superconductive ceramic of the formula [TlOm Ba2 Can-1 Cun O2n+2 ; m=1,2; n=1,2,3] may be obtained through procedures such as those illustrated in the following Examples.

EXAMPLE III

[40]

Sufficient amounts of Cu(dpm)2, Tl(dpm)3, Ca(dpm)3, and Ba(fod)3 are each placed in an evaporation boat in an apparatus as described in connection with FIG. 1. The evaporation and reaction chambers are purged with nitrogen. Each evaporator boat is heated to the vaporizing temperature of the ligand and oxygen is introduced through the oxygen feed tube at 200 ml/min. The temperature of the reaction chamber walls are heated to and maintained at 180° C., while the deposition substrate, formed of SiO2, is maintained at 300° C.-500° C. After 10 hours of deposition of the metal complex, the substrate is heated to about 850° C. to anneal the metal complex, and is then allowed to cool slowly while the oxygen flow is maintained. The cooled metal oxide, TlBa2 Ca2 Cu3 Ox is treated with hexamethyldisilizane for protection from moisture.

EXAMPLE IV

[41]

Sufficient amounts of Cu(hfa)2, Tl(C5 H7 O2)3, Ba(fod)3, Ca(dpm)3 are each placed on an evaporator boat in an apparatus as described in connection with FIG. 1. The evaporation and reaction chambers are purged with nitrogen. Each evaporator boat is heated to the vaporization temperature of each ligand and oxygen is introduced through the oxygen feed tube at 200 ml/min. The reaction chamber temperature containing the substrate, the substrate being formed of SiO2, is maintained at 300° C.-500° C. After 5 hours of deposition of the oxide film, the substrate is heated to about 850° C. to anneal the metal complex, and then allowed to cool slowly. The cooled metal complex, TlBa2 Ca2 Cu3 Ox is treated with hexamethyldisilizane for protection from moisture.

EXAMPLE V

[42]

Vapor deposition of Ba-Ca-Cu-O films was carried out in a horizontal, cold wall quartz reactor having individual inlet tubes for the volatile, metal organic sources Ba(fod)3, Ca(dpm)2, and Cu(acac)2. Deposition was carried out at 5 Torr pressure with an argon carrier gas, source temperatures of 160°-210° C., and water vapor as the reactant gas. Films 5-10 μm thick were deposited on single crystal yttria-stabilized zirconia (YSZ) substrates at 600° C. and were substantially annealed for 3 hours at 800° C. in flowing oxygen saturated with water vapor. The purpose of the water vapor is to remove excess fluoride from the films.

EXAMPLE VI

[43]

For thallium introduction via a vapor diffusion process, the annealed Ba-Ca-Cu-O film of Example V was heated under air in a closed crucible containing a pellet of TlBa2 Ca2 Cu3 Ox (a source of volatile Tl2 O+Tl2 O3) for 3 min. at 880° C. and cooled slowly to room temperature. The x-ray diffraction patterns (Cu Kα) of the resulting films [FIG. 3] show them to be composed predominantly of the TlBa2 Ca2 Cu3 Ox phase. The enhanced intensities of the (001) reflections indicate that the crystallite c axes are preferentially oriented perpendicular to, and the CuO planes parallel to, the substrate surface. A scanning electron micrograph of these films reveals an irregular surface with grains of ∼1-5 μm dimensions. Four-probe resistivity measurements were performed with instrumentation described previously and using 25 μm gold wire contacts attached with gold paste. As can be seen in FIG. 5, the transition to the superconducting state in these films begin at ∼120K with ρ=0 at 101K. The metallic character of the transport at temperature above 120K is typical of high quality, high Tc films.

EXAMPLE VII

[44]

For thallium introduction into Ba-Ca-Cu-O films by MOCVD, the volatile thallium precursor thallium cyclopentadienide [Tl(C5 H5)] was employed. Deposition was carried out at atmospheric pressure with an argon carrier gas and a water-saturated oxygen reactant gas. The source temperature was 50°-80° C., and the temperature of the Ba-Ca-Cu-O substrate, 300° C. The as-deposited films are insulating and amorphous by x-ray diffraction. Annealing was carried out by rapid heating (1 min. at 800° C.) in a closed crucible or, more satisfactorily (to avoid thallium loss), in the presence of bulk TlBa2 Ca2 Cu3 Ox vapor deposition, x-ray diffraction data indicate the predominance of the TlBa2 Ca2 Cu3 Ox phase (with, perhaps, minor amounts of other phases) and preferential crystallite orientation. Interestingly, electron micrographs of the MOCVD-derived Tl-Ba-Ca-Cu-O films reveal smoother, less irregular surfaces. The resistivity characteristics of the MOCVD-derived films (FIG. 5) are similar to those of the MOCVD+Tl2 O/Tl2 O3 -derived films (FIG. 4), with a superconducting onset at ∼120K and zero resistance by 100K.

EXAMPLE VIII

[45]

Deposition of Bi-Sr-Ca-Cu-O films was carried out at 2 Torr using the method of Example III (the apparatus is modified to permit four separate evaporation chambers) and the precursors Bi(C6 H5)3, Ca(dpm)2, Sr(dpm)2, and Cu(acac)2 with source temperatures in the range 145°-230° C. and a substrate temperature of 550° C. The reactant gas was water vapor-saturated oxygen. While water vapor alone gives acceptable deposition yields of Ca, Sr, and Cu oxides, the addition of oxygen should achieve efficient, simultaneous deposition of Bi. Presumably the hydrolytic stability of the Bi-phenyl bond is too great to allow efficient protonolytic cleavage. Annealing of the films in flowing oxygen for 0.5 hours at 600° C. and 0.5 hours at 865° C. yields 3-6 μm thick films which, as shown, x-ray diffraction consists largely of the Tc =85K Bi2 (Sr,Ca)3 Cu2 Ox phase. Variable-temperature four-probe resistivity measurements were performed on the annealed films using 25 μm gold wire contacts held in place with gold paste. Data for a typical MOCVD-derived film are shown in FIG. 6. As is characteristic of relatively high quality high Tc films, charge transport at temperatures above ∼110K is metallic, i.e., dp/dT>0. FIG. 6 demonstrates that the onset of the superconducting state begins at ∼110K with attainment of zero resistance at 75K.

[46]

These results show that high Tc superconducting Tl-Ba-Ca-Cu-O films with good electrical properties can be synthesized either by a purely MOCVD approach using volatile Tl,Ba,Ca, and Cu molecular precursors or by anMOCVD approach in which Tl may be introduced by vapor diffusion.

[47]

Further, high Tc superconducting Bi-Sr-Ca-Cu-O films with Tc values in the region of 80°K to 110°K with good electrical properties can be prepared in an efficient MOCVD process using appropriately design metal organic precursors and reaction conditions.

[48]

While the invention has been described with reference to a preferred embodiment, it will be understood by those skilled in the art that various changes may be made and equivalents may be substituted for elements thereof without departing from the scope of the invention. In addition, many modifications may be made to adapt a particular situation or material to the teachings of the invention without departing from the essential scope thereof. Therefore, it is intended that the invention not be limited to the particular embodiments disclosed as the best mode contemplated for carrying out this invention, but that the invention will include all embodiments and equivalents falling within the scope of the appended claims.

[49]

Various features of the invention are set forth in the following claims.

Как компенсировать расходы
на инновационную разработку
Похожие патенты