заявка
№ US 0005219497
МПК G02C7/06

Method for manufacturing lenses using thin coatings

Авторы:
Blum; Ronald D.
Правообладатель:
Номер заявки
7779317
Дата подачи заявки
18.10.1991
Опубликовано
15.06.1993
Страна
US
Как управлять
интеллектуальной собственностью
Чертежи 
6
Реферат

[105]

A fast, relatively inexpensive and simple method for producing a finished plastic aspheric multifocal or progressive lens from a preformed lens which has a predetermined lens correction (i.e., curvature or prescription) at its optical center. The method includes providing a mold; providing an optical photoactivated resin composition; providing a preformed plastic lens; contacting the preformed lens with the mold such that the surfaces of the preformed lens and the mold form a cavity enclosing the resin composition; and curing the resin composition upon application of heat and ultraviolet radiation. The cavity formed by the preformed lens and the mold is shaped to correspond to the desired change in curvature of the mold surface. The preformed lens may also be cast with a thin non-prescription layer which acts as a carrier for the multifocal or progressive region of the finished lens. This allows casting of lenses without employing either expensive conventional optical gaskets or back molds. The methods also allow for simpler relocation of the optical center to the proper position with respect to the multifocal or progressive prescription, without using conventional optical gaskets.

Формула изобретения

1. A method for manufacturing lens blanks comprising:

molding semi-finished lens blanks having a bonding surface of optical quality and a rear surface for grinding and polishing in a subsequent step;

said bonding surface having a known curvature;

providing a mold having a molding surface;

providing an optical quality resin composition containing an initiator activated by ultraviolet radiation, said resin composition being substantially free of thermal initiators;

providing a preformed lens backing having a lens bonding surface and a rear surface for grinding and polishing;

arranging said lens backing with said mold such that the bonding surface of said lens backing and said mold form a cavity enclosing said resin composition; said cavity having a relatively thin space throughout and cooperating with said lens backing to form an outer surface of optical quality;

placing said resin in said cavity such that said resin has an unequal thickness between said mold and said lens backing;

curing said resin composition by applying ultraviolet radiation and heat to said resin composition, wherein said resin is cured while remaining substantially free of thermal initiators, and wherein said heat is provided in a controlled manner to equalize the degree of cure over portions of the resin having unequal thickness;

wherein the lens surface curvature of resulting lens is of substantially the same curvature as the mold used and grinding said rear portion of said lens blank and polishing said rear surface to arrive at a lens of a desired power.

2. The method according to claim No. 1, wherein said resin is of similar composition as said lens backing.

3. The method according to claim No. 2, wherein said resin comprises at least one of scratch resistant, anti-reflective or photochromatic material.

4. The method according to claim No. 2, wherein said backing comprises a scratch resistant material.

5. The method according to claim No. 2, wherein said lens backing comprises a scratch resistant material and said resin comprises a scratch resistant material.

6. The method according to claim No. 2, wherein said lens backing has a hard coat surface layer and said resin comprises a scratch resistant material.

7. A method for making a finished lens having an aspheric, multifocal or progressive region, said method comprising:

a. providing a mold having a molding surface;

b. providing an optical quality resin composition containing an initiator activated by ultraviolet radiation, said resin composition being substantially free of thermal initiators;

c. providing a pre-formed plastic lens having a bonding surface;

d. said mold having a first complementary surface of a curvature different than that of the bonding surface on the preformed lens and a second surface corresponding to an aspheric, multifocal or progressive region to be added;

e. said aspheric, multifocal or progressive region constituting a portion of the mold; placing said resin composition in said mold, arranging said preformed lens with said mold such that the bonding surface in said preformed lens and said mold form a cavity enclosing said resin composition, such that said resin has an unequal thickness between said mold and said preformed lens;

f. said cavity having a first portion cooperating with said mold to form a space therebetween of a changing thickness and a second portion cooperating with said mold to form said aspheric, multifocal or progressive region;

g. curing said resin composition by applying ultraviolet radiation and heat to said resin composition, wherein said resin is cured while remaining substantially free of thermal initiators, and wherein said heat is provided in a controlled manner to equalize the degree of cure over portions of the resin having unequal thickness; and

h. wherein the added lens curvature of said resulting lens substantially corresponds to that of the molding surface of said mold.

8. The method according to claim 7 wherein said curing step includes raising the temperature of said resin to about 160° F.

9. The method of making a finished lens, said method comprising:

a. providing a mold having a molding surface;

b. providing an optical quality resin composition containing an initiator activated by ultraviolet radiation, said resin composition being substantially free of thermal initiators;

c. providing a preformed plastic lens having a bonding surface;

d. placing said resin composition in said mold, arranging said preformed lens in said mold such that the bonding surface of said preformed lens and said mold form a cavity of non-uniform thickness enclosing said resin composition, such that said resin has an unequal thickness between said mold and said preformed lens;

e. curing said resin composition by applying ultraviolet radiation and heat to said resin composition, wherein said resin is cured while remaining substantially free of thermal initiators, and wherein said heat is provided in a controlled manner to equalize the degree of cure over portions of the resin having unequal thickness; and

f. wherein said resin when cured forms a non-uniform surface optical layer over the bonding surface of the preformed lens.

10. A method for making a finished lens having an aspheric, multifocal or progressive region, said method comprising:

a. providing a mold having a molding surface;

b. providing an optical quality resin composition containing an initiator activated by ultraviolet radiation, said resin composition being substantially free of thermal initiators;

c. providing a pre-formed plastic lens having a bonding surface;

d. said mold having a first complementary surface of a curvature substantially the same as that of the bonding surface on the preformed lens and a second surface corresponding to an aspheric, multifocal or progressive regions to be added.

e. said aspheric, multifocal or progressive region constituting a portion of the mold; placing said resin composition in said mold, arranging said preformed lens with said mold such that the bonding surface in said preformed lens and said mold form a cavity enclosing said resin composition;

f. said cavity having a first portion forming a thin space between said mold and said preformed lens; and a second portion forming said aspheric, multifocal or progressive region such that said resin has an unequal thickness between said mold and said preformed lens;

g. curing said resin composition by applying ultraviolet radiation and heat to said resin composition, wherein said resin is cured while remaining substantially free of thermal initiators, and wherein said heat is provided in a controlled manner to equalize the degree of cure over portions of the resin having unequal thickness; and

h. wherein the added lens curvature of said resulting lens substantially corresponds to that of the molding surface of said mold.

11. A method for making a lens, said method comprising:

a. providing a mold having a molding surface;

b. providing an optical quality resin composition containing an ultraviolet initiator, said resin composition being substantially free of thermal initiators;

c. providing a pre-formed plastic lens having a bonding surface thereon;

d. said mold having a first complementary surface of a curvature different than that of the bonding surface on the preformed lens;

e. placing said resin composition on said mold, arranging said preformed lens with said mold such that the bonding surface in said preformed lens and said mold form a cavity enclosing said resin composition, such that said resin has an unequal thickness between said mold and said preformed lens;

f. curing said resin composition by applying ultraviolet radiation and heat to said resin composition, wherein said resin is cured while remaining substantially free of thermal initiators, and wherein said heat is provided in a controlled manner to equalize the degree of cure over portions of the resin having unequal thickness; and

g. wherein the added lens curvature of said resulting lens substantially corresponds to that of the molding surface of said mold.

12. A method for making a lens, said method comprising:

a. providing a mold having a molding surface;

b. providing an optical quality resin composition containing an ultraviolet initiator, said resin composition being substantially free of thermal initiators;

c. providing a pre-formed plastic lens having a bonding surface thereon;

d. said mold having a first complementary surface of a curvature substantially the same as that of the bonding surface on the preformed lens;

e. placing said resin composition on said mold, arranging said preformed lens with said mold such that the bonding surface in said preformed lens and said mold form a cavity enclosing said resin composition, such that said resin has an unequal thickness between said mold and said preformed lens;

f. curing said resin composition by applying ultraviolet radiation and heat to said resin composition, wherein said resin is cured while remaining substantially free of thermal initiators, and wherein said heat is provided in a controlled manner to equalize the degree of cure over portions of the resin having unequal thickness; and

g. wherein the added lens curvature of said resulting lens substantially corresponds to that of the molding surface of said mold.

13. The method of claim 1 wherein said resin has an index of refraction different from that of said preformed lens.

14. The method of claim 7 wherein said resin has an index of refraction different from that of said preformed lens.

15. The method of claim 9 wherein said resin has an index of refraction different from that of said preformed lens.

16. The method of claim 10 wherein said resin has an index of refraction different from that of said preformed lens.

17. The method of claim 11 wherein said resin has an index of refraction different from that of said preformed lens.

18. The method of claim 12 wherein said resin has an index of refraction different from that of said preformed lens.

19. The method of claim 1 wherein said resin composition is devoid of a thermal initiator.

20. The method of claim 7 wherein said resin composition is devoid of a thermal initiator.

21. The method of claim 9 wherein said resin composition is devoid of a thermal initiator.

22. The method of claim 10 wherein said resin composition is devoid of a thermal initiator.

23. The method of claim 11 wherein said resin composition is devoid of a thermal initiator.

24. The method of claim 12 wherein said resin composition is devoid of a thermal initiator.

Описание

[1]

This application is a continuation in part of application Ser. No. 07/740,946, filed Aug. 6, 1991, now U.S. Pat. No. 5,147,585, which was a continuation in part of application Ser. No. 07/594,136, filed Oct. 10, 1990, now U.S. Pat. No. 5,178,800, which was a continuation in part of application Ser. No. 07/446,151, filed Dec. 5, 1989, now abandoned, which was a continuation in part of application Ser. No. 07/422,399, filed Oct. 12, 1989, now abandoned, and application Ser. No. 07/339,217, filed Apr. 17, 1989, now U.S. Pat. No. 5,028,358, and application Ser. No. 07/190,856, filed May 6, 1988, now U.S. Pat. No. 4,919,850 and of application Ser. No. 07/114,962, filed Oct. 30, 1987, now U.S. Pat. No. 4,873,029.

FIELD OF THE INVENTION

[2]

The present invention relates to methods for quickly and inexpensively producing multifocal and progressive plastic optical quality spectacle lenses from preformed lenses of a given prescription.

BACKGROUND OF THE INVENTION

[3]

In manufacturing lenses, and particularly lenses for eyeglasses, the use of plastics is often desirable due to their light weight and durability. Plastic lenses also provide relatively economic vision correction. Methods for producing plastic lenses of various prescriptions are well known. Applicant's U.S. Pat. No. 4,873,029 and co-pending applications Ser. Nos. 190,856 (filed May 6, 1988) and 339,217 (filed Apr. 17, 1989), which are incorporated herein by reference as if fully set forth, disclose methods for making plastic lenses of ophthalmic quality for eye glasses.

[4]

Prior methods of others have, however, failed to provide fast and economic means for manufacturing high index-quality, reliable multifocal (e.g., bifocal, trifocal, etc.) or progressive plastic lenses. U.S. Pat. No. 3,248,460 (the "'460 patent") discloses means for casting plastic lenses from thermosetting or thermoplastic materials wherein a plastic blank having significantly less curvature than required for the full intended prescription of the lens is used as a base onto which an additional layer of material is cast. The '460 patent employs a conventional optical gasket to provide space between the plastic blank and the mold and to hold the resin material in the cavity created thereby. The additional layer of material changes the curvature of the resulting lens over the vast majority of its surface, thereby changing the prescription of the resulting finished lens to the power required. The material in the '460 patent is cured by heat. However, such heat curing process requires heating over a period of more than 12 hours, thus making the formation of the lens a long, drawn-out process.

[5]

U.S. Pat. No 3,946,982 also discloses methods for casting an entire lens surface with a prescription layer using a conventional optical gasket.

[6]

Conventional industrial lens casting techniques require the use of "conventional optical gaskets" which hold together the components used to cast the lens, allow for thickness to be cast into the resultant lens, and create a substantially air-tight environment for the casting process. In most cases these conventional optical gaskets can only be used one time and then are discarded. Therefore, a significant number of different gaskets must be maintained.

[7]

In-office lens casting is even more demanding with regard to the number of different conventional optical gaskets needed and the inventory necessary to produce different finished lens prescriptions. In one such system, approximately 737 conventional optical gaskets must be maintained in inventory and constantly replaced (after one use) to allow production of all prescriptions. Approximately 200 "optical center movers" (OCMs) must also be inventoried to relocate or decenter the optical center. These OCMs are also not reusable and must be constantly replaced. The need to maintain and replace this varied inventory of conventional optical gaskets and OCMs contributes significantly to the cost of lens casting In the case of in-office lens casting these components can account for approximately 32% of the materials cost of casting a lens using such a system.

[8]

Others have tried to manufacture multifocal or progressive plastic lens, using a lamination technique. Such a technique joins a preformed plastic section to another cured plastic prescription lens. A portion of the preformed section defining a multifocal or progressive region of the finished lens is joined to the prescription lens by adhesive. Such methods have proved to be technologically cumbersome and uneconomical, however, due to the expense of maintaining a large number of preformed lens portions such that all of the possible permutations of patient primary correction and multifocal correction can be formed. Furthermore, the optical quality of such lenses has been suspect because of the difficulty of matching the surfaces of the preformed lens and the wafer.

[9]

In the case of in-office lens casting which casts the finished prescription, and to a lesser extent industrial lens casting which casts primarily semi-finished lens blanks, a prism effect may also need be accommodated in the molding process. Present methods for creating prism in plastic lenses have also proven cumbersome. "Prism" is created in lens designs to shift the optical center of a lens from the geometric center of the lens to some other preferred location Also in the case of progressive lenses, it is used for a compensating base-down prism to offset the base-up prism produced by the progressive mold. In multifocal lenses it is advantageous to shift the optical center of the distance portion of lens to more closely align with the multifocal region of the lens, thus easing the wearer's transition from the distance prescription to the prescription of the multifocal region (near region) of the lens.

[10]

When casting a finished lens, prism is cast into the lens in ways that are well known in the art. However, in cases of semi-finished lenses, in order to create prism the lenses must be surfaced to produce both the desired prismatic effect and the correct optical prescription. Surfacing requires additional equipment and time which make such methods less than desirable for making lenses quickly and inexpensively from start to finish.

[11]

When reviewed from an overall perspective of lens production, starting with liquid resin and ending with a finished lens mounted in the frame, the conventional process is extremely complex, long and arduous. Curing has required 12-14 hours; wholesale lab surfacing of the cured lens semi finished blank, approximately an additional 30 minutes; and finishing the lens, another approximately 30 minutes. Thus, the overall lens manufacturing process can require 13-15 hours, making it difficult to quickly provide prescription lenses on request, unless one stocks semi-finished blanks and utilizes surfacing equipment, both of which add tremendously to the overall cost of production which is ultimately passed on to the consumer.

[12]

It would, therefore, be desirable to provide a faster, more economical method and much simpler for producing multifocal or progressive lenses. It would also be desirable to provide a method for changing the prescription or lens design (i.e., multifocal, progressive, prismatic effects, etc.) of a preformed prescription plastic lens which is both fast and inexpensive. Preferably, such method should produce lenses without employing a conventional optical gasket.

SUMMARY OF THE INVENTION

[13]

The present invention relates to a fast, simpler and relatively inexpensive method for providing a multifocal or progressive region on a preformed plastic optical quality spectacle lens to produce a resulting finished multifocal or progressive lens. The preformed lens has a predetermined lens correction (i.e., curvature or prescription) at its optical center which is unchanged in the finished lens. The preformed lens can be a finished lens (having a curvature or correction on front and back surfaces) or a semi-finished blank lens (having a curvature or correction on only one surface).

[14]

When a disposable mold is employed, the preformed lens and disposable mold can be edged together after the optical center, multifocal segment or progressive region, and astigmatic axis are properly aligned and used to cast a final lens of the desired shape without significant flashing. Alternatively, the pre-edged preformed lens could be used with a mold which is significantly larger than the preformed lens, such that the resultant lens is made with very little flashing.

[15]

By casting an optical segment or other multifocal or progressive region on the surface of the preformed lens myriad lens designs can be achieved quickly and inexpensively. Such method decreases the large number of different mold combinations usually needed to cast multifocal and progressive lenses. Also it eliminates the large, expensive and cumbersome number of conventional optical gaskets and OCMs customarily used in in-office lens casting. In most instances, the lenses produced according to the invention also do not require additional surfacing to achieve the proper prescription and can eliminate the additional step of surfacing prism into the finished lens to relocate the optical center. The methods of the present invention allow production of bifocal, multifocal, progressive and aspheric lenses, among others, from previously formed prescription lenses. In essence, the preformed lens serves as a mold which is consumed during the casting process and forms a part of the finished lens. It should also be noted that the preformed lens and mold used in practicing the various embodiments of the present invention need not have the same base curve.

[16]

The methods of the present invention can also be used to convert preformed single vision, multifocal or progressive lenses into aspheric lenses by adding material to the lens surface. In such embodiments, the cavity formed by the preformed lens and the molds corresponds to the desired shape of the surface needed to create the aspheric effect.

[17]

In contrast with traditional lens casting methods, the methods of the present invention provide lenses relatively quickly and at significantly less cost. Using the methods disclosed herein that use ultraviolet light curing, curing requires approximately 5-30 minutes, no surfacing is required, and finishing requires another approximately 30 minutes. Thus, the present invention provides means for producing optical quality multifocal and progressive lenses in approximately 1 hour or less, starting with liquid resin and ending with the finished lens in the frame. This allows delivery of prescription lenses upon request and without having the patient wait a significant time. Due to the ability to cast without a conventional optical gasket, the methods of the present invention even allow the preformed lens to be finished (i.e., edged and tinted) for the exact customer frame before adding the thin non-prescription carrier layer and multifocal or progressive surface.

[18]

Various other advantages of the methods of the present invention and lenses made thereby will be evident from the detailed description of certain embodiments below.

BRIEF DESCRIPTION OF THE FIGURES

[19]

The relative thickness of various components is greatly exaggerated in the Figures for the purpose of illustration.

[20]

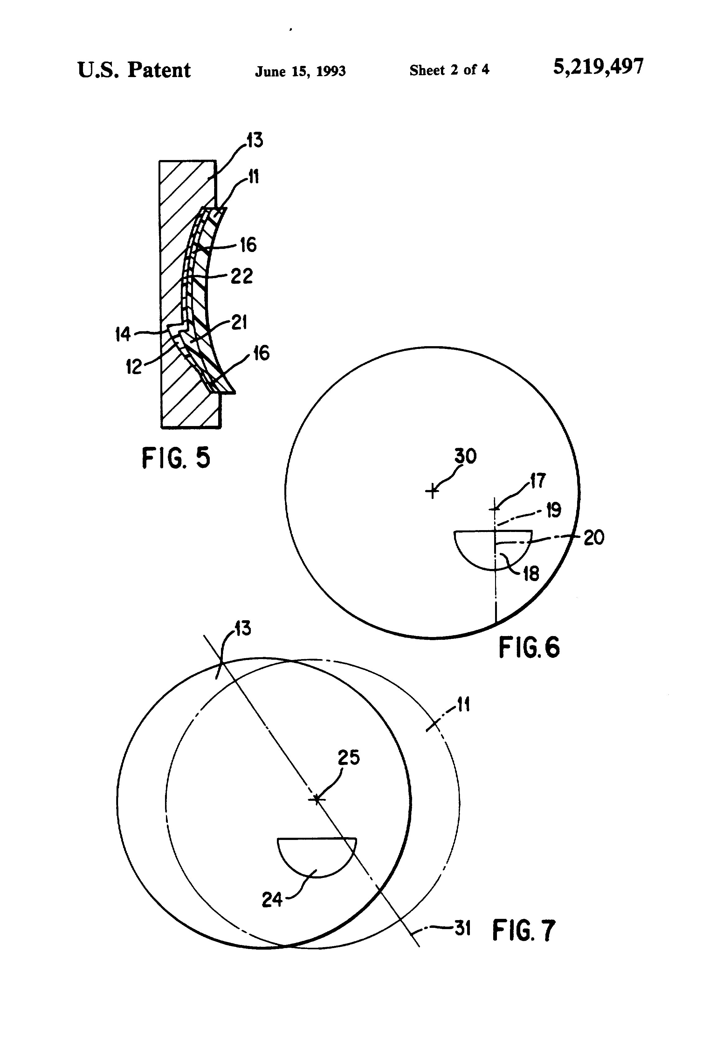
FIGS. 1-5 are cross-sections of assemblies of a mold and a preformed lens in accordance with the present invention.

[21]

FIG. 6 is a front view of a bifocal lens made in accordance with the present invention.

[22]

FIG. 7 is a front view of a mold and preformed lens (in dashed lines) showing physical displacement of the optical center (indicated by "+") of the preformed lens with respect to the mold portion corresponding to an optical segment and also showing the astigmatic axis (indicated by dashed line 31) fixed for a specific prescription.

[23]

FIG. 8 is a side elevation of an assembly of a preformed lens and a preformed wafer in accordance with the present invention.

[24]

FIG. 9 is a cross-section of an assembly for casting the convex side of a lens in accordance with the present invention.

[25]

FIG. 10 is a front view of a preformed lens for use in accordance with the present invention fitted with spacers to increase casting thickness which ultimately become part of the completed lens.

[26]

FIG. 11 is a cross-section of an assembly for recasting the surface of a lens in accordance with certain methods of the present invention.

[27]

FIG. 12 is a cross section of a lens mold arrangement where the outer surface of the lens has a different curvature than the mold.

DETAILED DESCRIPTION OF THE INVENTION

[28]

The method for making a finished lens having a multifocal or progressive region utilizes a mold; an optical quality resin composition; a preformed plastic lens having a predetermined lens correction at its optical center. The preformed lens is contacted with the mold to form a cavity for enclosing the resin composition. The resin is then cured and shaped by the cavity which corresponds to the shape of the multifocal or progressive region. The lens correction at the optical center of said resulting lens is substantially the same as the predetermined lens correction at the optical center of the preformed lens. In FIG. 2, cavity 14 defines a segment 12 and a carrier layer 16 (which does not substantially change the distance prescription of the preformed lens). When cured, the segment and/or carrier harden and bond to the preformed lens to produce the finished lens.

[29]

The mold and the preformed lens may be contacted (a) after the resin composition is placed onto the preformed lens, (b) after the resin composition is placed onto the mold, or (c) before the resin composition is applied to either component (i.e., the resin composition is dispensed into the cavity formed by the mold and the preformed lens).

[30]

The cavity formed by the preformed lens and the mold is shaped or configured, among other purposes, (1) to correspond to the desired shape of the multifocal or progressive region of the finished lens, and (2) to maintain the lens correction at the optical center of the resulting lens substantially the same as the predetermined lens correction at the optical center of the preformed lens. This is even true, as described herein, when the optical center of the resulting lens has been shifted to achieve the proper alignment with respect to multifocal and progressive prescriptions. The cavity can also be shaped to correspond to the shape of a resultant prism region which creates prism in the resulting lens.

[31]

The finished optical lenses made in accordance with such methods provide a first lens correction at their optical centers and have a second region removed from the optical center (i.e., the multifocal or progressive region) which provides a second lens correction.

[32]

A method is also provided for forming such a multifocal lens in multiple stages. A preformed lens is first cast as described above to provide an intermediate lens having an intermediate lens correction at the second region, the magnitude of which is between the magnitudes of the first lens correction and the second lens correction. The intermediate lens is then cast again as described to provide a lens curvature at the second region corresponding to the second lens correction (and a carrier, if used).

[33]

Lenses made in accordance with the present invention are also disclosed in which addition of a multifocal optical segment creates a beneficial positive transition in the finished lens. Such lenses provide at least a third lens correction and a fourth lens correction. The third lens correction is provided by a third region adjacent to the optical segment and is located between the optical center of the preformed lens and the center of the segment. The fourth lens correction is provided by a fourth region within the segment and is located between the optical center of the preformed lens and the center of the segment. As described further below, the magnitude of the third lens correction is between the magnitudes of the first lens correction and the fourth lens correction; and the magnitude of the fourth lens correction is between the magnitudes of the second lens correction and the third lens correction, such that a gradual discontinuous change in prescription is provided. This phenomenon has been observed mainly in connection with addition of a flat top optical segment.

[34]

The methods of the present invention can be used to add a multifocal or progressive region to the front lens surface, the back lens surface or both. Preferably, the curvature of the lens is changed over only a small portion of a surface of the preformed lens to form an "optical segment". The methods of the present invention can be used to form lenses of almost any multifocal or progressive optical configuration including without limitation bifocals, trifocals and progressive lenses. Where a multifocal or progressive lens is produced, the preformed lens can be treated in accordance with the invention to provide an optical segment providing a second lens correction (e.g., bifocal), a third lens correction (e.g., trifocal), etc., each of which is different from the distance lens correction of the preformed lens (i.e., at its optical center). In such embodiments the mold is fashioned to correspond to the desired shape of the multifocal or progressive region of the resulting lens and any carrier layer, if used. The disclosed methods can also be used to change the power on portions or the preformed lens, to create prism, and to produce multifocal or progressive lenses from preformed lenses. The ability to cast lenses without conventional optical gaskets further eliminates a restrictive element which limits the possibilities of lens construction due to the physical confines of the conventional optical gasket.

[35]

In some of such embodiments, molding material is dispensed without the use of conventional optical gaskets into the mold and the preformed lens is placed on top of the resin and slight pressure is applied which presses molding material out of the mold until the surface of the lens is separated from the mold by a thin carrier layer of molding material. The mold and preformed lens are held together by capillary attraction of the resin layer. Thus a thin carrier layer of material is cast over the surface of the preformed lens, in addition to a segment or other optic surface defined by the mold, without the use of a conventional optical gasket. Alternatively, the mold can be lowered onto the preformed lens containing molding material to achieve a similar effect.

[36]

The methods of the present invention are useful with respect to any preformed "plastic" optical lens regardless of the manner in which such lens was formed. As used herein a "plastic" lens is one fashioned from optical quality resin materials. Such materials include without limitation mixtures containing allyl diglycol carbonates, allylic esters such as triallyl cyanurate, triallyl phosphate, triallyl citrate, diallyphenyl phosphonate, acrylic esters, acrylates, methyl, allyl and butyl methacrylates, polycarbonates, styrenics, lexan, polyesters such as those formed of ethylene glycol maleate, and other liquid monomer/polymer materials having high indices of refraction (such as HiRi which is a trademark of PPG Industries). Resin materials which are photosensitive or pre-tinted can also be used in practicing the present invention.

[37]

Any surface of a preformed lens (i.e., front, back or both) can be altered using the methods of the present invention. Convex or concave surfaces can be treated.

[38]

For example, as shown in FIG. 1, the curvature of a lens surface 11 can be changed over a small area by providing an "optical segment" 12 which is substantially smaller than the preformed lens 11. Such optical segments most often serve to provide bifocal or trifocal vision, but can also be used for other purposes.

[39]

In other embodiments, an entire surface of a lens can be altered in accordance with the methods of the present invention for the purpose of, for example, converting the preformed lens into a progressive lens, providing, for example, a seamless multifocal, bifocal or trifocal lens or inducing prismatic effects in the finished lens. In such embodiments, in addition to a segment if desired, as shown in FIG. 2, the surface of the preformed lens is recast with an additional non-prescription carrier layer of resin material to produce the desired lens design without substantially changing the prescription or correction at the optical center of the finished lens. Preferably, the added layer is very thin (preferably 0.025-0.5 mm) to promote rapid curing and decrease the probability of developing stress and distortion in the resulting finished lens.

[40]

Although optical segments can be placed in any location on the lens, for normal applications, the optical segment should be properly located to avoid adverse prismatic effects. Optimally, an optical segment should be positioned approximately 1.5 mm left or right and 3-5 mm down from the optical center of the lens for normal eyeglasses. In certain applications, such as workman's glasses for close vision above the wearer's head, the optical segment can be optimally located approximately 1.5 mm left or right and 3-5 mm above the optical center of the lens. Other locations of the optical segment can also be used as long as the optical center and the segment are properly aligned.

[41]

The methods of the present invention can also be for properly orienting the optical center of the lens with respect t the multifocal or progressive region. Also they can be used to cast compensating base-down prism in conjunction with casting a progressive lens. Appropriate lens designs providing prismatic effects will be apparent to those skilled in the art. Where creating prism is desired, the casting mold is configured and positioned with respect to the preformed lens to provide the required additional thickness in the resulting lens. The mold and the preformed lens may be properly oriented by spacers which provide the desired separation, corresponding to the required thickness for inducing the prismatic effects sought. Such spacers can take any form, including wedges, and can be fashioned from any suitable material. Other means for orienting the mold and preformed lens to induce prismatic effects will be apparent to skilled artisans.

[42]

The optical center can be moved or displaced, as shown in FIG. 7, by physically moving the optical center 25 of preformed lens 11 to align with the desired location just above the edge of the multifocal region in the case of a multifocal lens or to the proper mold position in the case of a progressive lens, then casting the new lens surface. Since the present invention does not employ a conventional optical gasket, such dislocation of the preformed lens with respect to the mold is possible. Conventional methods employing a conventional optical gasket make such dislocation virtually impossible because the conventional optical gasket will not allow movement of the lens with respect to the mold. It should also be noted that, when dislocating the preformed lens in relation to the mold size as just described, more useful lens area can be produced by increasing the size of the preformed lens such that more of the surface of the mold contacts the preformed lens, thus producing a larger finished lens surface. However, either the preformed lens or the mold can be the larger in size to achieve the desired displacement or decentration, or the preformed lens and the mold can be the same size and simply moved relative to each other.

[43]

In some lens designs adjustments must be made to accommodate astigmatism in the prescription of the finished resulting lens. In such cases, the preformed lens and mold must be rotated with respect to each other to a degree corresponding to the proper astigmatic axis. The preformed lens and mold can either be contacted at the proper angle or can be rotated with respect to each other after contact. The mold or the preformed lens can optionally be provided with appropriate markings (e.g., protractor lines) for determining the proper astigmatic axis. Alternatively, the mold and preformed lens can be assembled within or on a circular protractor which serves to align the astigmatic axis and to hold the assembly in place.

[44]

In multifocal lenses it is important to properly orient the optical center, the multifocal region and the astigmatic axis of the finished lens with respect to each other. This can be achieved, for example as shown in FIG. 7, by combining the methods described above for inducing prismatic effects and for aligning the astigmatic axis.

[45]

Generally, the preformed lens is transformed by casting a layer of optical quality resin material on at least a portion of the preformed lens surface. As shown in the Figures, the contours of the casting are determined by mold 13. Mold 13 is shaped such that the cavity 14 formed between lens 11 and mold 13 corresponds to the desired change in curvature of the lens, including the multifocal or progressive region (e.g., optical segment 12) and non-prescription carrier layer 16, if used. For example as shown in FIG. 1, mold 13 is fashioned such that cavity 14 defines an optical segment 12 at the desired location and of the desired thickness and shape to provide a desired lens design. In FIG. 2, cavity 14 defines an optical segment 12 and non-prescription carrier 16. Similarly, as shown in FIG. 9, mold 13 can be fashioned such that the cavity 14 defines new structure on the back surface of the preformed lens 11 such that the surface is changed to provide the desired lens design.

[46]

Molds can be made from any material which will provide an optical quality surface when used for casting, such as Crown glass or electroformed nickel. Means for making appropriate molds and for fashioning such molds for use in accordance with the present invention are known in the art.

[47]

To cast the new lens surface, an optical resin monomer material is dispensed onto the preformed lens, onto the mold or into the cavity, and then cured. In certain embodiments only a portion of cavity may be filled with material to form the desired new surface. Appropriate optical resin materials include those previously discussed among others. Certain materials used to "hardcoat" lenses (such as those described in U.S. Pat. Nos. 4,758,448 and 4,544,572, which are incorporated herein by reference) can also be used as the resin material, thus providing a durable surface to the portions of the finished lens cast in accordance with the present invention. Hard coat materials can also be blended with other resins for use in practicing the present invention. Furthermore, the resultant lens can be a composite of high index plastic materials and more scratch resistant materials. The resin material should, however, be chosen such that upon curing the material will both harden and bond with the material of the preformed surface of the lens. Preferably the resin material will form what is thought to be intermolecular bonds with the material of the preformed lens.

[48]

In preferred embodiments, both the preformed lens and the resin material used to recast the lens surface are the same or similar material. Use of the same or similar materials prevents separation or "crazing" (i.e., cracking) of the new surface from the preformed lens as a result of different expansion/contraction rates for the preformed lens and recasting materials. Applicant also believes that use of the same or similar materials may allow formation of intermolecular bonds between the new resin and the surface of the preformed lens.

[49]

The resin material composition may also contain various additives which will alter the resulting lens including without limitation tints, antireflection coatings, anti-scratch coatings, and ultraviolet inhibitors. The resulting lens may also be subjected to treatments frequently applied to plastic lenses, including without limitation tinting and coating with ultraviolet inhibitors and antireflection and anti-scratch coatings, according to known methods.

[50]

Coatings can also be provided to the resultant lens by transferring coatings from the mold to the resultant lens. In such embodiments, the mold is first coated with the material to be transferee to the lens, such as anti-scratch, anti-reflective, photosensitive or hard coatings. The coated mold is then employed as described herein. If the coating material has a greater affinity for the lens resin material than for the mold surface, the coating will be transferee to the surface of the resultant lens. Suitable materials and means for applying them are known in the art, including without limitation those disclosed in U.S. Pat. Nos. 4,758,448 and 4,544,572.

[51]

Ultraviolet curing allows use of tinting agents in the resin composition which would be decomposed or volatilized during thermal curing processes. If UV curing is used, in most cases, tinting agents can be added to the resin composition before curing and incorporated relatively uniformly into the resulting finished lens. Since in some cases significant heat does not need to be employed in the UV curing process the tinting agent is retained by the resin material during the curing process. This is accomplished because no peroxide-based thermal initiator is used therein.

[52]

In certain embodiments, as shown in FIG. 2 for example, the preformed lens is masked with tape 15 or other appropriate materials. The masking can be used on the side of lens which is to be cast in accordance with the present invention, thus preventing casting undesired portions of the lens surface. Alternatively, the mask can be applied to the opposite surface of the lens to limit the area through which UV radiation can reach the resin material, thus limiting the area in which the resin is cured. Masks can also be used on the mold, the preformed lens, or both, and on both sides of each and any component.

[53]

Any suitable material, for example, small pieces of tape can be located between the lens and mold at various points around the periphery of the lens/mold assembly as shown in FIG. 10. Using carpet tape provides a surface approximately 0.4 mm thick, while use of scotch tape provides a surface 0.2-0.3 mm thick. Spacers can also be constructed from material that is the same as or similar to the preformed lens and/or the resin composition. Upon curing, such a spacer could become incorporated into the finished resulting lens. In certain embodiments, spacers are not used and the preformed lens and mold are either not separated or are separated by a thin carrier layer of resin composition separating the preformed lens and mold. Such layers cast in accordance with the present invention have been measured as thin as 0.025-0.05 mm thick.

[54]

In certain embodiments, the resin is not dispensed into the cavity until after the mold and preformed lens are assembled. In such embodiments the resin material is injected into the resulting cavity through a channel in the mold, or the preformed lens, taking care to prevent formation of air pockets within the cavity. Any burrs or other artifacts resulting from the presence of such a channel or other structure can then be removed during finishing of the resulting lens.

[55]

Once the mold and the preformed lens are assembled the resin material in the resulting cavity must be cured to harden and bond with the preformed lens surface. The resin material may be cured in any manner appropriate to the composition of such material. Most materials can be cured by exposure to heat or ultraviolet radiation ("UV"). Thermal initiators (such as diisopropyl peroxydicarbonate) and/or UV initiators (such as 2-hydroxy-2-methyl-1-phenyl-propan-1-one or 1-hydroxycyclohexylphenyl ketone) are mixed with the optical resin material before it is used.

[56]

Suitable UV light sources include those manufactured by Phillips Corporation and identified as TL/lOR/UVA reflector lamps, HPM high pressure halide lamps, HPA medium pressure metal halide lamps and HPR high pressure mercury vapor lamps. In preferred embodiments, the UV source (300-450 nm) is applied during the curing process until the resin hardens sufficiently (approximately 5-30 minutes). In some cases, the lenses to be cured are placed onto a turntable for rotating the lenses through the stream of incident radiation in order to achieve more even curing and maximizing the number of lenses which can be cast within a given area. Other appropriate UV light sources and conditions for exposure will depend upon the resin composition employed and will be apparent to those skilled in the art.

[57]

Curing can also be performed using a "blinking" UV light source. Curing with a blinking source tends to produce an optical segment with less variation in consistency.

[58]

Heat or UV, or both, may be applied by any means appropriate to the material from which the mold and preformed lens are made. Unlike thermal curing, UV curing requires at least one UV transparent surface through which the UV radiation can travel to reach the resin monomer material. Although the preformed lens provides one transparent surface, forming the mold from a UV-transmitting material will provide additional transparent surfaces and will promote faster, more even curing. Upon application of heat, UV or both, the initiators cause the optical resin material to polymerize and to bond to the surface of the preformed lens.

[59]

Certain embodiments of the present invention use a reflective surface on the surface of the mold to reflect ultraviolet light back through the lens resin material being cured. The mold includes a reflective surface conformed to the casting surface of the mold. The exposed surface of the reflective surface is highly polished to reflect ultraviolet light rays from ultraviolet light source. This surface of the reflective surface may act directly as a casting surface that produces an optical quality lens surface or may be fixed beneath a transparent layer which acts as the actual casting surface of the mold.

[60]

Some materials can be cured by a combination of heat and UV applied sequentially or simultaneously. For example, applicant's co-pending application Ser. No. 190,856, filed May 6, 1988, which is incorporated herein by reference, discloses a resin material and means for curing such material using both heat and UV. Such material includes a liquid monomer, a thermal initiator, plus a photosensitive ultraviolet initiator. In this process, the liquid monomer lens resin material is placed into the desired preformed lens/mold combination and subjected to thermal curing using a heated fluid bath (preferably 150-180'F) for a short period of time, less than ten (10) minutes. The heat activates the thermal initiator and forms the lens material mixture into a gel which freezes the photosensitive initiator in place throughout the lens material. Furthermore, this gelled state preestablishes the optical framework needed for an optical lens relatively free of optical distortion or imperfections. After the lens material mixture has sufficiently gelled, it is then subjected to ultraviolet light to activate the photosensitive initiator and complete the polymerization or curing process to form the finished lens.

[61]

Preferred resin compositions for use with such a combined thermal/UV curing process comprises resin monomer (such as CR-39), 0.5-5.0% by weight thermal initiator (such as diisopropyl peroxydicarbonate), and 1-8% by volume photosensitive initiator (such as 2-hydroxy-2-methyl-phenyl-propan-1-one or 1-hydroxycyclohexylphenyl ketone, which are sensitive to ultraviolet light). Other resins may include allyl diglycol carbonates, allylic esters, triallyl cyanurate, triallyl phosphate, triallyl citrate, diallyl phenyl phosphonate, acrylic esters, acrylates, methyl methacrylate, allyl methacrylate, butyl methacrylate, polycarbonates, styrenics, lexan, polyesters, high index plastics, medium index plastics, urethanes, epoxies and silicones.

[62]

Particularly for lens manufacturing processes using UV curing, a yellow tint may remain in the resulting lens or may evolve during aging. This tinting or "yellowing" can be reduced by curing the lens material with the addition of certain anti-yellowing chemical agents. These include amine hindered amine light stabilizer (HALS); optical brighteners which makes the yellowing or hindered phenol antioxidants. Another method is to use a photosensitive initiator which is not from the amine group and which will not cause yellowing.

[63]

It has also been found that inadvertent post curing and additional yellowing or discoloration can occur after a lens has been cured by permitting the lens to be subjected to a UV curing process longer than desired or inadvertently exposing the lenses to sunlight or artificial light, which includes wavelengths of the UV spectrum, during processing or use. Additional exposure to UV light produces a continued curing effect because of the remaining UV initiator in the formed plastic lens. This can cause the lens to be unduly brittle and cosmetically discolored, permitting it to be readily fractured and detracting from the normal life or commercial sale of the lens.

[64]

The invention described herein can include the use of UV inhibitors coated on the surface of the cured lens or absorbed into the surface of the cured lens to avoid any additional effect on the UV initiators and to substantially prevent or entirely eliminate the transmission of UV light waves into the lens. Such processes are further described in co-pending U.S. patent application Ser. No. 339,217, filed Apr. 17, 1989. This coating can take the form of anti-reflective coating, a scratch-resistant coating, any tinting coatings, or simple wavelength coating which could be basically clear for preventing UV wavelengths from being transmitted. Such UV inhibitors are well known in the art and need not be described in detail herein. It is desirable to have the UV inhibitor eliminate all UV light and other wavelengths having a wavelength of 500 nm or less and more specifically between 300-425 nm.

[65]

This treatment process normally involves, after the curing steps, simply dipping the cured lenses into a hot bath having any one of the coatings mentioned above to coat the surfaces sufficiently such that the entire surface of the lens is covered with the inhibitor. This dipping process, as well as other processes for applying the coatings noted above are well known to those skilled in the art. The UV inhibitor can be used in solution or otherwise form a composition with the coatings discussed above, such that the desired coating along with the inhibitor can be applied to the lens in a one step process. Some inhibitor may be absorbed into the lens material. Other known methods of coating can be used in applying the UV inhibitor in the manner described above.

[66]

Prior to lens surface treatment, if any additional hardening is required, the lens can be subjected to "post curing". Although a post cure can be utilized with any of the above noted processes, it is not normally used for bath cures since the mold and other intervening media may affect the ability to achieve maximum hardness. Preferably for post curing, after the thermal and/or UV cure, the lens is separated from the mold and subjected directly to UV or heat. This post cure using UV and or a thermal source will harden the lens material even further should such additional hardness be required. In some cases, post curing with UV is done with a filter mask that allows more UV radiation to strike the thicker surfaces of the lens

[67]

Applying an optical segment in accordance with the present invention may in some instances produce a minor, but beneficial transition in the finished lens near the edge of the segment. This phenomenon has been observed mainly in connection with the formation of multifocal segments having a flat edge. For example, as shown in FIG. 6, when applying a conventional flat top 28 +250 bifocal segment to a plano preformed lens, the main prescription of the segment may be +250 while the upper edge of the segment may be only +212. The optical center of the preformed lens may remain plano, but the area of the lens just above the segment may be, for example, +87. This beneficial transition provides a possible effect in that when the wearer's eye moves from the main prescription to the bifocal prescription the eye is eased from lower to higher power, thus requiring a less drastic change in accommodation.

[68]

In effect, a bifocal lens having such a transition provides at least four different lens corrections or prescriptions at different regions of the lens As shown in FIG. 6, the lens has a first correction in the region 17 of its optical center and a second lens correction in a second region 18 at the center of the bifocal segment. The geometric center of the lens is indicated at 30. A third lens correction is provided by a third region 19 located adjacent to the edge of the segment (i.e., adjacent to the second region) approximately along an imaginary line (indicated by a dotted line) extending from the geometric center of the segment to the optical center of the lens. A fourth lens correction is provided by a fourth region 20 located within the segment (i.e., within the second region) and approximately along the same imaginary line. The magnitude of the third lens correction is between the magnitudes of the first and fourth lens corrections and the magnitude of the fourth lens correction is between the magnitudes of the second and third lens corrections. For example, in the example previously discussed the first, second, third and fourth lens corrections are plano, +250, +87 and +212, respectively. In other multifocal lenses additional lens corrections may also be provided by the segment.

[69]

The recasting method can also be used to correct other defects in rejected or damaged cast lenses. A defective lens can be recast with a thin non-prescription film layer using a mold of the same shape to remove the defects, thus decreasing yield losses during the manufacturing process. Recastings according to this method can be cured in any appropriate manner in far less time than the initial casting due to the thin film layer to be cured. Furthermore, significant savings can be accomplished due to use of less resin material and elimination of the need for a conventional optical gasket.

[70]

A preformed lens can also be combined according to the present invention with a second preform providing a multifocal or progressive region. As shown in FIG. 8, second preform 26 provides a multifocal region 27. Second preform 26 and preformed lens 11 are contacted to form a cavity 28 corresponding to a thin carrier layer 29 of resin material. Curing of the resin bonds second preform 26 to preformed lens 11. Preferably, the second preform, preformed lens and resin material are of the same material, although different materials may be used.

[71]

Separation of molds from the resultant lens can be facilitated by putting the assembled apparatus on ice or in some other cold source (e.g., freon). The exposure to cold causes the resultant lens and molds to contract and pull away from each other such that the components can be more easily separated. Although more traditional separation methods using a water bath can be used, the separation with a cold source eliminates the need to remove water from the resultant lens and molds before further operations can be performed.

[72]

While employing the methods of the present invention in casting lenses, the resultant lenses can be marked with various "unseen" markings by employing molds which have minor imperfections corresponding to these markings when curing with UV light. When a mold contains an imperfection, the imperfection refracts the UV light such that exposure of the resin to the light source becomes uneven. The uneven curing causes a harmless distortion in the resultant lens which correspond to the imperfection in the lens, thus creating the marking. In many instances these markings will be invisible to the naked eye and can only be seen by using a polariscope. For example, a mold could be embossed with numbers corresponding to the prescription cast thereby such that the resulting lens is marked with the prescription when viewed under a polariscope. These markings could also be employed to mark features of the lens including without limitation the astigmatic axis, optical center, base curve, right, left, progressive region, optical segment and mold number.

[73]

Certain embodiments of the present invention are demonstrated by the following examples which are intended as illustrations and not as limiting the invention in any way.

EXAMPLE 1

[74]

A mold was fashioned to define the contours of an optical segment which was to provide a bifocal. The mold was made from Crown glass, electroformed nickel, or other material having the ability to cast an optical quality surface.

[75]

An optical resin material was then prepared consisting of MasterCast 1 or 2 (without a thermal initiator) and an added UV initiator (2-hydroxy-2-methyl-phenyl-propan-1-one, 6.5% by volume). The resin mixture was then dispensed into the mold. The mold and the preformed lens were then contacted to form a cavity corresponding to the configuration of the optical segment. The preformed lens was placed on top of the mold filled with the needed volume of resin material.

[76]

The resin material was then cured using UV light (300-450 nm) until the resin hardened sufficiently (approximately 10-20 minutes) using a UV light source manufactured by Phillips Corporation and identified as TL/lOR/UVA reflector lamp. The mold and preformed lens were then separated. The finished lens was then edges, finished and mounted.

[77]

The scratch resistant resin is chosen from a composition which has more affinity for the preformed lens than it does to the mold. Once cured this facilitates the removal of the lens with the multifocal segment secured thereto from the mold. As with the processes described before, after this removal the lens is ready for use requiring only edging before fitting into the eyeglass frame.

[78]

Although this has been described in connection with the hard coat, scratch resistant, photochromatic, anti-reflection coating or other types of films or coatings could be used. Such a system may also have the effect of producing a more impact resistant lens due to the surface bonding process.

[79]

When making a complete lens it is necessary to utilize a gasket which not only accommodates the assembly of molds and provides an airtight oxygen free environment, but also allows for shrinkage of the resin while curing. It should be noted that when curing a complete lens on is establishing two optical surfaces or curvatures which when combined with the index of refraction and thickness provide the resultant lens power.

[80]

With the disclosed invention a finished or semi-finished lens is produced by utilizing a preformed lens having two existing surfaces and optical curvatures. The addition of one new surface and curvature to this existing preform possess new and major challenges in order to produce optical quality commercially acceptable resultant lenses. The bonding must be extremely strong at the preform-resin interface and the cure must be even and complete.

[81]

This is further complicated when curing layers of unequal thickness to a preform. In order to accomplish this there will be uneven shrinkage due to the different thickness layers added. Examples of uneven thickness added to a preform in order to produce a resultant lens would be multifocal surfaces, or progressive surfaces. These are by way of example only and should not be viewed to limit the scope of the invention.

[82]

This uneven shrinkage creates surface irregularities which will show up as unwanted astigmatism, generally but not always, found in the areas of abrupt thickness transition. One excellent example of this would be found directly beneath and adjacent to the shelf or ledge of a flat top multifocal. This unwanted astigmatism makes the lenses commercially unacceptable. Plus in many cases this uneven shrinkage will also cause surface hazing, surface cracking, subsurface haze and subsurface cracking. One method of developing a high quality, durable surface optical layer through a process which involves uneven shrinkage is as follows.

[83]

It has been found that if one first initiates cure of the external surface closest to the mold interface a surface crust or shell will be established. This partially cured optical crust or shell assumes a structural skin that upon deeper curing maintains and resists mold resin interface curvature changes caused by uneven shrinkage. This shrinkage occurs largely in the matrix between the surface of the mold resin interface and the preform resin interface.

[84]

This crust or shell can be formed using a number of techniques, for example, by controlling the light source or light sources which produce different wavelengths or intensities of UV light, use of inhibitors, initiators and various combinations thereof.

[85]

Once properly cured the new surface added to the lens in this manner can be annealed in an air oven or by submerging it in a hot liquid bath.

[86]

Particularly for multifocal-type lenses, it has been found that if an additional space is provided in the area of the multifocal portion of the mold cavity, smaller resultant lenses can be used. Two spacers (tape, small pieces of the same lens material, etc.) approximately having a thickness of that of scotch tape are placed on either side of the multifocal portion of the cavity. This increases slightly the gap between the preformed lens and the mold in the vicinity of the multifocal portion of the cavity in the mold. As a result, during the curing process there is sufficient volume in the vicinity of the multifocal portion of the lens to avoid strains which may otherwise occur on the periphery of the interface between the lens and the mold. This specific technique can also be used in order to assure the proper layer of resin in the case of high prescription lenses above ±3.75 diopters of power.

[87]

As is known in the art, a channel connects the multifocal portion to the distance portion of the lens to form what is typically referred to as a "progressive" lens. Increasing the gap as described above can be used with a progressive portion of the lens, as with a multifocal segment.

[88]

This gap also can be achieved by forming a lip at the very bottom of the multifocal portion of the mold. Such a lip is formed by a recess along the edge of the mold to accommodate additional resin. This can be seen better in FIG. 4 which is a cross section lens mold arrangement. The volume below the multifocal portion is enlarged to receive additional resin. In this way when the resin is spread after the lens is placed in the mold, a portion of the resin will reside in the recess. This will provide the additional resin in the periphery to ensure there is a sufficient amount of resin to avoid adverse effects during the curing process which would otherwise make the periphery portion of the lens unacceptable, requiring additional edging and reducing the usable resultant lens.

[89]

In another embodiment, the preformed lens is made larger than the mold to accommodate certain prescriptions. In those cases where the ultimate lens is an oval, the preformed lens should have a diameter equal to or larger than the largest diameter of the final lens. For this purpose the mold may have a major diameter of 74 mm and minor diameter of 70 mm in the form of an oval. The preformed lens then will have a diameter of at least 74 mm.

[90]

This proves to be an advantage when adjusting the lens to the desired prescription of the patient. The preformed lens is rotated to the axis of astigmatism, marked for decentration and PD (pupillary distance). The lens is then edged to form an oval concentric with the mold. In this way the lens outer perimeter will conform to that of the mold. The molding step are the same as described above, but with preform lens and the mold having an oval configuration to accommodate astigmatism. After the molding process is completed, the finished lens is removed and edged for placement into the frame.

[91]

Another approach in curing the resin cast on the surface of the preform is to use heat in combination with UV light. It has been that this has several beneficial effects. It enhances bonding between the thin film and the preformed lens. The heat in addition to UV apparently increases molecular activity causing better interaction at the film lens interface. This makes it more likely that bonding will be more uniform across the entire surface of the lens. Enhanced bonding is in part due to the enlargement of the voids which pervade the surface of a plastic lens at the micro level. By this action the resin has a greater chance to fill these voids thereby enhancing the bond between the two elements. Furthermore, it is believed to keep the molecules and chains more mobile on the external surface closest to the mold, thus enhancing a more optically pure surface more consistent in of uniformity and regularity of curvature.

[92]

Often during curing the lens blank or preformed lens with the mold is rotated in an effort to facilitate curing throughout the lens. However, even this approach can produce uneven curing. It has been found that oscillation can result in better curing, particularly at the lens center. With rotation the lens center may be relatively stagnant, resulting in grater hardness at the center than elsewhere. Oscillation avoids this stagnation since the lens center will move with the rest of the lens, thereby avoiding undue disproportionate curing. Such oscillation can be used with rotation or independently thereof.

[93]

The above has been discussed with respect to applying a multifocal portion with a thin layer to the surface of a lens which already has the proper curvature for a particular prescription, preferably for distance lens correction. It has been found, however, that with certain prescriptions the preformed lens should have a curvature on its outer molding surface that is somewhat different from that of the lens curvature at its distance correction. This is because the multifocal region requires so much plastic resin and that the advantages of the thin layer and avoiding distortion can be impeded or lost. Thus an asymmetrical alignment is needed.

[94]

Under these circumstances, it has been found that the shape of the lens backing should be such that it can extend into the mold cavity in a nonparallel manner. To accomplish this a shape different than that of the molding surface is adopted to reduce the volume required by the multifocal region. This will result, of course, in the mold surface being different than a portion of the lens backing throughout as was described above. However, in the range of certain prescription lens and with a certain curvature, it has been found that this permits multifocal regions to be added to a lens backing without the adverse effects of distortion while minimizing added thickness.

[95]

In the drawings as shown at FIG. 12, the lens mold 100, with the molding surface 102 has a preselected curvature which will ultimately, when combined with the single vision lens curve, the result of which will be the distance correction portion. The multifocal portion 106 has sufficient power to provide the preformed lens backing 104 with a multifocal dimension. It can be seen that the outer surface 108 of the preformed lens backing 104 has a curvature different from the molding surface 102 even in those areas where the multifocal portion does not appear. Preformed lens backing 104, however, corresponds to the distant correction portion of the molding surface when the molding process is complete.

[96]

With this system, as before, the resin is placed in the mold. The lens is molded to have ophthalmic qualities such that when the curing is completed the finished lens is one that can be worn in a spectacle or otherwise. No surfacing is necessary, only edging and then fitting into an eyeglass frame. After resin is placed in the mold 100, lens backing 104 is simply placed atop mold 100 and permitted to force, through capillary action, the resin 100 throughout entire cavity formed between lens backing 104 and the mold 100. The combination of the lens backing, resin and mold is then cured to permit the resin to harden. Once the system is completely cured, the lens backing is removed from the mold with the lens formed having the distance and multifocal region with the desired ophthalmic qualities. All that is required is finishing or edging and placing it in the frames.

[97]

In the system shown in FIG. 12 the preformed lens is located near the center of the mold with the lens edges spaced a greater distance from the mold than the lens center. An alternative approach is to align one edge of the lens with the mold edge adjacent thereto. In this manner the space or distance between the lens and the mold generally increases as you move away from the position of alignment toward the opposing edge. With this approach one may better maintain the proper relationship between lens and mold and avoid unwanted movement during the manufacturing process.

[98]

In using systems for manufacturing lens formed by mass production surface casting of thin layers can also used. For example, in a system where the lens blanks are injection molded, typically the front portion of the lens can have a surface with a known power or curvature with the rear surface being in blank or not of ophthalmic quality. The mold utilized has a desired curvature for the front surface of the lens. In the preferred embodiment the curvature allows for a multifocal progressive or aspheric front surface. The resin is placed into the mold and the lens blank having been molded by an injection molding process is then pressed against and into the mold and permitted to rest on the resins such that the resin is drawn throughout the cavity between the mold surface and the lens surface. Once in this position, the system is then cured until the resin is hardened sufficiently. Then the lens blank is removed with the resin being cured onto the surface, having an outer surface corresponding to the curvature of the mold.

[99]

With this lens blank, all the prescriber need do is, once a prescription has been determined, simply finish the lens back by standard surfacing steps which include grinding and polishing the back surface to the desired curvature. No further effort is required on the front surface since the molding process produces for the surface a lens of optical quality. Once the lens is finished to desired power and optical quality, it can then be edged and placed into the frame selected by the user. With this system it is much more economical to manufacture, prescribe, and sell lens of optical quality than many systems had utilized before, since it offers a fast, easy efficient and economical method to fabricate lenses or plain blanks without the need to maintain a large inventory of different styles, semifinished lens blanks.

[100]

Discussion above relates in part to different coatings that have features independent of the molding process. It has been discovered that resins of higher index of refraction added to the front surface reduce multifocal ledge surface curves and overall finished lens thickness. It has been found that by using a resin of a higher index of refraction than that of the single vision lens back the multifocal shelf thickness in the case of a lined multifocal or the progressive surface will be less thick, more cosmetically desirable, facilitates curing of an ophthalmic quality lens. The process for making such a lens is the same as that discussed above, but with a higher index of refraction resin.

[101]

It has been found when curing uneven thicknesses of resin possessing electromagnetic initiators but not thermal initiators with an ultraviolet light source heat also plays a very important role in equalizing the levels of cure over the uneven thicknesses. It is believed that heat relaxes the chains and allows for a deeper more even cure, even though the same level of ultraviolet radiation energy is exciting different thicknesses of resin. One would normally expect thicker sections of resin having been exposed to ultraviolet radiation energy of the same wave length, same intensity, and same exposure time to have less cure and less hardness than the thinner sections. By using heat it has been found this cure differential can be reduced significantly.

[102]

A very good example of this would be a multifocal convex mold containing a resin and an assembled preform when exposed to a medium pressure ultraviolet light source without additional heat will have a finished surface with a Barcol (hardness test) of ±77 in the distance section where a layer thickness of ±0.06 mm is applied. In the multifocal area where ±0.6 mm of thickness is added, the barcol measurement could be as low as ±60 (Barcol) when exposed to the same wavelength, same intensity, and same time exposure. However, when applying heat of approximately ±160° Fahrenheit during the electromagnetic cure cycle in addition to the ultraviolet radiation source used the Barcol measurements will be approximately ±85 (Barcol) in the distance (thin section added) and approximately ±84 (Barcol) in the multifocal area (or thick section added). These results are achieved in contrast to the non-heated experiment which used the same resin having no thermal initiators while not changing any other variable with the exception of adding heat.

[103]

Thus the addition of heat which can be applied by way of example only but not limited to convection, radiation, conduction, microwave, infrared, and visible light can speed up the process and achieve more even cures, and more equal hardness on surfaces of unequal thicknesses. Furthermore, it would appear when curing an entire thickness of a lens, heat would facilitate a more even cure in areas of the lens where thickness is not constant even though a thermal initiator is not used.

[104]

The above has been a detailed discussion of certain embodiments of the present invention. They should not be considered so as to limit the scope of applicant's invention which is defined by the appended claims.

Как компенсировать расходы
на инновационную разработку
Похожие патенты