заявка
№ US 0003721540
МПК C03B5/173

FOREHEARTH ADDITION SECTION

Правообладатель:
Номер заявки
5087596
Дата подачи заявки
01.11.1970
Опубликовано
20.03.1973
Страна
US
Как управлять
интеллектуальной собственностью
Чертежи 
2
Реферат

Формула изобретения

claimed is: 1. In an apparatus for continuously producing a molten homogeneous colored glass product comprising furnace means for melting and refining a base glass, a forehearth extending from said furnace means having a channel delivering molten glass to integrally formed glass discharge means and including means for dispensing solid particulate colorants to the upper surface of said molten glass in said forehearth prior to its delivery to said discharge means, the improvement wherein said means for dispensing said colorants consists of a sealed forehearth addition section having a crown member, 'Lront and rear skimmer blocks extending downwardly from said crown member and being transversely coextensive with said forehearth channel, said rear skimmer block being partially submerged in the molten -lass and said front skimmer block having its lower mar.-in closely adjacent the glass surface so as to be virtually submerged in said molten glass, side walls disposed intermediate said front and rear skimmer blocks and extending downwardly from said crown member, the respective junctures of said crown member, skimmer blocks and side walls being suitably sealed so as to define a substantially dust-tight, internal particulate discharge zone virtually isolated from the adjacent forehe . arth-furnace environment, and retractable, snugly received duct means extending into said zone for supplying and discharging solid particulate colorants thereto at a point above the upper surface of said molten glass and thereby prevent particulate colorants from contaminating the base glass in said furnace means. 2. In an apparatus for continuously modifying the composition of a molten base glass, said apparatus includina a glass melting and refining furnace, a forehearth extending from said furnace having a channel through which molten glass flows from said furnace to a glass discharge outlet and including means for dispensing solid

5 particulate materials to the upper surface of said molten ,-lass flowin- through said forchearth channel, and stirring means downstream of said dispensing means for admixing said particulate materials and said molten base glass, the improv,-ment consisting of a sealed substantially dust tight chamber overlying the molten glass flowing in the forehearth channel and defining an internal zone isolated from the adjacent forehearth environment, said chamber including front and rear skimmer blocks transversely coextensive with said channel having their lower mar.@ins virtually disposed beneath the surface of said flowing molten -lass, and wherein said means for dispensing solid particulate materials to the upper surface of said molten -lass comprises enclosed snugly received duct means extending into said chamber and terminating above the upper surface of said molten glass for supplyina said particulate materials to said isolated internal zone thereby preventin.- contamination of said furnace means when said particles are dischar,-ed into said zone. 3. In a method for altering the composition of a molten base -lass as it flows throtigh a forehearth channel by dischargin- a solid i)articulate mat,-rial onto the upper surface of said molten iiass flowing in the forehearth channel, the improvement comprisin@: dischar-ing said solid particulate material into an internal zone which is isolated from combustion gases and which communicates with the upper surface of said flowing molten glass so that said material is added directly onto said flowin-, molten glass and dusting is confined within said zone. 4. In combination with forehearth channel means carryin.- a flowing stream of molten glass from a glass melting and reflning furnace to a discharge orifice, an apertured particulate addition section forming an upper part of said channel means, said addition section consisting 3)721,540 6 of front and rear skimmer blocks partially submerged in said molten glass and beina transversely coextensive with said forehearth channel means, side walls disposed intermediate said skimmer blocks and a crown member supported by said side walls and skimmer blocks, said skimmer blocks, side walls and crown being sealed, thereby defining an isolated, internal zone communicating with the upper surface of said flowing molten glass, and enclosed duct n-ieans snugly fitted in said aperttire of said 10 addition section and terminating in said isolated zone above the level of said flowing stream of molten glass for discharging solid, particulate materials into said internal zone. S. In a method for altering the composition of a molten 15 base glass as it flows through a forehearth channel by discharging a solid, particulate material onto the surface of said molten glass flowing in the forehearth channel, the improvement comprising: discharging a solid, particulate colorant metal oxide material into a zone which is isolated 20 from combustion gases and overlies a preselected portion of the upper surface of the flowing molten base glass so that the particulate colorant metal oxide material is added to the flowing base -lass in a dust-controlled manner. 25 References Cited UNITED STATES PATENTS 3,321,288 5/1967 Griem, Jr - ---------- 65-161 3,330,638 7/1967 Brown -------------- 65-134 30 ARTHUR D. KELLOGG, Primary Examiner U.S. Cl. X.R. 65 -146, 335, 346

Описание

[1]

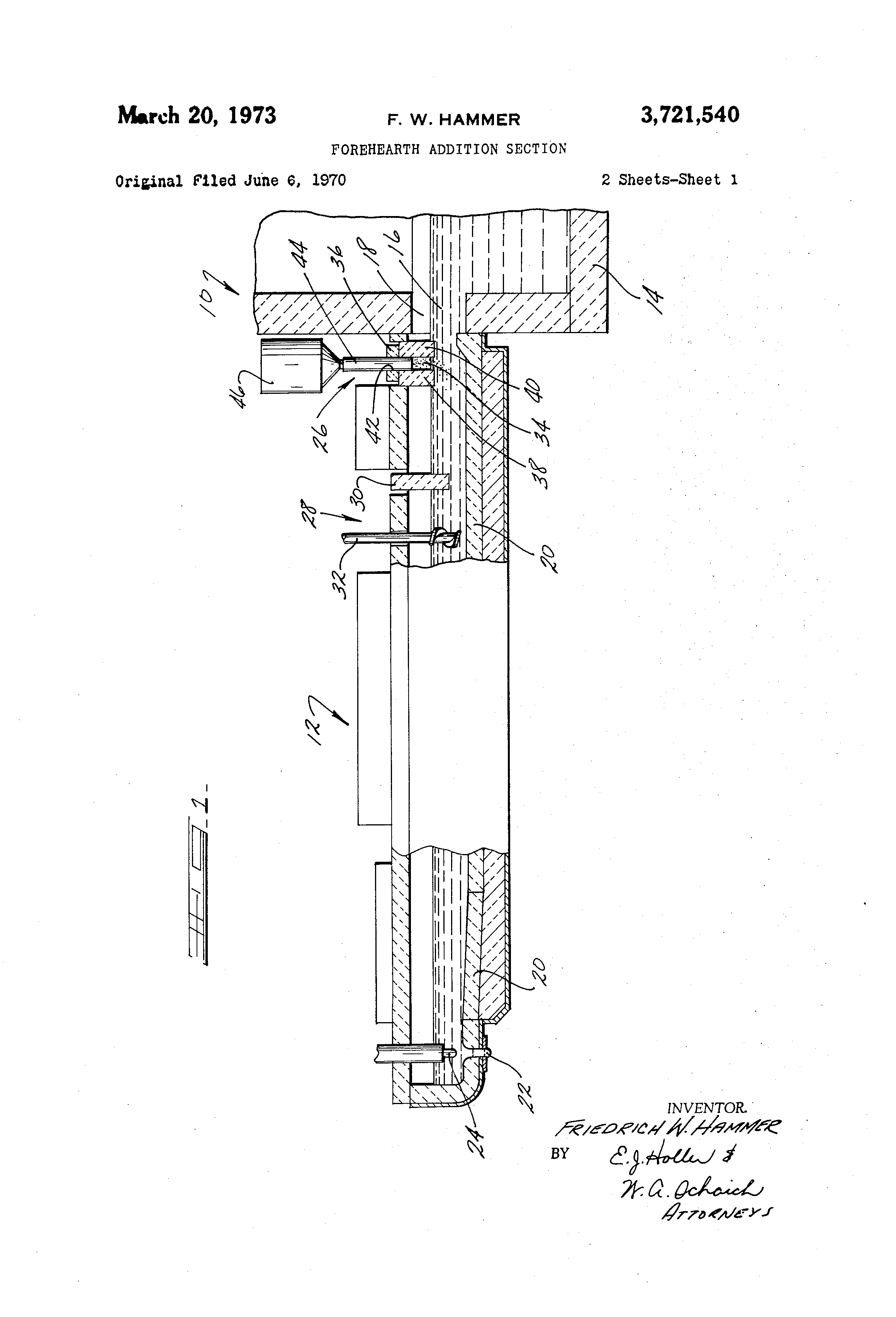
0 3@721@540, United States Patetit Office Patented Mar. 20, 1973 2 able for this purpo se as they are inhere ntly of a smalle r particl e size and, becau se of their higher colorat ion intensi ty, requir e substa ntially less materi al to be added per unit weight of molten base glass. Howe ver, when adding colora nt oxides to the forehe arth accord ing to prior art techni ques, where in the additio n takes place in a zone open to the adjace nt combu stion proces s, dustin g and volatili zation losses are sustain ed which have a signifi cant detrim ental ir@flu ence upon the overal l efficie ncy of the 10 system . This dustin, -, resulti ng from the pneum atic conve yance of the smalle r particl es by the turbul ent vapors of the adjace nt rombu stion proces s, has in additio n to the efficie ncy decre ase, other advers e charac teristic s. First of all, it provid es an opport unity for conta minati ng the 15 virgin glass supply existin g in the furnac e refine r. This is of particu lar import, where in a pluralit y of forehe arths exten d outnva rdly from a single rfffine r and distinct colora nts are separa tely added to the severa l forche arths, as inadve rtent colora nt transfe r to anothe r forehe arth, 20 and/or intermi xing of colora nts, produ ces objecti onable and highly undesi rable results . Secon dly, becau se of the small size of the conve yed particl e, a hygie nically unacc eptabl e worki ng env;ro nment is create d by an atmosp here of dust laden air. 25 S U M M A R Y O F I N V E N T I O N In acco rdan ce with this irve ntion , ther e is prov ided an impr ove ment in the tech niqu es for addi ng solid parti culat e matc rials into the fore hear th sect; on of a con30 tinuou s glass manuf acturln,- system , where by the efficie ncy of the additio n is greatl y iiierea sed, dustin g is preve nted or contro lled and the possibl e conta minati on of glass in the refine r or other forehe arths is virtuall y elim:,n ated. 35 More particu larly, there is provid ed a solid particu late additio n sectio n, forme d in the supers tructur e of a forehe arth, having front and back refract ory blocks sealed at their upper margin s defini ng an isolate d zone over the molten glass into which the additiv es are discha rged, 40 the sectio n also being provid ed with suitabl e particu late feedin g means. BRI EF DES CRI PTI ON OF THE DR AWI NGS The forego ing, and other advant ageou s featur es of 45 this inventi on will becom e appar ent upon refere nce to the drawin gs, of which: FIG. I is a longi tudin al secti onal view of a fore hear th sho win.- an emb odim ent of this inve ntion ; FIG. 2 is a parti al longi tudin al secti on of a fore hear th 50 showi ng an alterna te embod iment of this inventi on; FIG. 3 is a trans vers e secti onal view take n alon g the plan e 3-3 of FIG. 2. DESC RIPTI ON OF PREF ERRE D EMB ODIM ENT( S) t;5 Referr in- to the drawin gs, there is schem atically shown a glass furnac e 10 and a gasfired forehe arth 12 comm unicating with furnace 10. The base glass is melted and refined in the furnace tank 14 and the molten glass 16 flows through the furnace outlet 18 into a forehearth chan60 nel 20. At its forwar d end, forehe arth 12 is provid ed with an outlet 22, or other means for the discha rge of the glass, which may be under the contro l of plung er 24, for delive ry at the point of use. The plung er may be operat ed to contro l the volum e of glass passin g throug h outlet 22 either by adjust ment with respec t to the outlet, or by 65 recipr ocatio n 'there over to discha rge gobs of glass therethrough. Disp osed inter medi ate the fore hear th !orw ard end and the com muni catin g junct ure of furn ace 10 and fore hear th 70 12 is a stirrin g sectio n 28 and a particu late additio n sectio n 26, both being suppo rted by the forehe arth superstructure with the latter positioned upstream of the 3,721,540 FOREHEARTH ADDITION SECTION r,riedrich W. Hammer, Toledo, Ohio, assigacy to Owens-Illinois, Inc. Continuation of abandoned application Ser. No. 643,063, June 22, 1967. This 2pplication Nov. 6, 1970, Ser. No. 87,596 Int. Cl. C03b 5104 U.S. Cl. 65-27 5 CIaims ABSTRACT OF THE DISCLOSURE Introdtiction of solid particulate compounds into a molten base glass by utilizing a forehearth addition section and automatic feeding equipment; the addition section including front and rear refractory blocks definin- an isolated zone into which the compotinds are discharged and thereby providiii@ a more efficient, noncontaminating hygienically accep'table system. CROSS-REFERENCES This application is a continuation application of application Ser. No. 648,063, filed June 22, 1967, now abandoned. BACKGROUND OF INVENTION The present invention -enerally relates to the continuous manufacture of colored vitreous tnaterials, wherein a molten base glass flows from a melting and refinin.a furnace throu-h a forchearth, into which suitable solid Pa.-ticulate colorants are added to the base glass, and thence to the forming equipment or other points of use. More particularly, the invention relates to the forehearth section in which the appropriate colorants are added to the molten base glass. In the manufacture of glass articles, it is old in th,art to alter the composition of a molten base glass by addin.- solid partictilate compounds to a stream of this base glass as it flows throu.-h a forehearth and proceeds to the forming station or other point of use. Typically, a colorant-enriched glass frit or compounds of certain metals, cobalt oxide for example, are added in the forehearth, the purpose of which is to alter the inherent color of the base -lass composition. This invention is of particular utility in those systems wherein solid particulate oxides such as, for example, cobalt oxide, nickel oxide, copper oxide, arsenic oxide, antimony oxide, lead oxide, man-anese oxide, cerium oxide and molybdenum oxide are added to a molten base -,lass while it is flowing through the forehearth section. Heretofore, the addition of particulate materials to the forehearth has been accomplished by simply dispensing these materials from hoppers, through open forehearth sections, into the zone adjacent the upper surface of the traversing base glass; as a result of gravity, the particles soon contact the -lass surface and, by means of stirrers, are th,-n admixed into the base glass composition. While working relatively well with large size particles, for example colorant-enriched glass fiit typically having particle size distributions in the lower sieve ranges, the prior art addition techniques have not been suited for utilization with additive materials having particle sizes in the micron and higher sieve ran@es. This Emitation is particularly acute in the case of high glass production rates wherein metallic oxides are used to provide a desired glass coloration. To be compatible with high production rates, the forehearth additive must be capable of rap;dly dissolving within the base glass composition. Relative to colorant frit compositions, colorant oxides are particularly suit-

[2]

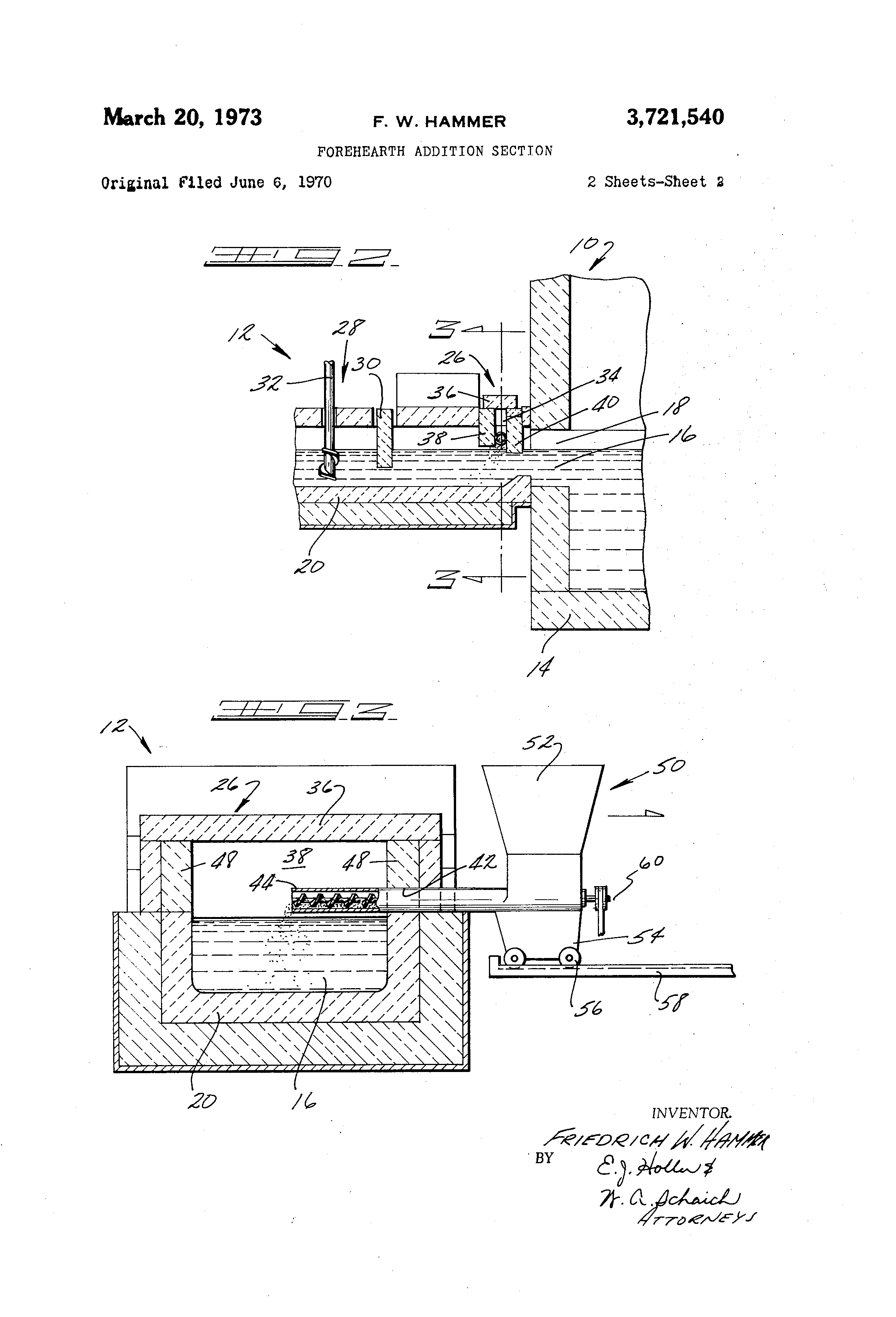
31721,540 3 former. Stirring section 28 essentially comprises a partially submerged baffle member 30, extending transversely of the forehearth channel 20, and being situated adjacently upstream of a rotary stirrer, or a plurality of stirrers 32. The molten base glass composition, and hence its 5 physical and chemical properties, may be modified by dispens,ing suitable particulate materials to the flowing -lass stream as it traverses the forehearth and proceeds toward the glass discharge means. This is accomplished by means of an addition section 26 disposed intermediate stirring 10 section 28 and furnace outlet 18; section 26 being so constructed as to define an intemal particulate discharge zone 34 virtually isolated from the vapors and turbulent convection currents of the adjacent furnace and forehearth combustion processes. While generally applicable 1,5 to any type of forehearth addition, the addition section of this invention is particularly useful in those systems w herein the particulate additive materials are either hi ghly susceptible to redox reactions, for example by s ubstantial exposure to combustion vapors, or have a 2 0 r elatively small particle size and are, consequently, of a hi gh dusting nature. As mentioned supra, the forehearth a ddition of colorant metallic oxides such as, for example, th e oxides of cobalt, nickel, copper, arsenic, antimony, le ad, manganese, cerium and molybdenum has not hereto2 5 fo re been entirely acceptable because of its poor - efficiency, c ontamination of the virgin refiner glass and the unhealthy e nvironment of dust-laden air; these deficiencies are subst antially remedied by providing an isolated zone into w hich the colorants are discharged. 3 0 I n FIG. 1, there is shown a top fed addition section 26 in tegrally formed with the superstructure of forchearth 1 2. The section includes a crown member 36 and integral, d ownwardly-extending partially submerged front and rear s kimmer blocks 38 and 40 respectively, being longitudi3 5 n ally spaced and transversely coextensive with forehearth c hannel 20. These spaced skimmer blocks, along with th e crown aild additioii section side walls (not shown in F IG. 1), define an internal zone 34 effectively isolated fr om the adjacent environment of the forehearth and 4 0 fu rnace. Crown member 36 is provided with a port 42 so a dapted as to allow an enclosed, solid particulate feeding d uct 44 to be snugly inserted therethro7Ligh and allowin.- s ame to extend into the isolated zone 34. Feed duct 44 w hose upper margin communicates with a partic ' 4 5 ul ate s upply source, for example hopper 46, may be a conventi onal volumetric displacement screw conveyor; ho-,vevei, th e preferred feeding duct is a vibrating scre@v, well known in the materials handling art. It is important that the juncture of the skimmer blocks" .5 0 a nd the addition section side walls, with crown 36 ' a, w ell as any interface existing between port 42 and duct 4 4, be effectively sealed, for example by the use of mortar ' s o as to retain any particles tendin- to dust within zone 34. T hus, it will be seen that as particulate materials for 5 5 e xample colorant oxides, are discharged into isoiatd z one 34 dusting will first of all be substantially minimized b ecause of the lack of any combustion process therein. F urthermore, as a result of the back skimmer bloci@ bein.- s ubmerged within the glass surface, and the sealing of 6 0 th e upper crown portion, any dusting which does occur w ill be incapable of producing the adversities of the prior a rt, that is the particles will be restrained in zone 34-1 th us, there will be no substantial losses nor contamination of the virgin glass in the refiner, or glass flowin- into and 6 5 th rough adjacent forehearths. F IGS. 2 and 3 show an alternate embodiment wh-.rein th e addition section 26 is adapted for side feeding of the p articulate materials thereto. Like the embodiment de7 0 s cribed supra, the side fed section includes a crown 36 h aving front and rear skimmer blocks 38 and 40 respecti vely, and side walls 48 disposed intermediate crown 36 a nd channel 20. Similarly, it is important that the junet, 4re5 Qf the r@rown, skimnier blqeks and side walls also 11 5 4 be suitably sealed so as to define a virtually dust-tight internal zone 34 for particulate addition. Side wall 48 is provided with a port 42 adapted to snugly receive a horizontallydisposed, enclosed vibrating screw conveyor 44, the latter being driven by suitable power transmitting means, for example a pulley and belt 60. The outer margin of conveyor 44 is rigidly affixed to a retractable solid particulate supply mechanism 50 which comprises an upper storage hopper 52, communicating with the conveyor inlet, and a base 54 providing structural support for hopper 52 and conveyor 44. At the lower end of base 54 are a plurality of rollers 56 mating with a complementing track 58, whereby the conveyor and supply inechanism may be easily retracted from zone 34 as an integral unit. This case of retraction thereby provides flexibility in the system as it allows the particulate material feeding and supply means to be quickly and efficiently removed from the forehearth, thereby allowing the glassmanufacturing ptocess to operate, when desired, without the forehearth addition technique and without fear of contaminating the forehearth glass by particulate materials falling therein from a priorly used supply hopper. Unlike the embodiment illustrated in FIG. 1, the front skimmer block 38 of FIGS. 2 and 3 is not submerged but is positioned with its lower margin closely adjacent the upper glass surface. This embodiment has been found to maintain the same dusting control as that priorly noted. That is, as the solid particulate materials are discharged by conveyor 44 into internal zone 34, dusting is substantially minimized because of the isolation of this zone from turbulent combustion vapors. Furthermore, the dusting which does result is controlled because of the sealed nature of the addition section and is restrained from entering the refitier glass by the submerged back skimmer block 40. While preferred embodiments of this invention have been described in detail above, these embodiments are merely exemplary and not limiting. Accordingly, the true scope of this invention is to be determined by reference to the following claims. What is

Как компенсировать расходы
на инновационную разработку
Похожие патенты