заявка
№ US 0003523665
МПК B64C13/04

SIDE STICK

Правообладатель:
Номер заявки
4706275
Дата подачи заявки
19.02.1968
Опубликовано
11.08.1970
Страна
US
Как управлять
интеллектуальной собственностью
Чертежи 
3
Реферат

Формула изобретения

claimed is: 1. In a multiple axis stick controller for including a manually operated motion transmitting member and means for mounting said member for independent rotation about at least two intersecting axes, the improvement comprising: passive artificial feel means for providing resistance to manual movement of said transmitting member from a reference position, damper means for damping movement of said transmitting member to and from said reference position, and in-flight adjustment means for varying both the resistance level of said 'feet means and the damping coefficient of said damping means. 2. The controller as claimed in claim I further including mechanical lock-out means for preventing movement of said motion transmitting member about one of said axes. 3. An improved adjustable mechanical movement resistance generating cartridge comprising: an axially movable actuator shaft, a plurality of selectively actuated springs of different spring constant carried by said cartridge for resisting movement of said shaft relative to said cartridge body, and adjustment means carried by said cartridge for selectively coupling said shaft and respective springs in additive fashion to increase the spring gradient resistance to shaft movement longitudinally of said cartridge. 4. The cartridge as claimed in claim 3 further including fluid damping means carried by said cartridge and operatively coupled to said actuator shaft for damping movement of said shaft relative to said cartridge, and manually operated adjustment means carried by said cartridge for selectively and independently changing the dampin.- coefficient of said cartridge carrying damping means. 5. The cartridge as claimed in claim 4 wherein- said plurality of selectable springs comprises a number olf coil springs, concentrically positioned on said actuator shaft within said cartridge, coil spring retainers at each end of said springs, spline connections between said coil spring retainers and said shaft, and wherein; said manual adjustment means carried by said cartridge includes means for rotating said spline spring retainers relative to said shaft to ensure, on subsequent axial movement of said shaft, axial movement of selected spring retainers to compress associated coil springs and to thereby variably resist movement of said shaft relative to said cartridge body. 6. The cartridge as claimed in claim 5 further including; means for preventing rotation of said actuator shaft relative to said cartridge but allowing axial movement with respect to said cartridge spring retainers at the end of each spring, a rotatable inner sleeve carried by said cartridge, 10 means allowing axial movement of said spring retainers relative to said cartridge but allowing axial movement with with respect thereto, a sector gear carried by the inner sleeve and extending exteriorly of said cartridge, means operatively supporting a pinion gear on said cartridge in mesh with said sector gear, and wherein, said in-flight adjustment means includes means for manually rotating said pinion gear to change the spring gradient level of said cartrid.-e. I 0 7. In a multiple axis stick controller including a manually operated handgrip and means for mounting said handgrip for rotation about orthogonal axes, the improvement comprising: separate feel-damper means for each axis, each feel-damper means including a movable actu15 ator shaft, means for transmitting motion of said handgrip about an axis to its corresponding actuator shaft, passive artificial feel means in the form of a plurality of selectively actuated springs and manually operated, inflight adjustment means for coupling said shaft and se20 lected springs so as to vary the spring gradient resistance to controller handgrip movement about its corresponding axis, and further including fluid damping means operatively coupled to said actuator shaft for damping movement of said handgrip to and from a controller reference 25 position and manually operated in-flight adjustment means carried by said controller for selectively and independently changing the damping coefficient of any one of said damping means. 8. In a multiple axis stick controller including a man30 ually operated handgrip and means for mounting said handgrip for rotation about orthogonal axes, the improvement comprising: separate feel-damper means for each axis, each feel-damper means including a movable actuator shaft, means for transmitting motion of said hand35 grip about an axis to its corresponding actuator shaft, passive artificial feel means in the form of a plurality of selectively actuated coil springs concentrically positioned on said actuator shaft, coil spring retainers positioned at each end of each spring, spline connections be40 tween said coil spring retainers and said shaft, and manually operated, in-flight adjustment means for coupling said shaft and selected springs so as to vary the spring gradient resistance to controller handgrip movement about its corresponding axis, said manual adjusting means in45 cluding means for rotating sad spring retainers relative to said shaft to ensure, upon subsequent axial movement of said shaft, axial movement of selected spring retainers to Compress associated coil springs to variably resist movement of said controller handgrip about an associated axis 50 of rotation. 9. In a multiple axis stick controller including a manually operated handgrip and means for mounting said handgrip for rotation about orthogonal axes, the improvement comprising: separate feel-damper means for each 55 axis, each feel-damper means including a movable actuator shaft, means for transmitting motion of said handgrip about an axis to its corresponding actuator shaft, passive artificial feel means in the form of a plurality of selectively actuated springs, and manually operated, inflight adjustment means for coupling said shaft and se60 lected springs so as to vary the spring gradient resistance to controller handgrip movement about its corresponding axis, said in-flight adjustment means including means for preventing rotation of said actuator shaft but allowing 65 axial movement with respect to said spring retainers at the end of said springs, a rotatable sleeve, means allowing axial movement of said spring retainers relative to said rotatable sleeve but preventing rotation with respect thereto, a sector gear carried by said sleeve, and a pinion gear 70 operatively coupled to said sector gear, and means for manually rotating said pinion gear. 10. In a multiple axis stick controller including a manually operated handgrip and means for mounting said handgrip for rotation about orthogonal axes, the im75 provement comprising: separate feel-damper means for

3,523,665 each axis, each feel-damper means incliiding a movable actuator shaft, means for transmitting motion of said handgrip about an axis to its corresponding actu,,itor shaft, passive artificial feel means in the form of a plurality of selectively actuated springs and manually operated, infligbt adjustment means for coupling said shaft and seiected springs so as to vary the spring gradient resistance to controller handgrip movement about its corresponding axis, and wberein said separate feel-damper means com12 in-flight adjustment means carried at common ends thereof. References Cited UNITED STATES PATENTS 2,639,108 511953 Feeney et al ---------- 244-83 2,944,770 7/1960 Datin et al - ---------- 244-83 3,028,126 4/1962 Holleman ------------ 244-83 3,409,252 11/1968 Miller --------------- 244-83 prises cartridges in spaced parallel alignment with said 10 ANDREW FARRELL, Primary Examiner

Описание

[1]

-United States Patetit Office 3@5239665 3,523,665 SIDE STICK William G. Laynor, Jr., Baltimore, and Dean S. Monitor, Cockeysville, Md., assignors to Martin Marietta Corporation, New York, N.Y., a corporation of M:iryland 5 Filed Feb. 19, 1968, Ser. No. 706,275 Int. Cl. B64c 13146 U.S. Cl. 244-83 10 Claims 10 ABSTRACT OF THE DISCLOSURE Three axis controller which provides electrical outputs proportional to controller displacement for an aircraft having a fly-by-wire control system. The unit further provides for simple, in-flight pilot adjustment of artificial 15 feel, breakout force and controller damping. S ince the advent of powered aircraft, aircraft control h as been achieved in the most part through the use of 2 0 a multiplex axis control stick centrally located and opera ted by the pilot. The movement of the control stick is translated to the aircraft movable control surface by e ither a purely mechanical, or a combined mechanical a nd hydraulic actuator system. Controls of this type are 2 5 b roadly known as a mechanical or power operated airc raft control system. Reference to FIG. I of the - drawings d iscloses, in block diagram form, the basic components f or one such system. The pilot 10 physically moves the st ick 12 which is coupled by mechanical means 14, such 3 0 a s pushrods or cables, directly to the movable - aircraft c ontrol surface member 16, in this case, through a hyd raulic valve and actuator element 18. -in the most simplifi ed case, element 18 would be eliminated and the end of t he linkage remote from stick 12 would effect movement 3 5 of the movable surface 16 about its pivot axis and against . . the bias of spring means 20 which tends to maintam airfoil 16 in a neutral position. In more recent times, the purely mechanical and the 40 mechanical and hydraulic systems have been supplanted by multiple axis controllers in which electrical signals, initiated by movement of the pilot operated stick, are transmitted electrically or electronically to the remote airfoil, in which case, the associated hydraulic valve and actuator 45 are controlled by the electrical signal upon receipt thereof. Since there is no direct mechanical connection between the control surface and the controller, this type of system isolates, from the pilot, the feel provided by the, resistance of the airfoil to movement from its neutral position, al- 50 though the pilot is still subjected to aerodynamic feel 25. The absence of feel through the controller may result in overcontrol, that is, movement of the controller to a greater extent that that required to maintain or change the attitude of the aircraft to the extent desired by the 55 pilot. Various attempts have been made to introduce an artificial feel into a multiple axis controller for fly-bywire aircraft. Conventionally, angular acceleration feedback, spring feedback or dynamic sensor feedback is emplloyed to create artificial feel. This is shown in dotted line form 60 at 21 in the block diagram of FIG. 1. In addition to a lack of resistance or feel, the lack of mechanical connection between the airfoil and the stick also creates the problem of maintaining the controller 65 or stick in a neutral position with respect to the multiple Patented Aug. 11, 1970 2 axis movement. Essentially, in a pure mechanical system, the biasing means, sach as spring 20, would cause the airfoil 16 and thus the stick, to move into neutral position, assuming, of course, that the valve an-d actuator mechanis m 18 were removed. Again, attempts have been made to employ force generating mechanisms carried by the controller which ensures, subsequent to movement of the stick or controller from a neutral position, the resetting of the same subsequent to physical release by the pilot. Since the pilot constitutes a human being whose physical characteristics vary, depending upon the aircraft, it is desirable to provide some means for adjusting controller forces and damping to the individual pilot or aircraft. A controlier having fixed characteristics may not only be unsatisfactory when applied to a different aircraft, but also when applied to a different pilot. Finally, since the force generating mechanism tends to maintain the controller in the neutral or null position for all axes, it is desirable to provide some type of initial resistance tocontroller movement from the null position. The force required io overcome this resistance is knqwn as the "breakout force." Again, due to the differen't characteristics of the various aircraft and the variation in physical makeup of the pilots operating the aircraft, it is desirable to vary the breakout force required to overcome the resistance of the controller to movement from its null position. In the past, the artificial resistance or feel, the breakout force and the controller damping characteristics have been adjusted and set during manufacture of the aircraft, or at various times when the aircraft is not in operation, by the ground maintenancepersonnel. It is, therefore, a principal object of this invention to provide a multiple axis control for a fly-by-wire aircraft M which the pilot, while in ffight, may readily and simply adjust the artificial feel, the breakout and the damping of the controller. It is a further object of this invention to provide an i.anproved controller of this type which may readily provide individual three axis electrical outputs, proportional to controller displacement, without in any way interfering with the in-flight adjustment capabilities of the controller. It is a further object of this invention to provide an improved controller o-f this type in which change from two axes to three axes control may be achieved in flight, at the option of the pilot. It is a further object of this invention to provide an improved controller of this type in which artificial feel is achieved by completely passive means. It is a further object of this invention to provide an improved, inflight adjustable controller of this type in which the pilot may readily select any one of three discrete force gradients and corresponding breakout forces for each of the three operating axes and may readily achieve infinite variation in controller damping of movement about each axis. Other objects of this invention will be pointed out in the following detailed description and claims and illustrated in the accompanying drawings, which disclose, by way of example, the principle of the invention and the best mode which as been contemplated of applying that principle. In the drawings: FIG. 1 is a block diagram of a conventional, mecbanical and power operated aircraft control system;

[2]

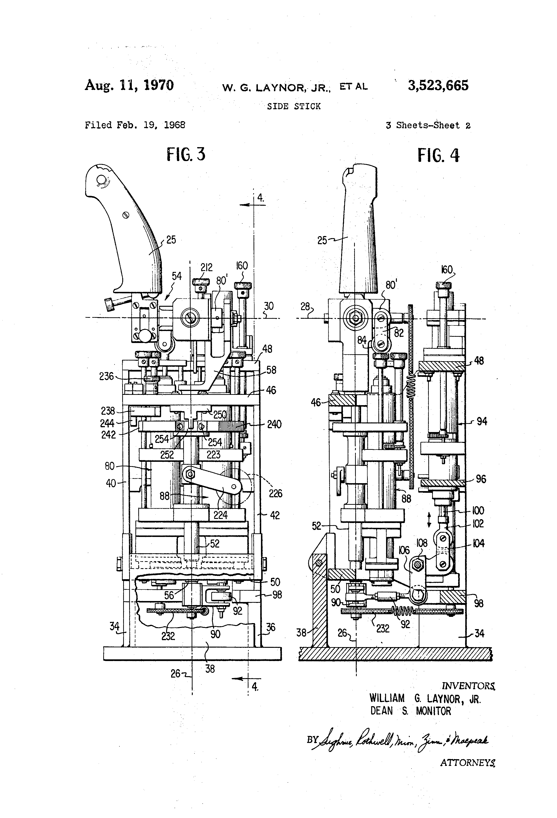
3)523)665 3 FIG. 2 is a block diagram of a proposed "fly-by-wire" aircraft control system employing the improved side stick controller of the present invention; FIG. 3 is a side elevational view of the side stick controller of the present invention in preferred form; FIG. 4 is a rear elevational view of the controller as shown in FIG. 3; FIG. 5 is a top plan view of the controller shown in FIGS. 3 and 4; FIG. 6 is an elevational view of the controller from the side opposite that of FIG. 3; FIG. 7 is a sectional view of the yav@, axis feel-daniper cartridge forming a portion of the, controller shown in FIGS. I through 6; FIG. 8 is a sectional view of a portion of the feeldamper cartridge shown in FlG,. 7 taken about lines 8-8, with the sector gear in a first position, and FIG. 9 is the same sectional view as FIG. 8 with the sector gear rotated to a second position. SUMMARY OF THE INVENTION In general, the present invention is directed to a multiple axis stick controller for a flyby-wire aircraft including a pilot operated motion transn-titting member mounted for independent rotation about at least two intersecting axes. Passive trtificial feel means are carried by the controller for providing resistance to manual movement of the transmitting member from a reference position about multiple axes. In-flight adjustment means are also carried by the controller to vary the resistance level of the same. In a three axis controller, mechanical lock-out means selectively prevent movement of the motion transrnitting member about one of the axes. Damper means are provided for damping movement of the motion transmitting member to and from the reference position and in-flight adjustment means are further carried by the controller allowing the pilot to vary the damping rate. Preferably, separate axes feel-damper cartridges are carried by the controller with hand grip motion transmitted to the respective cartridge shafts. A plurality of selectively actuated springs of different spring constant are cotipled to the shaft in additive fashion to increase the spring gradient resistance to controller hand -rip movement. The separate feel-damper cartrid.@es are carried by the controller in spaced, parallel alignment with the manual in-flight adjustment means carried at cornmon ends of the cartridges. The present invention, in preferred form is identified as side stick or controller 22 in the block diagram of FIG. 2. Referring to FIG. 2, it is noted that the pilot 10' may selectively control the position of airfoil 16' or other control surface through either the conventional control stick 12' (shown in dotted line fashion) or altematively, through side stick 22. In this case, electrical signals from either control stick 12' or side stick 22 are directed to the hydraulic valve and actuator means 18' by the flight control system identified as block 24. Insofar as the present invention is concerned, it is important only to note that the side stick 22 may be selectively coupled (as shown) into a conventional system, but it would actuauy be substituted for the standard control stick 12' to move airfoil 16' against the air loads 20'. The side stick controller 22 is a highly compact, essentially mechanical passive type of apparatus for providing electrical output signals which are proportional tO the angular displacement of the pilot operated controller handgrip 25 about the three conventional aircraft control axis, that is, pitch, roll and yaw. Insofar as controller 22 is concerned, the yaw axis is indicated at 26 (FIG. 6), the pitch axis 28 and the roll axis 30 (FIG. 5). The controller includes, when oriented as shown, a horizontal base plate or support member 32 which carries front and rear vertical support members 34 and 36, respectively, and a side support @member 38 which extend@ thereacr( ,ss. Assuming the pilot is sittiiig behind 4 the rear of the unit, facing support member 36, FIG. 3 is, therefore, a left side view, while FIG. 6 is a ri@-ht side view of the unit as positioned within the aircraft. A front plate extension 40 and a rear plate extension 42 extend upwardly and act to support a left-hand top plate 46 and a right-hand top plate 48 with the lefthand plate 46 being disposed slightly below right-hand plate 48. The left-hand top plate 46 acts in conjunction with a transverse support plate, 50 to support and carry 10 the yaw axis shaft 52 to which is coupled, at its tipper end, controner handgrip assembly 54, including hand,,,rip 25. In this respect, shaft 52 is suitably moiinted on plates 46 and 50 by low friction bearings, such as bearings 56. A bracket 58 provides coupling between the yaw axis 15 shaft 52 and the pitch and the roll axis shaft members. The handgrip assembly 54 includes a universal joint which may be best seen in FIG. 5, for arowing multiple axis displacement of the handgrip 25 about the pitch axis 28, defined by pitch axis shaft segments 60 and 20 62, and right angle roll axis 30, defined by roll axis shaft segments 64 and 66. Movement of the handgrip 25 about either axis does not, of course, interfere with rotation of the handgrip assembly 54 about the vaw axis 26. 25 With regard to the universal joint, bracket member 58 carries shaft segment 66 on rigidly coupled U-shaped member 68. The U-shaped member 68 receives pivotably pitch axis segments 60 and 62 which rotatably support a second Ushaped member 70 having arms 30 which are internally received within the arms of the U-shaped member 68. Ushaped member 70 is rigidly coupled to the roll axis shaft segment 64 and hand@- rip 24 is rigidly coiipled thereto by mechanism 72. Coupling mechanism 72 allows mechanical disassembly of the 35 handgrip 25 from the controller. Rotation of U-shaped universal member 70 about pitch axis 28, that is, pitch shaft segments -60 and 62, causes arm 74 to oscillate about the pitch axis 28. Arm 74 is coupled to the upper end 76 of pitch axis feeldamper cartridge actuator shaft 40 by link member 78 (FIG. 6). The pitch axis force generating mechanism, hereafter referred to as feel-damper cartridge 80, is vertically oriented and rigidly coupled to transverse plates 46 and 50 by suitable mounting means. 45 It is important to note that in the controller 22, rotational movements of the handgrip 25 about the pitch, roll and yaw axes are individually translated into vertical displacement of respective feel-damper cartridge shafts. Movement of the handgrip 25 about the roll axis 30, 5 0 as defined by the roll axis shaft elements 64 aid 66, causes U-shaped member 68 of the universal joint to oscillate arin 80' (FIG. 4), which movement is carried to an upper end 84 of roll axis feel-damper car-trid.-e actuator shaft (FIG. 4) through link 82. In this resp--ct, 55 the roll axis feel-damper cartridge 88 is positioned adjacent to and parallel with the pitch axis feel-damper cartridge 80. Again, the roll axis feel-damper cartridge 88 is rigidly carried by the controller 22 by being coupled to transverse support plates 46 and 50. ro Turning next to the translation of rotation of the handgrip assembly 54 about the yaw axis 26, it is noted that such rotation is translated by the bracket member 58 directly to shaft 52. At the bottom of the assembly, shaft 52 carries a radially extending arm 90, to @which 65 is pivotally coupled a link member 92. As shown in FIG. 4, on the right side of the assembly, the yaw axis feeldamper cartridge 94 is rigidly coupled to the controller in vertical, parallel relationship to cattridges 80 and 88. The cartridge 94 is supported by transverse top plate 48, 7o and intermediate plate 96. Of course, the means for rigidly supporting the cartridges, etc., mty be readily varied to suit the specific needs of the unit, and one of these support plates may be readily eliminated. Cartridge 94 is oriented opposite to cartridges 80 and 88, e 75 that is, shaft 100 of the yaw axis fqel-damper cartrid-

[3]

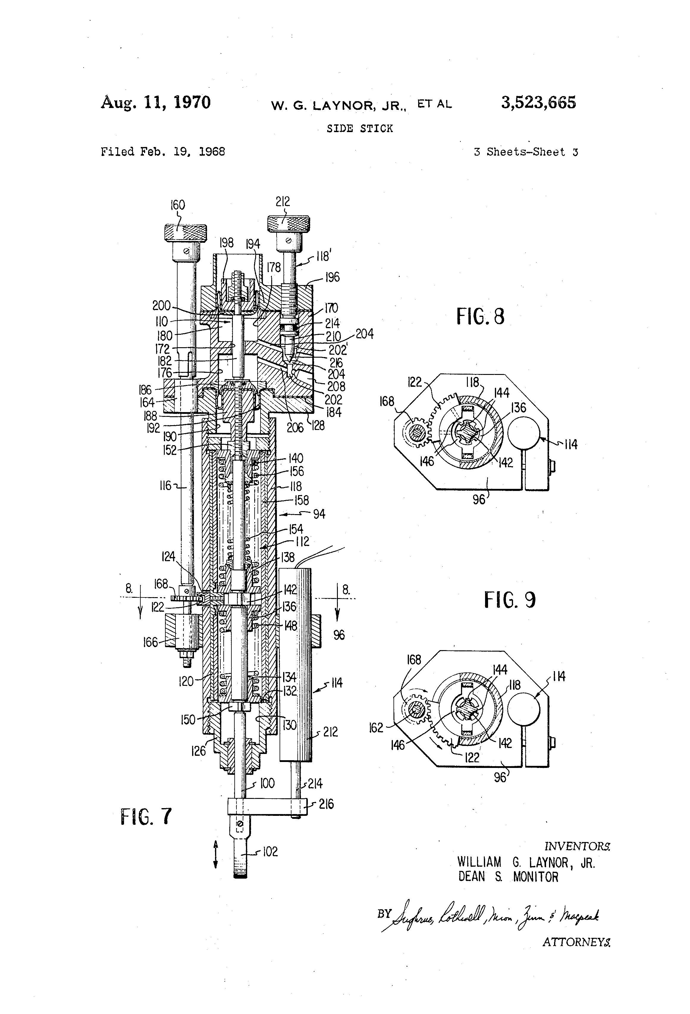
3)5231665 extends downwardly from the bottom of the cartridge assembly with its bottom end IOZ being coupled by means of link 104 to a pivotally mounted L-shaped, motion transfer lever @106. Lever 106 is pivotally coupled to the assembly by shaft 108. The other end of the Lshaped lever 106 is pivotally coupled to link 92 such that rotation of shaft 52 about yaw axis 38 is translated into vertical oscillation of shaft 100 as is indicated by the arrow (FIG. 4). From the above description, it is seen that stick controller displacenient in each axis is trar@smitted through mechanical linkage to respective feel-damper cartrid.-es. The universal coupling, which is used to separate pitch and roll motion, is essential to the design to allow the parallel placement of the three feel-damper cartridges, thus Iii-niting the reqiiired packaging envelope. The feeldamper cartridges are essentially identical for each axis and are designed to provide positive centering of the stick handgrip 25 to a position corresponding to zero electrical output, to provide artificial feel, that is, a force directly proportional to stick displacement and to provide viscous dampening. For the purpose of simplification, only the yaw axis feel-damper cartridge -q4 is shown in detail, although the roll ind pitch axis cartrid.-es are identical, with the exception that the mechanical adjusting means for in-fli.-ht adjustment of feel, daniping and breakout force are carried at the same end of the cartridge as the cartrid,-e shaft couplin,-. Referring to FIG. 7, the yaw axis feel-damper cartridge 94 is shown as removed from the controller assembly and constitutes, as a unitary package, a fluid daniper section 110 at the top, a botlom portion 112 providing artificial feel to the pilot, an associated electrical signal producing element in the form of potentiom-,ter 114, pilot operated feel adjustment shaft 116 oper,,ited by knob IL60 and pilot operated damper adjustmeilt shaft 118 operated by knob 212. The cartridge 94 occupies the position shown when fixed to the controller 22. in this regard, the end 102 of cartridge input shaft 100 is caused to oscillate vertically as shown by the arrow (FIG. 7), causin.- the elements carried by the shaft to be displaced from the null position shown. The cartridge includes an outer cylindrical casing 118. The casing 118 carries a rotatable sleeve 120, the sleeve including a sector gear 122 which protrtides from slot opening 124 within casing 113. The ends of casing 118 are threaded. A threaded bushing 126 is carried at the bottom end of casing 118 and an annular flanged end wall 128 is carried at the opposite end. Th.- bushing member 126 is couWLerbored at @130 to forni an edge 132, which acts as a limit stop for spring retainer member 134. In this respect, spring retaining niembers 134, 136, 138 and 140 are carried by the rotatable inner sleeve 120 with the spring retainers being splined relative to the actuating shaft 100. For instance, with respect to spring retainer 136, the shaft 100 is provided with a section 142 which is starshaped in cross-section (FIG. 8). Section 122, which is rigidly coupled to the inner cylinder 120, in rotating, c,,itises the leeth or projections 146 of the sprin.- retainer 136 to selectively underlie the teeth or projections 144 of the shaft starshaped section 142. As indicated in FIG. 9 with the projections 144 ar@d 146 in axial abutting relationship, mov-,ment of shaft 100 in a downward axial direction will caiise compression of coil spring 148 which is captured between the spring retainer members 134 and 136. Shaft 100 is provided with a second spline section 150 at the lower end of shaft 100 cooperating with spring retainer 134 and an upper spline sectio-@i 152 which cooperates with upper spring retainer 140. Spline section 142 is operatively coupled to either spr-ing retainer 136 (simultaneously couplin- spline section 150 to retainer 134) or 138 (simultaneously coupling spline section 152 to retainer 140), or neither depending upon the position 6 of inner sleeve 120. In addition to compression spring 148, there is provided a coil spring 154 of lesser spring constant concentrically positioned within yet a third coil spring 156. It is to be noted that coil spring 154 is in constant abutment with opposed ends of spring retainer 140 and spring retainer 138 such that regardless of the angular position of the rotatable inner sleeve 120, any axial movement of actuating shaft 100 from the null position will cause axial compression of coil spring 154, 10 providin.- a first degree of feel or resistance to controller movement about the yaw axis. The selective in-flight adjustment of controller feel is achieved by manual rotation of sector gear 122 by the pilot. In this respect, the yaw axis cartridge feel adjustment knob 160 is carried at 15 the upper end of feel adjustment shaft 116, the adjustment shaft being rotatably positioned on the assembly by spaced bearings 164 and 166. The shaft 116 carries a pinion gear 168 which is in mesh with sector gear 122. Thus, rotation of the control knob 160 causes rotation of 20 pinion gear 168 and limited rotation of sector gear 122 to displace the inner cylinder 120 angularly with respect to actuator shaft 100. The device is so constructed, that a 30 degree movement of the retainers, since they all rotate w:.th the inner sleeve, results in engagement of a tooth 25 or projection on th-- actuating shaft with a projection or tooth on the sprin@, retainer to catise, under axial shift of actuator shaft 100, compression of a second spring in addition to the constantly available con-ipression sprin.- 154. In the present design, a 30 de.-ree rotation of pinion 30 168 and sector aear 122 will cause axial alignment and engagement between a tooth or projection carried by both spring retainer 138 and spring retainer 140 with rc-snctive shaft spline sections 142 and 152. During subsequent axial shaft movement in either direction, the 35 compression spring 156 will be compressed in addition to spring 154, in which case, the artificial feel or resistance to movement of the controller will be at an increased spring gradient level. When the sector gear 122 has been moved, as indicated in FIG. 9, 60' from its initial posi40 tion, teeth or projectioiis 144 and 146 of the shaft and sprin.@ retainer 136 will be in axially abtitting position. Likewise, the same is triie for spline section 150 of the actuator shaft 100 and its associated spring retainer 134. Thus, shaft 100, moviiig in either direction from its null 45 position, in this case will compress, in addition to springs 154 and 156, coil spring 148 and thus, increase the sprin-. gradient level to its maximuni. Adjustment is achieved by rotating the adjustment shaft 116 in a clockwise direction when viewed from above, as indicated by the arrow in 50 FIG. 9. The centerin- of the shaft with respect to the compression spring an'd adjustin.- the breakout force is achieved by preloading the sprin@@s during bench assembly This is achieved by means of the threaded couplings 126 and 128 occurring at both ends of the otiter cylindrical 55 casing 118. Th-@ second major component of each feel-damping cartridge is the fluid damper section. In the case of the yaw axis cartridge 94, the fluid damper sectioil 110 comprises a formed casing or housing 170 which is bored at 172 60 to receive shaft extension 174 and counterbored at 176 and 178 to form opposed hydraiilic damping chambers 180 and 182. A roll seal is provided at the lower end of the shaft extension 174, th-, seal being formed by a flexible diaphragm 184 which is sandwiched on shaft 100 by 65 threaded members 186 and 188, respectively. Memb,-r 188 is of lesser diameter than bore 190 formed within the end wall of coupling 128, such that a portion 192 of the diaphragm 184 is convoluted between members is& and 128 with the diaphragm in contact Nvith respective, 7o walls and rolling on itself as the actuating shaft 100 moves up and down. Shaft extension 174, therefore, moves axially with respect to bore 172, and an apropriate seal carried by the bore 172 for preventing fltiid communication between damping chambers 180 and 182 in this area. 75 An upper diaphragm 194 provides, in conjunction with

[4]

7 members 170, 196, 198 and 200, a similar type rollin- seal for the upper dampin- chamber 187. Casin.- 170 is further provided wiih a spaced vertical bore 202 which extcnds partially throtigh the casing from the tipper end thcreof. Transvers@, passa-es 204 and 206 extend otitwardly from d-,imper chambers 182 and 180, respectively. Threaded plugs (Yiot shown) close off the outer ends 208 of passa-es 204 ard 206 remote from the area of intersection with vertical bore 202. The bore 202 is counterbored at 202' interniediate of the two passages 204 and 206 in such a manner as to form a tap-,red valve seat 209. A needle 210 -'@s carried by casin,@ 170 @vithin counterbore 202' and is threadedly received by meniber 196. A conlrol knob 118' is carried at the end of the needle and an appropriate 0-rin@ seal 21-4 prevents fluid escape from the counterbore 202'. Again, i-,ifiight pilot adjustme.nt of damper section 110 is achieved by varyi-@3the size of the orifice created by needle valve tip 216 an5 tapered valve seat 209. In conventional fluid damper fashion, a hydraulic fluid is cirried by chambers 180 and .182 with the fluid able to travel throttgh the transverse passa-es 204 and 206 and through the adjustable orifice in response to actliator shaft movement. Assuming, for instance, that the chambers and passageways are filled with hydraulic fluid, movement of the actuator shaft upwardly causes a reduction in volume of chamber 182 and an increase in volume of chamb-,r 180. Fluid is, therefore, forced from chamber 182 into transverse passage 206, throu.-h the orifice, around the needle tip 216 into transverse passage 204 and into now expanding chamber 180. There is not offly fluid restraint to movement of the actuator shaft when displaced in a positive manner by the pilot, blit upon release of the handgrip 25, the movement of the actuator shaft 100 back to a null position i-inder the spring bias in a revers, direction, is fluid damped in the same manner. The pilot may take independent in-flight adjustment of knobs 160 and 212 to increase or reduce the artificial feel, or resistance movement of the handgrip and/or increase or decrease of the danipin.- rate of the stick controller. Dampin.- is, therefore, readily achieved by moving f]Liid throu.-h an orifice v@ith the actuating shaft motion. The area of the annular orifice is varied by threading the needle 21.0 in or out of the housing 170, thiis allowing an adjustment of dampinl- coefficient. A proportional electrical output is provided by a linear potentiometer 114 whicb, for instance, has a casing section 212 fixed to cartridge 94 and a movable contact carried by shaft 214 which is rigidly coupled to the actuating shaft 100 by a transverse connectiiig member 216. A variable differential transformer may besubstituted for the potentiometer which is normally moimted in parallel with the feel-damper cartridge as shown. The stick controller of the present invention is applicable to high performance aircraft and spacecraft. In order to prevent acceleration loads from exceeding the minimum breakout force for any -iven axis, the stick control is provided with means for transmitting handgrip displacement mechanically to balancing arms for each axis. For instance, refe@rrin- to FIGS. 3 and 4, it is noted that the pitch axis shaft element 62 carries a sprocket wheel 218 which is vertically aligned with a driven sprocket wheel 220 furlher down on the assembly. A spring coupled chain 222 causes rotation of the driven sprocket wheel 220. The sprocket wheel 220 is mounted for rotation on a shaft 223 which carries, at its opposite end ! a pitch axis balance form 224. A balance weight indica-ted in dotted line fashion at 226 is attached to the arm radially of the shaft axis such that any acceleration tending to rotate the controller about the pitch axis in one direction will be resisted by a tendency to rotate the balance arm and wei.-ht about the axis of shaft 223 in the opposite direction. With respect to the roll axis 30, and the yaw axis 26, similar means are applied for placing a balancing arm 3)523)665 and weight of appropriate mass in such a position and operatively coupled to the handgrip, such that accelerations acting simliltaneously on the hand.-rip 25 and its movable element and the balancin.- arms, cancel themselves out. For the yaw axis (FIG. 6), it is noted that shaft 52, and auxiliary balancing arni shaft 230 are operatively coupled for simultaiaeous rotation by a springbiased chain 232 carried by suitable sprocket wheels at the bottoni ends of these shafts. Thus, one or more bal10 ancing arms 234 (FIG. 4) carrying weights (not shonvn), wi 'II act in opposition to handgrip assembly 54 in response to accelerations about the yaw axis. As stated previously, the pitch axis feel-damper cartrid.@e 80 and the roll axis feel-damper cartrid.-e 88 15 function identically to the yaw axis feel-darnper cartridge. All in-flight adjtistments are made by the pilot since the control kiiobs for all three cartridges extend upwardly froni the top of the controller 22. Reference to FIGURE 5 shows, in addition to control knob 236, which selec20 tively locks out movement of the controller handgrip about the yaw axis 26, a pair of pitch axis feel-damper cartridge control knobs 238 and 240. Rotation of control knob 233 adjusts the -feel of the controller about the pitch axis by varyin- the applied spring gradient of 25 cartridge 80. Rotation of control knob 240 changes the damping coefficient of the same cartrid,-e. In like manner, on the opposite side of the pitch axis 28, there is provided a pair of control knobs 242 and 244. These knobs are associated with the roll axis feel-damper cartridge 88, 30 in which case, rotation of control knob 242 varies the coefficient of damping of the cartridge damper section while rotation of control knob 244 changes controller feel for movenent about the roll axis 30. A further feattire of the stick controller is the means 35 for selectively locking out the yaw axis controller movement. In this regard, the transverse top plate 46 carries the rotatable manual adjLisLment knob 236 which is supported at one eild of a shaft passin- through plate 46, the bottom end of the shaft being coupled to an L-shaped 40 latch member 238. The yaw shaft 52 carries, just beneath transverse plate 46, a disc member 240 which includes a peripheral groove 242. By rotating the hand-operated knob 236, the protrudin@ tip 244 of the latch 238 moves into the groove 242 to prevent further rotation of yaw 45 axis shaft 52 and the handgrip assembly 54 carried thereby. The failtire of yaw axis shaft 52 to rotate and bracket 58, does not, of course, interfere in any way with movement of the handgrip 25 about either the pitch or roll axes. 50 Rotation of the hanclgrip assembly 54 about all three axes is limited by mechanical stops which control the extent of rotation about any axis from the null position to a predetermined limit position in either direction. For instance, reference to FIG. 3 shows a stop mechanism in 55 the form of a fixed T-shaped element 250 fixed to the underside of transverse top plate 46, the tip of which is received within a second peripheral recess or groove 252 carried by the disc 240 which rotates about the yaw axis 26 on shaft 52. Adjustable screws 254 on either sid,- 60 wall of the recess 252 define the extent of the angular movement of the yaw axis shaft 52. The limits of angular movement of the handgrip assembly about all three axes are well within the operating range of the actuating shafts for the respective feel-damper cartridges. Thus, the physi65 cal stops associated with the various pitch, roll and yaw axes shafts of the controller will limit the resultant axial movement of the actuator shaft to ensure that none of the feel section coil springs will bottom out during controller use. In a similar manner, the universal joint 1-0 associated with handgrip assembly 54 includes positive stops for preventing undue rotation of the controller handgrip in either direction about the pitch and rofl axes. The side stick controller 22 may be iised on hi.-h performance, piloted aircraft or aerospace vehicles. Poten75 tiomete@rs or their equivalent, provide electrical outputs

[5]

3)5231665 9 proportional to stick displacement in each of the three axes of motion. The electrical output signals may be applied to the aircraft or space vehicle power operated control system to thus provide pilot control about each of the three primary axes of motion; pitch, roll and yaw. The three axis controller of the presentinvention, which is of limited size, may be readily installed by the pilot's side console in existing aircraft and employed in conjunction with a completely power operated control system to allow niuch more latitude in cockpit design than with the conventional centrally located aircraft control stick. The controller allows the pilot to make in-flight selection of any one of three discrete force gradients and corresponding breakout forces while enabling the pilot to independently vary controller damping for all three axes. The third axis may be readily locked out and all characteristics may be changed without either disassembly or removal of the unit from the vehicle. While the invention has been particularly shown and described with reference to a preferred embodiment, it will be understood by those skilled in the art that the foregoing and other changes in form and details may be made therein without departing from the spirit and scope of the invention. What is

Как компенсировать расходы
на инновационную разработку
Похожие патенты