заявка
№ US 0003520155
МПК A44B19/34

RASCHEL KNIT FABRIC AND METHOD OF MAKING THE SAME

Номер заявки
4719167
Дата подачи заявки
05.04.1968
Опубликовано
14.07.1970
Страна
US
Как управлять
интеллектуальной собственностью
Чертежи 
7
Формула изобретения

claimed is: 1. In a warp knit fabric having a plurality of juxtaposed wales of warp stitches, standing threads interposed between adjacent wales, and a plurality of laid-in threads having coursewise strands which connect the juxtaposed wales, a plurality of said coursewise strands passing over, and under each of said standing threads, the coursewise strands associated with the same standing thread bein.offset walewise from each oth--r, the improvemeiit which comprises: (a) the coursewise strands associated with each standing thread constituting pairs of strands, the strailds of each pair being juxtaposed walewise and offset walewise in the same direction from both strands of the adjaecnt pairs of strands; (b) one strand of each pair passing over said associated thread if the other strand of the pair passes over said thread, and said one strand passingy under said thread if said other strand passes under said thread; (e) respective coursewise strands of each laid-in thread passing under and over the same standing thread. 2. In a fabric as set forth in claim 1, the strands of each pair passing under said standing thread if the strands of at least one adjacent pair of strands pass over said thread, and vice versa. 3,520,155 6 3. In a fabric as set forth in claim 1, said standing threads includin.- two standin.- threads interposed coursewise between the wales of each pair of adjacently juxtaposed wales. 4. In a fabric as set forth in claim 1, each of said laidin threads connecting three juxtaposed wales of warp stitches and two of said standid.- threads respectively interposed between the first and second and between the second and third of said wales, each cours.-wise strar@d io of said laid-in thread passing over one of said two standing threads and under the other standing thread. 5. A method of operatin.- a Raschel knitting machine having at least three guide bars, a row of knitting needles and fall plate means, a first .-uide bar being threaded witl-L 15 thread for making warp stitches, a second guide bar bein.- threaded with laying in threads, and the third guide bar being provided with standing threads, which method comprises: (a) swin-ing said guide bars back and forth twice 20 between said needles during the kn:tt,'@ng of one course of stitches by said second -uide; (b) moving said second guide bar after the first backward swinging movement of the guide bars to perform an overlap, while avoidin.- shogging movement 25 of said first and third guide bars; (e) thereafter lowering said fall plate means to depress said laying-in threads to the shafts of said needles; (d) moving said first guide bar after the second back30 ward swinging movement of the guide bars to perform an overlap: and (e) moving said third guide bar prior to said first and second backward swinging movements of said guide bars to perform an underlap in a direction to shift 35 the standing threads initially located behind the laying-in threads to a position in front of said laying-in threads. References Cited UNITED STATES PATENTS 40 2,968,085 1/1961 Matthews -------- 66-190 XR 3,073,140 1/1967 Schmitz et al - ------- 66-193 3,314,123 4/1967 Groebli --------- 66-193 XR OTHER REFERENCES 45 Rotenstien: "Manufacture of Raschel Wool and Cotton Outerwear," 1955, Nat. Ltd. Out'wr. Assoc., New York N.Y., pp. 47-54; 65 and 66. RONALD FELDBAUM, Primary Examiner

Описание

[1]

United States Patent Office 315207155 3,520,155 RASCHEL KNIT FABRIC AND METHOD OF MAKING THE SAME Peter Koppenburg, Buchenweg 2, Obertshausen, near Offenbach am Main, Germany 5 Filed Apr. 5, 1968, Ser. No. 719,167 Claims priority, application Germany, Apr. 20, 1967, M 73,680 Int. Cl. D04b 7114 U.S. Cl. 66-190 5 Clatmg 10 ABSTRACT OF THE DISCLOSURE A warp knit fabric in which wales of warp stitches 15 are connected by laid-in threads which also anchor standin.- threads betwecn adjacent -wales, and in which the coursewise strands of laid-in threads alternatingly . pass over and under each standing thread in groups of two or four strands, the strand of each group following each 20 other in a walewise direction. The fabric is knitted on a Raschel machine having a gingle needle bed, a fall plate, and three or four guide bars respectively supplying threads for the warp stitches, laid-in threads and standing threads in a knitting cycle re@quiring two forth-andback swinging movements of the guide bars, and a,laying-in motion including an overlap and an underlap. 30 BACKGROUND OF THE INVENTION The invention relates to a warp-knitted fabric, and to a method of operating a Raschel -knitting machine in making the fabric. The invention is particularly concerned with kr@tted fabrics in which wales of warp 35 stitches are connected coursewise by laid-in threads and are provided with one or more standing threads between the wales. Such fabrics combine some of the advantages of woven 40 an,d knitted fabrics in a known manner. They can be produced at the high rates inherent in the knittin-, machines employed, have a dimensional stability closer to that of woven fabrics of comparable weight than to that of ordinary knitted fabrics, and can be prepared from a high 45 percentage of yarns coarser and, therefore, less costly than the yarns needed to produce ordinary knitted fabrics of comparable weight. A method of preparing such fabrics has been disclosed in U.S. Pat. No. 3,106,079. It has the disadvantage of 50 requiring at least two systems of laying-in threads. The laid-in strands, therefo@re, must be held as shor-t as possible if the econornical advantages of the fabric are to be realized fully, two relatively fine laid-in threads being more costly than a single and correspondingly - coarser 55 thread of equal weight. The dimensional stability of the fabric, however, is directly related to the coursewise length of the laid-in strands, and the known method thus is limited to a compromise between low cost and high stability. 60 It is another disadvantage of the known fabrics of the type described that the several coursewise strands of each laid-in thread are all located in the same face of the fabric, either in front of the standing tbreads or in the back of the same. If one face of the fabric is - exposed 65 to mechanical abrasion or wear, one half of the laid-in threads is preferentially wom down and weakened, whereby the dimedsional stability of the fabric may be impaired prematurely. Attempts at combining very low cost and very high 70 stability in a knitted fabric of the described type were not successful heretofore. Patented July 14, 1970 2 SUMMARY OF THE INVENTION It has now been found that many of the desirable features of woven fabrics are available in a fabric capable of being produced at the high speeds of modern knitting machinery from, a very high percentage of coarse threads if the coursewise strands of the laid-in threads are passed at least in pairs over and under the standing threads. More specifically, the strands of laid-in threads which are associated with each standing thread in the fabric of the invention constitute pairs of strands which are juxtaposed walewise and offset walewise in the same direction from both strands of the adjacent pairs of strands. One strand of each pair passes over the associated standing thread if the other strand of the pair passes over the standinthread, or both strands pass under the standing thread@ Preferably, the strands of each p,air pass under the standing thread if the strands of at least one adjacent pair pass over the strand, and vice versa. Such a fabric is readily made on a conventional Raschel knitting machine equipped with at least three guide bars and a fall plate or its equivalent. The -Uide bars include a first bar threaded with thread for m'aking warp stitches, the second guide bar with laying-in thread, and the third guide bar with standing threads. In operating the machine, the guide bars are swung back and forth twice between the needles during the knitting of one course of stitches by the first guide bar. The second guide bar is moved after the first backward swinging movement to perform an overlap while shogging movement of the first and third guide bars is avoided. The fall plate is then lowered to depress the layin-in threads to the shafts of the needles. After the second backward swin-ing movement the first guide bar is moved to performo an overlap, but not the second and third guide bars. The third guide bar is moved prior to the first and second backward swinging movements to perform an underlap in such a direction as to shift the standing threads, wmch initially are located behind the laying-in threads to a position in front of the laying-in threads. Other features, additional objec'ts and many of the attendant advantage of this invention will readily be appreciated as the same becomes better understood by reference to the following detailed description of preferred embodiments when considered in connection with the appended drawing. BRIEF DESCRIPTION OF T,HE DRAWING In the drawing: FIGS. I to 3 show knitting elements of a Raschel knitting machine in perspective fragmentary views in three successive operating positions; FIGS. 4, 6, 8 and 10 are loop diagrams of fabrics of the invention; and FIGS. 5, 7, 9 and I I are point paper diagrams of lapping movements on the knitting machine of FIGS. I to 3, and its analogs, as used in knitting the fabrics of FIGS. 4, 6, 8 and 1G, respectively. DESCRI-PTION OF THE PREFERRED EMBODIMENTS FIGS. 1 to 3 show as much of an otherwise conventional Raschel knitting macbine as is necessary for an understandin.- of this invention, the illustrated knitting implements of the machine being shown in three consecutive operating positions in FIGS. 1 to 3, respectively. The knitting implements include needles I having latches 5 and being mounted in a common single needle bed (not shown), and three yarn guides 1, 11, III associated with each needle 1, the yarn auides being mounted on three, non-illustrated guide bars in a conventional manner for joint swinging movement back and forth through the row

[2]

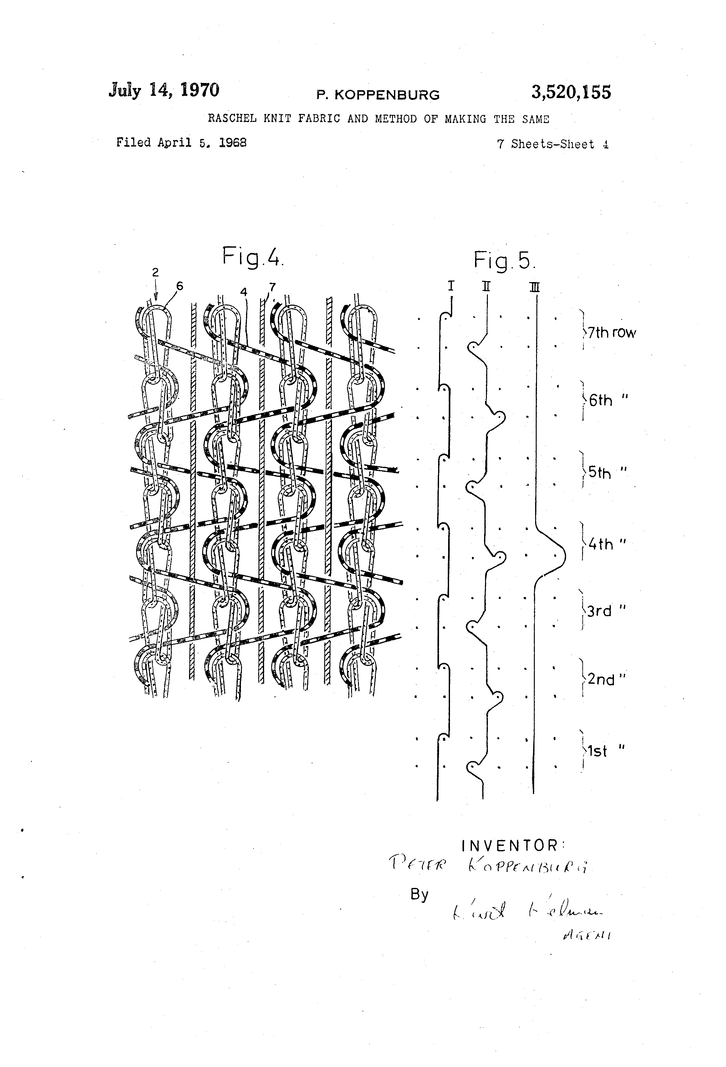
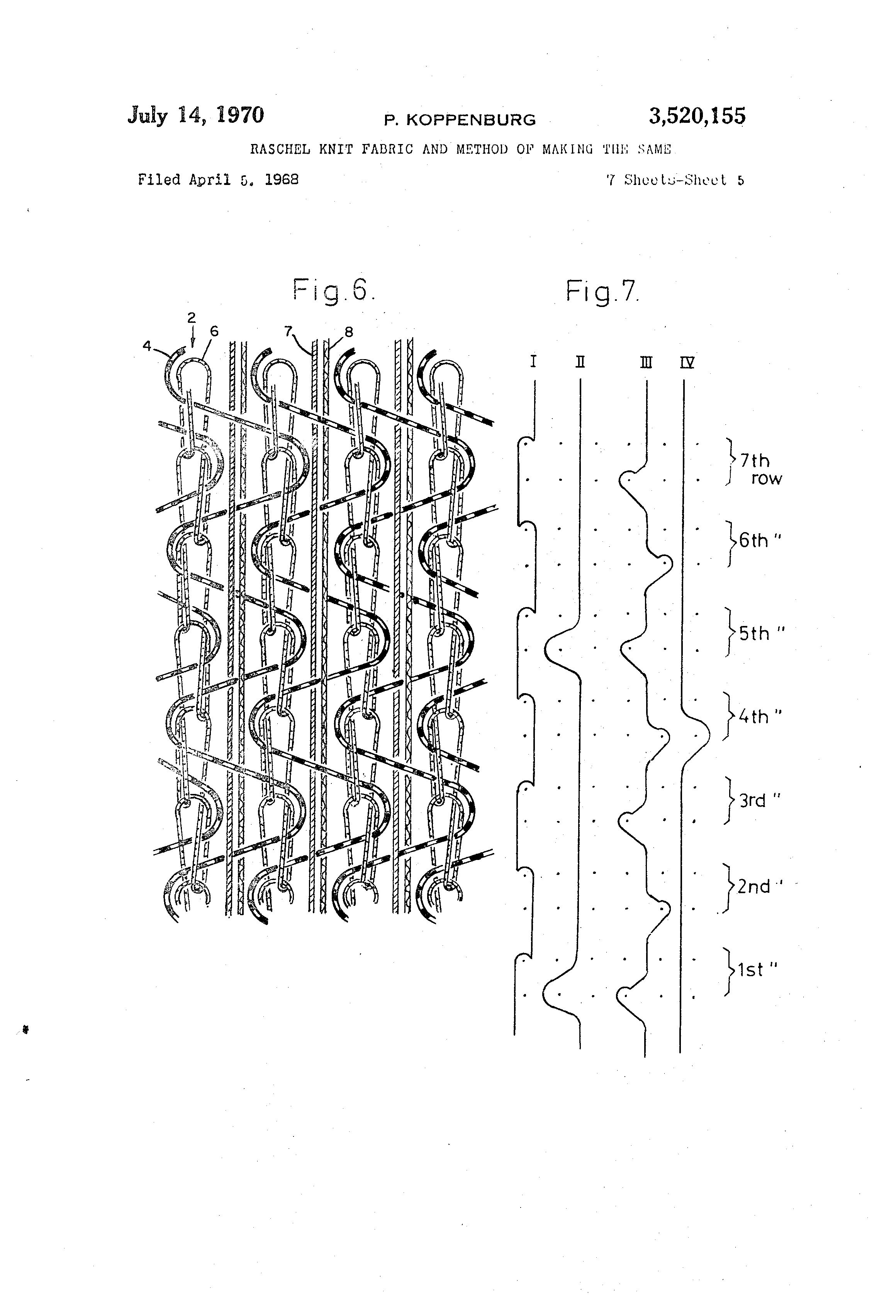
375205155 3 ,of needles 1, and for individual shogging movement of each guide bar. The machine also is provided with a faR plate 3. The three yam guides are fully threaded, and the needle bed is fully set with latch needles 1. The yarn guides I provide threads 6 for forming wales of warp stitches 2, the yarn guides 11 provide laying-in threads 4, and the yarn guides III provide stationary or standing threads 7 which do not participate in the stitch formation. The knitting implements operate as follows: The guide bars swing twice forth and back during the knitting of each course of stitches. Only the second guide bar, carrying the yarn guides 11, makes an overlap during or after the first swinging backward movement. Only the guide bar carrying the yarn guides I performs an overlap during or after the second backward swinging movement. The third guide bar carrying the yarn guides III makes an underlap before the first and second backward swinging movements in such a manner that each standing thread which is initially guided behind the laid-in thread is 10cated in front of the laid-in thread. The cooperation of the guide bars with the other knitting implements will now be described in more detail. (1) The cycle will be assumed to start with the descending movement of the needles 1 into their lowermost POsition and the knocking over of previously formed stitches 2. The second guide bar (II) performs an underlap by one needle space toward the left, as viewed in FIGS. I to 3. The third guide bar (III) performs an underlap to the left by one needle space to avoid engagement of the standing threads 7 by the laying-in threads of the guide bar II. (2) The needles rise. The guide bars swing backward through the row of needles I to place them in position for overlaps. Only the second guide bar (11) performs an overlap movement by one needle space toward the right. The guide bars I and III do not make overlaps (FIG. 1). (3) The needles remain at the top of the stroke while the guide bars swing forward. The fall plate 3 descends and depresses the laying-in threads 4 of the guide bar 11 to the shafts la of the needles I under the latches 5 (FIG. 2). (4) While the needles I remain in their top positions, the guide bar II performs an underlap by one needle space toward the right further to avoid interference of the standing threads 7 and of the laid-in threads 4. (5) The fall plate 3 is raised, and the guide bars swing backward between the needles into position for a second overlap. (6) The first guide bar I performs an overlap toward the left by one needle space. (7) The guide bars swing forward (FIG. 3). (8) The needles descend to their lowermost position and the newly formed loops are knocked over, as a new cycle begins. Modifications of the fabric produced in the manner described above are illustrated in FIGS. 4, 6, 8 and 10, the corresponding guide bar movement being indicated diagrammatically in FIGS. 5, 7, 9 and 11, respectively. The fabric illustrated in FIG. 4 is formed generally as described above but the interference-avoiding movement of the second guide bar II is performed toward the left, and the warp stitches 2 are formed by the guide bar I in the opposite direction. Each laid-in thread 4 connects the stitches 2 of a pair of adjacent wales. Two strands bf each laid-in thread 4 which are associated with the same standing thread 7 form pairs whose members both pass under or over the associated standing thread, the successive pairs of strands alternatingly passing over and under the standing thread. Brackets in the point paper diagram of FIG. 5, which illustrates the lapping movements of the guide bars 1, IL III, connect stages of the samecourse-forming cycle in which the fall plate moves down and up, respectively. 4 differing from that shown in FIGS. I to 3 by the provision of a fourth guide bar IV threaded with standing threads 8, and operated in a manner analogous to that described above, as is evident from the diagram of FIG. 7. Each laid-in thread 4 connects the stitches 2 of two adjacent wales, and passes coursewise over two standing threads 7, 8 between the wales in multiple strands of which two in walewise succession pass over a standing thread and the next two under the same thread. Every 10 fourth strand passes over both standing threads, two strands out of each consecutive four strands pass over only one of the standing threads 7, 8 and under the other standing.thread, and the fourth strand passes under both standing threads, thereby securely anchoring both stand15 ing threads and reducing the elasticity of the fabric to an even greater extent than is achieved by the fabric shown in FIG. 4, and the analogous fabric produced by the method illustrated in detail in FIGS. I to 3. The fabric illustrated in FIG. 8 is provided with two 20 standing threads 7, 8 between each pair of juxtaposed wales of stitches 2 in the manner of FIG. 6, but each laidin thread 4 connects three juxtaposed wales, whereby two laid-in threads are associated with the standing threads between adjacent wales, every strand of one laid-in thread 2,5 passing over one standing thread and under the other standing thread, and the relationship being reversed with the other laid-in thread. Each coursewise strand of layingin thread passes over one and under the other standing thread. 30 The method of making the fabric of FIG. 8 on a Raschel knitting machine having four guide bars will be obvious from FIG. 9 and the description of FIGS. I to 3. Considering the several strands of laying-in threads associated with each standing thread in walewise se35 quence, it is evident from FIG. 8 that two strands passing over the standing thread alternate with two strands passing under the standing thread. All strands passing over the same standing thread are portions of the same laying-in thread, and all strands passing under the stand40 ing thread are portions of another laying-in thread. The fabric shown in FIG. 10 is closely similar to that illustrated in FIG. 8 but the modified lapping movements of the guide bars shown in FIG. 11 produce a pattem in which pairs of laying-in strands passing over a standing 45 !hread alternate with two pairs passing under the standing thread and vice versa. If the guide bars supplying the standing threads do not perform endwise movements to avoid engagement by the laying-in threads, the standing threads are located on 50 the back of the fabric. It is a basic feature of the method of the invention that the laying-in motions are not performed in a single underlap, as is conventional, but in two movements, the first constituting an overlap and the second an underlap so that the guide bars located behind the laying-in bar may position their standing threads in such a manner that they appear on the front face of the fabric if the associated guide bars avoid their engagement with the laying-in threads by an endwise movement, or on the back of the fabric, if such an endwise move60 ment does not take place. It is possible to achieve particularly high transverse stability of the fabric by dividing the laying-in motion into two stages, the laying-in motion being first prepared and then completed, when the guide bars reach the first 65 overlap position in each knitting cycle. The standing thread or threads arranged between adjacent wales of warp stitches increase the stability of the fabric beyond that available from wales of stitches which are held together by laid-in threads alone. The tensile 70 strength of the fabric in a walewise direction is greatly increased by the standing threads. The transverse stability can be increased by lengthening the laying-in motions, as needed. Only a single set of wales is required, whereby the The fabric illustrated in FIG. 6 was made on a machine 75 weight of relatively costly fine yarns, which are needed

[3]

5 for wale formation, is held to a minimum. A single set of laying-in threads is sufficient for holding the standing threads in position because the standing threads are readily located in front or behind the individual coursewise strands of layin,--in thread. Dependin.-I on the intended use, the standing threads may be located mainly on one or the other face of th-@ fabric to protect the other thi-eads a.-ainst wear without reducing the stability of the fabric which is mainly provided by the wales of warp stitches and the laying-in threads. The latter are protected aganst wear by the standing threads, and are fully exposed only after a major portion of the standing threads has been worn out. The standina threads are only of secondary importance in maintaining the transverse e!asticity and stretchability of the fabric, and in retaining the t'ireads in the desired snatial relationship. It should be understood, of course, that the foregoing disclosure relates only to preferred embodiments of the invention, and that it is intended to cover all changes and modifications of the examples of the invention herein chosen for the purpose of the disclosure, which do not constitute departures from the spirit and scope of the invention. What is

Как компенсировать расходы
на инновационную разработку
Похожие патенты