заявка
№ US 0003479125
МПК F23Q2/16

CIGARETTE LIGHTER

Номер заявки
4597256
Дата подачи заявки
01.11.1966
Опубликовано
18.11.1969
Страна
US
Как управлять
интеллектуальной собственностью
Чертежи 
3
Реферат

Формула изобретения

claimed: 1. A cigarette lighter of the type described herein using a stored liquified gas as fuel, said lighter having a longitu65 dinal axis which is vertically dispos,,d when the lighter is being used, said lighter comprising a fiiel storage chamber ' a supporting body member for mounting a fuel valve, btirner, valve activator, fuel transf&r means and a sparkwheel, and flint, said body having a first opening therein 70 for the valve, said first opening being horizontally disposed with respect to the longitudinal axis of the lighter ano passing completely through said body, a second opening for the bumer, said second opening being vertically disposed with respect to the longitudinal axis of the lighter 75 and said first and second openings in rornmunication with

3,479,125 5 each other, a third opening for receiving a shaft for mounting the sparkwheel, said third op,@ning being vertically disposed with respect to the longitudinal axis of the lighter and said sparkwheel being horizontally disposed with respect to said axis, and a tubular chamber for hold- 5 ing a flint in contact with one surface of the sparkwheel, said valve comprising a valve seat, a seal, a resilent closure for the seal, an opening communicating with the fuel transfer means and the valve seat, said opening being normally closed by the seal under the action of the closure, the burner and valve activator being integral formed and 10 including a through fiiel flow opening therein, cam means integral with the burner for moving the seal out of contact with the valve seat whereby fuel from the transfer means may flow through the fuel flow opening, a lever for rotat- I ing the burner and the integral cam means, said valve activator lever being operable independent of the sparkwheel. 2. A cigarette lighter as'described in claim 1 wherein the fuel transfer means includes an absorbent wick, one 20 6 end portion of which is placed in the fuel in the storage chamber and the second end portion is positioned adjacent the opening communicating with the fuel transfer means and the valve seat. References Cited UNITED STATES PATENTS 2,499,547 3/1950 Waggoner. 2,750,774 6/1956 Perlin. 3,150,507 9/1964 Smith. 3,208,243 9/1965 Zellweger. 3,222,894 12/1965 Gellman. 3,263,455 8/1966 Smith. 3,328,980 7/1967 Reim. 311514,935 11/1964 Ayres -------------- 431-277 EDWARD J. MICHAEL, Primary Examiner

Описание

[1]

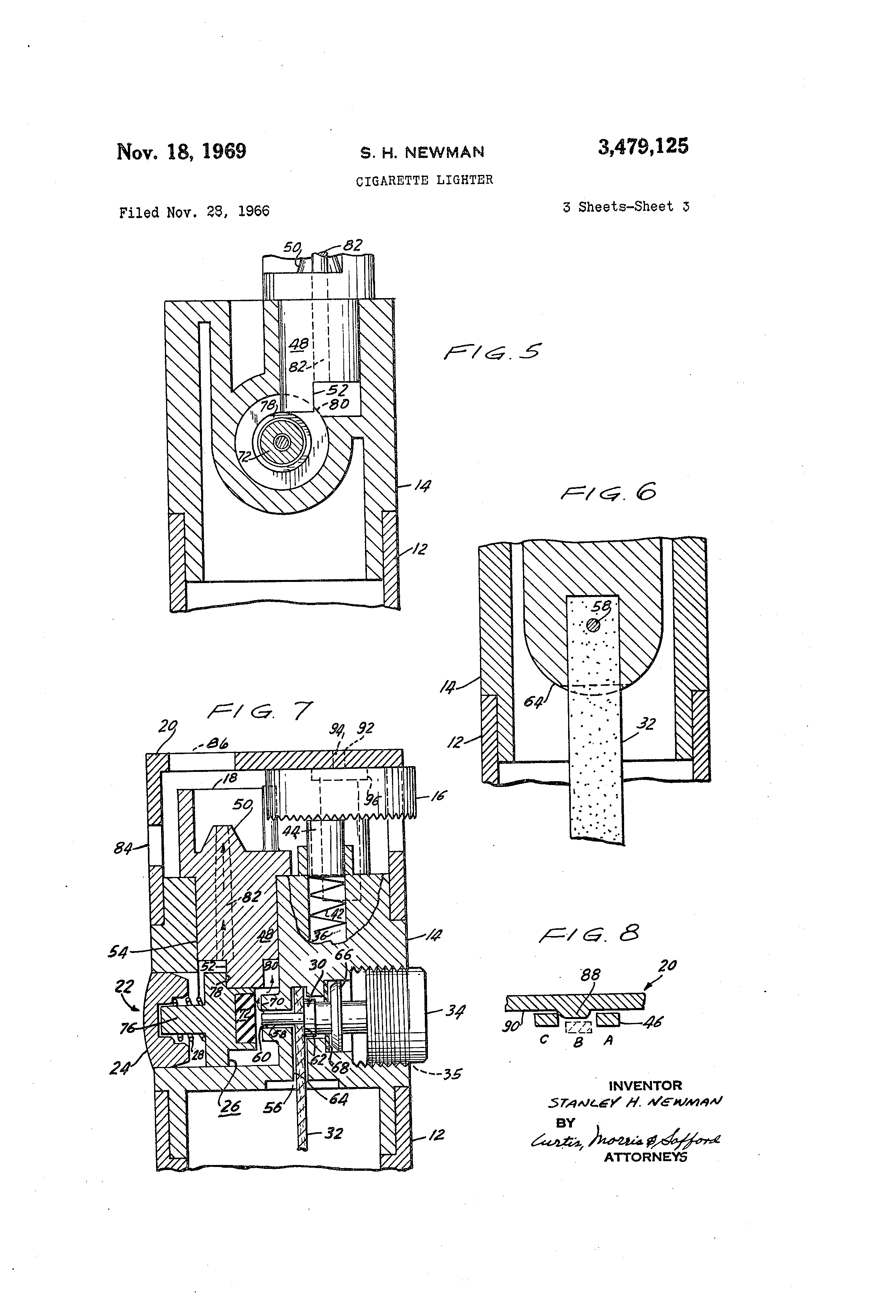
United States Patent Office 3247,91125 3,479,125 CIGARETTE LIGHTER Stanley H. Newman, clo Schwartz & Frolich, 19 E. 70th St., New York, N.Y. 10021 Filed Nov. 28, 1966, Ser. No. 597,256 Int. Cl. F23q 2104 U.S. Cl. 431-254 2 C aims ABSTRACT OF THE DISCLOSURE A cigarette lighter characterized by the use of a supporting body member for mounting a fuel valve and burner, a valve activator and a sparkwheel and flint with the burner and valve activator being formed integrally, with the valve activator being operable independently of the sparkwheel. This invention relates to cigarette lighters of the type using an inflammable gas (such as butane) as a fuel and, more particularly, to a lighter which has a minimum number of major parts and is readily produced by mass production methods. Such cigarette lighters are commonly known as "gas" lighters and may be so distin.-uished from the wick or liquid fuel lighters of the prior art. In gas lighters, the gas is usually contained in a sealed storage tank with a valve and burner system connected to the tank to permit the stored gas to be released in a controlled fashion when desired. The reieased gas is usually ignited by a spark in the conventional way. Most prior art lighters were made from a number of individual parts which were fitted together to provide a head mechanism which was used in cooperation with a valve and burner system to ignite the gas released from the storage chamber. Such a prior lighter is shown in U.S. Patent No. 2,943,47 1, issued July 5, 1960, to me. The prior art'lighters were usually assembled from a number of individual parts and this entailed a substantial amount of either hand labor or relatively costly machine tools. Also, most prior art lighters were manufactured primarily from metal stampings, castings or rnachinings. As a result, the individual components had to be assembled together in order to provide a reliable lighter mechanism. By means of the present invention, an improved lighter construction is provided which permits major subassernblies of the mechanism to be molded from plastic. The other components may be easily inserted into the molded plastic components and readily assembled into a realiable yet inexpensive lighter. Therefore, it is an object of the present invention to provide an improved gas lighter construction which is simple and economical to manufacture. It is a further object to provide an improved lighter assembly which is so economical that it may be thrown away after a single supply of fuel has been used up. The above-stated objects of the present invention will be apparent from the description of the embodiment shown in the drawings. Althoiigh a single preferred embodiment is depicted in the drawings and described in the specifications, it is to be understood that this embodiment is merely for the purpose of illustrating the invention and it is not intended to so limit the invention other than as set forth in the appended claims. In the drawings: FIGURE I is a side perspective view of a lighter in accordance with the present invention; FIGURE 2 is an exploled view of the lighter of FIGURE I showing the various components used in the assembly of the lighter; Patented Nov. 18, 1969 2 FIGURE 3 is a top plan view taken generaliy along the lines 3- 3 of FIGURE I showing the interior of the Eghter; FIGURE 4 is a partially fragmentary side view of the lighter taken along lines 4-4 of FIGURE 3 showing the interior of the lighter; FIGURE 5 is a sectional side view t'aken al6ng lines 5-5 of FIGURE 4; FIGURE 6 is a sectional view taken along lin6s 6-6 10 of FIGURE 4; FIGURE 7 is a sectional view similar to FIGURE 4 showing valve mechanism in an open position; and FIGURE 8 is a fragmentary sectional view showing an alternate detent design for holding the valve activator 15 in an open position. Referring to the drawings and to FIGURE 1 in particular, a lighter 10 in accordance with the present invention is shown. The lighter 10 is generally comprised of a fuel storage casing 12, a support body 14, a spark20 wheel 16, a valve activator 18 and a cap 20. As shown in FIGURES 2 and 7 the lighter 10 further includes a valve assembly 22. The valve assembly 22 consists of a backing plug 24, a valve sea] 26, a sprin@28 positioned between the plug 24 and the valve seal 26, 25 a spring 28 positioned between the plug 24 and the valve seal 26, a wick holder 30 which holds a wick 32 in position, and a pressure piece 34. The valve assembly 22 is inserted into a bore 35 in the body 14. The function and operation of the valve assembly will 30 be described in detail later. In addition to the valve assembly 22 the lighter 10 also comprises a flint holder tube 36 and a sparkwheel tube 40 in the body 14. A spring 42 and a flint 44 are positioned in the flint tube 36 so that the flint bears 35 against the underside or surface of the sparkwheel 16. A shaft 38 is fitted into the sparkwheel tube 40 and the sparkwheel 16 is mounted thereon. The valve activator 18 further includes a ]ever arm 46, an activator shaft 49, a burner tube 50 which extends 40 through the shaft 48, and a valve cam 52 which extends from the lower portion of the shaft 48. The body 14 also has therein a tube 54 into which the shaft 48 is inserted. For a more complete understanding of the present invention, reference may be had to FIGURES 3, 4, 5, 6 45 and 7. As shown in FIGURE 4 in particular, the body 14 is seated on the upper edge portion of the fuel casing 12. Any suitable materials may be used for the body and the casing. However, I have found that a moldable plastic is especiaily suitable since it is possible to :mold such mate50 rial easily, quickly and most economically. A supply of fuel F (such as butane) is contained in liquid form in the casing 12. The wick 32 which is advantageously made of a thin highly absorbent material such as felted paper extends into the supply of fuel F. 55 The upper portion of the wick 32 is passed through an opening 56 in the lower portion of the body 14. The wick ope@,ning 56 advantageously intersects the bore 35 which accommodates the valve assembly 22. A shaft portion 58 on the wick holder 30 is inserted int(> the valve bore 35 60 and passed through the upper portion of the wick 32. After passing through the wick 32, the shaft 58 is continued through the bore 35 into a loose fit section of the bore 35 having an opening 60. A shoulder portion 62 is also pro65 vided on the wick holder 30. The shoulder portion 62 is adjacent to and bears against the wick 32 and compresses it against the surface 64 of the wick opening 56. In order to increase pressure on the wick and thereby reduce the supply of fuel available at opening 60, the pressure piece 70 34 has a screw surface and is so mounted in the body 14 to bear against a flange portion 66 of the wick holder 30. The amount of compression which may be placed on the

[2]

3)479)125 3 wick by the shoulder 62 is limited by the spacing of the flange 66 from the surface 68 in the bore 35. Shaft 58 is preferable loosely fitted in the opening 60. Accordingly, gaseous fuel may flow from the wick and through the opening 60 when that opening is exposed to atmospheric ambient pressure whereby the liquified fuel is permitted to volatilize. In order to control the flow of gaseous fuel through the opening 60 a boss 70 is provided surroundiiig the opening 60. Covering the opening 60 and positioned adjacent to the boss 70 is the valve seal 26. Fitted into the end portion of the valve seal 26 is a seal member 72 which is preferably made of a deformable elastomeric material such as synthetic rubber. Advantageotisly, the cross-sectional area of the seal 72 is slightly gerater than the cross-sectional area of the boss 70. This greater cross-sectional area of the seal 72 insures the seal when pressed against the boss will tightly fit and prevent any possible flow of gas to the atmosphere from the opening 60 when such is not so desired. In order to hold the seal '72 in tight fitting engagement with bore 70, the spring 28 is positioned about a hub 76 on the valve seal 26. The spring and hub are fitted into backing plug 24 which is force fitted or held by other means securely in place in the bore 35. , The valve seal 26 is also provided with a flange portion 78. Advantageously the flange 78 is positioned in the bore 35 at that point where the bore intersects the tube 54 which accommodates the shaft 48 of the valve activator 18. The flange 78 is positioned adjacent to the valve cam 52 and when the valve lever arm 46 is rotated in the direction of the arrow V (as shown in FIGURE 3) the cam 52 is rotatably moved into contact with the flange 78. As the rotation of the cam 52 continues after co-ntacting the flange 78 the valve seal 26 is forced Out Of contact with the boss 70. As the valve seal 26 is moved from the boss 70, the opening 60 is left uncovered. As shown more clearly in FIGURES 5 and 7, a passageway 80 in the body 14 connects the bore 35 to the op@-ning 82 in the burner tube 50. Since the bumer tube 50 is expqsed to atmospheric ambient pressure, the completion of the communication from the opening 82 through the passageway 80 to the opening 60 permits fuel from the wick 32 to volatilize and flow through the burner tube as a gaseous fuel. Sparkwheels are generally sections of circular cylinders. The sparkwheel 16 embodied in the present invention is also of this construction. However, in the present invention the sparkwheel 16 is not mounted as in the prior art about a horizontal axis, but it is mounted about a vertical axis. In addition, the flint 44 is not brought to bear against the curved surface of the wheel, but it is brought to bear against the flat under surface of the wheel. By this unique arrangement the size of the -lighter is made more compact and the mounting arrangements of the wheel and the location of the flint are simplified, particularly to facilitate mass production. In actual operation the sparkwheel 16 is rotated in the direction of the arrow W of FIGURE 3 by rubbing the thumb of the user against the wheel. As the wheel turns, it generates a field of sparks due to the contact with the flint 44. The user's thumb as the sparkwheel is being rotated also contacts the valve activator 18 by pressing against the lever arm 46. This causes the activator shaft 48 tQ rotate bringing the cam 52 into engagement with ihe flange 78 on the valve seal 26. The valve assernbly 22 is therefo.re opened and flow of gaseous fuel is provided to the burner tube 50. As the gas leaves the opening 82 it is'mixed -with air which enters through ports 84 in the cap 20. The mixture of gas and air is then ignited by the field of sparks generated between the sparkwbeel 16 and the flint 44. The burning mixture exits from the li.-hter 10 through the flame opening 86 in the cap 20. When the user releases the thumb pressure on the lever 46, the spring 28 of the valve $eal 26 urges that member back 4 into position so that the seal 72 covers the o-pening 60 and abuts in closing relation with the boss 70. This, of course, cuts off the flow of gaseous fuel and causes the flame to be extinguished. 5 A detent 88 may be provided on the under surface 90 of the cap 20, whereby the lever arm 46 may be held in a locked position so -that th@, valve assembly will be open and th@- flame may continue to burn withotit the necessity of the user keeping his thumb on the lever arm 46. This construc10 tion is shown in the fragmentary view of FIGURE 8. In the normally closed valve position, the lever arm 46 is at station A. As the user rotates the lever 46 is moves against and then below the detent 88 to the position shown at station B. As pressure is continued to be applied to the 15 lever 46, it rides under the detent 88 and then upwardly to @he position shown at station C. Since the return force of the spring 28 is not sufficient to overcome the holding action of the detent 88, the lever 46 will remain at station C until presslire is applied manually to return it to the 20 position of station A. Thus, as long as the lever 46 is at station C, the flame will continue to burn. Due to the unique compact construction of the present lighter it is readily adaptable to be molded from suitablz@ plastic material. The valve activator 18 with its various 25 integral components may efficiently be molded from a high strength impact plastic such as polyc)xymethylene. Such a material is sold under the trademark "Deliin," a product of Du Pont Corporation of Wilmington, Del. The backing plug 24 and the valve seal 26 may able be 30 made of polyoxymethylene. However, as stated previously, the seal member 72 is advantageously mad-, of a synthetic rubber having desirable elastomeric properties. The sparkwheel shaft 38 may also be made from polyoxymethylene and, therefore, the size of the anchorage 35 of the shaft in the cap 20 may be kept to a minimum. Th@. cap 20 is provided with a small opening 92 into which is fitted a hub 94. A flange 96 is also provided on the shaft 38 and this serves as a bearing surface between cap 20 and the sparkwheel 16. A slight recess is provided in the 40 spirkwheel 16 to accommodate the flange 96. Thus, it will b,- seen that the selection of proper material permits the sparkwheel to be located in a horizontal position. As shown in FIGURE 4, the sparkwheel, because -of its horizontal position, may be made of a supporting plastic 45 body 104 and a metallic abrading surface 106. In order to insure further positive closure of the valve sy@tem, a post 100 may be provided on the upper portion of the valve activator 18. A spring 102 (as shown in FIGURE 2 in particular) is affixed to the post 100 and also 50 about the hub 94 of the sparkwheel shaft 38. When the lever arm 46 is swung in the dir@,ction of arrow V there will be a pressure applied by the spring 102 urging that the lever return to its addressed position, thus insuring proper sealing between the seal member 72 and the boss 55 70. It will be seen from the foregoing description of the embodiment of the present invention that a lighter has be en provided which may be manufactured from the minimum number of parts and quickly and easily ass-mbled 6o thu ' s providing a low-cost li.-hter but one which is sturdy in construction and reliable in operation. It is

Как компенсировать расходы
на инновационную разработку
Похожие патенты