заявка
№ US 0003471887
МПК A47L15/39

MILK CAN SCRUBBER

Номер заявки
4651037
Дата подачи заявки
01.07.1967
Опубликовано
14.10.1969
Страна
US
Как управлять
интеллектуальной собственностью
Чертежи 
4
Формула изобретения

claim: 1. In a container washing machine, the combination 40 of a conveyor adapted to convey a container in an upright inverted position in a generally horizontal path to a container scrubbing station, means for conveying the container away from the scrubbing station in a generally horizontal path subseqjent to washing, and means 45 for sprayin.@ the container inside and outside with a solution for washirig the container at the scrubbing station, and the improvement comprising a plurality of external container scrubbing brushes, means to rotate said brushes, and means to oscillate all of said br-ushes 50 from a position engaging the exterior of a container at the container scrubbing station to a position removed from said container, an internal can scrubbing brush mounted for rotation and carried upon means for elevating said internal brush through the open55 in.@ of said container into container scrubbing position and for lowering said interior brush into an inactive position free of said container, and automatic means to sequentially actuate the means to oscillate said external brushes and actuate the means 60 to elevate said internal brushes into container scrubbing position, to rotate said brushes, and to move said brushes to an inactive position free of said container in timed relation to the movement of containers along saidconveyor. 65 2. The device of claim I in which said automatic means to move said external and internal brushes from inactive position to container scrubbing POSitiOn includes means sensitive to the location of a container at said container scrubbing station. 70 3. The device of claim I in which said automatic means to initiate rotation of the intemal and external brushes includes means responsive to positioning of the internal brush in container brushing position. 4. The device of claim 3 in which the conveyor moves 75 the containers intermittently and said automatic means

3,471,887 7 includes means on said conveyor to terminate rotation of said internal and external brushes and to move said internal and extemal br-ushes to inactive position just prior to the initiation of an intermittent movement of a container. 5. The device of claim 4 in which said conveyor comprises a series of rails to support the mouth of a container, a Ion.-itudinal bar oscillating cyclically alon-side said rails from an advanced position to a retracted position, gnd container advanclng members pivoted to said bar, said container advancing members being constrained to occuj?y a posit;on at right an,-Ies to said bar upon engagement with a container during an advancing stroke of said bar and bein.- free to pivot forwardly during a retracting stroke of said bar, and said automatic means further comprisin.- a cam member secured to said bar, a switch havin- an actuator, said actuator lying in the path of said cam at a point when the retracting motion of said bar is nearing completion, and means responsive to the actuation of said switch to oscillate the extemal brushes 2(l and lower the internal brushes and stop the rotation of said brushes. 6. Th@ device of claim I in which the extemal brushes revolve in a common direction and the internal brush revolves in the opposite direction. 25 7. The device of claim I in which the extemal brushes revolve at different speeds. 8. The device of claim I in which the means to oscillate the external brushes further comprises an intermediate driven shaft for each said brush, a link having a free end 30 and an end pivoted on said intermediate shaft for swinging movement of the free end toward and away from said 5 container scrubbing station in a- horizontal plane, each said external brush bein.- provided with a central shaft rotatably mounted on the free swinging end of said link, and means for simultaneously swinging all of said links toward said container washing station when a container is located at said station and for swinging said links away from said container washing station when said conveyor removes a container from said station. 9. The device of claim 8 in which said means for swinging said links comprises a control bar pivotally secured to each said link at one side of the center line of said conveyor and a motor pivotally connected to said control arm and adapted to oscillate said control bar toward and away from the cdnter line of said conveyor. 10. The device of claim I in which said internal brush is rotatably mounted on a vertically movable carr;age, said carriage bein-9 provided with a pair of parallel shafts extending horizoiitallk of said carriage, each shaft carrying a gear at eacli end, a fixed vertical rack engaging each gear on each shfft, and a motor adapted to move said carriage verticall-yReferences Cited UNITED STATES PATENTS 1,791,603 2/1931 Rennie --------------- 15-70 1,960,530 5/i934 Doering et al - -------- 15-70 WILLIAM 1. PRICE, Primary Examiner R. 1. SMITH, Assistant Examiner

Описание

[1]

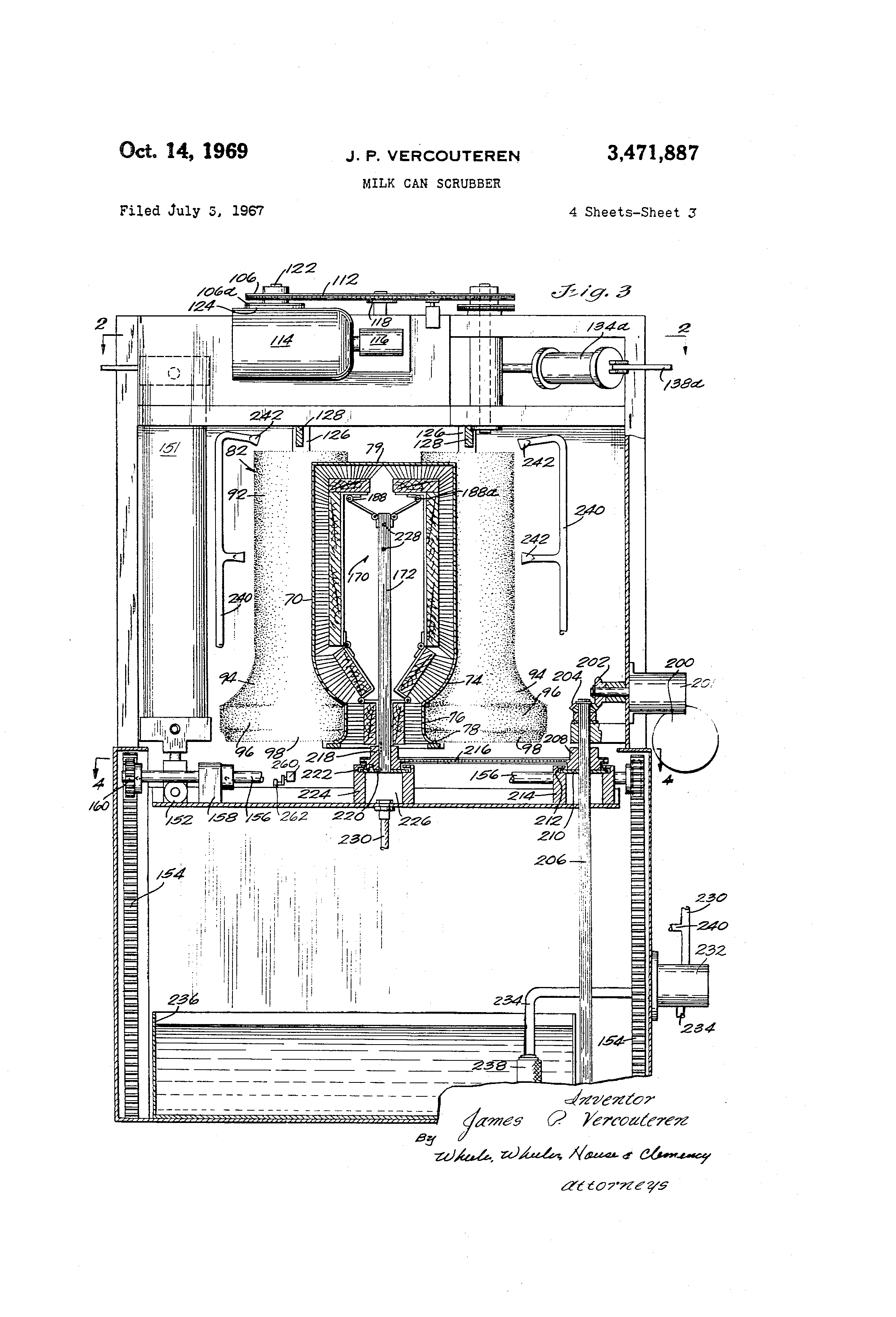
Util'ted States Patetit Office 394719887 3,471,887 MILK CAN SCRUBBER Jar.-.es P. VercoLfieren, 2314 Erie Ave., Sheboy,-@-P, Wis. 53031 F-',ed ly 3, 1967, Ser. No. 651,037 5 I,t. B67c 1108; A47115/00 U.S. Cl. 15 72 10 Cl-,Iims AP,ST-QACT OF THE DISCLOSURE 10 An auto--@nated can scrubbin.- device for milk cans thr-au-h which cans are advanced step by step on a track with each can bein@ simtiltaneoiisly scrubbed outside and inside while being sprayed with a cleanir@@ sol@,ition at otic station along the track. 15 Backgrc,,ind of the invention In the dairy industry milk can sanitation is a scriOLis 20 problem b,-catisc of the speed with which milk is de,-raded when exposed to variotis or.@anisms and the dii',rictilty with which all traces of milk are r@-m-oved frc@.In a milk container in order to prevent the @rowth of the organisms. inere slerilization of a milk can is not suffi- 25 c@ent unless the rpilk residues are compl,-tely removed, alon.- with any traces of rust, in order to provide a hostile environment for micro-or@anisms. So far as I am aware there is no milk can scrubber which has proven satishin@ 3 0 factory for comirercial ,ise which in addition to was the can thorotighly scrubs it with a mechanical brus hin @ aclion cover:n,- the entir-- outside wall, inside wall an@ insid-- botto' m, and which performs this action automatically with a hi-h rate of production. I have perfected s,,ich a device' a-,id in actual tests it bas s@ibs.ati35 tially reduced the rejection of mi, 'k cans as ur@fl-L dLirin2 inspections by the health authorities. Both milk s@ LOne and rust are ren-@oved from the cans by my device, and the cans remain cleaner than cans ha, -idled by pri'or methods even wh-,n they are brou,-ht back to tlae dairy 40 filled at a lat-,r date, due to th@@ thorou,@hiess with which con@aL-iinatio.-i is removed. My devic-. is preferably us-.ri as an addi t,on to a corventional can washin, devic-, and may share a common conveyor with the cE@n washer so that every can com:in,@ to t@ic dairy is ser-Libbed beirre it 45 is washed. Summary of the invention My d@-vice incltides a conventional milk can conveyo@v,,,h,'ch advances cans in an internaittent mot"@on by means of a forwardly movin, can advancing slrolce and a rear- '50 wardly movin,@ stro.-e durin,@ which the cans are stat;onary, the cans passin.- along a rail or rails in an inver',ed pos@ 'tion. A pair of switches are tised to control the timin@ of @he d-,vice, one said switch being aclivated by th'-, conveyor as it reaches a rearward pos;tion in its travel 55 and the o.'her said switch b@-in- at the can scrubbipg station and activated by a can as it reaches the s@,vitch. Upon arrival of a can at th.- can scrubbin.- station a g.- oup oi exterior scrlibbin.- brushes are swun.- ipto can scrlibb@n.- position and are roated at varyin.- speeds while an 60 interior can scrL,,bbin.- brush rises throu.-h the neck of the can apd exuands to scrlib all surfaces of th.- interior in a direction cot,.,@iter to the rollation of the ext-@rior scrlibbin.- brushes. Sprays of cleanin.- solulion are directed at the exterior and interior of the can dliring the scrlibbin,@ operation. Upon arrival of the conveyor at the rearward position ready to advance another can, the exlerior scrabbin.- brushes are iroved to a position free of the conveyor tract and the interior scrub bi-ush is retracted downwardly and collapsed to pass through the neck of the can to a 70 positic>n below th-- conveyor to permit anotlier can to advance to the scrubbin@ station. Patented Oct. 14, 1969 2 Drawin,-s FIG. 1 is a top view of the can scrtibbing device of my invention. FIG. 2 is a cross-sectional view on line 2-2 of FIG. 3, showing th.- linkages which move the outer brushes to and from the scrubbinposition, the scrubbing position bein- shown in full line@s and the retracted position being shown in broken lines at the ri.-ht side of the figure. FIG. 3 is a cross-sectional view on line 3-3 of FIG. 1, showing a can at the scrubbin.- station. FIG. 4 is a fra.-mentary cross-sectional view on line 4-4 of FIG. 3, showin.- the mechanism of the drivin.and elevatin.- carria.-e for the interior scrub brush, but showin.- the carriage in a lower position than that illustrated in FIG. 3. FIG. 5 is a view of the interior scrub brush which is enlay.-ed with respect to the showin- in FIG. 3 and which shows th-@ position of th-. components of the brush when the carria,-e which drives and elevates it is in its lowered position. FIG. 6 is a cross-sectional view on lines 6-6 of FIG. 5 showin@ details of the sl,ructure of the interior scrub brush. ' FIG. 7 is a view on 1,.ne 7-7 of FIG. 5 showing further details of the structiire of the interior scrub brlish. Description As shown in FIG. 1, the milk can scrubber of my invention is enclos--d within a housin@ generally designated as 10. Side frame members 12 and 14, heavy corner members 16 and 18 in the front corn@-rs of housin.- 10 and li-ht rearward corner members 20 and 22 in the rear of the frame support the unit vertically. A center beam 24 and a front beam 26 support major componen's of the scrubbing system f.-om the side and corner frame members. The track for the milk cans consists of a n@,imber of stationary rails 40, 42, and 44 upon which the mouth of the can r--sls as it passes throu,@h the machine. Central rail 42 ends at a latera.1 rail section 46 which underlies t@he traili-ii- ed@e ol. the can mouth when the can is at the scrubbin.- station. A second lateral rail 48 supports the leading ed-c of the can mouth at the scrubbinstation, hile the side margins of the can mouth are slipported w Is 40 and 4,4, the four rails 40, 44, 46 and 48 thus by rai deqnlp,- the scrl-,bbing station and in particular de-fin-'@r@.- a support for the can havin.- a-ii open center for the passa,-e of the brushes which scrub the interior of th@- can. Rail 50 continues th,- cen'Ler rail rearwardly from rail 48. The conveyor -further consists of a longittidinal bar 52 having can advancin.@ arms 54 which are pivoted at 56 and are biased by s@t)rin,,,s 58 against the respective stops 60 positioned on bar 52 in such a location as to permit the bar to swing parallel with bar 52 when bar 52 is moving in an advancing direction, the bar 54 beinp pushed aside by a can 70 against the bias of sprin.- 58 as the bar 52 inoves forwardly. When bar 52 is moving in a directio-@i to advance the cans 70 toward the rear of the scrubbin- machine, or toward the top in FIG. 1, the stop 60 prevents each bar 54 from being deflected by a can 70 and accordingly can 70 is pushed by bar 54 to advance the can through the machine until the bar 52 reaches the rearward end of its stroke, whereupon bar 52 a.@ain reverses direction, the various paddles 54 are deflected by a can 70 behind the can 70 which they had been advancing, bars 54 are then retumed to their laterally extendin@ postion as shown in FIG. I by sprin-s 53, and uoon an advancing stroke of bar 52 each bar 54 advances a can 70 a.@ain. Thus cans 70 advance intermittently oil the advancing stroke of bar 52, and stand upoii thp, tracks durin.- the retracting stroke of bar 52. The proportions of the stroke and the location of the housing

[2]

3 10 with respect to the advance of bars 54 with a single stroke of bar 52 are chosen to bring a can to rest supported by bars 46 and 48 at the scrubbing station. The general plan of the mechanism for scrubbing the exterior of cans 70 is shown in FIGS. I and 2, FIG. 1 showing the idrive mechanism while FIG. 2 shows the suppor-t mechanism in more detail. As best shown in FIG. 2, there are four exterior scrubbing brushes 80, 82, 84 and 86. The exterior shape of the brushes is best shown in FIG. 3. Each brush 80-86 is contoured to be complementary to the exterior side of can 70, having a straight side 92 corresponding to the straightcylindrical wall 72 of the can, a concave conical portion 94 corresponding to the convex shoulder 74 of the can, a larger diameter cylindrical portion 96 corresponding to the neck 76 of the can and a reversed conical section 98 corresponding to the flared mouth 78 of the can. The can is also provided with a bottom 79 and an optional feature of my device is a scrubber (not shown) which may descend on bottom 79 to scrub it while other sembbers are scrubbing the remaining portions of the can. Whether or not the bottom is scrubbed it will be contacted by the cleaning solution which is sprayed within the housing 10. Brushes 82-86 are each fixed on a rotatable vertical shaft 100. As best shown in FIG. I each shaft 100 carries a sprocket 102 at its upper end. Each sprocket 102 is driven by a common drive system which includes a motor 114, a gear reducer 116, and an output sprocket 118, driving a master drive chain 112 which is maintained at the proper tension by a chain tightener sprocket 120 in a well-known manner. The drive chain 112 extends around a circuit including sprocket 104 which is associated with brush 80, sprocket 106 which is associated with brush 82, sprocket 108 which is associated with brush 84, and sprocket 110 which is associated with brush 86. The four sprockets 104-110 each have a different number of teeth, so each rotates at a different speed. Each of the four drives an intermediate vertical shaft 122, or jackshaft, which is provided with a second sprocket designated respectively 104a, 106a, 108a and 110a. Each of the latter sprockets drives a chain 124, and each chain 124 extends around one of the sprockets 102 which are fixed on shaft 110 and which therefore drive the four brushes 80-86. The drive to each brush is at a different speed by reason of the difference in the sizes of spirockets 104-110. Each of the shafts 100 which carry the outside scrub brushes is carried in a bearing 126, which in tum is carried on a link 128, and each link 128 is pivotally mounted on a shaft IL22, so that each brush 80-86 is swingable about the axis of a shaft 122 through which power is supplied to the brush. Thus even though the brushes swing, the chain drive maintains a constant length. Swinging of the exterior brushes is accomplished by four arms 130 each of which is rigid with a link 128 but extdnds laterally at an angle to the link which is away from the longitudinal center of the device as represented by the conveyor. In effect, 130 is a part of link 128 angled from its main axis. A brush position control bar 132 is pivotally attached to the ends of the two @links 130 on the left side of the machine and a similar control bar 132a is attached to the ends of the links 130 on the right side of the machine. Control bars 132 and 132a are each oscillatable from a position in which the brushes controlled by the bar are against the can or other container 70, to a position in which the brushes are retracted from the path of container 70, as best shown in FIG. 2. Any conventional means may be used to oscillate the arms. In the preferred form this means takes the form of a pair of cylinders 134 and 134a for the right and left control bars 132 and 132a, which are respectively pivot@d at 136 and 136a to the respective control bars, and which are pivotally mounted to respective supports 138 and 138a carried on the -frame of the machine. A single circuit actuates cylinders 134 and 134a for simultaneous 3)471,887@ application and return. The term cylinder is intended to be generic and to include any fluid operated cylinder, whether the fluid is liquid or gaseous. In many cases air will be the preferred medium because a supply of compressed air is already on hand or readily available. , Control of the. cycle of operation of, cylinders 134 and 1134a is by means of switch 140 having a contr6l arm 142 which is actuated by a cam 144 on the Ion.- itudinal conveyor bar $2, and by switch 146 having an actu10 ating arm 148 which is actuated by a container 70 when it reaches proper position in the scrubbing station 46-48. An inner brush 170 is supported on a carriage 150 which is moved up and down by a pregsure cylindet 151 (or other means) connected to carriage 150 at 152. If a 1,5 single cylinder 151 is used, carriage 150 is kept horizont-al during the raising and lowerin- motion, despite the use of only a single cylinder 151, by means of a pair of racks 154 at each side of c.arria,@e 150, ear-h of racks 154 having teeth on both sides. A pair of shafts 156 are 20 mounted in bearings 158 near ea.ch end of each shaft. The bearin.-s which are secured to carriage 150 as sho-@vn in FIGS. 3 and 4. Each shaft 156 carries a pinion 160 at each end which is securely fixed to the shaft. As a result, When an I chora.-e 152, which is secured to ca I rriage 150, is 25 lifted by cylinddr 151, the pinions 160 @it that end of the carriage are pulled upwardly alon,@ rack 154 causing them to rotate. Since the pinions 160 at the other end of each shaft 156 are also secured to the shaft they too are forced to r6tate and lift the other end of carriage 150. 30 Inner brush 170 is composed of a central shaft 172, which as shown in FIG. 7 is preferably rectilinear and hollow. As best shown in FIG. 3, a series of brush sections is provided at each side of shaft 172. These comprise neck and mouth scrubbing sections 174 and 174a, interior 35 shoulder scrubbing sections 176 and 176a and side and bottom scrtibing sections 178 and 178a, th@ latter sections each being L-shaped to scrub substantially the entire cylindrical portion of the side of can 70 and one-half of the inner bottom 79 of can 70. Sections 174 and 174a are 40 attached to shaft 172 as shown in FIG. 7, and are secured to brush section 176 and 176a respectively by mearis of hin.-es 180 and 180a. Sections 176 and 176a are resp@-ctively hinged at 182 and 182a to respective sections @178 and 178a but are not secured to shaft 172. A pair of links 4' 184 and 184a are hinged to shaft 172 by means of hinges 186 and 186a and are hinged to br-ush sections 178 and 178a by means of res_pective binges 188 and,,188a..The brush is collapsed by downward movernent of shaft 172 transmitted to the lowest brush segments and is expanded 50 by centrifugal force upon rotation of shaft 172 and by upward movement of shaft 172 which pushes the brush segments outwar . Internal brush 170 is driven by a motor 200 whose speed may be adjusted with an appropriate gear reducer 5,5 201, and which drives bevel gears 202 and 204, gear 204 bein.- secured to a square vertical shaft 206. Shaft 206 drives a sproc@ket 208, but is vertically slidable throli-h the square opening in the hub of the sprocket. Sprocke.t 208 is supported in vertically and horizontally fixed but 60 rotatable connection with carriage 150 by means of a plate 210 which is -fixed to the hub of the spror-ket and which has its edges received in an annular groove 212 in a fixed mounting 214 on carriage 156. A chain 216 transmits power from sprocket and hub 208 to sprocket and hub 65 218, which is siinilarly fixed with respect to the carnage by means of a plate 220 having its, edges engaged in an annular groove 222 in a fixed mounting 224 oiri carriage 150. This mounting permits hub 218 to rotate without changing its vertical or horizont-al position with respect to carriage 150. 70 Shaft 172 is fixed in hub 218, and has a central longitudinal passage extending its full length and in ope@ communication with the cavity 226 within mounting 224 for the purpose 6f supplying washin-9 fluid to the interior of the can as it is being scrubbed@ Openings 228 (for exam75 ple) are provided at the upper end of shaft 172 of the

[3]

3)471,887 5 inner brush and at various other locations as needed. The exact location of the openin.@s is not critical as lon.- as washin.- solution is supplied to the entire interior of the container in sufficient volume to accomplish effective cleansin- in conjunction with the action of interior brush 170. Thus the location and form shown for openings 228 is illustrative merely. Fluid is supplied to cavity 226 below the post 172 of intemal brush 170 by a conventional flexible hose 230 or the like connected at one end to the base 224 in such a manner as to communicate with internal cavity 226 and connected at the other end to a pump 232. The pump receives fluid cleaning solution from an inlet duct 234 which terminates near the bottom of a reservoir 236 in a filter screen 238. Other portions of conduit 230 and conduit 234 are conventional and are not shown in detail. A branch 240 of outlet conduit 230 from putnp 232 supplies fluid to a plurality of spray heads 242 to supply cleanin.- fluid to the outside of can 70 and rotating brushes 80-86. Rotation of brush 170 causes it to expand, interfering with the raisin.- of the brush. The operation of motor 200, pump 232, and of motor 114, for the outer brushes is accordin.- ly initiated by a separate switch 260 havin.- an actuator 262 in the path of carriage 150. The position of the aeltuator is such that switch 260 is not actuated until raising o f the carria.ae 150 is complete or well advanced. Operation Havin- described the mechanical parts of my device, the manner in which it operates will now be described Milk cans 70 are loaded onto conveyor rails 40-44 in each space between conveyors bars 54 or as often as cans are presented for scrubbin,-. In the preferred embodiment the cans are already on the conveyor bars as they leave a can rinsin.a machine and continue on through my can scrubbin.- machine propelled by the same conveyor as described above. A can washer may follow my device. As conveyor bar 52 oscillates forwardly and rearwardly a can on conveyor tracks 40-44 is pushed forward a distance roughly equal to the distance between lateral conveyor bars 54 with each forward and rearward cycle of Ion-itudinal conveyor bar 52. One such advance terminates at the scrubbing zone outlined by bars 46 and 48 of the conveyor which define a space havin,@ no central can support rail, to permit the inner can scrubbin@ brush 170 to rise into the inverted can. As the can 170 arrives at the scrubbing station it trips switch 146 by hitting actuatina member 148. Switch 146 is so connected that the cycle is initiated when the switch is tripped. Cylinders 151, 134 and 134a are actuated by switch 146. Cylinders 134 and 134a push the outer brush control bars rearwardly and toward the longitudinal center line of my device to brin@ the four external brushes against the side of the containe@r 70 which is in the scrubbinstation. Cylinder 151 lifts the car-riage 150 with the i.ternal brush folded, as shown in FIG. 5, into the can through the downwardly facin@ moutb. Switch 260 then starts brush motors 114 and 20'0 and pump 232. As brush 170 begins to rotate it opens out to the position shown in FIG. 3 in which all portions of the interior of can 70 are scrubbed. At the same time cleanin.- solution is applied to the exterior of the can fram any suitable spraying device shown here ibustratively as a spray head 242, and is supplied to the inside throu. ,h the shaft 172 of the interior brush 170 and out of sprayin.- devices, shown here illustratively as holes 228. Since the outer brushes are all rotating in the same direction they impart a rotation to the can 70. However, since each extemal brush is rotating at a different speed and the internal brush is counter-rotating, the speed of the can will be no more than the average of the speeds of the brushes and it is usually less than the speed of the slowest outer brush. Consequently all of the extemal brushes have relative rotation with respect to the surface of the can in order to scrub it. During the scrubbing cycle the longitudinal bar 52 6 of the conveyor is retracting toward the front of the ma chine, and when it reaches a sufficiently advanced position it trips switch 140 by means of a cam 144 secured to longitudinal conveyor bar 52 which stiikes switch actuator 142 at a precisely timed position. Tripping of switch 5 140 stops brush motors 200 and 114 and pump 232, reverses the supply of fluid pressure to cylinders 134 and 134a, causing them to move the brush -control bars to the right and left sides respectively and swingin.- the ex10 terior brushes away from can 70 to clear the conveyor. At the same time, cylinder 151 lowers carriage 150 carrying the intemal brush 170, either by a release of pressure in cylinder 151 permitting the carriage to move downwardly under the influence of gravity, or by revers15 ing cylinder 151 to positively lower carriage 150. All brushes are retracted and at rest as the can 70 which has just been scrubbed is advanced by a conveyor bar 54 sufficiently to clear the external scrub brushes 82 and 84 on their next scrubbing cycle and a new can 70 is moved 20 into position at the scr-ubbing station 46-48. It will be noted that if the conveyor line is not full, a condition which is depicted in FIG. 1, switch 146 will be actuated only at the intervals when a can 70 arrives at serubbin.station 46-48, so that there is no scrubbing cycle unless 25 there is a can to be scrubbed, despite the continued operation of conveyor bar 51. The exact electrical circuit is not shown because other circuits having the same functions are possible, including the use of fluid valves for some functions, particularly switch 146. 30 Thus I have provided a new and unusually efficient means of removing milk residues, rust, or the like, from milk cans or other containers, greatly improving the sanitation standards of the milk cans which are periodically brought to a dairy using my device by farmers, and suit35 able for other uses. My device may be used between a rinsin.- device and a washing device, with a conimon conveyor, if desired. I

Как компенсировать расходы
на инновационную разработку
Похожие патенты