заявка
№ US 0003460144
МПК H01Q25/02

ANTENNA SYSTEMS PROVIDING INDEPENDENT CONTROL IN A PLURALITY OF MODES OF OPERATION

Правообладатель:
Номер заявки
4711398
Дата подачи заявки
01.03.1968
Опубликовано
05.08.1969
Страна
US
Как управлять
интеллектуальной собственностью
Чертежи 
1
Реферат

Формула изобретения

claimed is: 1. An antenna system providing independent control in a plurality of modes of operation comprising: an array of antennas having at least five outputs, each output providing a distinct signal; comparison means coupled to said outputs for providing a plurality of preliminary si.- nals representing sum and difference comparisons of said distinct siginals; independent control means coupled to said comparison means for producing final mode signals by the selective summation of a portion of the preliminary si.-nals available to form each of said final mode signals for effectively changin,@ the size of the array, independently, for each of the modes produced without any substantial influence on any of the other modes; means for dissipating si,-nals not usable in producin.said final mode si.-nals, said nonusable si,-nals representing the difference between two preliminary signals, each of which represents the difference between two of said distinct output signals; and means for dis&ipatin.- preliminary signals which are usable in producing said final mode signals but which are not selected for inclusion in said final mode signal. 2. An antenna system as specified in claim I in which the comparison means consists of a plurality of hybrid junctions and the independent control means consists of directional coupler means coupled to said plurality of hybrid junctions. 3. An antenna system as specified in claim 1 which additionally includes a focusing system in spaced relationship to said array. 4. A monopulse antenna system providing independent control in a sum and two difference modes of operation, comprisin,-: a plurality of antennas symmetrically arranged about a horizontal and vertical axis; 3,460,144 8 first group of hybrid junctions individually combining pairs of signals from said antennas; second -roup of hybrid junctions combining the outputs of said first group of hybrid junctions to produce three groups of preliminary signals' the fi@rst group representing the sum of the outputs of all the antennas, the second group representing the difference between the outputs of the Tight and left side antennas and the third group representing the differ10 ence between outputs of the upper and lower antennas; and three groups of directional couplers, the first group selectively combining portions of the first group of preliminary signals to form a sum mode signal, the 15 second group selectively combining portions of the second group of preliminary signals to form an azimuth difference mode signal and the third -roup selectively combining portions of the third group of prelininary signals to form an elevation difference 20 mode signal for effectively changing the size of the array independently, for each of the modes produced. 5. A monopulse antenna system as specified in claim 4 which additionally includes means for dissipating the outputs of said hybrid junctions which are not usable in 25 forming said final mode signals and means for dissipating the outputs of said directional couplers which are usable in fOTming said final mode signals but which are not selected to be combined into said final.mode signals by the directional couplers. 30 References Cited UNITED STATES PATENTS 3,239,836 3/1966 Chubb et al - --------- 343 16 3,341,850 9/1967 Kings et al - ---------- 343-16 35 3,308,457 3/1967 Winn --------------- 343-16 ELI LIEBERMAN, Primary Examiner U.S. Cl. X.R. 40 343-779, 853

Описание

[1]

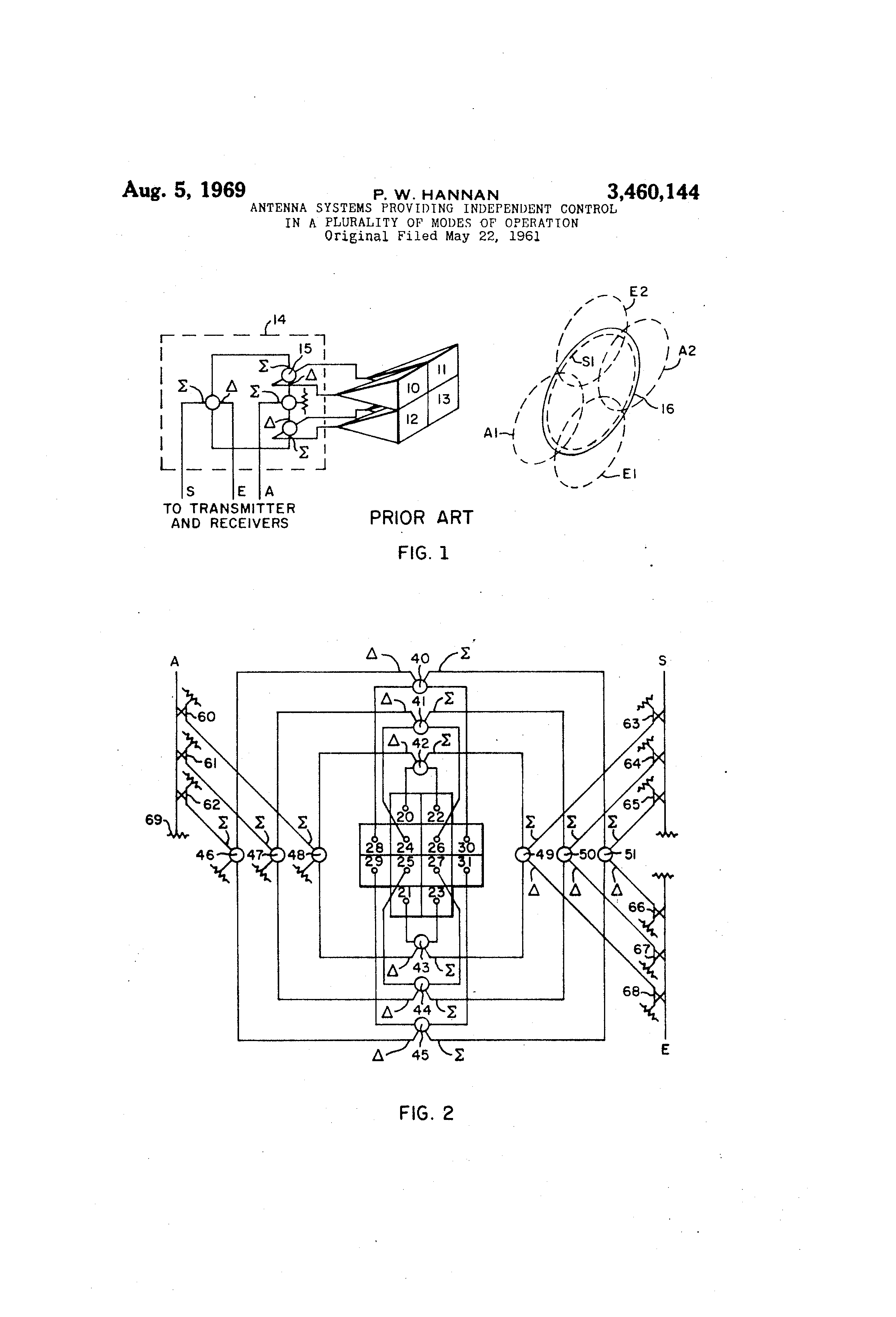
United States Patent Office 39460,144 3,460,144 ANTENNA SYSTEillS PROVIDING INDEPENDEPQT CONTIZOL IN A PLURALITY OF MODES OF OPERATION Peter NV. Hannan, Centerport, N.Y., assignor to Hazel- 5 tine Research, Inc., a corporation of Illinois Application Apr. 26, 1966, Ser. No. 545,324, now Patent No. 3,392,395, dated July 9, 1968, which is a division of application Ser. No. 111,542, May 22, 1961, now Patent No. 3,308,468, dated Mar. 7, 1967. Divided and 10 this application Mar. 7, 1968, Ser. No. 711,398 Int. Cl. HOlq 13102, 19114, 21100 U.S. Cl. 343-777 5 Claims 15 ABSTRACT OF TidE DISCLOSURE An antenna system providing independent control in a plurality of modes of operation having a plurality of homs arran.-ed symmetrically abolit horizontal and vertical axes. A group of hybrid junctions are coupled to 20 the outputs of the horns to obtain preliminary sum and difference comparisons. The preliminary stim and difference compa-rison si,-nals are coupled to a plurality of directional cotiplers in order to selectively combine portions of these preliminary signals to form each operating 25 mode of the antenna in order to effectivejy chan.-e the size of the array for each mode. For example, in a monopulse antenna a different effective antenna size is provided for the sum mode and the elevation and azimuth difference modes. Altemative arran,@ements are also 30 covered. This application is a division of application Ser. No. 545,3 24, filed Apr. 26, 1966, now Patent No. 3,392,395 3- ' whic h is a division of application 111,542 filed May 22, 1961, now Patent No. 3,308,468. This invention relates to independent control of the mod es of operation of an antenna system oporating 40 simul taneously in several modes. The invention is particul arly applicable to antenna systems used with monoptils e radar systems where independent control of the sum and difference modes is desirable but has not been avail able in the priOT art. The invention will be described 45 in the environment of a monopulse system althou.-h it is not limited to such applications. For the purposes of this specification, the word "ant enna" is dej'ined as a structure for effecting the trans ition between a free-space electroma,netic wave and 50 a guided electroma,@netic wave and may, for example, take the form of a horn or dipole. An array of antennas, as defined, can be uscd, for example, as the "feed" in an ante nna system including a focusing element, such as a refle cto.r, or it can be used directly in an antenna system 55 whic h does not include any focusiig element. An "antenna syste m" is defined here as an antenna or array of antennas in combination with other components which may include a focusing element, comparator circuits, etc., as will be expl ained more fully. 60 In the design of monopulse antenna systems it has bee n customary to assume that some type of compromise is required between the several modes of operation. How ever, this is not necessary and the present invention mak es it possible to optimize in all modes simultaneously. 65 For an OTdinary single mode antenna system the optimum desi gn for maximum antenna system gain is well known. In the case of a mono-pulse antenna system, there are uslial ly a sum and two difference modes and it has not bee n possible to desi,-n for simultaneous optimum per- 70 form ance in all these modes. The particular compromise made is dependent upon system reqtiirements and the Patented Aug. 5, 1969 2 relative importance of the various modes. In all such designs the compromise causes substantial de-radation of some of the important antenna systern properties. For example, in an antenna system hav@ing a feed and a focusing element, degradation typically affects the difference mode properties, such as gain, sidelobe levels, spill-over rediation and criticalness of misalignment. As is ivell known, antenna systems are reciprocal in nature, operating equally well in reception and transmission of energy. Mon(>pulse radar systems of the type to be described utilize the ptesent invention during reception only, and the following description relies mainly upon a reception viewpoint except where a transmission viewpoint is easier. Reliance on one or the other of these viewpoints at particular points in the description should not be allowed to obscure the fact that the invention is equally applicable to reception and transmission. FIG. 1-prior art monopulse system While familiarity with prior art monopulse antenna systems is assumed, a simplified discussion of the problems in prior.art systems is desirable before pursuing the subject of an optimum monopulse antenna system. In one common type of monopulse radar, the antenna systen-i consists of three elements: a comparator, a feed and a focusing element. The comparator is a circuit network which adds and subtracts volta,-es in such a way as to convert a signal in any of the thtee channels to the proper si.- nals at the feed. Thus, referring to FIG. 1, which illustrates a prior art system, comparator 14 comprises an arrangement of transmission paths (which may be waveguide, for example) interconnected by hybrid junctions, such as junction 15. The feed in FlG. I comprises a clustet of four small antennas in the fc>rm of horns 10, 11, 12 and 13. The feed radiates a divergent beam toward the focusing system to provide the desired field at the main aperture of the antedna system. The focusin.- system may include a lens or reflectin.- dish which is large compared with the feed, and which converts the spherical wave front to a flat one, giving rise to a narrow beam of radiation. The focusin.- element 16 in FIG. 1 may be considered to be a reflecting dish. There are three channels connected to the comparator and three modes of operation for the antenna system. These the called the sum (S), azimuth difference (A), and elevation difference (E) modes. When coupled to the transmitter, the sum mode provides illumination of a distance target. When coupled to a receiver, it provides range information and a reference signal. The azimuth and elevation difference modes are coupled to receivers whose signals, when combined with the reference sum signal, provide azimuth and elevation angle information, respectively. While it is true that durin.- actual monopulse radar operation only the sum mode exists in transmission, it is common practice to consider all three modes in transmission when this eases the task of analysis (by reciprocity the antenna patterns are the same whether obtained in transmission or reception). Considering the illumination of the reflector during transmission, it is well known that in order to obtain maximum efficiency in the sum mode the feed size; and reflector relationship should be such that the illumination is tapered down at the edge of the reflector by about 10 db. This is shown in FIG. 1 by curve SI which represents the 10 db contour of the sum power density. (In FIG. 1, the power density represented by the various dashed contours would, of course, strike the side of the reflector which is hidden in the drawing-it may aid in understanding the drawin.-s to assume the reflectors to be transparent optically.) In the case of the difference mode, considerations of maximum efficiency and low side-

[2]

3 lobes lead to a similar conclusion, that is, that the illumition should be appreciably taper@d down at the ed.-e of the reflector. In addition, some of the special problems of the difference mode, such as criticalness to feed tilt and edge asymmetries place a premium on low edge illumination. For simplicity, it may be assumed that the difference illumination should be tapered down by about the same amount as the sum illumination. But, referrin.- to FIG. 1 where the system bas been optimized, for the sum mode, it will be seen that the difference illumination reaches a maximum close to the ed,-e of the reflector, as shown by the contours Al, A2, El, and E2. This is the result of using the four horns 10, 11, 12 and 13 substantially as one hom in the sum mode but substant,'@ally as two horns for each of the difference modes. Thus, in the elevation difference mode, horns 10 and 11 are excited in one polarity and horiis 12 and 13 are excited in the other polarity and the energy radiated has two main peaks of opposite polarity which are displaced equal amounts off the antenna system axis and which result in a width of useful power distribution in the vertical direction which is substantially twice as wide at the reilector as is the sum power distribution. In a horizontal d;rection this elevation mode power has substantially the same distribution as the sum power. In the azimuth difference mode, horps 10 and 12 are excited in one polarily, as are horns 11 and 13, and the result is a substantially double-width power distribution in a horizontal plane as compared to the sum mode (corresponding to the spread in the vertical direction for the elevation mode). In this system at least half of the power in the difference modes goes into spillover (i.e., misses the reflector) so that there is about a 3 db loss in the difference signal compared with the optimum condition, and the difference peak gain would be about 6 db below the sum -ain. The hi,@h illumination of the edge of the reRector creates hi.- h sidelobes in the difference pattern, and also makes the difference mode sensitive to antenna system misalignment and edge asymme@tries; furthermore, the lar.-e amount of spillover permits spurious si.-nals of both a coh,-rent and incolherent nature to enter the difference channels. If the feed size has been optimized for the difference modes, the stim illumination would be excessively narrow. The sum mode would utilize only about half of the reflector if performance were optimized for one difference mode, and a reduction of about 3 db in sum gain would result. Attemp,ing to optimize the feed size for both difforence modes would create additional losses. While it is true that a feed size might be utilized which strikes a compromise between the optimum sum mode and optimum difference mode performance, the defects mentioned above would still be present to a lar.@e degre-e. The above discussion has been limited to problems in the beam width or size of the antenna pattem produced by an array of antennas. It is well known that the sidelobe suppression of an antenna array pattern is also very important and prior art monopulse systems have been rather inefficient with respect to this and other considerations. This is true not only when the array comprises the feed of an antenva system having a focusing element, but also when the array itself constitutes the antenna system. Thus, it is evident that the ordinary monopuls.- antenna design as described above imposes a limitation with degrades the antenna system performance in a number of ways, and some manner of optimizing performance in all modes simultaneously is extremely desirable. It is an object of this invention, therefore, to provide new and improved antenna systems which avoid one or more of the disadvantages of the prior art arran.-ements. It is a further object of this invention to provide an antenna system allowing operation in a plurality of modes with improved efficiency. 4 It is an addilional object of this invention to provide an antenna system allowing any desired degree. of independent control in a plurality of modes of operation. In accor dance with the inventi on an anten na syste m provid ing indepe ndent contro l in a plurali ty of modes of operatio n which compris es an array of antennas having a plurality of outputs, each output providin g a distinct si.-nal; compari son means coupled to the outputs for providin g a plurality of prelimin ary signals represen ling sum 10 and differenc e compari sons of the distinct signals; independ ent control means coupled to the compari son means for producin g final mode si.- nals by the selective summati on of a portion of the prelimin ary si@- nals available to form the final mode signals for effective ly changing the 15 size of the array, independ ently, for each of the modes produce d; means for diss@'@ Patin.@ si,-nals not usable in producin g the final niode si.- nals; and means for dissipatin g signals which are usuable in producin g the final mode si.- nals but which are not selected for inclusion in the 20 final mode signals. In -the &awings : FIG. I illustra tes a prior art mono pulse anten na syste m; FIG. 2 illustra tes an anten na capabl e of provid ing any 25 desired degree of indep.ndent control in accorda nce witb the invention ; The prima ry fault of the prior art mono pulse anten na syste ms may be consid ered to be in inabilit y to produ ce feed patter ns of similar directi vity in each mode. This is 30 clearly shown by the power contours of FIG. I Nvherei n large amounts of azimuth and elevation power are lost in spillover. The prese nt inventi on includ es the realiz ation that the way to get feed array patter ns of similar directi vity in 35 each mode is to change the size of the feed array, either actually or effective ly, for each of the various modes involved. As used in this specifi cation, "ind.pende nt contro l" is define d as the ability of an anten na syste m to provid e 40 patterns for each mode of a plurality of modes of operation without any limitation arising from the presenc e of the other modes. It will be noted that the operatio n of any focusing element is immateri al in consideri ng independ ent control. Practical ly, independ ent control of an 45 antenna array will usually take the form of the ability to provide patterns of substanti ally similar beam width in each mode for !signals with different characte ristics in each mode. These different characte iigtics are such that each mode requires a different antenna system capabilit y 50 to allow similar beam widths, as was brought out in the earlier discussio n of the prior art, especiall y with referenc e to the power contours of FIG. 1. FIG. 2- monopul se antenna system allowin.- complet e 55 i n d e p e n d e n t c o n t r o l Refer ring now to FIG. 2, there is shown an exam ple of an anten na syste m provid ing indepe ndent contro l in a plurali ty of modes of operat ion. This anten na syste m in60 cludes an array of antennas having a plurality of outputs. Th-.se antennas are shown as boxes 20-31, inclusive, each of which may represent a horn, dipole or other device and each of which is shown as having one output 65 lndicated schemati cally as the dot at the center of these boxes. The antenna system further includes compari son means coupled to these outputs. These compari son means are shown as hybrid junctions 40-51, inclusive. The aiftenna system also includes independ ent control means 70 coupled to the compari son means. These independ ent control means are shown as direction al couplers 60-68, inclusive. Many resistive terminati ons are used to terminat e particula r connecti ons in the arrange ments illustrate d in the drawing s; a represeti tative terminati on is 75 labeled 69 in FIG. 2. 31460,144

[3]

3,460,144 5 FIG. 2 has been limited to an array of 12 antennas for purposes of illustration, but in observing FIG. 2, it will be apparent that this system can be utilized with any desired number of antennas. The iffterconnections between the antennas, the hybrid junctions and the directional couplers follow a logical pattern and may be readily expanded as the number of antennas desired increases. The ante.nnas, hybrid junctions and directional couplers are shown in FIG. 2 as being interconnected by lines. These lines represent transmission paths which may be waveguide, coaxial transmission lines, etc. In considering the operation of the antenna system of FIG. 2 it will be instructive to first examine the interconnections illustrated, from the following points of view: (I) Each of the independent control means (directional couplers 60-68, inclusive) are arranged to selectively couple energy from one of the comparison means (hybrid junctions 46-51, inclusive) to one of the mode outputs S, A or E. Each directional coupler is designed to provide only the degree of coupling desired in each particular case (each hybrid junction provides a uniform degree ofcoupling). (II) Each of the hybrid junctions 46-51, inclusive, is coupled (through certain of the hybrid junctions 40-45, inclusive) to four antennas which are symmetrically located with respect to the vertical and horizontal center lines of the antenna array. Thus, junction 49 is coupled to antennas 20 and 22 through junction 42 and to antennas 21 and 23 throu,-h junction 43. (III) Each of the hybrid junctions 4(@--45, inclusive, is coupled to two antennas which are symmetrically located with respect to the vertical center line of the antenna array. nus, junction 42 is coupled to antennas 20 and 22. (IV) For the S mode, energy from all antennas is selectively added to form the final S mode signal. For example, energy from antenna 20 is added to that from antenna 22 by junction 42 and appears at the 2; output of junction 42. Similarly, the sum of energy from antennas 21 and 23 appears at the T, output of junction 43. These two 7 outputs are then added in junction 49 and the sum app.-ars at the T output of junction 49. This I output is then coupled into the S channel with a desired degree of coupling by directional coupler 63. Similaxly, outputs from the other two groups of four antennas (2427, inclusive, and 28- 31, inclusive) are coupled into the S channel with desired degrees of coupling by couplers 64 and 65. (V) For the E mode, in each group of four antennas, energy from the two antennas above the horizontal center line is added, and this resultant is subtracted from the additive sum of the energy from the two antennas (of the particular group of four antennas) below the center line. This resultant is then selecdvely cc>upled to the E channel. For example, ener.-Y from antennas 20 and 22 is added and appears at the 7, output of junction 42 and energy from antennas 21 and 23 is added and appears at the 7, output of junction 43. These two I outputs are then subtracted and the resultant appears at the A output of junction 49. This A output is coupled to the E channel by directional coupler 68. (VI) For the A mode, in each group of four antennas, energy from one of the two antennas above the horizontal center line is subtracted from the output fro--tn the other, and this resultant is added to the difference between the outputs of the two antennas (of the particular group of four antennas) below the center line. This resultant is then selectively coupled to the A channel. For example, energy from antenna 20 is subtracted from energy from antenna 22 and the resultant appears at the A output of junction 42. Energy from antenna 21 is subtracted from energy from antenna 23 and this resultatit appears at the a output of junction 43. These two A 6 outputs are than added and appear at the 2 output of junction 48. This I output is coupled to the A channel by -directional coupler 60. To summarize, in the E mode, energy from two antennas is fi@rst added and this resultant subtracted from the additive sum of ener.- y from two other antennas. In the A mode, en.-rgy from two antennas is first subtracted and this resultant added to the resultant of the difference of outputs of two other antennas. The order of addin.- and 10 subtractin@ is of no import. The whole system could just as well h@ve been designed so that the E outputs were formed by a subtraction and then an addition instead of by the reverse process as here. This is true of the A mode also. The addition and subtractions may, if desired, be 15 intermixed. With the above description of the invention in mind, the following statements may aid in a complete understanding of the invention. The operation of prior art monopulse systems can be summarily stated as follows: 20 Sum mode, all outputs from the feed antennas have been added to,-ether; Azimuth mode, all outputs from the feed antennas to the left of center have been addcd to,-ether and this composite signal subtracted from the composite signal resulting from the addition of all outputs from feed 25 to the right of the center of the antenna array; Elevation ruode, all outputs from feed above center have been added together and this composite si.-nal subtracted from the composie signal formed by the addition of all outputs from antennas belo@v the center of the feed array. In 30 practice, the prior art elevation and azimuth signals are actually formed by a series of intermixed additions and subtractions, but the result is the same as if the comparisons were carried out as stated above with just ore subtraction in each difference mode. 35 The present invention includes the realization that the way to get patterns of similar directivity in each mode of operation of a monopulse feed array is to change the size of the array, either actually or effectively for each of the various modes involved. The invention also includes 40 the concept that independent control of a plurality of monopulse modes of operation can be achie-ved by carrying out all summations after comparison selectively accordin@ to the mode. In this selective process, -in forming particular mode signals certain outputs are either com45 pletely ignored or are included only after bein.- reduced in magnitude by a desired amount. Although the invention has been d,@scribed in the particular confi.auration of a inonopulse radar syslem, it is to be understood that the invention may be applied to 5o other types of antenna systems. For example, one method for obtaining a sequentially-lobing or conical-scanning antenna is to combine the sum and difference signals of a monopulse antenna throu.-h switches or modulators. If a prior art monopulse antenna is employed for this pur55 pose, the resulting sequential-lobing antenna displays poor performance characteristics. However, when independent control means, in accordance with this invention, are provided in the monopulse portion, the sequential-lobing characteristics can be substantially improved. 60 It should also be appreciated that with relation to monopulse systems, the invention is applicable to antenna arrays which may include any desired numbers of antennas of any applicable configuration. Also it rnay be 65 desired in some applications to include multimode horns in combination with other types of ant.--nnas. The invention is describ-,d with pariieular reference to a transmitting or receiving antenna system for conven; ence at various points, but it is to be clearly understood 70 that it is equally applicable to both kinds. Wbile there have been described wbat are at present considered to be the preferred embodiments of this invention, it will be obvious to those skilled in the art that various chan.-es and modifications may be madeth,-rein 75 without departing from the invention, and it is, therefore,

[4]

7 aimed to cover all such chan.-es and modificatiors as faR within the true spirit and scope of the invention. What is

Как компенсировать расходы
на инновационную разработку
Похожие патенты