37443@793 7 embodiment is substantially identical with the embodiment of FIGS. 1 to 10. It is, therefore, deemed unncessary to describ,- this embodiment in detail. With respect to the specific shape of criflce slots 22 in the embodiment illustrated in FIGS. 1 to 10, and the corresponding slots in the otherembodiments, it should be noted that while the illustrative configuration is generally triangular with smoothly convergent side walls, the walls, althou,-h generally convergent, may be of stepped shape, the individual steps bein- of the same or different arcuate length providing predetermined orifice areas as may be desired for effecting predetermined degrees of flow control at different angular positions of the closure -member. Still another configuration may comprise a relatively large area section at the full open end of th-. slot, decreasing sharply to an extended relatively narrow tail section. One of the most important advantages arising from the described constructions, is that effective flow control may be accomplished through an extended an.-le of rotation of the closure member up to about 270'. This compares with a maximum rotation of 90' available in the conventional rotary valve which does noi, of course, permit the degree of control or regulation possible with valves in accordance with this invention. From the foregoing, it will be evident that the present invention provides a novel form of rotary valve which is especially useful for controlling or regulating ffuid flow over a wide range of volumes and pressure with minimum pressure drop, absence of vibration, minimum erosion and other inadequacies of more conventional control valves. It is particularly noteworthy that valves in accordance with this invention are exceptionally simple in construction, comprising only a minimum number of parts, mak@ ing for low cost construction and easy assembly and disassembly. It should also be noted that by reason of the through-conduit configuration of the flow passages, no obstructions will be interposed to the passa.-e of cleaning devices through the flow conduits, so that such operations may be performed without shutting down the flow line or otherwise interfering with fluid flow through the flow lines in which the valves are installed. The variable orifice control valve, baving up to 270' rotation of stem (compared to 90' for a plug or ball valve), allows a considerable wider range of flow coefficient than conventional plug type or ball type control valves. The wider range of fiow coefficient available with the subject invention would allow one valve to handle a wider ran.-e of application. For example, a single 8" variable orifice rotary control valve could satisfactorily handle the same flow range that would o,herwise have required an 8" conventional control valve paralleled with a 4" conventional control valve, or a 6" ball valve paralleled with a 3" ball valve. The dual valve installations previously required would probably require a split range transmitter arrangement or a manual selection of either one valve or the other depending on the flow rate required. In this respect, the single valves with 270' stem rotation would actually provide better resolution and dynamic stability throughout the entire range Df flow than would be possible with the dual arran.aements. This feature can be understood when one realizes that the change in flow coefficient per degree of valve stem rotation will always be less for the variable orifice rotary control valve, in accordance with this invention, than for the conventional ball or plug type control valve; for example, the first 90' of rotation would provide much less total change in flow coefficient than for a single conventional type valve of the same size. The second 90' of rotation would provide less change in flow coefficient than the next smaller conventional valve in a parallel control valve installation. 8 Tn pressure reducing service, the variable orifice valve will have the unique advantage of constant straight through laminar flow. There will be no bending of the flow pattern, thereby materially reducing the attendant noise characteris',ic of other pressure reducin- valves. This will substantially reduce the high cost of noise abatement in residental areas. The inlet and outlet of the variable oriflce valve will always have the same cross sectfonal area, thereby giving balanced valve characteristics and reducing the torque 10 necessary to actuate the valve. With reduction of torque it will no longer be iiecessary to have large, and expensive, valve operators to motorize this valve. The sensitivity of this valve will be better than any 15 globe type valve because of the constant equality of the inlet and outlet cross sectional area of the plug opeiiing in the balanced-type, symmetrical embodiments heretofore described. It is characteristic of control valves tbat, when the valve is near the closed position, percentage of 20 total flow chan-es relatively rapidly, that is, not in a linear fashion, with v@alve stem travel or valve stem rotation. The flow versus valve rotation curve of the variable orifice valve is essentially linear, even close to the seatin- position, because of the equality of the inlet and outle@t cross 25 sectional area of the plug openill-,' An additional advantage of the variable orifice valve, particularly of symmetrical plug embodiments (FIGS. 1-10 and FIGS. 13, 14), is that it may be worked on in the line without removid@ the actuator from the valve 30 or removing the valve fr'om the flow line. Also, if tbc upstream seal becomes dama-ed due to impingement, as frequently occurs to all cont@rol valves, the downstream seal can be moved to the upstream position by simply removing the plug from the body, changin-. ends and 35 replacin.- the plug. These are tremendous advantages in reducing maintenance and operation costs or pressure reduction stations and flow control processes. Finally, the plu- opening of the variable orifice control valve is pipeline @size in the fully opened position. This 40 results in absolutely minimum pressure drop when fully opened. It will be understood that numerous modifications and variations may be made in the details of valves in accordance with this invention within the scope of the 45 app,nd,d claims but without departing from the spirit of this invention. What I claim and desire to secure by LetLers Patent is: 1. A rotary valve comprising: (1) a casing defining a closure-receiving chamber hav50 ing a main axis and baving openings communicating with said chamber at spaced points to define a flowway therethrou,-h disposed at an acute angle to the main axis of said chamber, (2) a closure member rotatably disposed in said cham55 ber and comprising: (a) a body shaped to fit said chamber and having an axis of rotation coaxial with said chamber axis, (b) a flow passage extending through said body 60 generally at said acute angle witli respect to said axis of rotation whereby to be in register with said openings at the full flowway-open position of said closure member, (c) at least one end of said passa,-e defining an 65 elongate slot extending circumferentially of said body and de@fined by conver@ent walls inclined to intersect said passage at'an acute an.cle to the axis of said passage, (d) said body having a nonslotted portion be7o tween the opposite ends of said slot defining a closure portion adapted to close off a flowway opening in the flowway-closing position of the closure member, (e) said slot cooperating with the related flow75 way opening to vary the effective cross-sectional 9 area of the flowway in accordance with the an.-ular position of the slot relative to the openina, while maintainin.- substantially straight-line flow throu.-h the flowway at all valve-open positions. 2. A rotary valve according to claim 1, wherein the acute an.-le at which said slot inters-@cts said passage is substantially equal to but opposite the angle between the axis of said passa.-e and said axis of rotation. 3. A rotary valve according to claim 1, wherein said slot has an arcuate len,@th of from about 90' to about 270'. 4. A rotary valve according to claim I having an operatin,a stem projecting from the closure member along said axis of rotation. 5. A rotary valve according to claim 1, wherein said closure member is of generally cylindrical shape. 6. A rotary valve accordin.- to claim 1, wherein said closure member is of -enerally frusto-conical shape. 7. A rotary valve accordin.- to claim 1, wherein said closure member is of a -enerally ball-shape. S. A rotary valve comprisin.-: (1) a casing definin.- a clostire-receividg chamber having a main axis and havin.- openings communicating with said chamber at spaced points to define a flowway therethrou.-h disposed at an acute angle to the main axis of said chamber, (2) a closure member rotatably disposed in said chamand comprisin,-: (a) a body shaped to fit said chamber and having (b) (c) (d) an axis of rotation coaxial with said chamber axis, a flow passa.-e extendin.- through said body ,-enerally at said actite angle with respect to said axis of rotation whereby to be in re.@ister with said openin.-s at the flowway-open position of said closure member, each end of said passa-,e definin.a an elongate slot extending eircumferentially of said body and defined by convergent walls inclined to intersect said passa.,e at an acute angle to the axis of said passa-e, said body having a nonslotted portion between the opposite ends of each of said slots definin- closure portions adapted to close off the related flowway openings in the flowway-closin.position of the closure member, (e) the slots extending in opposite directions 3,443,793 10 about the body and inclined toward one anotber and angularly offset with respect to one another so that said nonslotted portions will be on opposite sides of said body, (f) said slots cooperatin- with the related flow5 way openings to vary the effective cross-section al area of the flowway in accordance with the angular position of the slots relative to the ope nings while maintaining substantially 10 strai ,-ht-line flow through the flowway at all valv e-open positions. 9. A rotary valve in accordance with claim 8, wherein said body has cylindrical stems of equal cross-section projectin- from opposite ends thereof and coaxial with 15 said axis of rotation. 10. A rotary valve according to claim 9, wherein said body is substantially cylindrical throughout its length. 11. A rotary valve according to claim 9, whe rein said bod y is generally ball-shaped. 20 12. A rotary valve according to claim 8, whe rein said body is substantially cylindrical throughout its len.ath. 13. A rotary valve according to claim 8, wherein said body is generally ball-shaped. 14. A rotary valve according to claim 8, wherein said 25 body is of generally frusto-conical shape. 15. A rotary valve according to claim 8, wherein the acute angle at which said slots intersect said passage is substantially equal to but opposite the angle between the axis of said passage and said axis of rotation. 30 16. A rotary valve according to claim 8, wherein each of said slots has an arcuate length of from about 90' to about 270'. References Cited 35 UNITED STATES PATENTS 1,388,673 8/1921 Trainer ------------ 251-209 1,638,152 8/1927 Gabriel ------------ 251-209 2,510,514 6/1950 Mueller ------------ 251-209 2,902,253 9/1959 Pa.-e -------------- 251-209 40 2,911,009 11/1959 Parker ----------- Z51-310 X 3,240,466 3/1966 Meyer ----------- 251-205 X FOREIGN PATENTS 588, 396 5/19 47 Gre at Britain. 45 620, 068 5/19 61 Can ada. WALTER A. SCHEEL, Primary Examiner. L. G. MACHLIN, Assistant Exan7iner.
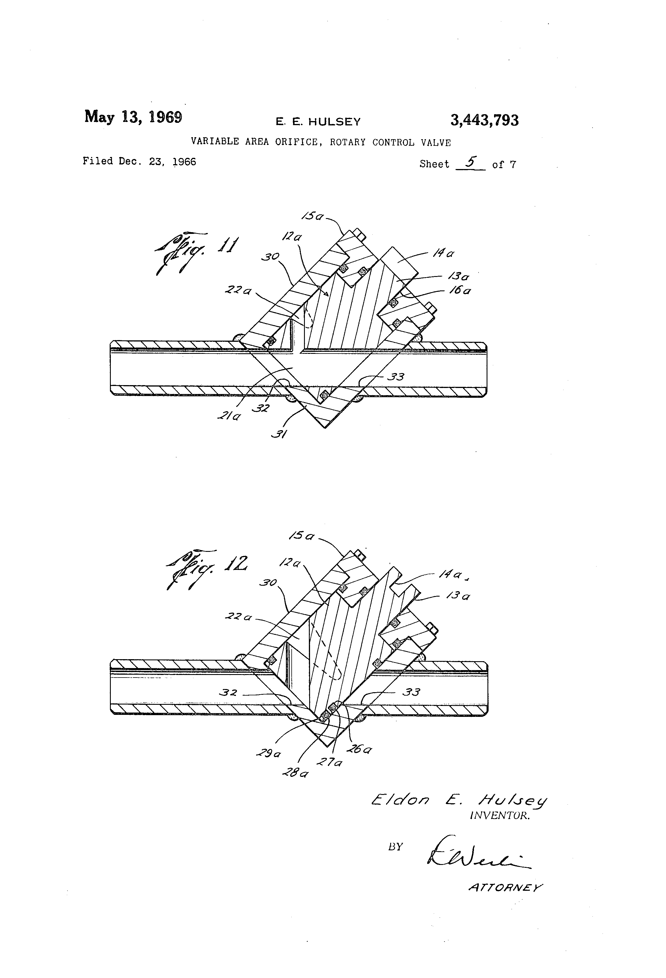
-or 17 0 la AV% 31443@793 unitect 6tates 'ratent Office Patented May 13, 1969 2 desirable pressure drops even when the valve is fully open. SUMMARY Valves, in accorda nce with the present inventio n, may be describe d generall y as rotarytype angle valves. They are angle valves in the sense that the flowway through the valve, as determi ned by opposed inlet and outlet opening s, is at an acute angle not greater than 45' to the main or longitudi nal axis of the valve casing, so that when the 10 casing is installed in a flow conduit with the flowway of the valve substanti ally coaxial with the flow conduit, the valve casing will be dispose d at an angle to the axis of the flow conduit. The casing enclos es a chamb er in which the closur e 15 member is rotatably mounted , the shape of the chamber , as in conventional rotary valves, correspondin g closely to that of the closure member which, as previously noted, may be cylindrical, frusto-conical or ballshaped. The closure member is disposed in the casing for rotation about 20 an axis which is coincide nt with the main or longitudi nal axis of the casing mentioned above. The closure member is provided with a flow passage which extends through the body o)' the closure member, generally at the saine acute angle as that of the flowway so as to register with 25 the latter in the valveopen position. The flow passag e throug h the closur e memb er has at least one end thereo f shape d to form a slot exten ding circtim ferenti ally of the body of the closur e memb er and define d by conve rgent walls which are incline d so as to in30 tersect the flow passag e at an acute angle which is preferably substantially equal to but opposite the angle of the flow passa.- e. The slot, in developme nt, will be of elongate, generally triangular confl.- Uration with an arcuate base, and will extend circumferen tially of the body of 35 the closur e memb er an angula r distanc e, gener ally greate r than 90', and preferably from about 180' to about 270'. The nonslotted portion of the closiire member remaining between the opposite ends of the slot defines a closure 40 portio n adapte d to close off the relate d openi ng in the valve casing when the closur e memb er has been rotate d to the floww ayclosin g positio n. As the slot of the desc ribe d shap e is rotat ed past the flow way ope nin.- I a flow orifi ce thro ugh the valv e is creat - 45 ed which will vary in effecti ve crosssectio nal area in accord ance with the angula r positio n of the slot relativ e to the casing openi ng, while at the same time, the directi on of flow of fluid throu.- h the valve will be maintai ned in a gener ally straigh t-line or throug hcondui t conne ction. The orifice slot may also be descri bed as a spiral slot 50 decre asing in width throug hout its length and inclini ng at an angle to the longitudinal axis of the plug passageway , whereby the inner wall of the slot describes a conic surface sloping inwardly to an apex which is substantially coincident with the longitudinal axis of the passageway . 55 In a prefer red embod iment, the closur e memb er is of the balanced type, being generally cylindrical in shape, having its opposite ends identical in all respects, and having axially disposed stems of equal crosssection pro60 jecting from both ends thereo f and suitabl y journa lled in end caps or bonne ts secure d to and closin g the opposi te ends of the valve casing. In this embodiment , the flow passage through the plug member wiff be generally cylindrical, terminating at its opposite ends in identical orifice slots of the form previously described. In this 65 embod iment, the orifice slots will be angula rly offset and extend in opposite directions eircumfere ntially of the closure member and sloping inwardly of the closure member toward one another. The offset will be such as to provide nonslotted portions on opposite sides of the 70 closur e memb er adapte d to registe r with the casing flow ports in the closed position. 3,443,793 VARIABLE AREA ORIFICE, ROTARY CONTROL VALVE Eldon E. Hulsey, 5747 Warm Springs, Hou@iton, Tex. 77035 -Continuation-in-part of application Ser. No. 492,475, Oct. 4, 1965. This application Dec. 23, 1966, Ser. No. 604,414 Int. Cl. F16k 5104, 5110 U.S. Cl. 251-209 16 Claims ABSTRACT OF THE DISCLOSURE A rotary control valve of the plug or ball-type having spiral variable area orifice flow port and flow passage designs adapted to permit selective and variable control of fluid flow over a wide ran@e of settings while maintaining at all settings stibstantially straight-line or throughconduit flow. This application is a continuation-in-part of my copendin,@ application Ser. No. 492,475, filed Oct. 4, 1965, for Variable Orifice Plug-Type Valve. BACKGROUND OF THE INVENTION The iinvention is directed to improvements in control valves and more particularly in control valves of the rotary type. This type includes generally those forms of valves commonly knonvn as plug valves and ball valves. More specifically, the invention is directed to improvements in rotary type valves enabling employment of such valves as re,- Ulator or control valves whigh will perniit a wide ran.-e of settings of the valve between the open and close positions while, at all such settings, maintaining strai-ght-line or through-conduit Ilow through the valve. Present control or regulating valves are generally of the globe or needle type which, by nature of their constructions, necessarily produce sharp changes in direction of flow of fluid through the valve, particularly at throttlin,a settin.-s, with resultant hi.-h rates of erosion, severe vibration, and substantial pressure drops even in the full open position, partic@ularly when controlling high pressure, hi-h volume fluid flows. In the transmission of large volume, high pressure gas streams, for example, the changes in direction occurring. in conventional regulating valves results in a high degree of turbulence and substantial pressure drop even in the full open position, with accompanyin.- temperature reduction which is favorable to the formation of solid hydrates, when moisture is present in the gas. These hydrates tend to clo.- the valve passages and causes operating and regulatina difficulties well-known to those experienced in this art. The various deficiencies and problems connected with prior art regulatin.- and control valves are overcome by the provision, in accordance with this invention, of an improved rotary-type valve. Rotary valves of the plug or ball type, while of comparatively simple construction as compared with globe and needle type valves commonly used for fluid 'low regulation or control, have not heretofore been used for such operations, because of their limited angular movement, 90', from fully open to fully closed positions, and because the shapes of their flow passages do not permit close control of fluid flow through the valves. Moreover, in their partly open positions, surfaces are interposed in the path of fluid flow causing abrupt chan.-es in direc@ tion of flow which, as noted previously, will often be accompanied by severe erosion and vibration and un- 3)443)793 3 Other and more specific objects and advantages of this invention will become more readily apparent from the following detailed description when read in conjunction with the accompanying drawing which illustrates several useful embodiments in accordance with this invention. 5 In the drawing: FIG. I is a transverse cross-sectional view of one embodiment of a valve in accordance with this invention, the closure member being of cylindrical and symmetrical configuration, and illustrated in the fully open position; 10 FIGS. 2 and 3 are views similar to FIG. I showing the closi-ire member respectively in minimum open and fullv closed positions; FIG. 4 is a longitudinal axial sectional view of the closure member illustrated in FIGS. 1, 2 and 3, the section 15 being taken alon.- line 4-4 of FIG. 5; FIGS. 5, 6 and 7 are elevational views of the closure member taken at different angular positions thereof; FIGS. 8, 9 and 10 are perspective elevational views of the closure member viewed at an an.-le corresponding to 2.0 the longitudinal axis of the flow passa.-e throtigh the closure member, the several views illustrating the change in area of the flow passa.-e as the closure member is rotated from the fully open position, through an intermediate open position, to the minimum open position; 25 FIG. 1 1 is a cross-sectional view of another embodiment in accordance with this invention, comprising an angle valve in which the closure member corresponds substantially to one-half the closure member of the embodiment illustrated in FIGS. I to 10, inclusive, the closure member 30 being shown in the fully open position; FIG. 12 is a view similar to FIG. 11 showin.- the closure member in the fully closed position; FIG. 13 is a cross-sectional view of a ball-valve embodiment in accordance Nvith this invention, the ball- q@; shaped closure member being shown in the fully open position; FIG. 14 is a perspective elevational view of the closure member of FIG. 13, viewed at an angle corresponding to the longittidinal axis of the flow passage through the clos- 40 ure member; FIG. 15 is a cross-sectional view of another embodiment in accordance with this invention wherein the closure member is of frusto-conical configuration, the valve being shown in the fully open position; 45 FIGS. 16 and 17 are elevational views at different angular positions of the closure member of FIG. 15; and FIG. 18 is a view showing the general confl.auration of the orifice slots of the several illustrative embodiments. 50 DESCRIPTION Referring first to FIGS. I to 10, inclusive, which illustrate a preferred balanced-type valve in accordance with this invention, the valve includes a casing 10 having a generally cylindrical bore definin- a chamber 11 adapt- 55 ed to receive a closure member; d'esi.-nated generally by the numeral 12, of -Cnerally cylindrical shape snugly fitting the bore wall of chamber 11, the wall forming a seat for the closure member. Closure member 12 is provided with oppositely extending cylindrical extensions 60 or stems 13-13 of identical cross-sectional area provided .with transverse notches 14 at the outer ends of the stems. Notches 14 are intended, in the form shown, to symbolically represent means for connecting a valve operator of any suitable and generally conventional forni 65 adapted to rotatc closure member 12 in operation of the valve. The opposite ends of casing 10 are closed by means of end caps or bonnets 15-15 havin,a central openings 16-16 to receive stems 13 and provided with suitable packin.- 17 for sealing off about the stems. Additional 70 packing 18 is providcd between the bonnets and the wall of chamber 11 to close the ends of the chamber about the closure member. Casin- 10 is provided with registerin- openin.-s 19-19 at diametrically opposite sides of the casing disposed on 75 4 an axis extendin,a at an acute angle to the longitudinal axis of casin.- 10. Openir@gs 19 define the inlet and outlet flow ports for the valve to which are connected nozzles 20-- 20 by means of which the valve may be connected into a flow conduit to be controlled by the val,@,e. As so arran.-ed, it will be seen that the valve is of the so-called "an.-le" type, in that the main axis of the valve casin@- is disposed at an acute an@-le with respect to the longitudinal axis of flow conduit in which it is mounted. Closure member 12 is,. as previously noted, of cylindrical shape and, as best seen in FIGS. 4 to 7, inclusive, has a flow passa,@e 21 extendin.- therethrough along an axis b-b at an acute angle x with respect to the longitudinal axis of the closure member, indicated @by the broken line a-a, so as to be coincident with tl-ie axis of the flbwway throu.-h the valve when the closure member is in the valveopen position. The basic shape of flow passa,@e 21 is generally cyli-.idrical. The opposite ends, however, terminate in orifice slots 22 of identical shape, but oppositely oriented, as will appear subsequently. As previously described, slots 22 extends generally circumferentially of the closure member and are defined by convergent walls 23, 24 wbich are inclined inwardly of the bc>dy of the closure member so as to intersect flow passa@-e 21 at an acute angle y, which is preferably equal to but opposite the an-,le x of the flow passage, as indicated by axial center line c-c in FIG. 4. In development, slots 22 will have an clon-@ate, generally triangular confi@-uration with arcuate bases and will be oriented to extend in oppoosite directions about the closure body and to be angularly offset, as illustrated in FIG. 18. The nonslotted portions of the body between the opposile ends of the slots 22 define closure portions 25 adapted to re,-ister with the relat-,d flow ports 19 in the flowway-closing position of th-. closure member. Clostire portions 25 may be enclosed by seal rings 26, such as conventional 0-rings, seated in elliptically shaped -rooves 27 to form fluidtight seals arOLind each of the flow ports 19 when the vatv,- is in the flowwiyclosing position, FIG. 3. A circumferential seal rin.a 28 is seated in a suitable groove 29 extending circumferentially abotit the closure member at its midpoint, whereby to seal off the closure chamber between the inlet and outlet ends thereof. In .-eneral, the arcuate length of each slot 22 will be greater than 90' and preferably from about 180' to 270'. This extended len-th of the slot will permit rotation 'of the closure member t'hrough an angle up to 270' between its fully closed and fully opened positions, thereby providine! an extended ran.-e of variation in the orifice area for accurately controllin@ flow of fluid throu,@h the valve. By constrlicting the slots to have the configuration described, it will be seen that inner wall 23 will describe a surface of inwardly sloping, generally coriical shape having its apex 24a nearly coincident with the longitlidinal axis of flow passage 21. As a result of the respective shapes and disposition of the slots and flow passage, it will be seen that at any an.-ular position of slots 22, with respect tc) flow ports 19, a flow passage will be provided through the valve which will be generally straight line, that is, parallel to the longitudinal axis of flow passage 21 It all positions between ,maximum or fully open and minimum open. This characteristic of the valve is bestillustrated in FIGS. 8 to 10 where the closure member is illustrated as viewed along the axis of the flowway through the valve. It will be seen that in the fully open position (FIG. 8) flow passage 21 will be coincident and flush with flow ports 19. FIG. 9 shows an intermediate open position, and while the openin- defined by flow passage 21 is shown to ;be somewhat elliptical rather than circular, it nevertheless defines a substantial strai-ht-line passageway through the closure meniber and th, valve. In FIG. 10, the openin.@ defining flow passage 21 is at the mi@iimum open dimension, but again, it will be seen that the passa,@e is generally circular and coaxial with the flowway through the valve. It should be noted that when the valve is viewed 3;443,798 5 alon.- the axis of the flowway defined by ports 19, flow passa.-e 21 will -ive the appearance of a radially expanding and contracting orifice as the slots in the closure member are rotated past flow ports 19. The cross-sectional views illustrated in FIGS. I and 2 5 show the strai.-ht-line flow path through the valve at fully open and partially open positions of the closure member. FIG. 3 illustrates the ftilly closed position wherein closure portions 25 are shown in scaling position over the related flow ports 19. Packing 28 precludes fluid leakage 10 from one side of the valve to the other. With the symmetrical balanced construction of the embodimen t illustrated in FIGS. 1 to 10, the closure member may be turned end-for-end, if desired, so that either end may be connected to an operator, or for any other 15 reason which may make it desirable or expendient to so reverse the ends of the closure member. Angles x and y are, as previously noted, acute angles and preferably will be in the range from about 30' to slightly less than 45', depending on the size of the valve, 20 that is, the diameter of the flowway through the valve. In general, the larger the flowway diameter, the larger the an-le. For example, in a nominal 2 inch valve, angles x and y will be approximately 37', while in a nominal 20 inch valve, these angles will be approximately 42.5'. 25 It will be seen that with the balanced symmetrical construction heretofore described not only will the flow throu.-h the flow passage be substantially strai.aht-line or throughconduit flow at all valve-open positions of the closure member, btit by reason of the identical configura- 30 tion and dimensions of both the inlet and outlet orifice slots and their reversed relationship with respect to one another, the orifice area, both at the inlet and outlet ends of the flow passage, will be identical at all open positions, with the result that there will be substantially no pres- 35 sure drop across the valve when full open. The straightline character of the flow will, of course, reduce turbulence to a @minimum at any opening. This is a highly desirable and important characteristic in a control valve, since it eliminates many of the problems encountered with 40 more conventional types of control valves. FIGS. 11 and 12 illustrate another embodiment in which the closure member corresponds substantially to one-half of the closure member employed in the previously described embodiment. 4r As illustrated, the valve in accordance with this em- 0 bodimen t comprises a tubular casing 30 closed at one end by an end wall 31 baving a flow port 32 therethrough which is coaxial with a flow port 33 in the side wall of casing 30, the common axis of the flow ports being thus 50 disposed at an acute angle to the Ion.-itudinal axis of cas in.- 30. A closure member or plug, designated generally by the numeral 12a of cylindrical shape and corresponding - enerally to one-half of closure member 12, is rotatably mounted in the bore of casing 30 and is pro- 55 vided with a flow passa.-e 21a which opens at one end through the inner end of plug 34 in registry with flow port 32. The flow passage extends generally through the plug at an an,-le substantially coincident with that of the axis of the flowway defined by flow ports 32 and 33. The 60 opposite end of flow passa.-e 21a terminates in an orifice slot 22a identical in shape and arrangement with one of the slots 22 of the previously described embodiment and which When rotated past flow port 33 as the plug is tumed will correspondingly vary the area of the flowway r)5 throu-h the valve. The outer end of plug 12a will be provided@with a cylindrical operating stem 13a having an operatorconnectina notch 14a, extending throu-h an openin- 16a in a b@onnet 15a which closes the ouier end of casing 30. 70 Plug 12a, in the pre-viously described embodiment, will have a closure portion 25a defined by the nonslotted sur_ face extending between the opposite ends of slot 22a. The closure portion is enclosed by an annular packing 27a, seated in a groove 26a, to seal off about flow port 75 6 33 when the plug is rotated to the flowway-closing position, as seen in FIG. 12. The inner end of plug 12 is provided with the circumferential seal packing 28a seated in groove 29a to seal off between the inner end of the plug and the wall of casing 30. With the angle valve embodiment of FIGS. 11 and 12, it will be seen that substantially straight-line or throughconduit flow through the valve will be provided at all open positions of the plug, that is, at all positions of slot 22a as it is rotated past flow port 33. In this embodiment, however, at any position other than fully open, there will be difference in the area of the flow passa-,e between the inlet and outlet ends thereof, which will produce the desired degree of regulation without loss of all other advantages heretofore described resulting from the angle arrangement and novel flow passage and slot configuration which will be retained in this embodiment. FIGS. 13 and 14 illustrate another embodiment in accordance with this invention in which the closure member or plug is ball-shaped. As illustrated, a generally spherical casing, designated generally by the numeral 35, is constructed of two hemispherical segments 35a and 35b carrying annular mating Ranges 36 and 37, respectively, adapted to be connected together by bolts 38. The casing encloses a generally spherical closure-receiving chamber 39. Registering flow ports 40-40 communicate with chamber 39 on diametrically opposite sides of casing 35, being positioned to define a flowway through the casing. A ball-shaped closure member or plug 41 is rotatably mounted in chamber 39 and is provided with a flow passage 42 which extends generallydiametrically of the plug and has its major cross-sectional area substantially equal to that of the flowway defined by flow ports 40-40. The opposite ends of ffow passage 42 are defined by spiral orifice slots 43-43 closely similar in convergent and inclined form and arrangement to slots 22 as described above in connection with the embodiment of FIGS. 1 to 10. The nonslotted areas between the ends of each slot define closure portions 46-46 for sealing off about flow ports 40-40 in the flowway-closing position of the plug. Plug 42 is provided with oppositely extending coaxial cylindrical trunnions or stems 44- 44, either one of which may be the operating stem, carrying means, such as the polygonal end portion 45 for connecting to an operator of any suitable and conventional design. Plug 42 will be disposed so that its axis of rotation, as determined by the position of stems 44-44, will be at an acute angle with respect to the longitudinal axis of the flowway defined by flow ports 40 -40. Since the shape and disposition of slots 43-43 relative to ffow passage 42 will be as described previously, substantially straight-line or through-conduit flow will be effected at all positions of s ts 43 when in communication with flow ports 40. Stems 44 extend through diametrically oppositely extending tubular bosses 47-47 which define stuffing boxes 48-48 carrying seal packing 49-49 held in compression about the stems by annular packing glands 50-50 screwed into the ends of the stuffing boxes. The ball-shaped structure as described will provide a fully balanced valve having the several important flow control characteristics and other advantages noted in connection with the previously described embodiments. FIGS. 15 to 17 illustrate another embodiment which is almost identical with the embodiment of FIGS. I to 10, as illustrated and described above. The principal difference is that instead of employing a closure member which is cylindrical, like closure member 12, the present embodiment employs a plug or closure member 51 which is of a generally frusto-conical or tapered shape. As will be evident from examination of FIGS. 15 to 17, in all other respects, such as the flow passage, orifice slots, closure portions, the angular relations of the flowway, flow passages and orifice slot elements to one another, this