заявка
№ US 0003438174
МПК B65B7/28

CONTAINER SEALING MACHINE

Правообладатель:
Номер заявки
4431953
Дата подачи заявки
01.02.1965
Опубликовано
15.04.1969
Страна
US
Как управлять
интеллектуальной собственностью
Чертежи 
12
Реферат

Формула изобретения

claim: 1. Tn a machine for sealing containers with closure caps having a conveyor for moving containers alon- a generally strai.-ht and horizontal path and including a drive 35 for said conveyor, an improved head comprising the combination of a hollow steam chamber, a uni@ary support for said chamber including an adjustor for changing the height of the chamber with respect to the conveyor, means for applvin- caps loosely to the container tops, means for 40 thereafter tightly sealing the containers with the applied caps, belt means includin-, a pair of side belts for -rippin.the containers on the conveyor, all of the aforesaid means being mounted on said cbamber whereby their hei.-ht is simultaneously changed by said adjustor, said conveyor drive mounted on said cbamber and a drive coupling con45 necting said belt means and said sealing means with said conveyor drive including a plurality of elongated interconnected chains havin@. angularly related runs to compensate for changes of chamber hei,-ht for automatically compensating for vertical movement of said head by said 50 adjustor. 2. The machine as claimed in claim I which further comprises improved side belt support means comprisin.the combination of a pair of elongated back-up bars, means for mounting said back-up bars in generally par55 allel relationship on said chamber, a plurality of belt engaging rollers, said rollers being mounted between a plurality of pairs of spaced guide plates, said pairs of guide plates bein@ pivotally coupled toge,her forming elongated roller guides, and said guides being disposed along facing 60 edges of said back-up bars. 3. In a macbine for sealing containers with closure caps having a conveyor for moving containers along a generally straight and horizontal path and including a drive for said conveyor, an improved head comprising the combina65 tion of a hollow steam chamber, a unitary support for said chamber includin.- an adjustor for changing the height of the chamber with respect to the conveyor, means for lightly screwing caps onto container threads, means including a sealing belt and a drag shoe spaced laterally 70 therefrom for ti.-htly screwing the caps onto the co@itainers, belt means for grippin.- the containers on the conveyor, all of the aforesaid means and said conveyor drive being mounted on said chamber wbereby their hei.-ht is simultaneously changed by said adjustor, and a drive coii7,5 plin.- connectidg said belt means and said sealing means

3)438,174 with said conveyor drive includin- a plurality of elongated interconnected chains having angularly related runs and interconnected by meshed pinions and sprocket means for automatically compensating for vertical movement of said head by said adjustor. 4. In a machine for sealing containers with closure caps having a conveyor for moving containers along a generally straight and horizontal path and including a drive for said conveyor, an improved head comprising the combination of a hollow steam chamber, a unitary support for said chamber including an adjustor for changing the height of the chamber with respect to the conveyor, means for li,@htly applying caps to containers on said conveyor, sealin.- means for sealin.- the containers with the applied caps, side belt means for gripping the containers on the conveyor, side belt support means comprising the combination of a pair of elongated back-up bars, means for mounting said back-up bars in generally parallel relationship, a plurality of belt en.-aging rollers, said rollers being mounted between a plurali'y of pairs of spaced guide plates, said pairs of guide plates being pivotally coupled together formin.- elongated roller guides, said guides being disposed along facing edges of said back-up bars, all of the aforesaid means being mounted on said chamber whereby their height is simultaneously changed by said adjustor, a drive coupling connecting said belt means and said sealing means with said conveyor drive including means for automatically compensating for vertical movement of said head by said adjustor, said chamber extending Ion.-itudinally of the conveyor from the cap applyina. means to the sealing means and including steam outlet ports positioned opposite said cap applyin.- means only, and adjustable side covers extendin.- downwardly alon.-side the conveyor. 5. The machine as claimed in claim 3 in which said belt means comprises a pair of cooperating container gripping side belts, a side belt support means comprising the combination of a pair of elon,-ated back-up bars, means for mounti@-ig said back-up bars in generally parallel relationsbip, a plurality of belt engaging rollers, means for pivotally coupling said rollers to.-ether forming clon.-ated roller guides, and said guides being disposed aIGng facin.- ed.aes of said back-up bars. 6. In a machine for sealing containers having a generally straight and horizontal conveyor belt and a pair of cooperating container gripping side belts, an improved side belt support means comprising the combination of a pair of elongated back-up bars, means for mounting said back-up bars in generally parallel relationship, a plurality of belt engaging rollers, said rollers being mounted between a plurality of pairs of spaced guide plates, said pairs of guide plates being pivotally coupled together forming elongated roller guides, and said guides being disposed along facing edges of said back-up bars. 7. In a machine for sealing containers having a gen- 55 53-314, 317 erally straight and horizontal conveyor belt and a pair of 12 cooperating container gripping side belts, an improved side belt support means comprising the combination of a pair of elongated back-up bars, means for mounting said backup bars in generally parallel relationship, a plurality of belt engaging rollers, said rollers being mounted between a plurality of pairs of spaced guide plates, each pair of -Uide plates mounting a plurality of rollers, said pairs of guide plates being pivotally coupled together forining elongated roller guides, and said guides being disposed 10 alon- facing edges of said back-up bars. 8. A machine as claimed in claim 4 in which said side covers are mounted on the side belt support means. 9. The machine as claimed in claim 4 which includes a cap feed chute comprising an elongated hollow steam 15 chamber including top, bottom and side members, means for adjusting the space between said top and bottom members, a hollow cap support rail on said bottom member for slideably engaging the bottoms of caps, means for admitting steam into said rail, a r)lurality of steam out20 lets positioned in said support rail positioned to direct steam against the undersides of the caps, and a hollow steam chamber extending longitudinally of the conveyor at the area where the caps are applied to the containers and having adjustable side covers extending downwardly 25 along the side of the conveyor. 10. A machine as claimed in claim 9 including a hollow cap guide rail on said top member, means for admitting steam into said rail and a plurality of steam outlets in said rail positioned to direct steam against the 30 outside of the cap tops. 11. The machine as claimed in claim I in which said cap applying means comprises a magnetic cap levelinplate, and a drag means positioned to engage an off-center portion of the cap tops. 35 12. The machine as claimed in claim 4 in which said cap applying means comprises a magnetic cap leveling plate, and a drag means positioned to engage an off-center portion of the cap tops. 40 References Cited UNITED STATES PATENTS 2,352,761 7/1944 Bell -------------- 53-114 X 2,630,959 3/1953 Brown ------------ 53-317 X 2,735,600 2/1956 Hohl et al - ---------- 53-110 45 2,869,300 111959 Stover ------------ 53-313 X 2,942,394 6/1960 Biering et al - -------- 53-314 3,054,234 9/1962 Stover 53-317 X 3,289,383 12/1966 Foss -------------- 53-110 X 2,768,487 1011956 Day et al - ------------ 53-11 50 3,274,748 9/1966 Roberts et al - ----- -- 53-11 X TRAVIS S. McGEHEE, Primary Examiner. U.S. Cl. X.R.

Описание

[1]

3 1 4 3 8 2 1 7 4 Utlited States Patent Office Patented Apr. 15, 1969 3,438,174 CONTAINTE4 R SEALING MACHINE George J. Foss and Joseph C. Run,co, Lancaster, and Cecil P. Roberts, Carroll, Ohio, assi-,nors to Anchor Hockin- Glass Corporation, Lancaster, Ohio, a corpo-5 ration of Delawae Filed Feb. 111, 1965, Ser. No. 431,953 int. Cl. B65b 31102 U. S. Cl. 53-110 12 Claims 10 AB STRACT OF THE DISCLOSURE A sealin.- @machine for sealin,@ containers with closure ca ps and including a conveyor belt which carries the fill ed containers successively beneath a cap feeding and 15 ap plying means and then a sealing head which fastens the closure cap onto the container top. The cap feediri,@ an d applyina means as well as the sealing head are all mo unted on a unitary support which also rnounts side 20 bel ts for en@aging and carryin.- the conta;ners past the sea ling head. The ca p feeding and applyin@ means and su pport also includes a hollow steam chamber whicb exten ds around the cap feeding and applying means and the sca lin@ head and which also telescopes down-,va-rdly around 25 the conveyor for the purpose of containing a steam atmo sphere durin.@ the sealing operation for forming a va cuum in the sealed container. All of the above eleme nts'of the machine are incorporated in a unitary structur e so that their hei,@ht is simultaneously adjusted with res pect to the container supportin.a conveyor and means 30 is provided for retainip@g the necessary synchronisin betw een the driven portions including the sealing head, the side belts, and the conveyor belt during this adjustme nt. In addition a-n adjustable cap feed chute and impr oved back-i-7p rollers are provided in the above described 35 combination. The present invention relates to the container sealin.- art and more particularly tO an improved automatic con- 40 tainer sealin.- machine. The sealing machine of the present invention is of the general type wherein filled containers are passed throu,@h the machine in a straight line and wberein these filled containers are sealed with a closure cap durin.- the passage 45 and wherein a vacuum is formed in the sealed packa,@e Strai.-ht line scalin@, machines of this -eneral type are known, however, improvemer-its in operating speed and scalin.- efficie-.lcy have been accompanied by increases in 2 tenance, and easy adjustment inherent in the machine of the present invention. Accordingly, an object of the present invention is to provide an improved container sealin@ machine. Another object of the present invention is to provide a hi.-h-speed sealing machine of stmplified form. Another object of the present invention is to provide an automatic high-speed sealing machine characterized by compact form and requirin.- a minimum of space and useful with existing container conveyors, Another object of the present invention is to provide an efficient high-speed sealing machine which is readily ,ipted for a variety of container sizes and shapes and ad, closure cap designs. Another object of the present invention is to provide a highspeed automatic sealin- machine with an improved synchronized drive system. Other and further objects of the invention will be obvious upon an understanding of the illustrative embodiment about to be described or will be indicated in the appended claims, and various advantages not referrcd to herein will occur to one skilled in the art upon cmployment of the invention in practice. A preferred embodiment of the invention has been chosen for purposes of illustration and description and is shown in the accompanying drawings, forming a part of the specification, wherein: FIG. I is a front elevational view partially cut away illustrating a preferred embodiment of the sealing machin@ of the present invention; FIG. 2 is a top plan view of the machine of FIG. 1; FIG. 3 is a side elevational view of the container entrance end of the machine of FIG. 1; FIG. 4 is a perspective vie@v illustrating the sealing machine head with the steam chamber removed; FIG. 5 is a fra.-Mentary front elevational view partially cut away of the sealing machine head including the cap applicator and cap sealing uriit; FIG. 6 is a top plan view partially cut away of the sealing machine head corresponding to FIG. 5; FIG. 7 is a sectional view of the sealing machine taken along line 7-7 of FIG. 5; FIG. 8 is an enlar,@ed detailed sectional view of the side belt back-up bars; FIGS. 9 and 10 are enlarged sectional views of the cap chute taken along lines 9-9 of FIG. 1 and 10-10 of FIG. 9 respectively. FIG. 11 is an enlarged detailed perspective view partially in section of the lower end of the cap chute and of the size and complexity of the m achines. The machine of 50 the cap applicator; the present invention provides a novel structare for such FIG. 12 is a side elevational view of the chute end and a sealin- machine providin@- improved seali,,i@- while at cap applicator of FIG. 1 1; the same tim,- permittin., a substantial reduction in both FIGS. 13 and 14 are enlarged sectional views of the the size and the complexity of the machine. cap applicator taken along lines 13-13 and 14-14 of The novel machine sttucture, as will be more fully 55 FIG. 12; described below, obtains these improved results while at FIG. 15 is a top plan view of the container side belts the same time providina a machine that ;s readily set up and the side belt back-up bars; and adjusted for handlin.a various types of closure caps FIG. 16 is an enlaroed perspective view of a preferred and a wide variety of container shapes and sizes. The embodiment of the seal'ing unit; rnachine is also parlicularly adapted for use with exist- 60 FIG. 17 is a perspective view of anolher embodiment ing conveyor systems as it incorporates the sealin.- ele- of the s,-alin.- machine with a modified drive system; rinents in an indepe@idently supported and driven head F@TG. 18 is an enlarged fragmentary rear elevational structure. view illustratiig the sealing head drive on the machine of It will be s,-en that these featlires co ' mbine in the new FIG. 17; r,qachine to provide a sealing rnacbine adapted for sub- 65 FIG. 19 is a side clevational view of the head drive stantially universal use and one particularly useful in of FIG. 18; sealing operations best served by relatively simple and FIG. 20 is a fra.-mentary rear elevational view of aninexpensive machines capable of being serviced by tech- other embodiment of the sealing machine illustrating a nicians of ordinary skill. It also provides a machine economically slitable for smaller packin.@ ir.@stallations wliere- 70 chain connected c6nveyor; in considerable savings in plant space and sealing costs FIG. 21 is a fragmentary top plan view of the machine result from the hi.-h-speed, small size, simplified main- of FIG. 20; and

[2]

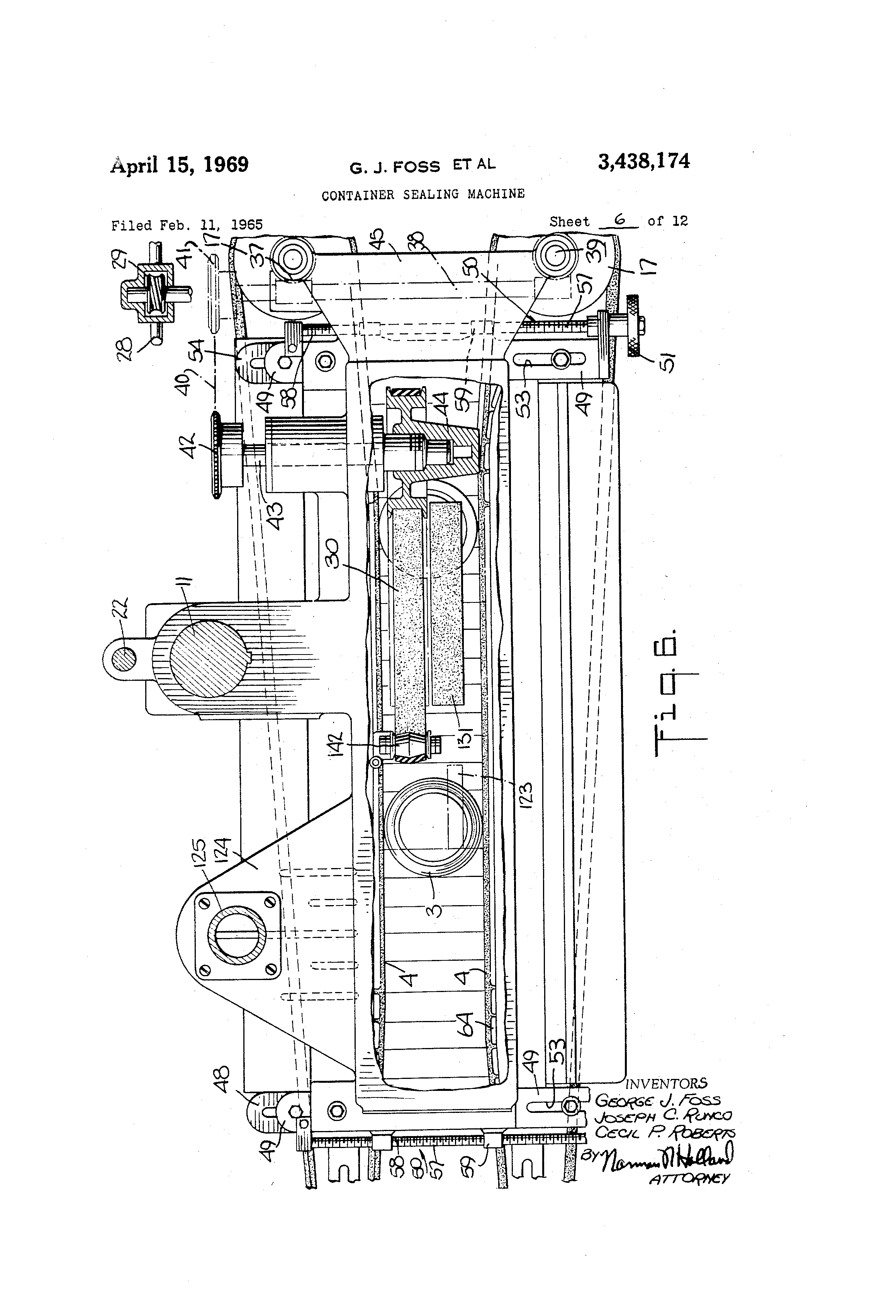
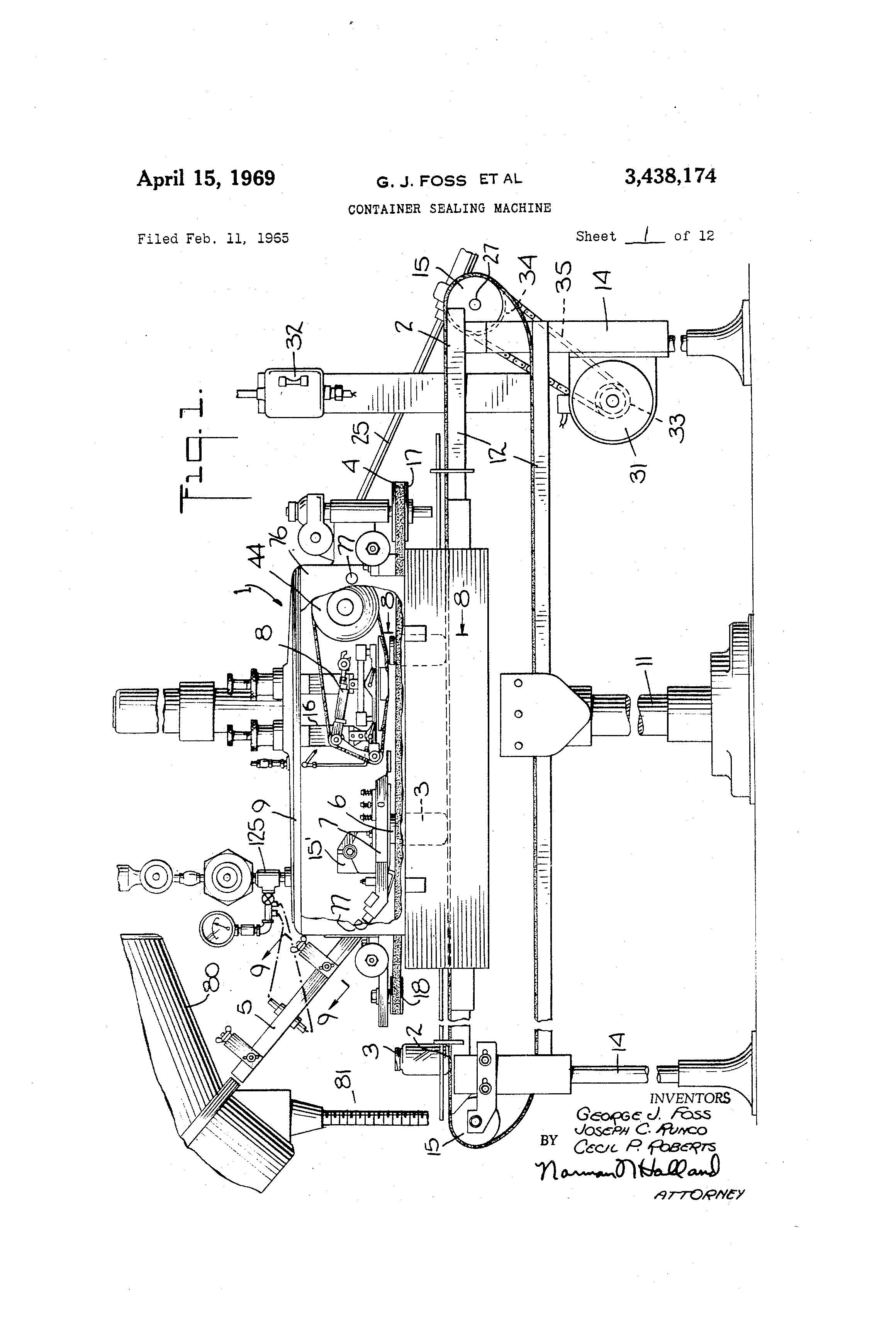
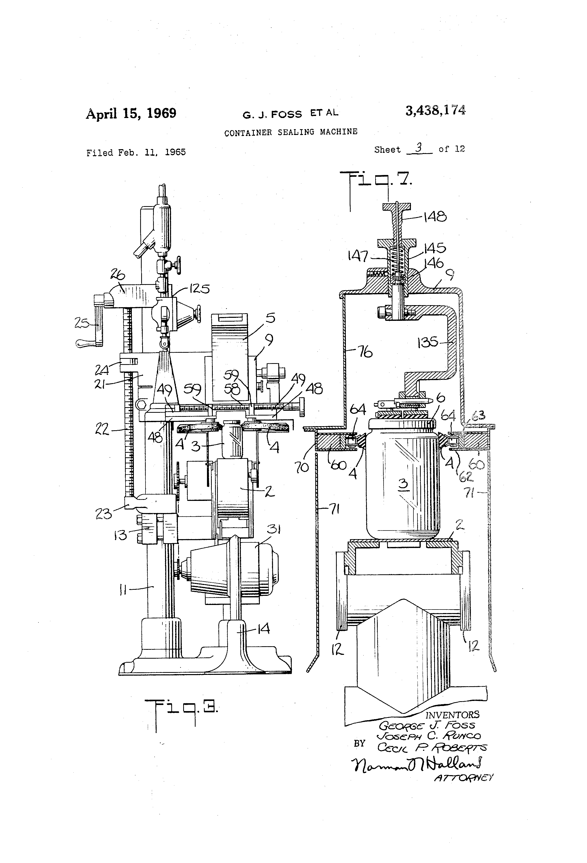
3 FIG. 22 is a sectional view taken along lines 22-22 on FIG. 20. General The embodiment of the sealing machine as illustrated in FIG. 1 at I includes a moving conveyor 2 which carries filled container 3 between a pair of driven side belts 4. The container 3 thus gripped -is carried beneath the end of an inclined cap feed chute 5 which presents an inclined closure cap 6 to the top of the moving container 3 so that the container 3 draws the cap 6 out of the chute 5 into telescoping relationship with its rim. Thereafter a cap applicator 7 levels the cap 6 on the container rim and in the case of a screw cap lightly coaxes it onto the container threads. The container 3 is then moved beneath a sealing unit 8 which presses t'he cap down into tightly sealed engagement with the container finish and for screw caps simultaneously twists it onto the container threads. As seen in FIG. 1, the cap applicator 7 and the sealing unit 8 are mounted within a hollow chamber 9 and the chamber 9 includes steam outlets 10 (FIG. 5) which direct steam into the container 3 headspace prior to the application of the cap 6 and which also maintain a steam atmosphere about the container top as the container 3 is moved beneath the applicator 7 and the sealing unit 8. This causes steam to be trapped within the sealed container whereby its subsequent condensation creates a vacuum in the containers. The side belts 4, the applicator 7, and the sealing unit 8 together with the chamber 9 and the associated drives and steam controls coinprise the sealing machine head. Conveyor and head support al7d drive means As best illustrated in the front, top, and side views of the machine in FIGS. 1, 2 and 3, the improved scalin@ machine is characterized by a central support column 11. The column 11 includes a broad base extending a substantial distance in the direction of the conveyor belt and also extending toward the front of the machine as shown in FIG. 3 to provide a substantial portion of the machine's support including the entire support for the sealing machine head. A frame 12 for the conveyor belt 2 is adjustably mounted on the column 11 by an adjustable bracket 13. The opposite ends of the conveyor frame 12 are stabilized by auxiliary adjustable support posts 14 coupled to the frame adjacent to the conveyor end pulleys 15. The sealing machine head as indicated above includes the chamber 9r having the applicator 7 mounted on an inner wall by a suitable bracket 15 and the sealing unit 8 adjustably mounted from the chamber 9 by a pair of brackets 16. In addition, the side belt end pulleys 17 and IS to,-ether with the side belt back-up bars 19 and 20 (FIG. 15) are also mounted on the opposite ends of chamber 9. As seen in FIG. 3, the chamber 9 is also slidably mounted on the column 11 on the bracket bearing 21 permitting the entire assembly including the side belts 4, the applicator 7, and the sealing unit 8 to be adjusted vertically simultaneously by the single height adjustment provided for the chamber 9. This height adjustment includes a vertical screw 22 rotatably mounted on a clamp 23 and threadedly coupled to the bracket bearing 21 at 24. The screw 22 is rotated by a suitable crank 25 mourited on a post clamp 26 and operatively connected to the screw 22 through right-angled gearing. It will be seen that rotation of the crank 25 in one direction or the other will provide for the adjustment of the height of the sealing machine head including the side belts 4, the applicator 7, and the sealing unit 8, thus permittin.- the sealing machine to be readily adjusted for sealing containers of the varying heights and without reqtiiring independent adjttstments of these elements. The conveyor frame 12 height may also be adjusted 3,438,174 4 usin- the adjustable bracket 13 on the column 11 together with compensating adjustment of the conveyor end posts 14. Tlze sealing n2achine di-ive system 5 It will be seen froin the above general description that there are three cooperating moving elements all of which engage the containers 3 during the sealing operation. These include the conveyor 2 and the side belts 4 which are driven at the same speed so that they cooperate to 10 move, support, and grip the filled containers 3 and a sealing belt 30 (FIG. 5). For press-on caps, the sealing belt 30 is also driven at conveyor speed and for screwtype caps the belt 30 is preferably driven faster than the containers 3 so that it engages an off-center portion 15 of the caps previously applied to the containers andsimultaneously presses and rotates the caps into sealing engagement with the container finish and threads as will be more fully described below in a description of a preferred embodiment of a sealing unit 8 for screw-type 20 closure caps. A novel drive system is provided including a single drive motor 31 conveniently mounted on end post 14 and preferably a variable speed electric motor controlled by a suitable electrical motor control 32. The conveyor 25 2 is driven at the desired speed through the intermediation of a connection to the motor including sprockets 33 and 34 and chain 35. The side belts 4 are driven at the same speed as the conveyor 2 through a positive coupling between the 30 front pulleys 17 for side belts 4 and the drive haft 27 for the conveyor 2 drive pulley 15. As best illustrated in FIG. 2, this coupling includes a ri,-ht an.-le coupling 29 between the shaft 27 and a head drive shaft 28, such 35 as a helical gear coupling. A similar right angle couplin- 36 at the upper end of the head drive shaft 28 connects the shaft 28 to a horizontal head drive shaft 38. A helical gear coupling 37 drives the two side belt pulleys 17 through stipport shafts 39. In order to permit 40 the above described hei@ht adjustment of the head, the portion of the geared coupling 36 at the upper end of the head drive shaft 28 is splined to the shaft 28 permitting it to slide lengthwise of the shaft 29 to compensate for changes in height of shaft 38. The housings for the two couplin,-s 29 and 36 rotate on their respec45 tive shafts 27 and 38 to permit the height adjustrnent. The sealin,@ belt 30 is driven at its desired speed through a suitable positive couplin@ to the horizontal drive shaft 38. The preferred embodiment illustrated in FIG. 6 comprises a chain 40 connecting sprocket 41 on the hori50 zontal shaft 38 to the sprocket 42 mounted on a belt drive shaft 43 which drives the forward sealin,- belt pulley 44. It is clear that the @above described positive connections permit simultaneous speed adjustments of all driven 55 elements by the adjustment of the motor speed and also permit adjustment of the machine head hei.-ht for sealing containers of differing heights while maintaining the necessary synchronization between the various driven elements. 60 Side belt motinting As indicated above, the two side belts 4 which en.-age each container 3 to facilitate its movement past the cap applicator 7 and -the sealing unit 8 are mounted on the sealing machine head so that the heights of the 65 belts 4 are simultaneously adjusted with the adjustment of the height of the head. The support means for each of the belts 4 is illustrated in FIGS. 6, 8 and 15 and include the front pulleys 17 mounted on and driven by the vertical shafts 39 as de7o scribed above. The vertical shafts 39 are supported by a bearin@ bracket 45 mounted on or formed inte.arally with the@chamber 9. A rear pulley 18 is provided for each of the side belts 4 and is adjustablypositioned len.athwise of the conveyor 2 in a slot 47 in the mount75 ing bracket 48. The mounting brackets 48 are attached

[3]

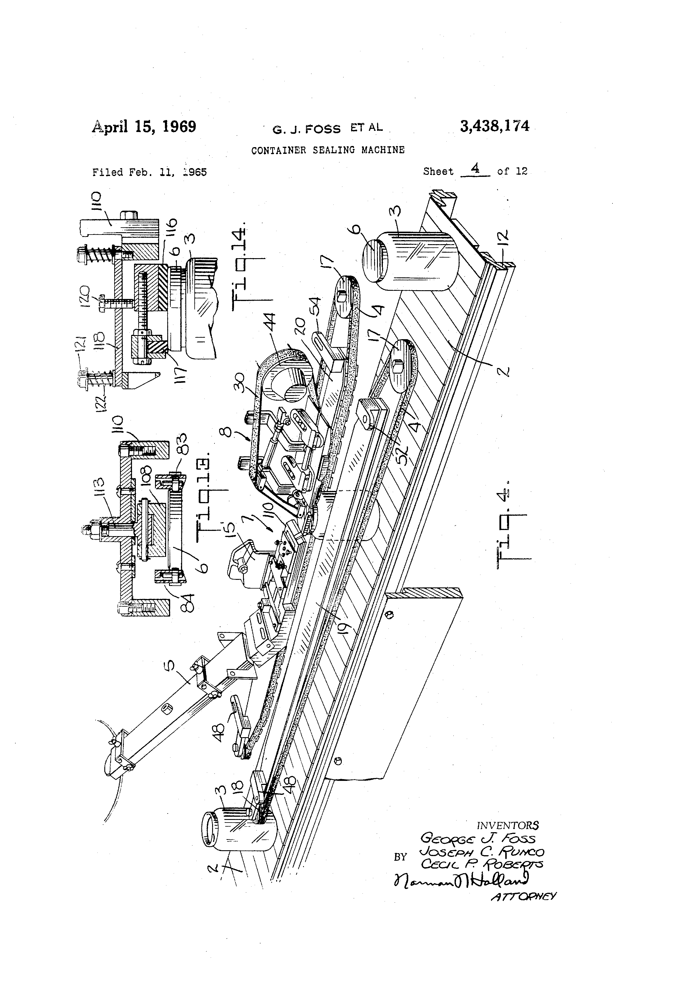
5 to the end of the back-up bars 19 and 20 so that their position laterally of the conveyor 2 is adjusted with the position of the back-up bars 19 and 20. The back-up bars 19 and 20 are adjustably mounted on the head 9 for movement transversely of the conveyor 5 2 to adjust the side belt spacin.@ for containers 3 of differin- diameters. Both bars 19 and 20 are slidably mounted on horizontal support tracks 49 (FIG. 6). The support tracks 49 each support an elongated adjustment screw 50 controlled by a knob 51 conveniently positioned 10 at the front of the sealing machine. The back-up bar 19 has a discharge end support bracket 52 (FIG. 15) and an intake end support bracket 48 slidably connected to the tracks 49 at slo's 53 (FIG. 6) in the tracks 49. The rear back-up bar 20 has its support brackets 54 15 and 48 slidably coupled to the support tracks 49 throu@h the intermediation of slots 55 and 56. The brackets 48, 52, and 54 are coupled to the oppositely threaded portions 57 and 58 of the adjustin.- screws 50 through the intermediation of the threaded connecting arms or nuts 20 59 (FIG. 6). Rotation of the control knobs 51 is thus seen to provide for a controlled adjustment of the spacin@ of the side belts 4 while maintainin- the containers 3 in a central position on the conveyor 2 and with respect to the cap applicator 7 and the sealing head 8. 25 The preferred embodiment of the back-up bars is best illustrated in FIGS. 8 and 15. Each of the bars 19 and 20 is seen to include an elonoated base 60 which cooperates with upper and lower flan.-e members 61 to provide an inwardly facing channel 62. The inner surface of 30 this channel is lined with a non-metallic liner 63 wbich may be a plastic or a rubber-like back-up material and which engaaes an elongated roller guide 64 for each of th-@ side belts 4. The roller guides 64 provide a side belt positioning and friction reducing means to cortrol 35 the contact between the belts 4 and the containers 3. As best seen in FIG. 15, the roller guides 64 are disposed in the channel 62 between an entrance fastener 65 and an exit fastener 66. The preferred embodiment of the roller guide itself includes a plurality of small 40 rollers 67. In order to provide flexibility to conform the roller guides 64 to the channels 62, each pair of rollers 67 are preferably rotatably mounted in upper and lower flared guide plates 68 and the pairs of guide plates 68 are coupled together by pivoted links 69. As best seen 45 in FIG. 8, the belt contacting surfaces of the flared guides 68 support the belts 4 and position them with their inner surfaces in en-agement with the rollers 67. One or th-. other of the guide plates 68 may be omitted in some cases and it is also possible to use rollers havin.- 50 belt guidina Ranges at their ends. As indicated above, the sealing machine of the present invention may have a steam atmosphere within the chamber 9 to provide a vacuum seal. In order to maintain steam within the chamber, the outer edges of the 55 back-up bars 19 and 20 ir@clude a cover section 70 (FIG. 8) which cooperates with the lower portions of the chamber 9 to provide a sealin- surface lengthwise of the cbamber 9. In addition, bottom covers 71 are adjustably connec!ed to the back-up bars so that they 60 extend downwardly alongside of the conveyor 2 a suitable distance to further define the steam zone. The lower covers 71 have spaced ears 72 with slots 73 dispose-d transversely of the sealina machine to permit a lateral adjustment of the covers 71 when the back-up bars 19 G5 and 20 are adjusted to accommodate containers of a partictilar size. This adjustable connection between the back-up bars 19 and 20 and lower covers 71 includes a support angle 74 bolted to the side bar 19 or 20 ai:d a slidable couplin,@ 75 between the lower le.@ of the angle 70 74 and the slots 73 in the ears 72. The above described adjustments of the side bel',s 4 are facilitated by a removable front panel 76 which slides under the top of the chamber 9 and which has its bottom positioned at the cover 70 on the front back-up 75 6 bar 19 and wbich is also detachably connected to the head 9 by knobs 77 (FIG. 1). Tlze cap feed As indicated above caps 6 are fed down an inclined cap chute 5 from a cap hopper 80 which provides a continuous supply of caps 6 positioned with their tops facing upwardly. Suitable hoppers are available for this purpose and the hopper itself does not constitute a part of this invention. Suitable hoppers and related aligning devices for providing continuous supply of caps to the chute are described, for example, in United States Patents Nos. 2,863,588, and 3,065,841 owned by the assignee of the present invention. The hopper 80 is most conveniently mounted on a separate adjustable support 81 permittin,@ adjustment of the height of the lower end of the cap chiite 5 to conform to the particular hei.-ht of the applicator 7 for a specific container 3. The cap chuts 5 directs the closure caps 6 from the hopper 80 to a position in advance of the cap applicator and above the conveyor 2 as best illustrated by the cap 6 in FIG. 1 1. In this position, the cap holdin-, detents 83 at the outer edges of a pair of adjustably spaced end rails 84 hold the cap until a moving container 3 enga,@es the cap and draws it over or through the detents 83 into telescoping relationship with the top of the moving container 3. A preferred embodiment of the cap chute 5 is illustrated in FIGS. 9, 10 and 11. As seen therein, the cap chute 5 comprises relatively rigid top and side rnembers 90 and 91 to provide the necessary mechanical rigidity for the cap chute. Within these members 90 and 91 the caps 6 themselves are fed downwardly through an inclined guide of adjustable width and height. The adjustable width 's PrOvided by the spaced side guides 92 adjustably niounted on bolts 93 and resiliently held at their inner adjusted position by springs 94. The adjustable height for tht; chute is provided by including an inner chute top member 95 adjustably spaced with respect to the chute bottom 96 by means of the bolts 97. The inner top 95 is resiliently held in its adjusted position by sprin@.s 98. In the preferred embodiment of the cap chute, hollow upper and lower rails 99 and 100 are provided. These perform the dual function of providin.- a low-friction rail support for the caps and also of distribiiting steam within the cap and against the outer cover to raise the cap temperatures and to thus soflen the cap gaskets to facilitate the final sealing action. These hollow rails 99 and 100 have steam inlets 101 and 102 which pass the steam into their hollow center permitting the steam to be directed onto the desired portions of the caps throu.-h the outlets 103 and 104 in the upper and lower rails respectively. lt is thus clear that the above described chute has a novel construction which permits its ready adjustment for caps of widely differing diameters and heights and also provides a simplified steam heating means for use where it is desired to pre-heat the closure cap gaskets to soften the gaskets for the sealing action in the sealing unit. The cap applicator After the movin,@ containers 3 havc picked caps from the lower end of the @cap chute 5, it is necessary to correctly position the caps on the tops of the containers preparatory to the final s.-aling action. A preferred embodiment of a cap applicator is illustrated in FIGS. 11 thru 14 for use with screw-type closure caps. This applicator 7, as indicated above, is attached by a suitable bracket 15' to the chamber 9. A pair of levelling plates 108 and 109 are resiliently mounted on a IOD.-itudinal frame 110. The first leveling plate 108 includes a ma,@net 112 for holdin.- ferrous r@ietal caps against the plate 108 and in level posit-@o-.i preferably slightly above the container threads. As seen in FIGS. 11 and 12, the plate 108 has its opposite ends pivotally attached to two connecting rods 113 and 114 slidably

[4]

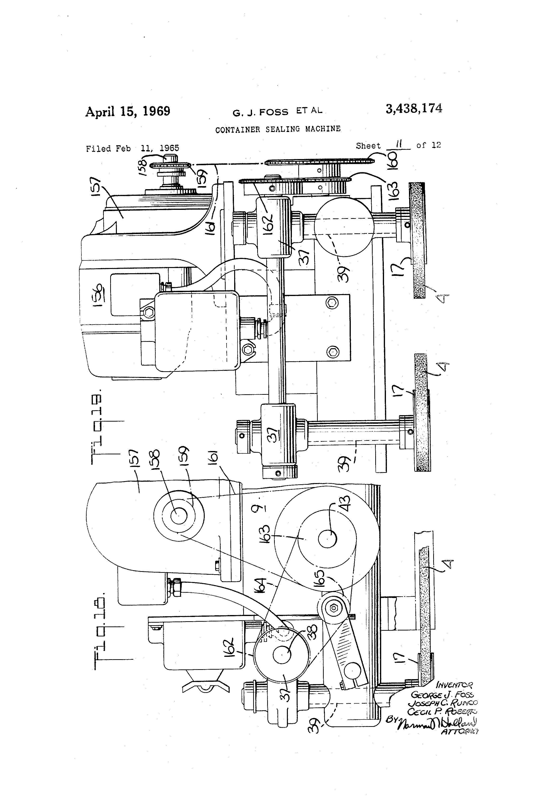
3,438,174 7 attached to the frame 110. A spring 115 yieldably holds the plate 108 downwardly at the level set by the adjustable mounting post 113 and 114. The plate 108 is thlis free to pivot or rise at eitber or both ends on the above described mounting. A friction drag 112' lightly en-ages an off-center portion of each cap top as the cap is dra)@@ onto '5 the container top and -ives it an initial reverse twist to disengage the container threads and to help level the cap before the cap is coaxed onto the container threads. The second plate member 109 is provided to coax or lightly 10 twist the caps onto the container threads. For this purpose it includes a non-friction surface 116 and a drag 117. These adjustably spaced members 116 and 117 contact spaced portions of the movin.- cap 6 to coax or screw it lightly downwardly onto the container threads. The 15 member 109 is also yieldably mounted on the frame 110. The plate member 109 is adjustably and rigidly positioned on a mounting plate 119 by connecting bolts 119 and a hold down screw 120. The mounting plate 118 is floatingly mounted on the end of the frame 110 by three guide 20 posts 121 which permit the mountin,@ plate 120 to lift as necessary against the hold down sprin.-s 122. An additional drag member 123 is positioned beyond the member 109 to retain the cap 6 in its icoaxed position until it reaches the sealing unit 8 which provides the final sealing 25 force. Where the sealin.- machine is being used with press-on caps of the type which do not have threads and which are pressed dwownwardly over a container bead, the drag member 117 is not used and the members such as 10@8 and 30 109 have non-friction surfaces which first level caps in a horizontal position on the container finish and lightly press or wipe the caps against the container finish preparatory to a final downward sealing action at the sealing unit. The steam outlets 10 are positioned adjacent the lower 35 end of the cap chute 5 and along the applicator 7. A hollow manifold 124 fed through steam inlet 125 supplies steam to the outlets 10. The sealing unit 40 As described above, the sealin.- head includes a sealing unit 8 within the chamber 9. This unit provides the final sealing force to press caps downwardly onto the containers and in the case of screw-type caps it simultaneously forces these caps down and rotates them into 45 their final sealed position. A preferred embodiment of a sealing unit 8 for screwtype caps with threads or lugs is illustrated in FIGS. 5, 6 and 16. The container leaving the applicator 7 and with a cap 6 li.-htly turned into engagement with the 50 container threads is passed under the scalin- unit 8 which simultaneously forces the cap down and turns it to its final sealed position. Two cooperating elements are used in the preferred sealin.- unit to obtain this action. As best illustrated in FIG. 16, a drag shoe 130 havin.- 55 a lower friction surface 131 is positioned to engage a marginal area of the near side of the closure cap to provide a drag force rotating the cap in the applying direction on the container threads while also pressing the cap down. The moving belt 30 is positioned by a hold 60 down shoe 133 at an opposite mar.-inal portion of the cap and is driven by the pulley 44 at a speed greater than that of the moving container whereby it also ur.-es the cap to rotate downwardly on the container threads. It is thus clear that the dra.@ shoe 130 and the belt 30 co- 6,5 operate to provide a simultaneous downwardly directed and rotating force on opposite margins of the cap to tum the cap onto the container tbreads. In the preferred embodiment, the drag 130 and the hold down plate 133 for the belt 30 are attached to the 70 chamber 9 of the sealing machine head through the intermediation of a frame 134 mounted on a pair of spaced brackets 16. FIG. 7 illustrates a preferred connection for the mounting brackets 16. The hollow upper portion 145 of the 75 8 brackets 16 -,ire threadedly connected at 146 to the chamber 9 and the lower portion of the brackets 16 which are slidably fitted in upper portions 145 are urged downwardly by springs 147 whose force is controlled by the threaded knobs 148. The vertical positions of the drag shoe 130 and the belt 30 are simultaneously adjusted relative to the chamber 9 by adjustment of the threaded support portions 145 on the chamber 9. The attachment of the drag shoe 130 and the sealing belt 30 hold down plate 133 with the frame 134 preferably comprise a hinged member 136 which is pivotally mounted to permit the drag shoe 130 and the hold down plate 133 to rock about an axis directed longitudinally of the conveyor and to thus permit the belt 30 and the draa shoe 130 to automatically and continuously bear with equal force on the cap tops and to adjust themselves for wear of the belt 30 and the friction surface 131. The hinged member 136 is pivotally connected at 138 to the frame 134. Two vertical posts 140 connect the dra- shoe 130 to one side of the hin.ced member 136 and two posts 140 connect the hold down plate 133 to the other sidd of the hinged member 136. The adjustable screw 135 sets the upper hei@-ht for the drag shoe 130 and a compressed coil spring 135' is positioned between the frame 134 and the hold down plate 133 to compensate for the upward force of the sealin- belt 30 and to cause the belt 30 and the drag shbe 130 to normally engage each cap top with equal force. The scalin.- belt 30 is driven by the pulley 44 and passes over two idler rollers 141 and 142 at the entrance end of the sealing unit 8. The tension on the belt 30 is adjusted by the adjustable spring loaded support rod 143 for the upper pulley 142. The belt 30 provides an effective cap rotating force as lon,a as it moves faster than the conveyor 2. Effective sealing action has been obtained when the sealing belt 30 Tnoves at about twice the speed of the conveyor 2 although other speeds are effective. Where press on caps are being used, the drag shoe 130 is not used and the sealing unit includes a belt of appropriate width to engage the entire cap top surface and preferably driven at the conveyor speed. .4 lternative embodiment for use with independently driven conveyor As described above, the present sealing machine includes a support column 11 adjustably mounting the sealing head 9 including the container side belts 4, the cap applicator 7, and the sealing unit 8. This unitary strticttire makes the machine particularly useful with existing conveyor arrangements since it is merely necessary to locate the support 11 in the proper position with respect to the conveyor and to adjust the height of the various elements with respect to the conveyor as described above. FIGS. 17, 18 and 19 illustrate an embodiment of the machine wherein a separate drive motor is mounted directly on the sealing head 9 to drive the side belts 4 and the sealing belt 30 and to thus provide a complete sealing unit which may be positioned adjacent to an existing conveyor. FIG. 17 illustrates such a conveyor 2 which may be included as a part of the sealing machine or which may be part Of an overall container handlin.a system. A separate drive is provided for such an independent conveyor and in FIG. 17 this separate drive is illustrated as an electric drive motor 150 mounted on a conveyor support 151 having an appropriate speed control unit 152 adjusted by a control handle 153. An output sprocket on the speed control unit 152 is coupled to a sprocket on the conveyor drive shaft 154 by means of a drive chain 155. FIGS. 18 and 19 illustrate a preferred embodiment for the drive for the sealing macbine head 9. This includes a drive motor 156 mounted on the top of the sealing head 9 with a geared output drive box 157 including an output shaft 158. The output shaft 158 is coupled to the cirive shaft 43 for the sealin@ belt pulley 44 (FIG. 17) through the intermediation of'sprockets 159 and 160

[5]

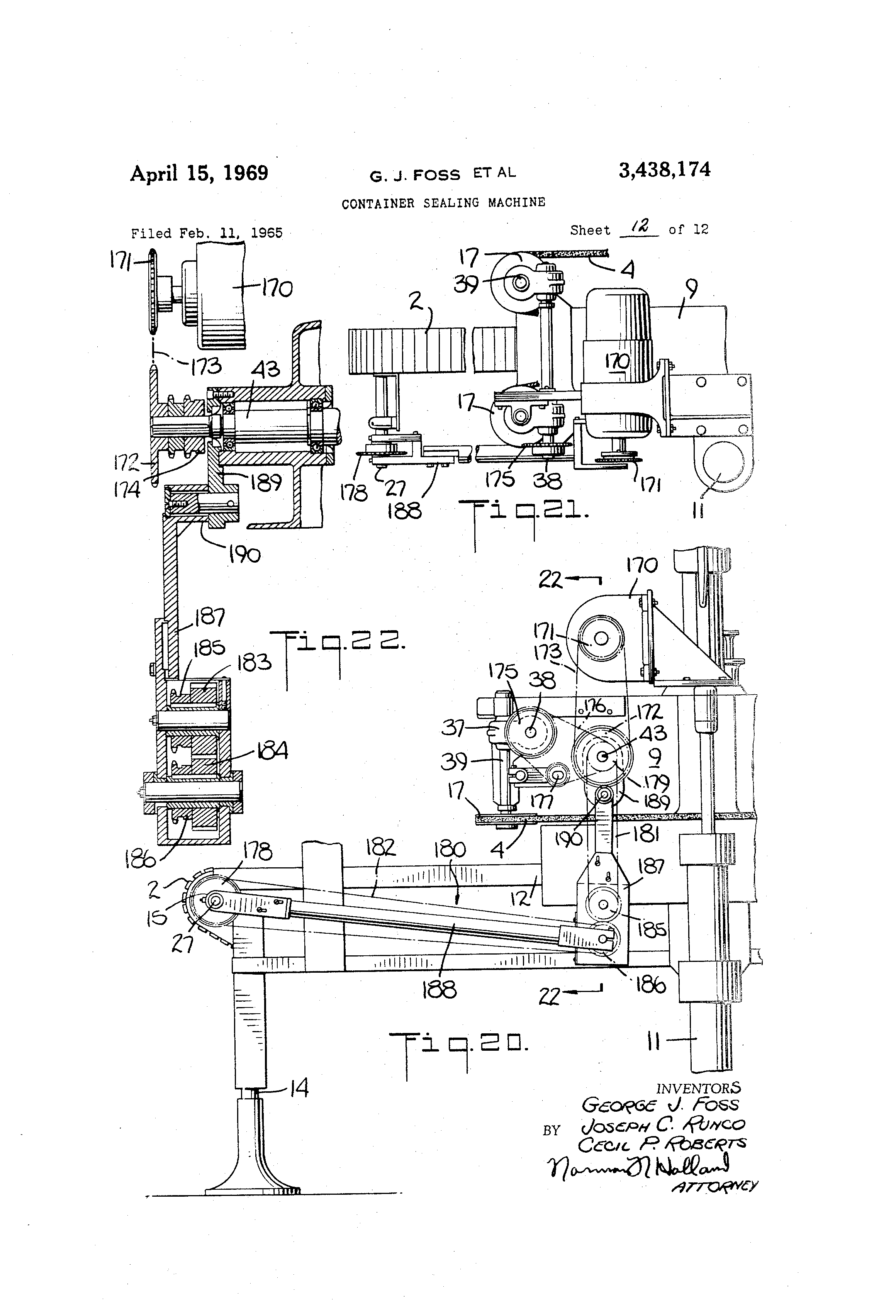
3 ,498,174 9 coupled by a drive chain 161. The side belts 4, as described above, are driven by a horizontal ddve shaft 38 through the intermediation of helical gear couplings 37, vertical shafts 39, and end ptilleys 17. In this embodiment of the machine, the horizontal drive shaft 38 is driven by the drive motor 156 through the intermediation of a sprocket 162 on the drive shaft 38 coupled to the sprocket 163 on the drive shaft 43 by a chain 164. An idler sprocket 165 is adjustably positioned to retain tension on the drive chain 164. Adjustments in the speed of the sealing belt 30 and the side belts 4 for differing conveyor speeds may be made conveniently by choosin.sprockets 160 or 163 having the necessary number of teeth. Since the drive motor 156 is mounted directly on the sealin- head 9, it is clear that the height of the sealin,a head 9 above the conveyor 2 and other necessary adjustments may be made independently of the drive system for the sealing belt and the side belts. A simple and effective sealin- machine is provided for use with an existin,@ conveyor system. ,41tei-iiate embodiment i@,ith a chain di-ii,en conveyotAs described above, the use of a sin.-le adjustable support column 11 for the principal components of the sealin@ machine makes the use of a drive motor mounted directly on the scalir@- head 9 advanta.-eous. Another embodiment of the sealin- machine is illustrated in FIGS. 20 thru 22 wherein the drive motor 170 for the side belts 30 is mounted on the head 9 for adjustment therewith and where in addi.ion a preferred embodiment of a chain coupling is employ,-d to drive the conveyor 2 from this same electric motor 170 and in synchronism with the side belts 4 and the scalin- belt 30. The drive motor 170 is coupled to the drive snaft 43 for th-- scalin- belt pulley through the intermediation of the sprockets 171 and 172 and the chain 173. The horizontal drive shaft 38 which is op-ratively coupled to the side belts 4 as described above is driven from the shaft 43 tbrough the intermediation of the sprocke,s 174 (FlG. 22) and 175 and the drive chain 176 tensioned by an idler sprocket 177. A drive sprocket 178 on the pulley drive shaft 27 for conveyor 2 is coupled to a sprocket 179 on the drive shaft 43 by a chain drive system 180 which compensates for adjustm--nts of the height of the sealing head 9. The chain system 180 includes a p,,ir of elongated drive chains 181 and 182 havin- their runs angularly related and havin- their adjacent ends interconnected at meshed pinions 183 and 184 and sprockets 185 and 186 (FIG. 22). The sprockets and piniods 183 thru 186 are rotatably mounted in the lower eid of a @Uide arm 187 which is pivotally connec,ed to t@e Ion.-itudinal -uide arm 188. The upper end of the guide arm 187 is pivotally attached to bracket 189 at 190 and the longi:udinal arm 188 is pivotally mounted on shaft 27 tbereby permittin.- height adjusiments to be made of sealing head 9 wil,h correspondin- an-ular changes resulting between the arms 187 and 188 and the related drive chains 181 and 192 and without requirin.- any other adjustment of the conveyor drive. It will be seen that a novel sealing machine construction is provided givin.- hi.-h-speed strai,@ht line container sealing wi'h a sealing machine which is both efficient and compact and which is also characterized by relative simplicity and ease of adjustment. In particular, a strai,@ht line sealin@ machine has be--n disclosed with a novel head co,- istruction wherein the cap applying and sealing means as well as the cop'Lainer -rippin.- side belts and the related drives are incorporated in a unitary adjustably mount,-d head and wherein simplified adjustments are provided for both container height and widtli and for bandlin.- of caps of varying diameters and skirt depths. These advanta.-es have been incorporated in a structure which also is adapted for vacuum sealing and wherein an effective steam directin.- and insertion system 10 is provided witbin the head and wherein the above described adjustments are made without affecting the adjustment of or tie operation of the steam system. The sealin.machine is adapted for use wilh existing conveyor systems and may be used with such systems without an attached conveyor of its own. The sealin- machine structure disclosed is also particularly useful for compact installations due to the novel form of its steam chamber wherein effective vacuum scalin@ is obtained wi@h a tunnel which terminates adja10 cent to the cap feeding chute and which permi@s the associated cap feedin.- hopper and inclined chute to be located immediately adjacent to the end of the tunnel with unobstructed access in a direct path above the conveyor 15 and into the cap applicator. The improved machine is also characterized by the mounting of container grippin- side belts directly onto the vacuum chamber of the machine head whereby the side belts' height may be adjusted simultaneously with 20 the adjustment of the cap applicator and the sealing head and wberein these adjustments may be made with the sealing chamber open to permit visual adjustmen,s by the machine operator and with all of the cooperatin'@ elements of the machine in their final operatin.- position. gp@ As various changes may be made in the form, construction and arrangem-.nt of the parts herein without departing from the spirit and scope of the invention and without sacrificing any of its advantages, it is to be understood that all matter herein is to be interpreted as illus30 trative and not in a limi'ing sense. Having thus described our invention, we

Как компенсировать расходы
на инновационную разработку
Похожие патенты