заявка
№ US 0003434516
МПК A23N4/20

MACHINE FOR CORING PINEAPPLE SLICES

Правообладатель:
Номер заявки
4503857
Дата подачи заявки
01.10.1965
Опубликовано
25.03.1969
Страна
US
Как управлять
интеллектуальной собственностью
Чертежи 
4
Формула изобретения

claim: 1. A machine for coring pineapple slices comprising tube means for laterally supporting a slice, and a pusher and a coring ttibe coaxial with and reciprocable axially relative to said tube means and normally disposed beyond 60 opposite ends thereof, said pusher and coriing tube acting oppositely, respectively, to push a slice through said tube means and to core said slice during said pushing. 2. A machine for coring slices comprising tube means for laterally supporting slices, a centering trough posi65 tioned in advance of said tube means, and a pusher and coring tube axially aligned with and normally disposed beyond opposite ends of said tube means, said coring tube and pusher acting concurrently on a batch of slices, re70 spectively for pushing said batch from said centering trough through said tubular means and for coring said batch during pushing thereof by said pusher. 3. A machine for coring pineapple slices comprising tube means for laterally stipporting slices, means for cen75 tering pineapple tlices on said tube means, a pusher

3)434,516 7 and a coring tube coaxial with and reciprocable axially relative to said ttibe means and normally disposed beyond opposite ends thereof, said pusher and coring tlibe acting oppositely, respectively, to push a slice through said tube means and to core said slice during said pushing, contiguous end portions of said pusher and coring tube slidably interfitting in the course of the coring, and means carried by said pusher end portion for cleaning said tiibe end portion duridg interfitting thereof. 4. A machine for corin- pineapple slices comprising tube means, means for centerin-, pineapple slices on said tube means, a pusher and a coring tube coaxial with and reciprocable axially relative to said tube means and normally disposed beyond opposite ends thereof, said pusher and coring tube acting oppositely, resPectivelY, to push a slice through said tube means and to core said slice during said pushing, a socket in a head of said pusher slidably receiving a front end portion of said coring tube in the course of the coring, a thrust pin in said head within said socket and projecting into said end portion during reception thereof in said socket for pushidg cores therefrom rearwardly in said coring tube, and slot means in said head and opening radially onto said socket for escape of matter carried into said socket by said coring tube. 5. A machine for coring and resizing pineapple slices comprising a rotary tubular resizin.- knife, a centering trough disposed forwardly of and aligned axially with said knife, means for feeding slices in batcbes to said trou.-h, and a pusher and a coring tube coaxial with and normally disposed beyond opposite ends of said resizing knife, said tube and pusher acting concurrently on a batch of slices, respectively, for pushing said batch from said centering trough throu,@h said knife and for coring said batch during said pushing thereof by said -pusher, and means disposed rearwardly of said knife and operative on a retract stroke of said tube for deffectin.- a cored batch out of the way of a sebsequent advance stroke of said tube. 6. A machine for coring and resizin.- pineapple slices comprising a rotary tubular resizing knife, a centering trough disposed forwardly of and aligned axially with said knife, means for feeding slices in batches to said trough, and a pusher and a coring tube disposed axially of said knife and reciprocable in opposite directions axially thereof, said pusher and corin.- tube normally being disposed beyond opposite ends of said knife and in their 8 advance strokes projecting thereinto, respectively, for pushing a batch of slices from said centering trough through said knife and coring said batch during pushing thereof by said pusher. 7. A machine for coring and resizing pineapple slicescomprising a rotary tubular resizing knife, a centering trough disposed forwardly of an aligned axially with said knife, means for feeding slices in batches to said trough, and a pusher and a coring tube coaxial with and normally 10 dis@posed beyond opposite ends of said resizing knife, said ttibe and pusber acting concurrently on a batch of slices, respectively, for pushing said batch from said centering trough through said knife and for coring said batch during said pushing thereof by said pusher, means 15 disposed rearwardly of said knife and operative on a retract stroke of said tube for deflecting a cored batch out of the way of a subsequent advance stroke of said tlibe, and a sleeve interchangeable with said resizing knife attacbable to a rear end of said centering trough for 20 enabling said pusher and coring tube to cooperate to core a batch without resizing the slices thereof. 8. A rnachine for coring and resizing pineapple slices comprising a rotary tubular resizing knife, a centering trou,@h disposed fornvardly of and aligned axially with 25 said knife, means for feeding slices in batches to said trough, a pusher and a coring tube coaxial with and normally disposed beyond opposite ends of said resizing knife, said pusher and coring tiibe being slidably mounted on a common slideway and drivably @connected for 30 reciprocation in opposite directions therealong, and said pusher and corin.- tlibe actin.- concurrently on a batch of slices, respectively, for pushing said batch from said centering trough through said knife and for coring said batch during said pushing thereof by said pusher, and 35 means disposed rearwardly of said knife and operative on a retract stroke of said coring tube for deflecting a cored batch to a side out of the way of a subsequent advance stroke of said tube. References Cited 40 UNITED STATES PATENTS 3,057,386 10/1962 Massaro ---------- 146-6 XR W. GRAYDON ABERCROMBIE, Pi-ii?7ary Exaininer. 45 U.S. Cl. X.R. 146-52

Описание

[1]

Uiii'ted States Patent Office 3y4,34,516 3,434,516 MACHINE FOR "CORING PINEAPPLE SLICES John Farmer, Honolulu, Hawaii, assignor to HonolLlu Iron Works Company, Honolulu, Hawaii, a corporation of Hawaii Original application Sept. 29, 1961, Ser. No. 141,680, now Patent No. 3,246,678, dated Apr. 19, 1966. Divided and this application Oct. 23, 1965, Ser. No. 503,857 Int. Cl. A47j 25100; A23n 3112 U.S. Cl. 146-6 8 ciqlins jo ABSTRACT OF THE DISCLOSURE A machine for corin- pineapple slices having a tube for 115 laterally supporting a slice, a trough in advance of the tube for centering a slice thereon, and a pusher and coring tube concentric with and normally beyond opposite ends of the supportin.- tube respectively for pushin.a slice through the supporting tube and coring the si ice ,o during such pushin.-. Th is invention relates to a machine for coring pineajpple slic es and this application is a division of -nly copending 2,5 ap plication Ser. No. 141,680, filed Sept. 29, 1961, now Pat ent No. 3,246,678, issued Apr. 19, 1966. W hile attempted somewhat earlier, th,- mass productio n of canned pineapples actually be.-an around 1914 wit h the introduction of the Ginaca machine or "Ginaca," 30 as it is sometimes called. Altbou.-h improvements have be en made in the Ginaca from time to time, basically the same machine is in use in the pineapple canning indu stry today and invariably is used whenever pineapples are processed for producin@. the slices, chunks and tid- 3.5 bits of the solid pack. The lead machine in the conventio nal processing line, the Ginaca in one continuous opera tion sizes a pineapple by making a cylindrical cut to re move the shell and leave a fruit cylinder, cuts off the but t and crown at the ends of the cylinder, cuts out tho 40 cor e and finally dischar.-es the cylinder for further process in.-. Conventionally, the further processing involves firs t inspection and hand trimming of the fruit cylinder,-, to remove eyes, skin traces or other surface imperfections, foll owed by slicing of the cylinders into slices of pre- 45 det ermined thickness by a -an.- cutter which slices a pineap ple in its entirety in a sin,-le sweep. Thereafter, the slicef, are inspected and sorted according quality and those suitabl e for the fancy, choice and standard grades of the solid pa ck are loaded into cans, usually by hand. The remain- 50 in.- , so-called salvage slices, in their turn, are consigned to the less profitable crushed and juice packs. A Ginaca is effective in sizin,@, end-cutting and coring a pineapple, but is one of the most expersive individual 55 nia chines used by the entire fruit canning industry and the conventional process entails more hand work than do es the industrial cannin.- of any other kind of fruit. Fo r lack of anything better, the conventional processin.- lin e has heretofore been employed in recovering fruit for 60 the solid pack from lar.-er pineapples, but the expensivene ss of the facilities, to say nothing of that of the necessar y labor, have practically barred its use in recovering soli d pack fruit from small pineapples weighing less than 21/ 2 lbs. Consequently, even thou.-h small fruit - usually 65 has the tenderest meat, generally can product I T size slic es and represents a substantial part of the yearly crop, it is now processed for the least profitable of the packs, the juice pack, with corresponding loss to the industry. As opposed to the conventional process, it has now 70 be en found possible to process pineapples for the solid pack without tisin.- a Ginaca and so economically as to Patented Mar. 25, 1969 2 make it commercially practicable to recover meat for the solid pack from small as well as larger fruit. The new process is the invention described at length and claimed in the parent application, Ser. No. 141,680. The present invention is directed to a coring and resizing machine particularly suited for use in such a process. An object of the invention is to provide a machine for corin.- pineapple slices. An additional object of the invention is to provide a machine for coring pineapple slices as they are resized. Another object of the invention is to provide a machine having interchangeable means for enablin.- it to core pineapple slices, either with or without concurrent resizing. Other objects and advantages of the invention will appear hereinafter in the detailed description, be particularly pointed out in the appended claims and be illustrated in the accompanying drawings, in which: FIGURE I is a plan view on an enlarged scale of a preferred embodiment of the coring machine of the present invention; FIGURE 2 is a vertical sectional view of the machine of FIGURE 1 taken along line 18-18 of FIGURE 3; FIGURE 3 is a vertical sectional view taken along lines 19-19 of FIGURE 2; FIGURE 4 is a frgamentary vertical sectional vi-.w taken along lines 20-20 of FIGURE 3; FIGURE 5 is a vertical sectional view taken along lines 21-'21 of FIGURE 3; FIGURE 6 is a fragmentary vertical sectional view on an enlarged scale taken along lines 22-22 of FIGURE 2; FIGURE 7 is a fragmentary longitudinal sectional view on ari enlarged scale taken centrally through the plunger and coring tube of FIGURE 6; FIGTJRE 8 is a vertical sectional view on the section o.f.FIGURE 6 of a sleeve interchangeable with the resizing means of FIGURE 6 for adapting the machine of the latter figtire for coring without resizing; and FIGURE 9 is a fragmentary vertical sectional view on an enlarged scale taken along lines 25-25 of FIGURE 3. Referrin- now in detail to the drawings in which like reference characters desi-nate like parts, the improved macbine of the present invention is adapted to core or both core and resize pineapple slices that are presented to it with their cores intact and is particularly designed for such use in the process ofapplication Ser. No. 141,680. Whether applied to small or larger pineapples, the essential steps in the process of application Ser. No. 141,680, in the sequence in which they are performed, are sizing, slicin.- and coring. The sizing operation of that invention is not the conventional sizing on a Ginaca machine followed in the machine's operating cycle by butt and crown or end cuttina and by coring, but simply the makinof a cylindrical c'ut to remove the shell and leave a fruit cylinder with its ends and core intact. The s,.zin@ operation may be and preferably is accompanied by eradication of the rneat from the shell for use in the crushed and juice packs. However, even with this addition, the operation is readily performable on a machine that is much simpler and less expensive than a Ginaca machine and requires no complicated mechanism for feeding pineapples for sizing such as is necessitated by the Ginaca's cyclical operation. In turn, the slicing operation is not the conventional gang cuttin.- of an end cut and cored fruit cylinder but the cutting of slices from a cylinder which at the time of cutting has its core and preferably also its butt and crown ends intact. The last of the essential steps, the coring, is performed on slices and, while in all cases the cores will be severed or cut from the surrounding ring of meat to f<)rm the familiar annular slices, the sta.-C at which the fruit is cored enables

[2]

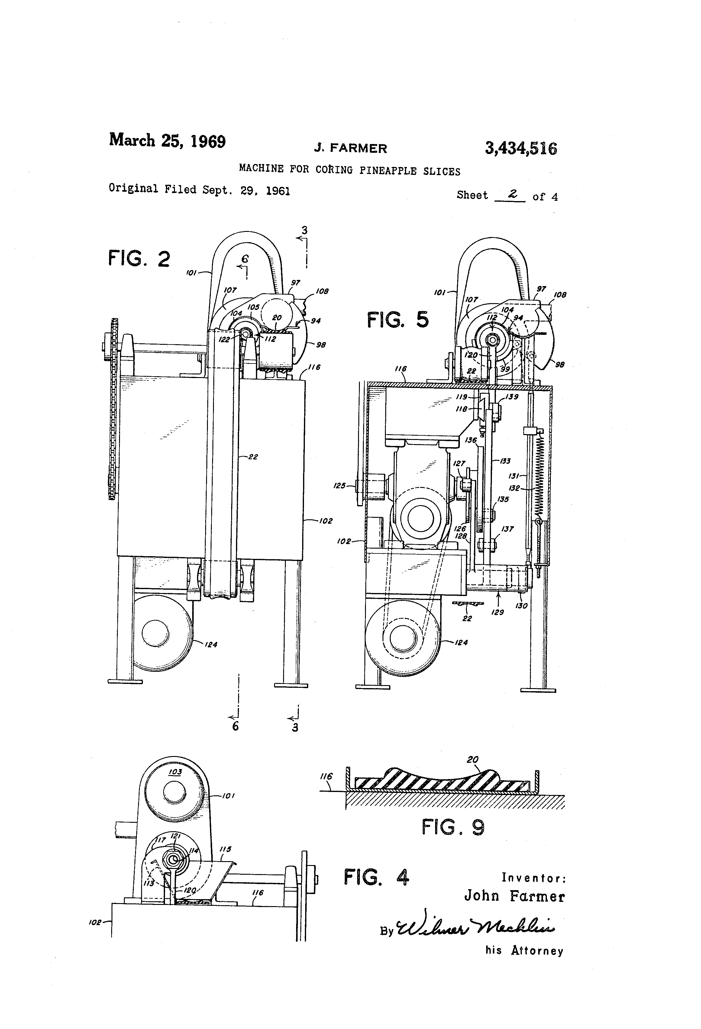
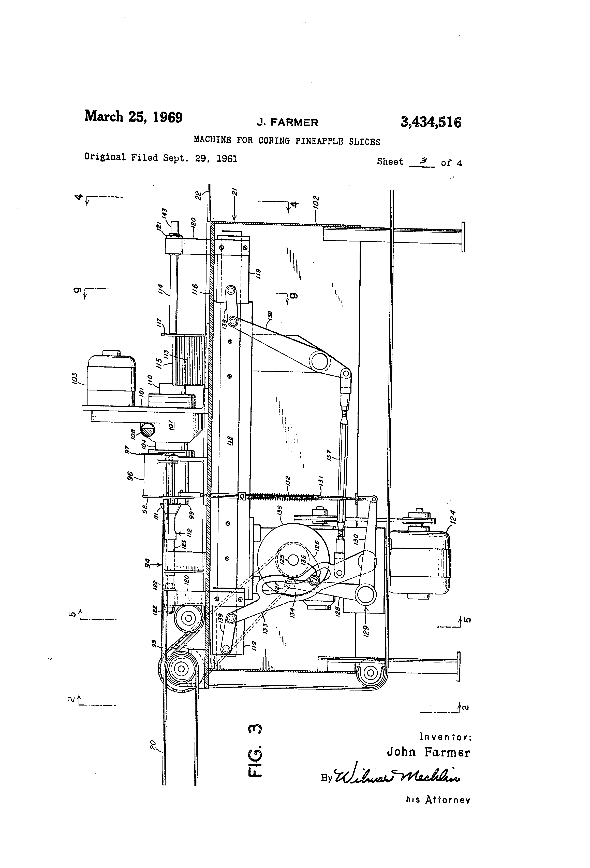
3y434y5l6 3 the cores either to be removed or to be canned as a novelty item with the remaining meat, As in the conventional process, it is contemplated in the process of application Ser. No. 141,680 to inspect the fruit undergoin.- treatment at different stages. At least three such inspections will usually be necessary, one, intermediate the sizing and slicin.-I to eliminate fruit that is wholly rotten or otherwise unusable, another, intermediate slicing and coring, to sort out the slices suitable for canning without further preparation other than coring, and the third, performed concurrently with or following the second, to sort from the remaining slices those having edible meat salvaaeable for the solid pack by resizing. In the handling incident to such inspections, as well as in the slicing, the intactness of the cores at these stages has the distinct advantage over the conventional process, in which the cores are removed at the outset, of preserving or retaining the relatively strong core structures for supporting the fruit, with consequent reduction in damage and breakage. In the conventional process, the fruit not only is unsupported by its cores during the operation subsequent to the initial sizing, end cutting and coring by the Ginaca machine, but the eyes, skin traces and other peripheral or surface imperfections in the fruit cylinders are trimmed by hand from them before they are sliced. The expensiveness of the labor and the unavoidably high fruit loss involved in this trimmina operation, are avoided, if, in accordance with the process of application Ser. No. 141,680, the hand trimmin.@ is dispensed with and, instead, the peripheral imperfections are removed after slicing from the slices containin.- them by resizing such slices to a smaller diameter to cut off an outer ring or annulus containing the imperfections and s-,tlvage the remainin.meat for the solid pack. Although capable with modification of coring without resizing, it is to conc-urrent coring and resizing that the improved machine of this invention particularly lends itself. In the preferred embodiment shown in the drawings, the coring and resizing machine, designated as 21, in large part is similar to the resizing machine illustrated in my copending application, Ser. No. 82,240, filed Jan. 12, 1961. Thus, as in that application, the slices selected for resizing, in this case with their cores intact, are transferred in sorting from a main @belt (not shown) onto a feed belt 20 forined or contoured to receive and support the slices upright or on edge and are fed by that belt onto a correspondingly formed or contoured accumlilator or supply trough 94 havin.- a fixed lead or front section 95 and a swingable or oscillatable trailing or rear section 96. Also as in that application, the swingable rear section 96 is blocked or bounded at the re2Cr by a fixed stop plate 97 for limiting forward progress of slices under force of the belt 20 on succeeding slices and has fixed to and depending from its front end a sweep 98 which stops or holds slices on the fixed front section 95 when the normal longitudinal alignment of the two sections is disturbed by swinging of the rear section. The swinging mounting of the rear or transfer section 96 enables it at the inner limit of its swina to transfer a batch of slices to a centering trough 99 disposed parallel to but offset to one side of the accumulator trou.-h. Corr'esponding in contour tD the accumulator trough, the centering trough 99 is aligned longitudinally or coaxial with a resizing knife 100 mounted for rotation about a substantially horizontal axis in a housing 101 supported by a stand 102 and conveniently driven by an electric motor 103 surmotintin@ the housing. To hold each slice against tuming during resizing, there preferably is interposed between the centerin.- trough 99 and the resizing knife 100 a collar, sleeve or tube 104 which may be releasably mounted on the centering trough and has a cylindrical bore 105 of the size of the slices, the bore being interrupted by a plurality of eircumferentially spaced blades or knives 106 instanding thereinto 4 preferably to the depth of the peripheral portion of each slice to be removed in the resizing. These blades not only hold the slices against turning during resizing but radially cut their outer portions, thus causing those portions to divide into se.-ments when they are cut in the resizing from the central portions of the slices. In case the portions removed in the resizing are to be consigned to the juice pack, as will be the case except in processin- large fruit, it is preferred to mount about the lading portion jo of the resizing knife 100 a hood or shield 107 having a spout 108 directed toward or over a mid-part of a main belt (not shown) and to mount within the hood paddles or impellers 109 fixed for rotation with the knife for impelling the removed portions througb the spout onto 1- the main belt so that they can be carried by the latter to the end of the line and deposited on a juice cross conveyor, (not shown). The illustrated embodiment bas a second collar, sleeve or tube .110 mounted at the rear of the resizing knife 20 100 and having a smooth, cylindrical bore of the size of the resized slices and aligned axially or coaxial with the knife. Although this construction will suffice for a lower medium fruit line in which the resized slices usually will be inspected and sorted subsequent to the resizing 25 for loading into cans as,meat of any of a plurality of different -rades, a different requirement is met in a small fruit line in wbich the resized slices are too small for loading as slices, if it is desired to can the resized slices as tidbits rather than as part of the crushed pack. In such 30 case, the smooth-bored rear sleeve 110 wll usually be replaced by a fixed sleeve baving a bore of the same inside diameter but, like the cutter head 79 shown in FIGURE 16 of application Ser. No. 141,680, carrying a plurality of eircumferentially spaced fixed blades or cutters in@, 5 standing radially into the bore to the depth of the resized slices after they have been cored. Correspondingly, the preferred frusto-conical head III of the pusher or plunger 112 by which the batch of slices is forced through the resizing knife will be radially slotted to enable the 40 head to move past the blades and eject or discharge the slices in tidbit form onto a transversely directed slide or deflector 113 leading to the discharge conveyor 22, the latter being offset transversely from the axis of the knife and extending to the rear or discharge end of the A- line for transporting the tidbits to a can loader (not -0 ShOwn) - With the pusher 112 adapted to provide a positive force for pushing a slice entirely through the resizing knife 100 and associated front and rear collars 104 and 110, no 50 gravity assist is necessary and the axis of the knife and the coaxial pusher can be horizontally disposed. To enable it to act on a batch of slices deposited on the centering trough 99 by the transfer section 96 of the supply trough 94, the head illl of the pusher 1IL2, in normal, retracted 55 or at rest position, is disposed substantially at the front end of the centering trough. The resizing and coring machine 21 is designed to core the slices as they are resized and for this purpose is fitted with an open-ended coring tube l@14 coaxial with the re60 sizing knife .100 and adapted to act on the batch of slices from the rear in opposition to the action of the pusher 112. In order that it may core the slices while they are in and supported circumferentially by the resizing knife 100 and the rear collar 110, without interfering with de65 flection of discharged slices by the transfer slide 1,13 onto the discharge conveyor or belt 22, the coring tube 114 in its normal, retracted or at rest position is disposed rearwardly and clear of the slide 113, which in turn ispositioned at the discharge end of the rear collar. 70 As shown in FIGURES 3, 4 and 6, the slide 113 may be one side of a guide chute - 115, the sides of which converge downwardly toward the discharge belt to direct the resized slices or tidbits thereonto and, for resized slices discharged as stich rather than as tidbits, there is 75 fixed to the platform 116 directly mounting the housing

[3]

3)434)516 5 101 at the rear of the guide chute 115 a wiper arm 117 apertured to receive the coring tube and wipe or remove cored slices therefrom as the tube retracts to normal position. With the pusher 112 and coring tube .114 normally disposed in their retracted positions, it of course is necessary that each be slidable or reciprocable horizontally to and from their advanced positions, to enable them to act as intended on the slices. To this end, there is attached or -fixed to the stand 102 of the machine below the platform 116 a slide bar or guide track -118 extending horizontally substantially the length of the stand and slidably mounting toward opposite ends a pair of longitudinahy spaced carriages or slide blocks 119 to each of which is fixed or attached an arm or upright @120 extending upwardly through the platform and socketed thereabov.e to receive the pusher 112 or coring tube 114, as appropriate. Both the pusher and the coring tube preferably are made axiauy adjustable in their mountings by suitable means, such as the jam nut 121 in the case of the coring tube and, for the pusher, nuts .122 threaded to the shank 123 of the pusher at opposite sides of the associated arm 120. In the cycle of operation of the resizing and coring machine 21, the transfer section 96 of the supply trough 94 first swings to deposit a batch of slices in the centering trough 99. The pusher !112 then pushes the slices through the resizing @knife 100 and the corin.- tube 114 acts at the same time, concurrently orcoincidentally, on the opposite end of the batch to core the slices. In the preferred machine, the oscillation of the transfer section and reciprocation of the carriages iII9 on the slideway provided by the guide bar 118 and therethrough the corresponding movements of the pusher and coring tube, are all preferably made the responsibility of a single drive motor 124 mounted on the stand 102 below the platform 1:16 and drivably connected to the several operating elements for driving them in synchonism and this motor also is used to drive both the feed and discharge belts 20 and 22. In the case of the transfer section, the motor 124 is drivably connected through reduction gearing to a drive shaft,125 to which is fixed a cam 126 engaged by a roller 127 carried by one arm 128 of a bellcrank -129, and other arm 130 of which is connected by an adjustable linkage 131 to the transfer section 96, the linkage also conveniently being attached to one end of a tension spring 132 anchored at the other to the stand 102 for ur,-ing the roller into engagement with the cam. The pusher 112 and coring tube 114 in turn are reciprocated in opposite directions by a driving connection to the motor @which includes a lever 1133 pivoted at its lower end to the stand and havin.- intermediate its ends a cam slot 134 in which rides a crank or eccentric roller 135, the crank arm of whichconveniently is a disc 136 fixed to the drive shaft 125. This first lever 133 is connected, intermediate its pivot and the cam slot 134, by an adjustable link 137 to the lower end of a second lever 139 pivotally mounted intermediate its ends of the stand. The drivin.- connection is completed by a pair of links 139, one connecting the upper end of the first or pusher lever 133 to the carriage :119 of the pusher 112 and the other correspondingly connecting the second or corin,@ tube lever 138 to the carriage of the corin,@ tube 114. Although the coring tube 114 could be driven to first contact and then retreat before the confronting end of the pusher head 111, it is preferred for relative simplicity of drive and also to facilitate ejection of cores from the tube, that contiguous portions of the tube and pusher head overlap and interfit longitudinally or axially in the course of their reciprocal movements, For this purpose, the pusher head Ill is provided with an axial socket 140 opening rearwardly toward and adapted to accommodate or receive the confronting end portion of the coring tube and a push or thrust pin 141 within and concentric or coaxial and substantially coextensive axially with the sock6 et, the push pin being adapted to be received or accommodated in the end portion of the coring tube as the latter is received in the socket. With this construction, the coring tube will cut through the slices and continue into t.he pusher head as each completes its advance stroke and in process the push pin 141 will push the cores rearwardly away from the cutting end 142 of the tube, unclogging the latter and, if the tube is then filled, ejecting a corresponding length of cores from the rear end 1( .143 of the tlibe. In addition to its ability to unclog the bore 144 of the coring tube 114 adjacent the latter's cutting end 142 by action of its push pin 141, the head is rendered self-cleaning to prevent its socket from becoming clogged by juice or other matter clinging to the 1 @, exterior of the received end portion of the tube, by the provision of radial cleaning slots 145 opening onto the socket and preferably extending from its inner toward its outer end. The above described coring and resizing machine 21 20 is suitable for use in processing any of the several groups of pineapples from small to large, its adaptation to the resizing and coring of slices which subsequently are inspected and sorted for canning according to grade simply entailing the forming of the discharge belt 22 as indi25 cated in @FIGURE 9, so that it will support the cored and resized slices upright to facilitate subsequent handling. However, with a simple ftirther modification, the same basic machine is also adapted to core initially unspotted slices from upper medium fruit which, because 30 of variations in their quality, must be sorted and canned according to grade. The modification involved in the adaptation of the coring and resizing machine 21 to such use is the replacement of the tube assembly consisting of the resizing knife 100, and its attendant front and rear 35 collars or tubes 104 and 110 by a smooth-bored openended tube or sleeve 146 of the same over-all length as the assembly but of the inside diameter of the front collar. Illustrated in FIGURE 8, the ttibe 146, interchangeable with the resizing knife and associated collars, is 40 readily mountable on the rear end of the centering trough 99 in place of the front collar 104 of the illustrated machine and, when in place, enables the machine to core initial slices, the operation being exactly the same as that described for the illustrated machine except that the slices are not resized. 45 From the above detailed description, it will be apparent that there has been provided an improved machine which not only renders it unnecessary to core pineapples prior to inspection and sorting but also enables fruit for the solid pack to be recovered from peripherally imperfect 50 slices. It should be understood that the described and disclosed embodiments are merely exemplary of the invention and that all modifications are intended to be included that do not depart from the spirit of the invention or the scope of the appended claims. 55 Having described my invention, I

Как компенсировать расходы
на инновационную разработку
Похожие патенты