заявка
№ US 0003403654
МПК B63H1/34

Номер заявки
4518970
Дата подачи заявки
30.12.1965
Опубликовано
01.10.1968
Страна
US
Как управлять
интеллектуальной собственностью
Чертежи 
9
Реферат

Формула изобретения

claim is: 1. In a hydrofoil vehicle, endless track means traversing 25 around spaced wheels at least one of which drives the track means; hydrofoil blades carried by said track means in spaced relation one to another with a substantial open gap disposed lengthwise of the track means between successive blades stich that a plurality of the hydrofoil blades 3o will be displaced in a generally horizontal plane through the water at any given time, the orientation of said hydrofoil blades bein.- automatically adjusted at predetermined locations along the path traversed by the track means, power means to rotate the wheel, displace the track 35 means and successively force the hydrofoil blades througli the water each in a generally horizontally extending position to simultaneously lift and propel the hydrofoil vehicle. 2. In a vehicle as defined in claim 1 further comprising 40 drag means selectively responsive to relative movement between the vehicle and the water to facilitate partial recovery of the energy expended by the power means. 3. In a hydrofoil vehicle as defined in claim I wherein said track means are buoyant such that at least one half of the portion of the vehicle track means which carry 45 blades engaging the water at a given time is exposed above the surface of the water. 4. In a hydrofoil vehicle as defined in claim I wherein said track means are angularly disposed with respect to the horizontal and have projecting hydrofoil blades which 50 each contain an elbow so that the major axis of each blade is generally horizontally situated when the blade is within the water. 5. In a hydrofoil vehicle as defined in claim I wherein the lengthwise portions of said track means are generally 55 vertically spaced one from another. 6. In a hydrofoil vehicle as defined in claim I wherein said spaced hydrofoil blades are attached to the track means to accommodate selected movement of blades relative to the track, each of said hydrofoil blades being 60 responsive to a reciprocable lever, the movement of which is determined by serial displacement of plungers projecting inward from the track and progressively depressable by actuating wheels adjacent the track whereby each hydrofdil blade is serially moved relative to the track 65 means at predetermined locations. 7. In a hydrofoil vehicle as defined in claim 6 wherein said hydrofoil blades each have a leading tip portion curving smoothly away from the remainder of the blade 70 and progressive tapering to a very thin edge which is disposed approximately perp.-ndicular to the Temainder of the blade and which extends a substantial distance rearward of the remainder of the blade such that the vortex motion of water passing over the blade surface 75 is appreciably reduced.

13 32403)654 14 8. In a hydrofoil vehi ' cle as defined in claim I wherein said track means comprises at least two power-driven tracks each carrying a series of hydrofoil blades and further comprising at least two maneuvering control means to cause differential displacement as between the tracks to turn the vehicle. 9. In a hydrofoil vehicle as defined in claim I further including attachment means at said driving wheel to make the vehicle amphibious byaccommodatin- installation of ground-engaging wheels to facilitate land travel. 10. In a track hydrofoil vehicle which accommodates high speed travel upon the surface of water, a vehicle body, at least two revolving primary wheels with an endless flexible track spanning between the wheels, a plu,rality of spaced pivot brackets permanently attached to the endless t@rack, a hydrofoil blade pivotally connected near one end thereof to the track at each pivot bracket such that the hydrofoil blade is selectively rotatable from a folded position generally axial paralleling the track to an open position angularly related to the track; bias means to selectively urge each hydrofoil blade toward the folded position and means enabling and disabling the bias means at predetermined locations along the path of the endless track to (a) to open each hydrofoil blade just prior to engaging the water and (b) to fold each hydrofoil blade subsequent to emerging from the water. 11. In a hydrofoil vehicle, endless track means traversing around spaced wheels at least one of which drives the track means; hydrofoil blades supported in cantilevered relation by said track means in spaced relation one to another with a substantial open gap disclosed length-wise of the track means between successive blades such that a plurality of blades will be displaced in a common plane through water at any given time, power means to rotate the wheel, displace the track means and successively force the hydrofoil blades throu,oh the water to simultaneously lift and propel the hydrofoil vehicle. 12. In a track-driven hydrofoil vehicle whichaccommodates high-speed tiavel upon the surface of water, with an endless flexible track spanning between the wheels, a plurality of spaced pivot brackets permanently attached to the endless track, a hydrofoil blade pivotally connected near one end thereof to the track at each pivot bracket such that the hydrofoil blade is selectively rotatable from a folded position generally axially paralleling the track through an open position angularly related to the track; bias means to selectively urge each hydrofoil blade toward the folded position and means enabling and dis10 abling the bias means at predetermined locations along the path of the endless track to at least partially open each hydrofoil blade at selected locations along the path of the endless track and to fold each hydrofoil blade at selected other locations. 15 13. In a hydrofoil vehicle according to claim I comprising means automatically adjusting the orientation of each hydrofoil (a) so that the leading tip of each blade becomes outwardly disposed at an acute angle away from the track means in a direction counter to intended vehi20 cle mov@-ment as each blade approaches the water and the horizontal plane through the water, and (b) so that said leading tip becomes inwardly disposed at an acute angle toward the track means in a direction counter to intended vehicle movement as each blade approaches the 9,@ end of the horizontal plane through the water and is about to leave the water. References Cited UNITED STATES PATENTS 30 1,831,835 11/1931 Allee ------------ 1 15-.5 XR 2,091,958 9/1937 Braga ------------ 115-63 X 2,315,027 3/1943 Svenson ------------ 115-19 2,488,310 11/1949 Mayer -------------- 115-19 2,941,494 6/1960 McBride ------------ 115-63 35 3,125,981 3/1964 Reynolds ------------ 114-66 FOREIGN PATENTS 608,514 4/1926 France. a vehicle body, at least two revolving primary wheels 40 ANDREW H. FARRELL, Primary Examiner.

U.S. DEPARTMENT OF COMMERCE PATENT OFFICE Washington, D.C. 20231 UNITED ST,ATES PATENT OFFICE CERTIFICATE OF CORRECTION Patent No. 3,403,654 @October 1,1 1968 Wayne,Wilson It is certified that error appears in the above iaentified patent and that said Letters Patett are hereby corrected as shown below: Column 1, line 37, "more" should read mo ve Column 4., line 26'"'lift hydrofoil" should read -- lift of hydrofbil line 32, "20" should read -- 26 Column 5 line 67 "in" should read -- is Cblumn 6, line 61 "m6re" should read -- mode Signed and soaled this 17th day of March 1970, (SEAL) Attest: Edward M. Fletcher, Jr. WILLIAM E. SCHUYLER, JR. Atiesting Officer Commissioner of Patents

Описание

[1]

0 3@403,654 Uiiited States Patent Office Patented Oct. 1, 1968 2 One still further object is to provide an auxiliary drag device which is operated by the relative displacement of the watercraft and the water whereby a suppleme ntal s ource of energy is made available. 5 Another and no less important object of the p resent i nvention is to provide a watercraft having an e ndless p owered track accommodating large trackwater c o,ntact a rea for more efficiently propelling the craft. It is anothe r import ant object to provid e lift surfac es 10 that are adjustabl e to continuo usly give maximu m lift and drag at any given p6int in time. Anoth er object is to utilize a contin uous track that allows a reduct ion in numbe r of the wheel s requir ed per track while maintai ning strengt h and straigh tness of the 15 track. Anoth er object is to provid e a fold'm g mecha nism for hydrof oils to reduc e undesi rable air drag and conser ve space. It is anothe r object to provid e a propul sion system 20 that can be used to steer and maneuv er the craft at all speeds. Other object s of the inventi on not specifi cally set forth in the prece ding will becom e readil y appar ent from the followi ng descri ption and drawin gs in which: 2,5 FIGU RE I is a persp ective view of an amphi bious water craft incorp oratina the inventi on. FIGU RE 2 is a schem oatic plan view of a craft utilizin g the inventi on and showi ng the hydrof oil track plus contac t area and directi on of track move ment relativ e to the 30 water (slip,dire ction). FIGU RE 3 is an end view of the FIGU RE 2 tracke d seawh eel craft. FIGU RE 4 is a schem atic side view of a track and hydrof oil lift surfac e system showi ng partiall y the cyclica l 35 pitch changes and mechani sm therefor . FIGU RE 5 is a view partiall y in cross sectio n of one track and drive wheel showi ng the bistabl e positio n actuati ng mecha nism for one hydrof oil or lift surfac e to cyclica lly chang e pitch angle in conjun ction with contro l 40 wheels in FIGUR E 4. FIGUR E 6 is a schemati c side view of hydrofoi l lift surfac e showi ng pivot point and attach ment from the cyclica l pitch chang e mecha nism of FIGU RE 5. FIGU RE 7 is a view partiall y in cross sectio n of one 45 track and drive wheel showing details of an auxiliary thrust and/or drag modifier consisting of a propeller with a hy,draulic drive motor and means to convey hydraulic fluid under pressure or vacuum to supply drive power from the craft. FIGURES 2 and 3 show typical placement .50 for use. FIGU RE 8 is a view partiall y in cross sectio n of one track - and drive wheel showi ng details of an auxilia ry thrust and/or dtag modifi er consist ing of a propel ler and mecha nical drive theref or indep enden t of the drive wheel 55 to supply drive power from the craft. FIGUR ES 2 and 3 show typical placement . 'FIGU RE 9 is a schem atic side view of a conve ntional planin g craft includi ng an attach ed outb(> ard type tracke d seawh eel lift and propul sion unit. 60 'FIGURE 10 is bottom schematic plan view of a two d-irection slil> multiple tracked seawheel craft. FIGURE I I is a schematic side view of the craft in FIGURE 10. FIGUR E 12 is a perspect ive view of a tilted dual track 65 seawhe el watercra ft. FIGU RE 13 is a schem atic side view of the craft in FIGU RE 12. FIGU RE 14 is a bdttom schem atic plan view of one til-ted t@rac k lift and propul sion unit of the craft in FIG70 URES 12 and 13. FIGU RE 15 is a partial cross sectio n end view of the tilted track unit of FIGU RES 12, 13, and 14. 3,403,654 WAT'ERCRAFT PROPULSION Wayne Wilson, 1158B Westminster Ave., Salt Lake City, Utah 84105 Filed Dec. 30, 1965, Ser. No. 518,970 13 Claims. (Cl. 115-1) ABSTRACT OF THE DISCLOSURE A water propulsion system with endless driven track structure having a plurality of automatically @adjustable hydrofoils such that the craft will be displaced along the surface of the water on the moving hydrofoils. An auxiliary drag unit may be attached to the craft and set in motion by the impingement of the water for the purpose of providing a supplemental source of energy. Extended wheel hubs, integral with the driving mechanism of the track, are adapted to receive -round-engaging wheels tofacilitate land travel, thereby making the present craft amphibious. This invention relates to a more efficient propulsion and support system for a high speed craft moveable over water than any previously used. The invention has amphibious capabilities allowing ease of operation over highway, sand, mud, snow, etc. Further, the design can allow easy substitution of regular pneumatic tires on the craft for prolonged use on hard surface roads. The invention utilizes one or more power driven continuous track consisting of one or several belts, with attached lift produc@ ing devices and/or surfaces to support the hull above and clear of the water's surface while utilizing the induced drag to prop6l the vehicle forward against aerodynamic and/or artificially created drag. The continuous tracks more rearward in contact with the water with a predetermined slip velocity and then lift clear of the water to change direction and return forward while not in contact with the water's surface. Conventional watercraft such as displacement craft, hydroplanes, hydrofoil craft, must all be pushed forward through the water for operation causing substantial energy consumption due to wave making, skin friction, and induced drag, that is nonrecoverable. Energy consumption becomes so large in these craft at high speeds that commercial use becomes uneconomical. Ground effect craft consume so much energy just to hold up the vebicle that commercial use is not economical. The main object of this invention is to make watercraft operation at high speeds appear feasible. A number of proposals have been made using wheels, tracks, rollers, or rotors that function to raise the craft hull above the water at high speed and in some cases move to propel and/or reduce the water resistance to forward motion. None of these have yet proven practical. It is an important object of this invention to provide a novel watercraft which maximizes the use of drag energy by moving lift surfaces in approximately a straight path rearward and approximately horizontal to the water's surface for the largest practical percentage of time (85% to 100%) the lift,devices and/or surfaces are in contact with the water. It is still another object to reduce the velocity needed by lift surfaces to propel the craft over the water surface. Another important object is to provide more efficient operation in the speed region where aerodynamic drag is less than the propulsion drag of the lift devices. It is another object to provide auxiliary device for low speed operation to create drag aiding aerodynamic drag so that the hull is easily lifted clear of the water's surface.

[2]

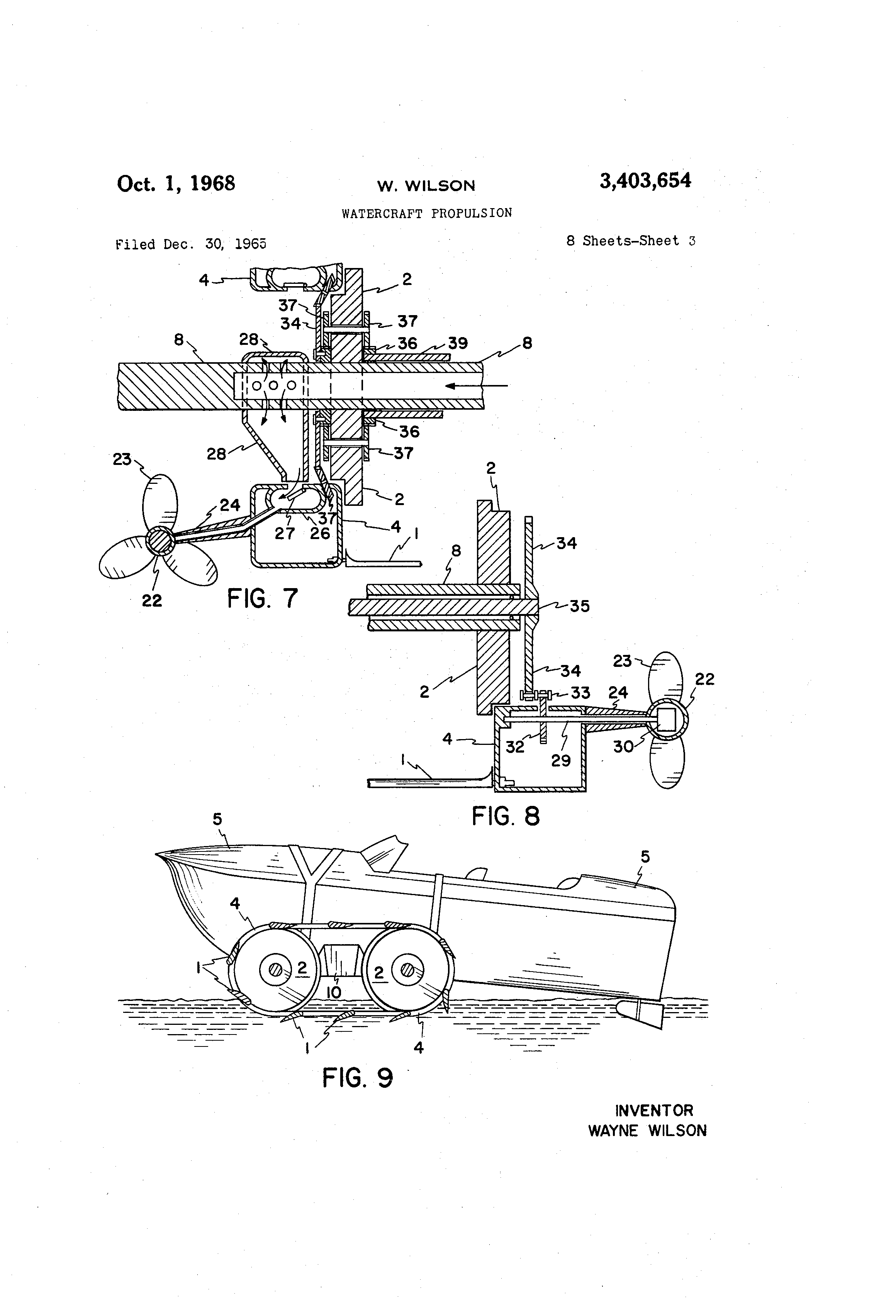
3 403)654 3 FIGURE 16 is a plan view showing the contact area of tfie @@ydrofoils bf the tilted track propulsion with the water and the path taken by the hydrofoil tips of each. - FIGURE 17 isa partial cross section end view of a two unit tilted track seawheel craft showing track drive system. ,FIGURE 18 is a partial cross section end view of a two unit tilted track seawheel craft utilizing approximately 45' track tilt showing track drive. FIGURE 19 is a plan view of a tilted track lift and propulsion unii utilizing hydrofoil blades that cyclically fold and extend with the cyclical fol@d and extend mechanism shown. FIGURE 20 is a partial cross section end view of a tilted track seawheel craft utilizing track units similar to that shown in FIGURE 19 where the blades fold to reduce air resistance loss on the forward path and extend on the rearward path. . FIGURE 21 is a partial plan view of an extemal fold track showing multiple section construction allowing travel around the wheels while straightening into a rigid weight supporting structure for sections between @the wheels. FIGURE 22 is a partial plan view of an internal fold track showing multipie section construction allowing ,travel around the wheels while straightenin.- into a rigid weight suppofting structure. FIGURE 23 is a partial plan view of a chain link overlap track showing multiple section construction allowing travel around the wheels while straightening into a rigid weight supporting structure. FIGURE 24 is a view partially in cross section of one drive wheel and track showing details of an auxiliary thrust and/or drag modifier consisting of a propeller and mechanir-al drive therefor independent of main wheel drive. FIGURE 25 is a front plan view of a hydrofoil blade anti-vortex tip to reduce vortex loss and gain additional lift. FIGURE 26 is a @partial section side view of t-he aboveanti-vortex tip looking in the direction indicated in FIGURE 25. FIGURE 27 is a view in cross section of one track and drive wheel taken through the axle showing details of a hydraulic fluid transfer drive means and associated auxiliary thrust and/or &ag means consisting of a propeller with hydraulic drive motor/generator powered by said iluid transfer. FIGURE 28 is a partial cross section side view of the unit in FIGURE 27. The basic invention relates to a watercraft propelled and lifted by lift surfaces attached to at least one continuous track. One embodiment (FIGURE 1) employs one track on each side of the craft wi-th lift surfaces so arranged that they are almost parallel to and travel rearward just below or on the water's surface producing thrust and lift. Maneuvering is accomplished by driving or braking one or more of the tracks differentially producing a moment force that turns the craft. Another embodifnent (FIGURE 9) could be strapped on to a boat as an outboard and maneuvered by rotating the track unit relative to the bcrat changing the direction of thrust. Another embodiment using one or more tracks an each side is arranged to allow easy removal of the track and drive wheels permitting repiacement wit-h pneumatic tired wheels for prolonged operation on hard surfaced croads, reducing wear. A seawheel craft is a powered boat or marine vehicle that during normal operation has the hull and various ,other buoyant suppor-ting means lifted clear of the water by one or more wheel or track units with lift surfaces which furnish thrust to propel the craft in producing lift. In this condition stationary parts of the boat do not touch the water and do not produce water drag which would hold the craft back when movjnl,. With this source of 4 drag eliminated only aerodynamic drag, artificially in7 duced drag, and change 4of vehicle inertia produce forces to hold the craft back when moving. Artificial drag would not be used at bigh speeds. Thus at high speeds the seawheel craft operation can be very efficient as compared to conventional watercraft or aircraft. Sustained operation at 50 to 300 miles per hour will be practical with the seawheel craft. Efficiency of operation will -be limited only by aerodynamic drag and io mechanical losses. Mechanical losses counted are bearin.- friction loss, transmission gear loss, pri-me mover inefficiency loss, and lift surface slip velocity times thrust force. The lift surfaces must glip rearward and through the water to provide lift and thrust. The slip velocity of 15 lift surfaces relative to the water can remain almost constant no mater what the forward speed of the seawheel craft. Practical slip velocities are in the range of 8 to 30 miles per hour and depend mainly on vehicle weight and lift surface area. For a hydrofoil lift surface the com20 monly used equations are: lift-craft weight lift=,CAV2 drag= (DIL) x lift where 25 CL=coefficient of lift hydrofoil A=area of hydrofoils in water (effective) V=velocity relative to water D/L=,drag to lift ratio of hydrofoil array. 30 A lift reserve of 2 or 3 times craft weight should be allowed for initial lift out of the craft. Since the drawings FIGURE I thr<)ugh FIGURE 20 ar@e all related to a few variations and parts of the basic seawheel craft, a common number identification of similar 35 parts is used throughout the drawings. Number to part correlation is given below. I lift surfaces (can be planing surfaces and/or hydrofoils) main wheels to drive and run endless track on 40 3 spray and wave shield to stop spray thrown from lift surfaces and shield forward moving lift surfaces from large oncoming waves 4 continuous or endless track is a solid or coupled segment belt to which lift surfaces attach 45 5 seawheel hull or body 6 individual brake unit 7 main differential with carry through dtive shaft 8 drive axle main drive shaft 50 10 motor or prime mover 11 rear axle 12 ball or roller bearing 13 individulal brake actuator 14 axle end wheel adapter -for mounting auxiliary pneu55 matic wheels 15 low speed drag propeller 16 differential and gearbox 17 constant speed motor/generator 18 disengage clutch 60 19 universal joint 20 actuate line for brak-e 21 inside wheel adapter hub permits removal of drive wheels, and endless track and substitution of pneumatic wheels therefor C,5 22 motor/generator auxiliary units 23 auxiliary thrust prop, track 24 auxiliary thrust unit support 25 hydraulic power line 26 hydraulic distribution manifold 7o 27 one way valve 28 hydraulic power distributor 29 auxiliary thrust drive shaft 30 bevel gear unit 31 spur gear, special 75 32 small transfer sprocket

[3]

3)403)654 6 33 double link drive chain 34 chain drive sprocket 35 drive axle auxiliary 36 drive gear 37 small gear 38 small drive sha:ft 39 outside tubeshaft drive 40 pitch change control wheel 41 pitch wheel carrier 42 activate rod, decrease pitch 43 activate rod, increase pitch 44 transfer lever 45 position hold spring 46 transfer pin 47 pivot pin main 48 pitch control pivot pin 49 lift surface bearing block 50 upper track support and guide wheel 51 anti-twist track support wheel 52 stub drive axle 53 bevel gear, drive 54 axle bevel drive gear 55 lock pin to pin or unpin bevel gear to axle 56 actuate wheel to control hydrofoil bladefolding 57 support rollers for above wheel 53 spring lever to fold blade 59 preload fold spring 60 bydrofoil bearing fold block 61 ribbon actuate belt to control hydrofoil blade folding 62 optional guide wheels for above 63 individual track section 64 ribbon flexible belt 65 Tigid or flexible tension member which pulls tight limiting inward bend of the track 66 protective bottom plate (may provide structural strength) Where necessary, further description of a part and its use will be found in asection explaining in detail operation of a related parts assembly. Unfortunately, practical lift surfaces have lift to drag ratios that are not infinite and in practice vary from I up to 60 with usable surfaces giving around 10 to 1 ratios. Drag of the lift surfaces is used as thrust to Dropel the craft forward against aerodynamic drag, artifically induced drag, and change of inertia. In order for the craft to be fully supported by the lift surfaces with the hull clear of the water, the total of forces holding back the craft must be larger or equal to the d@rag/lift ratio times the craft's weight. Aerodynamic drag+artificial drag+mass x acceleration= (dTag/lift) (craft weight) Experience shows that aerodynamic drag force is less thari minimum thrust to produce needed lift for craft speeds below 50 to 200 miles per hour (dependent on streamlining of craft and lift/drag ratio). With aerodynamic forces only opposing thrust at these speeds the craft hull would settle and touch the water's surface thus destroying efficiency of operation. To operate lifted out at steady speeds in this speed range then an artificial drag can be created to raise total dra.- fotee to equal thrust needed from lift/drag. Artificial drag can be created in a number of ways. The simplest would be to use fixed hydrofoil and/or planing surfaces attached to the craft moving on or through the water at the same speed as the seawheel craft providin.@ drag and additional lift as well. More efficie-it in the use of a propeller, impulse turbine, paddle wheel, and/or siinilar devices to hold back the seawheel craft with a force such that the force plus aerodynamic drag would just equal thr-ust. The drag created does work on the propeller and/or device used which is largely recoverable. The use of an impulse turbine, propeller, or paddle wheel could give Dractical efficiencies and recovery of respectively 90%, @5%, and 76%. Referring to FIGURE I and FIGURE 2, a drag propeller 15 is shown and would be arranged to retract clear of the water when not in use. A clutch 18 could be used to disengage or engage the propeller which at low speeds would send recovered drag energy back into the -drive train. A variable pitch prop or variable gear ratio transfer unit could be used to match prop speed to drive train for dtag energy recovery. A good @method is shown in FIGURE 2 where the propeller 15 &ives into a differential 16 which sends power into the drive train 8 and receives a 10 constant low speed power input from unit 17 which can be an electric motor, hydraulic motor, etc. Drive train speed is K (craft velocity+slip velocity) and the output of differential 16 is J (propeller velocity-prop slip ve locity+constant speed unit 17 velocity) which approxi15 mately equals drive train speed. Constant speed unit 17 velocity is set to be approximately proportional to slip velocity while propeller velocity-slip velocity is proportional to craft velocity if pitch is constant. Coefficients J and K are solved for to determine gear ratios in units so 20 drive train @speed and differential 16 output speed match. With this arrangement the prop slip velocity and lift surface slip velocity are interdependent and are self adjusting so that: prop drag+aerodynarnic drag+MA=Iift(drag/lift) 25 When aerodynamic drag becomes larger than thrust the propeller slip direction reverses causing the propeller 15 to take power from the drive train and aid the lift surfaces in thrusting the vehicles forward. Thus, for any for30 ward speed the propeller 15 can add the proper amount of thrust or drag to balance the above equation. A propeller 15 acting on the water has cavitation problems at higher speeds if a subcavitating blade section is used to provide the desired efficiency at low to medium speeds. Equally 35 well, a propeller acting on air could be substituted for water propeller 15 with obvious shaft and gear additions to properly position the propeller in the airstream. Constant speed unit 17 velocity would now be varied slightly to account for beadwinds or tail winds encountered. Drag 40 or thtust power does not need to go into or respectively come from the drive train but can respectively drive or take power from a -motor/generator unit to then be distributed as desired. Another embodiment is shown in FIGURE I and FIG45 URE 2 that can be used alternately or in conjunction with the drag prop system described -above. The embodiment - consists of one or several propellers 23 and/or impulse turbine, etc. with co-rresponding motor/generator units 22 and power source/sink. Although more complex, this 50 embodiment allows a more stable and efficient iseawheel craft at most speeds than the drag prop system described above. The units 22 and 23 are attached to either rims of the drive wheels or pr6ferably to each continuous track unit and arranged so that one or more units on each wheel 55 or track are in position at all titnes to act on the water effectively. Four main modes of operation are possible. Mode I operation: the wheel and/or tracks do not move but sufficient power is applied to motor units 22 and pr6pellers 23 to cause the craft to gain velocity backwards 60 @n@ lift the hull clear of the water operating in a fashion similar to a conventional hydrofoil craft. More Z operation: wheels and/or tracks turn with direction and velocity to move the seawheel craft forward and craft hull has lifted clear of the water but forward speed is below 6,5 that where thrust=aerodynamic drag. Power is supplied to motor units 22 to maintain a constant propeller 23 rotation speed. Speed and propeller vitch are such that water flows past both propeller and lift -surfaces at the desired lift surface slip velocity and the craft hull stays 70 lifted clear of the water. Examining operation it is seen that propeller 23 forward velocity minus slip velocity and lift surface slip velocity are interdependent. Wbeel and/or track units provide lift surface thrust equal to aerodynamic drag+MA forces while the motor 22 and p-rop units 7 r, act directly on the water and lift surfaces to cancel the

[4]

3)403)654 7 difference between lift(drag/lift) needed and aerodynamic drag+MA forces. When turned at the proper constant speed the slip of propellers 23 operates to properly vary the thrust produced by propellers 23 throughout the speed range. Propellers 23 produce near maximum thrust near zero speed and taper off to zero thrust where aerodynamic drag equals lift(drag/lift) needed. Mode 3- operation: the same as mode 2 except the seawheet craft is moving at a high speed where lift(dra.-/Iift) is smaller than aerodynamic drag forces. Slip direction through the propellers 23 has thetefore reversed causing drag instead of thrust that added to the lift surface drag becomes drive thrust to match aerodynamic drag+MA forces. The instant effect of the constant speed propel er in modes and 3 as seen by the drive train is a varying apparent lift/ drag ratio to suit conditions. Apparent lift/drag can thus be infinite at zero speed and with speed increase it decreases (nearly to zero at very high speeds). Mode 4 operation: this is an unusual method of operation that appears to be 2% to 5% more efficient than mode 2 operation in the low speed range where speed is less than half the speed at which aerodynamic dra.equals lift(drag/lift ratio). For speeds above this the efficiency of mode 4 operation rapidly decreases and drops well below mode 2 efficiency. The seawheel craft, when a suitable reverse gear is available in the drive, can operate in mode 4 without modification from a mode 2 and 3 vehicle configuration. However, to do so it must travel backwards and the wheels of a vehicle viewed as FIGURE I would turn counterclockwise. In previous methods of operation the slip direction of the lift surfaces has been opposite to vehicle travel direction. In mode 4, however, power applied to motor 22 and propeller 23 units forces the slip direction of the lift surfaces to coincide with vehicle travel direction thus velocity of the seawheel craft equals drive wheel rim velocity plus the velocity of the water past the lift surfaces. The craft operates in a lifted out condition avoiding hull drag on the water. FIGURES 7, 8, and 24 show possible construction of motor 22 and prop units to give auxiliary thrust or drag to the track. In FIGURE 7 hydraulic fluid is being pumped into the hollow drive axle 8 and flows through holes in the axle into the distributor 28. As a track section slides past in contact pressure forces valve 27 open and fluid flows into manifold 26 that runs past and supplies fluid under pressure to each power line 25. Thus, fluid forced in at any of numerous valves 27 will spread to all hydraulic motors 22 providing power to turn propellers 23. FIGURE 8 shows mechanical drive power coming from shaft 35 to a sprocket wheel 34 which drives chain 33. The chain parallels the endless track in contact with sprocket wheels 32 for every unit. The chain drives each sprocket wheel 32 which drives the propellers through bevel gear unit 30, shaft 29, and special spur gear 31. FIGURE 24 shows mechanical drive power coming from shaft 35 and traveling through @gear 36 to gear 37 to shaft 38 to bevel gear pair 37 through shaft 29 and bevel gear unit 30 to power the propeller. Note that this auxiliary thrust unit attaches to the wheel 2 instead of the continuous track 4 in FIGURES 7 and 8. A paddle wheel or impulse turbine attaching to the tube drive 39 in FIGURE 8 could also be used. An electric motor drive through slip rings and brushes or a self-contained power unit are other means of accomplishing. Another means of achieving efficient low and medium speed operation is to use a multiple track seawheel chaft as shown in FIGURES 10 and 11. N@tice the difference in hydrofoil direction and angle in FIGURE I 1. Both side track units have a velocity of vehicle forward speed plus lift surface slip velocity so slip direction is rearward. The rear track moves at vehicle forward speed minus slip velocity so slip direction is forward. Now drag from forward and rearward slip oppose and if they are not equal in this case the difference becomes thrust to pro8 pel the seawheel against aerodynamic &ag. By choosing the proper weight distribution between back and front the seawheel craft efficiency can be optimized for a particular speed in the range where aerodynamic drag is less than vehicle weight(drag/lift). Note that even with forward and backward slip directions that nonetheless all tracks turn in a counterclockwise direction. A combination of two or more of the foregoing types of operation is workable and may be needed to get best o@- 10 erating efficiency at a particular speed in region I. Region I is defined as the speed range where aerodynamic drag is equal or larger than vehicle wei.-ht (drag/lift ratio). Operation with the hull in the water n-light be used at very low speeds and needs no further comment. 15 Lift surfaces shown in the drawings could be either hydrofoils or planing surfaces or a combination blade that is a hydrofoil at lower speeds but rises to the surface and planes at higher slip speed. Planing operation is workable and in test models gave stable operation. How20 ever, slip velocity needed is much higher than for equal area hydrofoil surfaces. A reasonable lift/drag ratio is easier to achieve with planing operation and cyclical pitch changes do not appear necessary for efficient operation. Hydrofoil surfaces promise much more efficient 25 operation due to the lower slip velocity needed but more testing needs to be done to achieve equally good lift/ drag ratios and cyclical pitch control is necessary for efficient operation at higher speeds in vertical track seawheel craft as shown in FIGURES 1, 2, 3, 4, 9, 10, and 1 1. 30 FIGIURE 4 shows desirable cyclical hydrofoil pitch chan.-es needed at higher speeds. This can be accomplished with the mechanism shown in FIGURES 4, 5, and 6. FIGURE 5 shows a device that will hold either of the two positions it can be set into until activate rod 42 or 43 35 @are depressed to set it to the other position. The spring 45 is under enough compression to hold either position but allows movement of the transfer lever 44 through center. Note that actuate rods can be depressed further than stable position to extra positive or negative attack 40 angles. The left front and rear bottom control wheels 40 in FIGURE 4 create extra negative attack and extra positive attack angles (rod 42, rod 43) respectively on each passing hydrofoil. The front bottom and rear top control wheels 40 trip the actuate rod 43 and rod 42 45 respectively as that track section passes changing the hydrofoil pitch cyclically as shown. The angle of incidence that water flows past the hydrofoil blades can increase by 20' to 60' on entry and decrease by 20' to 60' on exit from the water while vector sum velocity also 50 increases relative to angle tumed in entry or departure from the horizontal. Increased angle of incidence on entry with a fixed pitch craft causes high lift on entry and the decreased exit an,@le can cause negative lift with the resulting force causing the craft to run with the bow 55 raised at a 20' to 45' angle. This, coupled with a high and rearward center of gravity has caused test models to flip over backwards, especially when acceleratin.- rapidly. Even with cyclic pitch control a forward center of gravity is desirable to oppose the moment couple introduced by 60 a high center of aerodynamic drag and a low center of thrust. At very high speeds a lifting airplane type tail and/or a high positioned thr-ust device such as an air propeller or jet engine could be needed. FIGURE 9 shows another solution or hydrofoils cotild be substituted for 65 or used with the planing surface. Tandem fore and aft track units well spaced as FIGURES IO and II show is another soliition. Tilting the track units as in FIGURES 12, 13, 16, 17, and 18 decreases the actual fixed hydrofoil angle varia70 tion for entry and exit from the water with the need for cyclical pitch control rapidly decreasing as tilt of t@he drive wheel axis approaches 70' to 80' relative to the water surface. The tilted track seawheel craft can offer a low aerodynamic drag center, a low center of gravity, 75 and efficient hi.-h speed operation with fixed pitch lift

[5]

9 surfaces. As shown the lift surface angle to the drive axis is set to place it roughly horizontal to the water surface during rearward travel contacting the water. Hydrofoil types as FIGURE 17 could use a dihedral angle as do aeroplanes to improve lateral stability. However, available lift decreases as the cosine of the dihedral angle. Drag, drag feedback, auxiliary thrust units, and other construction or combinations previously described apply also to tilted track seawheel craft. Another device applicable to both types but particularly to tilted track craft is the cyclical lift surface fold track shown in FIGURES 19 and 20. A rubberized flexible track 4 is shown moving around wheels 2 with blades I that fold near the end of the rearward path in contact with the water when the springy lever arm 58 is actuated by contact with rear wheel 2. The blade I and lever arm 58 are attached to form one piece and use pivot brackets 60 as a pivot point. Arm 58 contact with the rear wheel 2 gives a positive fold while the blade travels around the rear wheel; then tension of spring 59 holds the blade folded against air resistance during forward travel. The front wheel 2 is not as thick as rear wheel 2 in FIGURE 19 so that actuate wheel 56 can be placed to contact and actuate lever arms 58 as they pass. As the blades I travel around the front wheel 2 the lever arm 58 contacts the actuate wheel 56 positively keeping the blade folded until as the blade 1 starts rearward the centrifugal force and drag of the water when entered gradually unfold the blade I with the actuating wheel 56 allowing more and more movement of the lever arm. Thus, as the blade leaves the forward wheel 2 it is completely unfolded and dra- of the water against blade I holds the blade I unfolded against the pull of spring 59 as the blade travels rearwa-rd providing lift and thrust to the seawheel craft. If the blade must positively remain folded during forward travel or be damaged, a belt 61 can be added over blade fold actuate wheel 56 and rear wheel 2 to hold lever 58 while moving forward. The blades can also be arranged to fold up or backward, but the fold mechanism is more complicated and efficiency is not as good. The blade I pivot axis can be inclined forward or backward, etc. so that when folded the blade I axis is almost parallel to air flow over it as the forward returning blades in FIGURE 20 are shown. Since forward velocity of the lift surface blades 7 is about twice that of the seawheel craft the reduction in air drag by folding the blades can be considerable. Further reduction can be effected by providing an enclosed path as shown in FIGURES 12, 13, and 18 to return the blades and track 4 forward inside of and protected from the air flow past a fast moving seawheel craft and from wave or water impact. A bottom plate 66 as shown in FIGURE 18 could be used. Without water drag created by running the track in water, FIGURE 19, all the blades I would fold to allow the seawheel craft to tie up alongside a dock or on land wauld allow operation on a narrow road or traff. A one track unit with aboat 45 degree tilt, as part of FIGURE 18, with the body and drive above the track would make an excellent amphibious craft uscable on narrow mountain trails, snow, mud, highway, water, etc. A pivoting tandem wheel or second track unit could be used to steer. A rigid lever 58 could be used if desired in the folding mechanism but a spring lever has advantages as follows: (A) Blade I inertia, etc. resists folding action and spring in the lever 58 reduces impact and forces needed to fold the blade. A dashpot or damping mechanism could also be added. (B) The spring lever bears against a stop on the track limiting unfolding of the blade 1. However, on hitting deadheads or debris in the water the blade can bend the spring lever 58 and pivot an additional 40'. or more toeffectively shed the debris, etc., without serious damage. (C) Bending of the spring lever using a second stop against the actuating wheel 56 can fully fold the blade 1 yet spring back to. unfold the blade enough after passing 31403@654 10 to insure that water contact will catch and fully extend the blade 1. Note that when encountering debris, deadheads, etc., in the water that velocity of the lift surfaces with respect to such material is only the slip velocity that may vary from 10 to 30 miles per hour and is not the forward velocity of the seawheel craft. This low speed minimizes impact with the material. Low inertia of the track unit plus a drive train slip clutch will allow the track to easily 10 match the materials speed without damage whereupon the seawheel craft track will roll up and over to resume speed and continue on its way. The same analysis is -,ipplicable when the seawheel craft runs onto a ramp or beacb. In planing operation the lift surfaces would probably slip 15 harmlessly over the material cushioned by a layer of water as when a water skier hits a jump ramp. Lift surfaces capable of high lift to drag ratio are needed to better medium and low speed efficiency of seawheel craft. Several things can be done to better lift,ldrag 20 ratios as follows: (1) A good hydrofoil lift section can be used with around 12% thickness and a flat bottom blending into under camber at the trailing edge (see tulin bottom shape for supereavitating hydrofoils). 25 (2) Use high aspect ratio lift surfaces. (3) Use a properly designed hydrofoil tip as shown in FIGURES 25 and 26 to reduce vortex losses thus increasing lift without a proportionate increase in drag. Low pressure areas exist at bottom and (more so) top of a hydro30 foil in operation causing spanwise flow of water from the tip into the low pressure areas. If the tip is smoothly curved and tapered through about 80' then water is drawn down to the tip and turned,to flow spanwise along the wing. Accelerating the tip water downward, therefore, 35 produces extra lift. In FIGURE 26 the tip tapers to a knife edge at Id and la sloping backward also witli a flat straight trailing edge section Ic to best suppress a vortex above and following the wing. The blending of hydrofoils into the track at both ends as shown in FIG40 URES 2, 3 and 5 is designed to reduce vortex and improve lift/drag ratio in the same manner. (4) Use a buoyant track that provides buoyant lift in addition to lift from the lift surfaces. Buoyant track lift could be designed to provide lifts of 0% @to over 100% 45 of vehicle weight. More aerodynamic drag would inci ease slip velocity varying the load sharing between buoyant track and lift surfaces to satisfy real lift/drag ratio. (5) Use auxiliary lift as in ground effect machines, captive air bubble machines, helicopters, etc., in combina50 tion with a seawheel craft. (6) Streamline all parts contacting the water and simplify where possible to reduce interference and section drag. Stability of a lifted out seawheel craft at speed is im55 portant. Buoyant track use aids vertical, lateral, and longitudinal stability of the craft. The use of dihedral and/or surface piercing hydrofoils vary lift per unit area in a way to stabilize the craft. Subcavitating hydrofoils rapidly lose lift as immersion decreases less than one chord dis60 tance. This effect alone has given satisfactory stability in past model tests. Planing type operation also has given satisfactory stability in model tests. Lowering of the center of gravity gives better stability. Longitudinal stability was previously covered in the cyclic pitch section. Fore-aft 65 and lateral distribution of lift area or track units is desirable for stability. Note the axle to wheel adapter hub 14 or 21 shown in FIGURES 2, 3 or 17. Hub adapter 21 is placed so that 70 pneumatic tires can easily be bolted on for hard surface road travel without a need to remove the track units. In FIGURE 17 a lock pin 55 is provided to easily lock or unlock axle 8 and bevel drive gear 54 permitting i-oad use on pneumatic tires without turning the track unit. In 75 FIGURE 2 the wheel adapter hub 21 allows removal of

[6]

3)4031654 the wheel-track unit and substitution of pneumatic tires for road use. Movement of the track and lift surfaces is such that areas touching the ground move straight forward or backward allowing the seawheel craft to operate on hard or soft surfaces in addition to water surfaces without any conversion. Lift surface loadin.@ per unit area is small er,.ough to allow operation @on snow, mud, or other soft surfaces. Construction of the continuous track can vary and different forms are shown in FIGURES 4, 14, 15, 19, 21, 22, 23. While cable, chain' link, and rubberized flexible tracks can be used the rigid one way bend only track shown in FIGURES 4, 21, 22, or 23 is to be desired. The track in FIGURES 4, 21, and 22 can use a flexible ribbon belt 64 with rigid or semi-rigid sections attached to form the shape shown. Altemately semirigid or rigid sections can be hinged together to form the shapes shown. Tension members 65 in FIGURE 22 connect the inside circtimference edge of sections to prevent bending with load applied as shown by the arrows. Butting together of the FIGURE 21 track sections prevents bend and holds a.-ainst a load applied as shown by the arrows. FIGURE zl is a combination of FIGURE 21 and FIGURE 22 track construction. FIGURE 23 is an overlapping chain link tra,k whose link tips btitt on the next link to prevent bending with load applied as shown by the arro,ws. Note that with thickness and width these tracks will support loading in all but one direction and will resist twisting. This is desirable not only to reduce the number of support wlieels needed but to reduce vibration in the track that could be considerable in an unsupported run of flexible track. However, test runs of a model with a flexible track was daniped enough by hydrofoil contact with the water that vibration was not detectable during operation. in large seawheel craft hull strength considerations may demand more support points than two wheels 2 at opposite track ends. To transfer the load using numerous upper track support wheels 50 as shown in FIGURE 15 to betterdistribute stress forces on a large hull is desirable when either flexible or rigid track is used. It is also desirable when wheel 2 separation is large in con-iparison to wheel 2 diameter as it would be to maximize percentage of surfaces contactin@ the water. Also notice antitwist track support wheel 51 in FIGURE 15 used to oppose moment (twist) forces caused when blade I provides lift. The support wheels 50 and/or 51 can be rigidly mounted or spring held to tension the track as well as support it. Obviously the seawheel craft must be @provided buoyancysufficient to float the craft well and with stability when at rest on the water's surface. Vehicle hull surfaces should also be designed to place enough area rearward from the center ofgravity and the center of for@ward thrust forces to provide unconditional aerodynaniic stability at all forward speeds. Retuming to the blade fold mechanism it is seen that forward inclination of the blade fold axis with forward folding blades is advantageous to promote better blade position and pitch changes in,going around the end wheels 2 where fold angle is referred to the more forweird part of the fold axis. Similarly a semifixed lift surface would be held secure at the top forward part of a pivot axis with an appropriate bearing at the bottom to provide support allowina twist and extension/contraction for travel around the endowheels 2. This would give semifixed surfaces a small forward inclination and negative pitch increment in traveling around the end wheels 2 that is desirable. In closing note that slip velocity determines basic efficiency of operation which is: Vehicle Velocity Vehicle Velocity+Slip velocity This and aerodynamic drag form a base in determining best obtainable efficiency and are modified only slightly 12 by auxiliary devices for high speed travel. Aerodynamic drag is proportional to vehicle airspeed squared. A spring loaded pitch mechanism to increase hydrofoil pitch over initial pitch with slip velocity increase may be needed to get the required thrust for very high vehicle speeds by decreasing lift/drag ratio or auxiliary fl-,tps can be used. Although only one prime mover is shown in the drawings for a craft drive system, each track may be driven 10 by one or more individual prime movers or share prime mover powei in other ways. Adaptation to maintain like slip velocities and to steer the vehicle are obvious. The drawings show varied embodiments of the invention and such embodiments are described. It will be 15 undorstood that various changes may be made from theconstruction disclosed, and that the drawings and description are not to be construed as defining or limiting the scope of the invention, the claims forming a part of this specification being relied upon for that purpose. It 20 is intended to cover in the appended claims all such changes and modifications that come within the true spirit and scope of the invention. What I

Как компенсировать расходы
на инновационную разработку
Похожие патенты