заявка
№ US 0003402634
МПК G01N21/55

Номер заявки
4444090
Дата подачи заявки
30.03.1965
Опубликовано
24.09.1968
Страна
US
Как управлять
интеллектуальной собственностью
Чертежи 
4
Реферат

Формула изобретения

claimed is: 1. An optical system adapted for use in - measuring absolute reflectance and transmittance of electropolished 10 single crystal samples ccmprising in combinatio-1: a horizontally rotatable liquid helium Dewar including means defining therein a sealed and evacuated chamber having at least one pair of opposed cavities comprisin@ transparent plane-surfaced windows adapted 15 to transmit an externally generated beam of light transversely through said chamber; crystal support means arranged with'n said chamber for supporting a single crystal sample having a polished surface in a beam interruptin,@ pos.'tion 20 within said chamber and betweeii said wi-@idows so that said polished surface is in a substantially parallel relationship with respect to the piane surfac.-s of said windows and extends alon.- the vertical axis of ro,ation of said D,-war; 25 source of lil-ht; double-monochromator optic system, includ@@ng an exit pupil, for producing from said source a monochromatic beam of li,-ht; 30 first plurality of mirrors to intercept the beam and to reflect the beam along a folded path extendinthrough one of said windows into said Dewar and to ima-c the exit pupil on the polished stirface of a crystal sample slipported by said suppc)rt means; 35 second plurality of mirrors to intercept the beam as the polished surface reflects the beam along a second folded path extending tlirough said one window and to reiri-lal-e the exit pupil on the sample surface a second time in a manner such that the 40 two ima.-es are aligned in a coincidin.- and superimposed relationship; third plurality of mirrors to intercept the beam as it is reflected a second time from the polished surr', face of said crystal sample along a path extendill.- 4a throu-h said one window to direct the beam along a third folded path; and li-.ht responsive detector means disposed in the third folded path for detecting the beam and providing an output si.-nal indicative of the surface rei'lectance 50 for said polished surface of said sample. 2. The system according to claim 1 further comprising: sample displacing means to remove said polished surface from said first folded path; said first plurality of mirrors to intercept said beam as it is directed by said first plurality of mirrors and to reflect said beam along a fourth folded path extending toward said third plurality of mirrors when said sample is removed from said path, whereby said beam is caused to be intercepted and directed by said third plurality of mirrors to be detected by said detector means in the absence of said sample surface. 3. The system according to claim 2 wherein the sample displacin.- means comprises: a telescoping and r(>tatable mounting means to support said Dewar for reciprocal displacement in vertical directions and for horizontal rotation about th6 vertical axis of rotation thereof extending along the plane through the centerline of said crystal sample surface, whereby the crystal sample surface of a crystal suppo-rted by said support may be vertically displaced as well as rotated throu-h 180 degrees from a first to a secoitd surface disposition. 4. The system according to claim 3 further comprising: a fifth plurality of mirrors to intercept said beam as it is directed along said first folded path and in cooperation with said third and fo-urth p!uralities of mirrors to direct the beam along a plurality of folded paths for causing the exit pupil to be ima-ed and th@-n reimaged in coincidin-, superimposed relationship on the polished surface of said crystal subsequent to a rotation thereof to its second surface position, and to direct said bcam to said detector means as it is reflected a second time from said polished surface disposed in its second position, whereby reflectance error introduced through misalignment of said sample relative to sa;d opticai system may be detected. 5. The system according to claim 4, further comprising: second detector means mounted in said system; a sixth plurality of mirrors; and means associated with said fourth plurality of mirrors for removing one of said mirrors from said fourth folded path so that said sixth plurality of mirrors intercepts said beam of light as it is directed in said fourth folded path when said sample comprises a semitransparent sample disposed within said first folded path, and which accommodates a passage of the light beam therethrough as a beam is directed by said first plurality of mirrors through said wiridows, whereby sample transmission characteristics may be detected and measured at said second detector means. No references cited. a fotirth plurality of mirrors disposed in a displaced 55 JEWELL H. PEDERSEN, Piii?7ai-y Exaittinei-. and optically ali,@ned relationship with respect to W. A. SKLAR, Assistaizt Examitier.

Описание

[1]

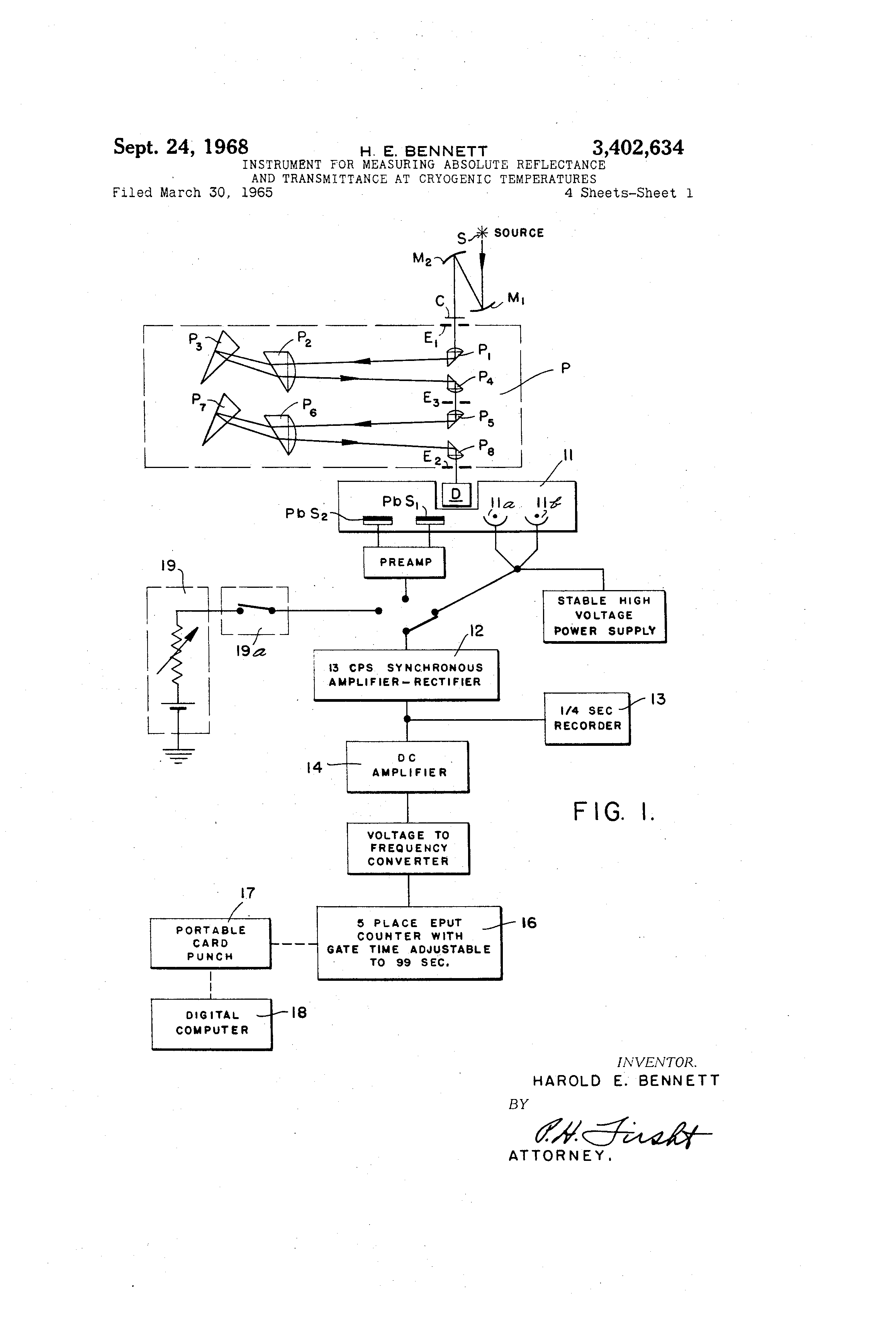
3 1 4 0 2 @ 6 3 4 Ujiited States Patent Office patented Sept. 24, 1968 3,402 ,634 INS TRUMENT FOR MEASURING ABSOLUTE REFLE CTANCE AND TRANSIMITTANCE AT CRYOG ENIC TEMPERATURES 5 Har old E. Bennett, Chiina Lake, Cafif., assignor to the Unit ed States of America a represented by the Secretary of the Navy Filed Mar. 30, 1965, Ser. No. 444,090 5 Claims. (Cl. 88-14) 10 The invention described herein may be manufactured and used iby or for the Government of the United States of America for governmental purposes without the payment of any royalties thereon or therefor. The instant invention relates generally to an improved 15 refle ctometer for measuring absolute reflectance and transmitta nce of solid-state sample material, aiid more particul arly to an improved reflectometer for obtaining abso lute reflectance and ttapsmittance measurements of solidstate, single crystal samples at cryogenic tempera- 20 tures. Know ledge of optical properties for given materials provid es physicists working in the so'lid-state fields with valuab le @nd often quite vital information coneemin- the band structure of the given material. For example, in 25 the intrinsic absorption regio-n, optical constants provide direct information with regard to the joint density of states functions for interband transit.ions. In the free carrier region, the Telaxation time may be determined from optical measurements, when electrical current (D.C.) 30 condu ctivity for a given material is known. Furthermore,. tempe rature changes will initiate band structure changes for any given solid-state material, which may be observed by detecting temperatute initiated changes in the reflect,ance and transmittance characteristics of the sample. 35 An earlier device, more fully described in applicant's copen ding application Ser. No. 78,791, filed Dec. 27, 1960, now aba@doned, is capable of providing reflectance and transmittance measurements at room temperatures, Which iare accurate to -0.001. However, the device of 40 the copendiiig application is intended to function at room tempe ratures and is inefficient in utilizing light in the ultravi olet p6rtion of the spectrum and necessarily requires that relatively large optically flat samples be utilized in optically obtainin- band structure information, 45 and further requires that at least thirty or more reflections be utilized in the examination of each given sample. The purpose of the present invention is to overcome these disadvantages, while utilizing the basic principles and retaining the efficiency characteristics of the earlier 50 device . Briefl y, this is achieved by utilizing a system of curved mirror s, similar to that described in the aforementioned applic ation, for twice reflecting aii image from a plane polish ed sample surface. As in the af6rementioned appli- 55 cati6n, curved mirrors are used to direct a beam of light which is reflected a first time from the sample surface to a curved mirror. Hd@vever, in the present invention a plane mirror is disposed adjacent the curved mirror. The curve d mirror.forms a real image of the sample surface at 60 the @time of the first Teflection therefrom. The plane mirror is arranged at dn angle such that the real image forme d by the curved mirror becomes a virtual object whose image is formed on the surface of the sample when the light is reflected at nearly grazing incidence back 65 to the sample. ThTough the utilization of the plane mirror, t@he beam of light striking the sample a second time appears to come from a virtual optical system shifted laterally with respect to true optical system, i.e., the system formed by the aforementioned true image form'mg 70 curve d mirror. It will be appreciated that since it is possible to cause the boam of light, as it is reflected by the 2 plane mirror, to strike the surface of the sample at a given angle of incidence differing substantially from that at which the light is first caused to strike the sample for the first reflection, the images formed on the sample may be caused to coincide, or be superimposed, while the li-,ht reflected therefrom is caused to follow separate paths extendin.- from the sample surface. This then permits Telatively small single crystals to be examined, d,ue to the fact that a much lesser area is required fo r twice reflecting the light from the surface of the crystal samples. Consequently, the physical dimensions of the samples may be reduced sufficiently for insertion into an efficient Dewar, wherein the temperature of the sample may be reduced to cryogenic temperatures and examined in a manner heretofore deemed impractical. An object of the present invention is to provide an improved reffectometer which taccommodates an examination of relatively small single crystals whose absolute reflectance and transmittance can be measured with precision at cryo-enic temperatures. Another object is to provide in an improved reflectometer which serves to afford a multiple reflection of a beam of light from a common area at a sample surface in a manner such that absolute reflectance may be obtained therefrom. A further object is to provide an improved reflectometer which operates over a wide wavelength range and which utilizes a plurality of curved and plane mirrors for twice reflectirig a bdam of light from a single area at a sample surface for making absolute reflectance and transmittance measurements while the temperature of the sample is maintained at cryogenic level, and in which systematic errors may be substantially eliminated. Other objects, feature and many of the attendant advantages of this invention will become readily appreciated as the same becomes better understood by reference to the following detailed description when considered in connection wivh the accompanying drawings wherein: FIG. 1 comptises a schernatic diagram, in partial block form, illustrating the over-all system of the instant invention; FIG. 2 comprises a diagrammatic view, in distorted dimension, of paths followed by the light as it iS Teffected to and from the surface of a sample mounted in a liquid helium cooled Dewar for obtaining absolute reffectance measurements f-rom the cooled sample; FIG. 3 comprises a diagrammatic view of the paths of the light as it is reffected when the sample is removed from the li,-bt beam in order that sample reflectance may be measure'd directly; FIG. 4 comprises a diagrammatic view illustrating the paths followed by the light when the Dewar is rotated 180', for correcting systematic errors imposed through nonequivalance present in mirrors of the system; FIG. 5 comprises a diagrammatic view of a pair of possible light paths when the system is utilized for obtaining transmittance measurements for the sample mounted in the Dewar; FIG. 6 comprises a cross sectioned view of the Dewar D taken generally along lines 6- 6 of FIG. 7; FIG. 7 comprises a side elevation of the Dewar D illustratin@ an arrangement of the sample holders as provided fo'r in the instant invention and the bearing plate which supports the Dewar for rotation about a vertical axis; and FIG. 8 comprises a front elevation of the Dewar D, rotated 90 degrees with respect to the view of FIG. 7. Referring now to the drawings, wherein like reference characters designate like or corresponding parts throughout the several views, there is -schematically shown in FIG. 1 an over-all Yiew of the system of the present in-

[2]

314021634 3 vention. A stable light source S, which may comprise aconventional strip filament lamp or hydrogen arc, serves to propa-ate a beam of light which is directed by a pair of curv@,-d mirrors Ml and M2 to impin.-e on a conventional Muller-Hil-er doublemonochromator quartz optic syst,-m, generally designated P, comprising quarz prism and lens elements PI, P2, P3, P4, P5, P6, P7, and P8. However, arranged between the system P and the mirror M2 there is a 13 c.p.s. (cycles per second) chopper C, of conventional desi-n, which serves to interrupt the beam and provide a pulsed beam to the system P, the purpose of which will be hereinafter more fully appreci-,ited. The chopped beam is admitted to the system P through an appropriately formed slit El a-rid emitted from the system P throu-h an exit slit E2. Disposed between the OPtiC CleMCntS P4 and P5, there is a con@,entionally ali.@nedadditio,nal slit E3. Through the Litilization of this particular optic system, the amount of scat,ered li,@ht passed from slit E2 is limited to .002% of that of the desired wavelength, even in the far ultraviolet portion of the spectrum. The li@-ht is passed from the system to a plurality of mirrors M3-M21 mounted within fixed structure to be reficcted to the surl'ace of a test sample 10, mounted within a Dewar D, and subsequently to a detector system 11. For the sake of simplicity the mirrors are shown only in schematic form, however, it will be readily appreciated that these mirrors are of conventional desi-n and are mounted within the reffectometer by any suitable means well within the skill of those familiar with the reflectometer art. As lioht passes froin slit E2, a plane mirror M3, FIG. 2, folds the path of the beam and directs it to the stirface of a curved or spherical mirror M4, near which a P.-al ima,-e RI of the projection Of PriSM P7, as imaged by P8, i.e., the exit pupil, is formed. This exit pupil is then reimaged on the surface of the sample 10, by a pair of oppositely disposed plane and curved mirrors M5 and M6, respectively. The simple 10 is aligned and removably retained in a vertical plane within the coolin- chamber of the Dewar D, which may comprise a nitro-,en or helium cooled Dewar, FIGS. 6, 7 and 8, hereinafter more fully described, fixed within the path of the ligbt as it is reflected from the mirror M6- Since the exit pupil RI rather than the exit slit E2 is ima@ed on the surface of the sample 10, the lateral convergence angle may be reduced from ei-ht d@-grees, as fotind at the exit slit E2, to about two de-rees at the surface of the sample 10. Further, and importantly, it is to be particularly noted that the area illuminated on the surface of sample 10 may be mairitained constant, since the exit pupil is imaged on the sample surface independently of width of slit E2. The beam of light directed to the sample's surface by mirrors Mr, and M6, is now reflected from the surface of the sample 10 to the reflecting surface of a spherical or curved mirror M7, ali-ned in spaced relationship with the Dewar D. The mirror M7 now images the sample surface and reflects the light to strike the reflectin.- surface of an off-set plane mirror M8, at almost grazing incidence, FIG. 2. The plane mirror MB is mounted in a manner such that the light striking it at grazinincidence is reflected to leave the mirror an at angle such that the exit pupil is again imaged, on the surface of the sample 10. In this manner, repeated reflections between the mir'rOr 1\17 and the surface of the sample is eliminated. Consequently, the ima,@es formed upon the reflections of mirrors M(3 and M8 are caused to coincide and be superimposed on the surface of the sample 10, while the light beam is caused to strike the surface of the sample 10 at different angles of incidence. Therefore, it will be appreciated that the light strikin.- the sample surface, as it is reflected from the plane mirror M8, appears to come from a laterally sliifted virtual optical system. Thus the 4 paths of the beam formin.- the exit pupil image, formed on the surface of the sample 10 at the time of the second reflection therefrom, and the pupil image formed at the first reflection from the surface are separated as the beam is caused to twice impinge upon the surface of the sample 10 at different angles of incidence. T,ie beam of light reflected from the mirror M8 and striking the surface of the sample 10 will be reflected and caused to leave the surface of the sample alon- a prede10 terriii@-led path disposed at an angle with respect to the patli of the b@-am as it is reflected toward the mirror M7, Nlounted so as to be disposed within the path of the beam leavin.- the surface, upon the aforedescribed second reflection, th@-re is a mirror Mg which folds the beam's path 15 to direct the light to a pair of oppositely disposed plane mirrors Mio and Ml,, which directs the beam along a fo'dcd path to strike a delector 11, FIG. 2. 'I'he detector 11 niay be provided with conventional photomultiplier tubes Ila, as well as lead sulfide cells 20 PbS,, which may be alternately disposed within the path of the beam, in place of mirror Ml,, as it is reflected from the mirror Mlo. The particular mode in which the detector 11 is operated, i.e., whether a photomultiplier or lead sulfide cell is utiiized, is dictated by the wave25 length region at which the measurements are to be made. That is to say the photomultiplier tubes 11 are particularly suited for obtainin.- measurenients in the 2,0007,000 an.-stroms ran.-e, while the PbS cells are suited for obtainin@ measi,rements in the 6,000-25,000 ang30 strom ran,@e. In any event, the detector 11 provides pulsed oiitput si-nals having an amplitude commensurate with the rzflectance characteristics of the surface of the sample 10. These pulsed signals pass through a 13 c.p.s. synchronous am@plifier-rectifier circuit 12, synchronized with 35 the -chopper C, wherein the si.-nals are converted to D.C. (direct current) si.@nals to provide D.C. input signals to a recorder system, FIG. 1. The circuit 12 is synchronized with the operation of the chopper C in order that reflectance measurement intel40 li.-ence may be obtained in the form of D.C. si-nals for IDPUT to a 1/4 second, 10 millivolt recorder 13, or if desired, fed through an inte.-rating circuit, comprising a D.C. si-nal amplifier 14, a voltage to frequency conver-ter 15, and a EPUT (events per unit time) counter 45 16. The display of coiinter 16 is proportional to the signal voltage inte.@rated over any desired time interval up to 99 seconds. The output from the counter 16 may be fed through a suitable card punch device 17 for providing an input to a di.-ital computer 18, of conventional design, 5rj which serves to calculate and print out the observed reflectance data. In order to achieve accuracy in the measurements obtained from the optical system it is necessary that the electronic system be both stable and linear. Consequently, 55 selectively connected means, comprising a series connected Dekabox-Mercury cell 19 and a synchronous 13 c.p.s. chopper 19a are utilized to provide an input to the electronic system, whereby the electronic system@s stability and linearity may be established. This circuit also 60 serves as a means for troubleshooting the electronic system in the event a malfunction occurs. Turning now to FIG. 3, it will be appreciated that the prese@it invention provides means for obtaining absolute -measurement reflectance directly, without regard to a re65 flectance standard sample. It will be noted that the beam ol. li,-ht being reflected by the mirror M6 iS caused to pass alo@ig a path extending through the Dewar D, where the sample S has been removed from the path thereof in a 70 manner as will hereinafter be more fully described, to be imaged on a spherical mirror M12, whereupon it is reflected to the surface of a plane mirror M,3, similar in clesi.-n to the mirror M8. The mirror M13 serves to reflect the beam alon- a path extending through the Dewar D, in 75 a reverse direction, to impinge upon the mirror Mg. From

[3]

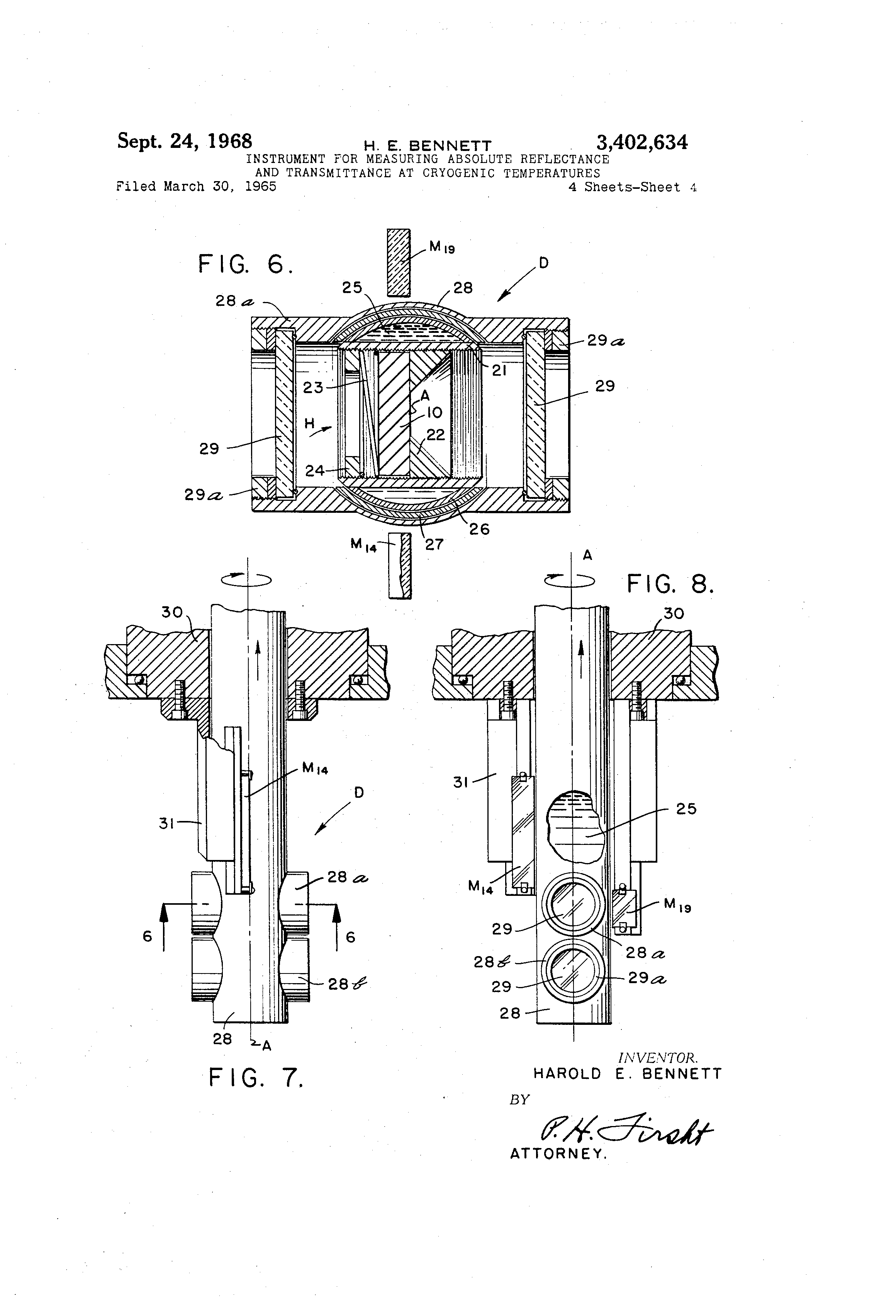
3 402 634 the T'irror Mg,' t]@e b6 of 'liglit is ieffected t6 the deiett(?t 11 by way 'of@'m@ir@ro.rs 10 @i@fid @ll in thi3 niaiiner -iforci@@iiii6h-6d. Si@ tfi6 @icit @'u@ll r6th6r th the exit ce an silt is i'm- a'g'ed 'an iffide the s'ame'niimb'er'of mir'ror re@ 101 -I @ S -r'emo :Gect' is occur, Wit t e samp e @id from the path 6f the @bea@l,' th6 rati6 - 6f the'glgn@l@@ 'obtained fiom the detector prl'ovides @the 'square of th'e s-@@ple surface reflecte@nce I ditb c@tiy'.'C-oAse,quently', "tliis measurement is an absolute measurement Tath6i th@ii @ relative measurement, 6f sa@@ple'r@6fleci@rice. 'Tfi&ief6rd, ii is n6i @e@ess I ary th a-in''ple',,iv'fiose'rekectance is known I @, at @Ef sta'naaid'sb@e, :utilized in obtdi@iiii gaiij@ji@ s@ii@@e reftectan;e@ I moasureirients Tor-, a: given sampi6. It@ is e'ntirel@y po'ssible 'th I @i@'the mirrors of the optical system, may not be pptically equivalent, whereupon syst,ematig error nia@ b@'ini tf oduced i'nf6 the Tesulting - measurements., t@is e@rior m@y bo,, clihiinated by optically ini.erch@@ging, the mirf6r , as " illustrated in FIG. 4. This interchange is effected meiely by'rota'ting the Dewar D t'hioulgh 180' t6 an altetnate position by -means hereinafter imore iull@ @d6sdribe'd, and @@bsequently obtaining the product -of ihe reflectance measurements derived with th, Dewar in its alternai6 positiori. If care is taken in the -iniii-al -positioning of ihe s@@@le '10 and in optically alig@ihi ihe i@strLimen't, differefi6es, in the derived measuremeats @vill noiraall@ vaiy -by leis than 0.1%. Once the Dewar D iS TOtate(l, the beam will be interrupted by mirror M14 and reflected . to mirror -m,5. The beam will then,follow a path similar to that aforedescribed, with regard to th ,.path,,previouslv @es@@bed, viz., the beam e vyill be directed to the surface of the sample 10, and reflected to strike. a st)herical mirror;Ml2. The mirror M12 directs the beam to a plane mirror " M13, -and again to the surface of the sample, Nyhere ima es are superimposed, .8 .@ and f@rora there to the deiector 11 by way of mirror M16 ,and Mlo,, . in a manner similar:to that heretofore described with. Test)ect to mirrors Mg, a4d Mlo. It is tQ be, particularly noted, that the system of the instant invention is also intended, to,,function for purposes of obtaining transmittance measurements where the sample l'Olpossesses semit,ransparent characteristics. Referr'mg now to FIG. 5, it will be noted that a pulsed beam of ligbt is :ditected from the mirror M6, in the manner heretofore@,descxibe,d,,,to impinge upon a semitransparent sample 101 arranged within the Dewar D. Sin-ce the sample IQ possesses semit.ransparent characteristics, the be@am wiII pass through t.he,.sample and be collected by the -mirror M12-@ Here,@ of course, the light passed by the sample 10 is of primary concern. Consequently, it is necessary that the mirror M8, and particularly the mirror M,3 and M14, be removed. from the beam's path in order that the beam be caused to progress along an uninterrupted path toward sp4erical mirror M17. The mirror M17 collects the light of the beam and causes the beam to be reflected toward a plane mirror M,8, wbich, in turn, reflects the beam to impinge a photomultiplier tube Ilb of the detector 11. The detector system 11 then ,functions in the manner aforedescribed to convert the electrical output from the photomultiplier tube ilb, to intelligence or data in the ipap@@.er bereinbefore deseribed. It is also possible, when deemod desirable, to utilize lead sulfide cells 'for &ie@ting- ;'the ir@a@nsm'ittance characteristics of the sample 10. This is achi6ved by repositioning inirror @Mlg, which for,the sake@'6f convenience is slidably niountdd for vertic@l displaceifient., S6 that the mir-ror serves to interrupt the be@m diree't@d from the mirror M,2@ it will be appreciated -that mirror M13 previously has ,been femoved f-rom between @mirrorg M12 and M14 and conseqti&ntly from -the path@-of th6@@beam. Also Tnirror M,4, which is mounted on a v'erti&@l slide, has been removed from the beam. The mirror Mjg now directs the beam ' 'by way of mirrors M2o and M21, to impinge on the 16@d sulfide cells PbS@ "o'f%ifie d@t@'ctor 11. Refer-ring now particularly to FIG 6., the Dewar D 6 retaining th6 sample 10. The@ holder H comprises an internally threaded tubular member or casing,21, and an externally retainer ring or stop member 22 threaded itto the tubular member 21. The sample 10 is inserted into the housing ;and retained in an abutting relationship with the ring 22 by means of a compression spring 23 forced into engagement therewith by means of any suitable means such as a lock-ring 24. Thus the positioning of the sample 10 within Dewar D may be adjusted so tha,t the reflecting surface thereof may be aligned in a ver10 tical plane extending throu,@h the center of the Dewar 10. Thei@ holder H is surrounded by a body of liquid nitrogen or helium 25 contained in a copper container 26 fbrmed about the external w;xlls of the tubular casing 15 21. The container 26 may be of any suitable design so long as it is capable of retaining the liquid helium 25 in contact with the external walls of the casing. A conventional heat shield 27 is disposed about the container 26, in spaced relationship therewith, for reducing heat 20 transfer to the casing 26. The Dewar D is mounted and encased in a vertically disposed tubular housing 28, which surrounds the Dewar D and provides an operative mountintherefor. The 1OWeT portion of the housin.- 28 includes means defining 25 a pair of open-end, superimposed, horizontally aligned evacuated cavities 28,, and 28b, FIGS. 7 and 8, within which are fixed similar sample holders H, FIG. 6. The @eavit 28,, and 28b aTe scaled at their opposite ends by plane-surfaced transparent fused quartz disks 29, Temov3o ably retained by lock-rings 29 . The tdisks 29 serve as windows for accommodating a passage of the aforementioned light beams into the cavities 28,, and 28b, in order that the beams may be caused to impinge on the sample 10 when the sample is retained by the holder H and a 35 beam is directe,d through the windows. However, if the sample 10 is removed from the holder H, it will be appreciated that the beams of light, as they are directed into the cavities 28,, and 28b, will pass in an uninterrupted manner therethrough. 40 In order to accommodate the required displacement of the Dewar D, the housing 28 is secured in a telescopin.- manner to a horizontal bearing plate 30 by means of telescoping brackets 31. Consequently, the Dewar D may be slidingly raised and lowered, by means not shown, within 4- the brackets 31 and rotated 180 degrees through a rotation of the bearing plate 30. As a matter of convenience, the mirrors M14 and Mlg are removably fixed to the brackets 31 to rotate therewith. Therefore, it is to be understood that the sample 10 50 mounted, for example, in cavity 28a, may be removed from the path of the beam, as illustrated in FIG. 3, by raising the Dewar D throu.-h the brackets 31, and may be rotated 180 degrees, FIG. 4, by rotating the bearing plate 30. Consequently, the sample may be removed from 55 the path of a beam or rotated without being removed from the Dewar, particularly since the cavities 28,, and 28b are aligned to assume alternate positions as the Dewar D is displaced in vertical directions. It will be further appreciated that it is entirely feasible 60 to utilize a single holder H in employing the device according to the teaching of the instant invention, however, by providing a second holder H within the cavities a standard sample surface may, where desired, be utilized. The significant purpose of the second cavity is to pro65 vide a second path for the beam as the cavity retaining sample 10 is displaced from the path of the beam, in the manner heretofore described. It is to be further understood that ihe Dewar D is mounted and suspended within a darkened cabinet, not 70 shown, which includes suitable means or brackets, also not shown, for mounting the various mirrors relative to the Dewar D, as hereinbefore mentioned. In view of the foregoing it is to be understood that the present invention includes a practical device which includes a holde'r, @gener@lly'design@t@d H, for releasably 75 may be utilized to measure the reflectance, and trans-

[4]

35402)634 7 mittance characteristics of very smill samples at cryo,@enic temperatures. Obviously may modifications and variations of the pres.-nt invention are possible in the light of the above teachin@s. It is therefore to be understood that wilhin 5 tlle scope of the appended claims the invention may be practiced otherwise than as specifically described. What is

Как компенсировать расходы
на инновационную разработку
Похожие патенты