заявка
№ US 0003398475
МПК G09F3/16

Номер заявки
4592572
Дата подачи заявки
07.11.1966
Опубликовано
27.08.1968
Страна
US
Как управлять
интеллектуальной собственностью
Чертежи 
1
Реферат

Формула изобретения

claim: 1. A t a - h o l d i n g d e v i c e c o m p ri si n g : (a) a b a s e p o rt i o n h a v i n g a p a ir o f c l a m p m e m b e r s e a c h p r o v i d e d w it h h a n d l e e n d s a n d j a w e n d s, (b) a s h a ft e x t e n d i n g l a t e r a ll y t h r o u g h s a i d c l a m p m e m b e r s t o p r o v i d e a p i v o t a l c o n n e c ti o n i n t h e l a tt e r f o r r o t a ti v e m o v e m e n t t o o p e n a n d c l o s e d p o si ti o n s, portion relative to the clip. 3,5 the shaft 18 may be accomplished by welding, it being A more particular object is to provide a tag holding desirable that the said connection provide for - integrated

3 (e) a helical spring mounted on said shaft and having extended end portions eng@,@ed with @aid clamp members whereby to urge the latter into a closed position as well as to frictionally urge said clamp members apari to bind them frictionally against said shaft and cause restrictive rotative movement of said shaft relative to said clamp members, (d) and a tag holdin.- portion forming an integral part of said shaft, whereby said tag holding portion is arranged to remain in set angular positions relative to said clamp members, (e) said tag holding portion comprising a spring wire extension including a helical looped portion therein 3j398,475 arranged frictionally to receive and hold a tag b b,@ 6fi 'd I e e sai oops. Refereiices Cited 5 UNITED STATES PATENTS 1,363,545 12/1920 Wall'ace --------------- 40-11 2,032,617 3/1936 Kelly - 40-11 --------------- 2,924,900 2/1960 Hoofer ---------- 40-11 3,091,875 6/1963 Crafa --------- --- 40-11 10 EUGENE R. CAPOZIO, Primary Examiner. W. J. CONTRERAS, Assistant Examiner.

Описание

[1]

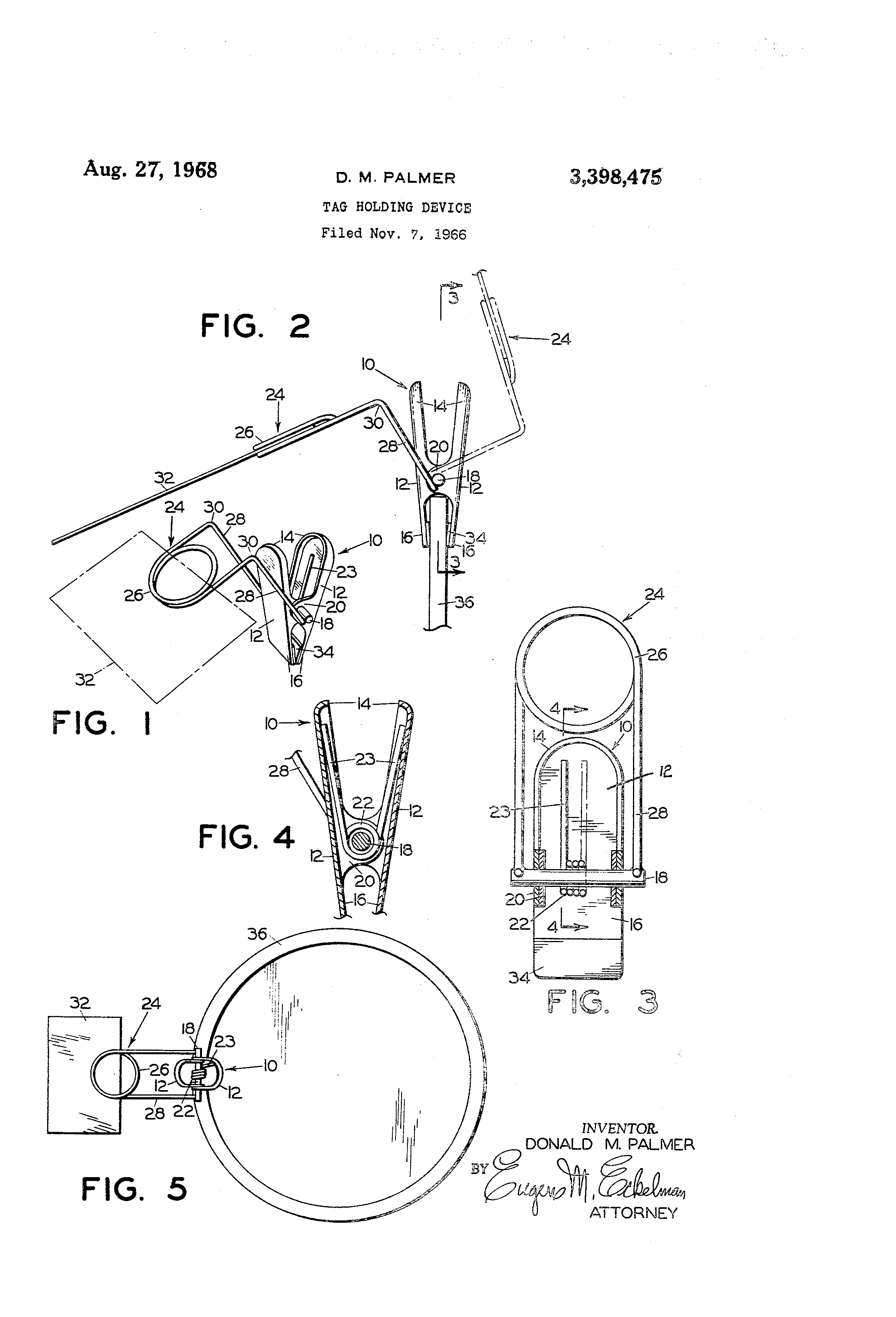
0 39398,475 United States Patent Offi@ce Patented Aug. 27, 1968 3,398,475 TAG HOLDING DEVICE Donald M. Palmer, 922 SE. 45th Ave., Portland, Oreg. 97215 5 Filed Nov. 7, 1966, Ser. No. 592,572 1 Claim. (Cl. 40-11) ABSTRACT OF THE DISCLOSURE 10 This invention is concerned with a device for holding a ta@ or the like on suitable supports such as articles Of merchandise. The device has a base portion such as a spring clip which rotatably supports a tag holdin.- arm made of sprin.- wire with a helical looped portion. The 15 helical looped portion is arran.-ed frictionally to receive and hold a tag removably between the loops. The tag holdin- arm is secured on a shaft of the spring clip and a helical spring is mounted on this shaft. Such helical spring ser-ves two purposes: first, it urges the spring clip 20 closed and second, it binds the members of the spring clip aaainst the shaft to cause restricted movement of th, shaft so that the tag holdina arm wiH remain in selected set positions. 25 This invention relates to new and useful improvements in tag holding devices. A primary object@ive of the present invention is to provide a tag holdin@ device which utilizes a spring clip 30 adapted for removable connection to a supporting member and a ta- holdin,@ portion pivotally attached to the spring clip for rotative positioning of the tag holding device which utilizes a spring clip comprising a pair of pivotauy attached clamp members having handle ends and jaw ends and arranged to clamp on a - supporting member, and a tag holding portion comprisin,@ a spring wire extension including a helical loop portion arranged 40 to frictionally receive and hold a tag in the loop with the taa holding portion beina pivotally attached to the spring clip for rotative adjustment relative thereto. Another object is to provide a ta.- holding device which 45 utilizes a spring clip having a pair of clamp members with handle ends and jaw ends and ;a shaft extending laterally throu-h the clamp members to provide a pivotal connection of . the latter for rotative movement to open and closed positions, and a helical spring mounted on 50 the shaft and having extended end portions engaged with the clamp members to urge the latter into a closed position as well as to frictionally urge the clamp members apart to bind them frictionally against the shaft and cause restricted rotative movement of the shaft Telative to the ,5 , , clamp members, the tag holding portion being secured integr.ally to the shaft whereby in view of the - restricted rotative movement of the shaft relative to the clamp members the tag holding portion will remain in set angular positions Telative to the clamp members. 60 Additional objects will become apparent from the following descnption taken in connection with the accompanying drawings which illustrate a preferred form of the device. In the drawin.es: 65 FIGURE 1 is a perspective view of the present ta,a holding device; FIGURE 2 is a side elevational view of the same and showing in phantom lines an adjusted position of a ta,o holding portion; 70 FIGURE 3 is an enlarged sectional view taken on the line 3-3 of FIGURE 2; 2 FIGURE 4 is a fragmentary sectional view taken on the line 4-4 of FIGURE 3; and FIGURE 5 is a plan view showing the present tag holding device as mounted on a supporting member. Referring in detail to the drawings, the present tag holding device utilizes a spring clip 10 formed of a pair of clamp or clip members 12 having handle ends 14 and jaw ends 16. Clamp members 12 are pivotally connected by means of a laterally extending shaft or pin 18 which extends through inwardly tumed ears 20 and projects a short distance past the outer side edges of the clamp members. As best seen in FIGURES 3, 4 and 5 the spring clip 10 is held closed by a helical spring 22 mounted on the shaft 18 intermediate the cars 20 and having extending end portions 23 which engage opposed clamp members 12. Shaft member 18 projects freely throu.-h the ears 20, but since the opposed ends 23 of the spripg 22 urge the clamp members 12 apart the apertured ears 20 bind against the shaft and cause restricted rotative movement of the shaft relative to the clamp members. That is, the op _posed binding forces of the apertured ears against the shaft 18 prevent free rotation of the latter and the shaft wiH remain positioned where set for a purpose to be described. Secured to opposite projecting ends of the shaft 19 are the ends of a tag holding portion 24. More particularly, the tag holding portion 24 is formed of a sin.-le piece of spring wire and has a loop portion 26 formed intermediate the ends. Extensions 28 from the loop portion 26 have angular bends 30 therein, and the ends of the extensions 28 are sectircd integrally to opposedprojectinends of the shaft 18. Such integral connection of the wire to rotation of the tag holdin- portion with the shaft 18. The loop structure 26 comprises a helical type loop wherein adjacent or overlapping portions of the wire are arranged to frictionally hold a tag 32 therebetween as shown in FIGURES 1, 2 and 5. The jaw ends 16 of the clamp members 12 preferably are provided with resilient pads 34 on their inner faces to prevent damage to supporting members on which the clip is attached. The device may be attached to any suitable supporting member such as a golf bag 36. It is to be understood that the clip may be attached to any other supporting member such as shelving. In any case, the shape and 'rotative adjustment of the tag holding portion 24 facijitates _positionin, the tag 32 for Ood viewing. That is, the tag holdin.- portion can be positioned for placing the tag in a, horizontal supported position as shown in FIGURES 2 and 5 or it can be moved to other positions such as substantially vertical as shown in phantom lines in FIGURE 2. It is to be understood that the form of my invention herein shown and described is to be taken as a preferred example of the same and that various changes in the shape, size and arrangement of parts may be resorted to without departing from the spirit of my invention or the scope of the subjoined claim. Havin g thus descri bed my inventi on, I

Как компенсировать расходы
на инновационную разработку
Похожие патенты