заявка
№ US 0003377733
МПК A01K91/18

Номер заявки
4489013
Дата подачи заявки
21.09.1965
Опубликовано
16.04.1968
Страна
US
Как управлять
интеллектуальной собственностью
Чертежи 
7
Реферат

Формула изобретения

8,c,,77,738 Referriiig to FIGS. 15 throligli 19, the gi-olind line is pressed into the groove of tlie s@eave of the gurdy S by the wheel 76 aild moves from the -roove throu.-h a flexible pipe 77 which has a slot through which the gangion extends. The end of the pipe 77 adjacent the gurdy S is made of rigid material and may extend into the groove of the gi,rdy sheave and is supported by attachme-@it to an arm 78 carried by the gurdy as ilIListrated in FIGS. 15 and 16. The ri.-id end of the pipe 77 thus serves to force the ground line I and gangion 2 out of the groove of the sheave in case they tend to bind. The horizontal arm 78 is fixed to the -urdy and is provided witli a bearin- 79 for rotatably mounting with the vertical shaft 80 which has a sheave 31 fixed to its upper end. The sheave 81 is driven by a belt 82 wbich is iii turn driven by a sheave 83 fixed to the powered sheave 75 of the gurdy. The lower portioii of the shaft 30 is bent at an angle so as to give the ground line the desired coiling diameter. The outer or free end of the flexible pipe 77 is attached to the berit end of the shaft 80 by means of a bearin- 84 such that the pipe's end which is paral'el with the ;haft coils the ground Iiiie 1 onto the deck in a desirable coil. The speed of the ground line relative to the speed of the shaft 80 determines the position and size of the coil. Although it would be possible to dimension the pipe 77 large enough to allow the hook and bait to pass throu@ @h together with the ground line, sLich an irrargeir@ent would be subject to many difficiilties including possib'c loss of bait, snarlin- of hooks and other damage if the ground li-@ie were overly stiff. Accordii,-Iy, the present invention provides aii improved device which moves the -baited hooks from the baiting ma.-azine D through a slotted holder 85 v@,hich runs parallel with the sheave 75. A portion of the holder 85 is removable and is bent downwardly 'Lo the deck. After the reniovable portion is fil'ed with baited hooks for a skate, it is detached and movedto.-etlier with the skate for setting. This keeps the bailed hooks from getting tangled. The holder 85 for movin,@ the baited hool-,s is shown in detail in FIGS. 15 to 19. As illustrated, the holder 85 is parallel with the circumference of the sheave 75 and has a rectaii.-Illar hoilow cross section witli a slot 86 in the outer side wall thereof as illuslrated in FIGS. 18 and 19. The wall 37 of the holder below the slot 86 is bent inwardly such that it makes a curved ed@e 83 on which the baited hook slides and is kept from falling out of the hold@-r. The entrance of the holder 85 is faste-@ied to the blocks 64 behind the baiting rqagazinb D in siich a position that the baited hook 3 comiri@ from the groove 63 in the block enters the holder 85 and slides on the side 87 and is kept from fallin- off by the ed@e 88. This relationship is shown clearly in FIG. 17. To facilitate the hooks entry into the holder 85, the top wall@ of the holder is omitted at the c-itrance as illtistrated in FIGS. 16 and 17 and a @uide plate 89 keeps the liook from falling 01-t the edge 88 as it moves into the holder. The slot 86 is shaped in such a manner that the hook 3 cannot ftll offwhile being dragged alonthe holder. The holder bends downwardly toward th, deck wh@-re it is connected to a removab'e hold--r portion 85a which ends at the deck 90. Along the outer side of the holder 85 and parallel with the s,,ime is a guide rod 91 which serves to motint a slidab'.c pusher meri-iber 92. The pusher wember 92 is connected by a universal joint 93 to the free end of a piston rod 94 of a double actin.- hydraulic cylinder 95, the other end of which may also be universally mounted. The slidable pusher member 92 is formed with an angle-shaped portion 96 which travels a'on.- the outer surface of the underside of the holder 85 as shown in FIG. 19. The end of the guide rod 91 adjace-t the liydraulic cylinder 95 is bent olit from the holder 85 such that the angle portion 96, when the piston rod is in its fully retracted position, allows a baited hook to pass by under tension of the -an.-ion. The mountin.- means for the dif,erent parts described niay b.- of a@iy form and siiape for co,@i10 venience and are not shown here for the sake of simplicity. The baited hooks are dra.-ged by the gangion into the holder 85 and alon.@ the holder uptil they pass by the angle portion 96 of the pusher member 92 which is in its retracted position. At this point, the tension in the gangion ceases as a result of the groun,d line leaving the sheave 75 and bein.- coiled. When the hook passes a point X on the holder 85 it opens a valve by means of 10 a suitable co@itact member (not shown.) to energize the cylinder 95 which moves the an,ale portion 96. The angle portion 96 pushes the hooks 3 with a bait 61b along the holder 85 until it reaches a previously located bait piece where.it actuates a second contact member (not shown) 15 to open a valve for returning the piston to its initial position. The baited hooks are iii this manner moved one by one into the removable holder 85a unt@il it is filled. The removable holder may then be detached and replaced with a new holder. 20 TIle above described mechanism may also be used for coilin.- the -round line and entering t@he hooks on the holder 85a without baiting the hooks after a fishing trip is over. The described method and system of the present inven25 tion makes possible the handling of a ground line in a contintious and completely automatic process. The device will unwind the gangion -Af necessary, bait the hooks and place them in a holder while, at the same time, coilin.- the ground line orito the deck such that it is ready 30 for the next settin,@. It will be readily apparent to those skilled in the art that the present invention provides novel aild useful improvements in methods an,d devices for taking in, cleaniiig and baiting of a strilig of gear of the character d-,scribed. The arrangemert and types of struc35 tural compoiients and the specific method steps described may be slibjected to nunierous modifications well within the plirview of this invention and applicant intends only to be limited to a liberal interpretation. of the specificatioii and appended claims. 40 Having thus described the invention, what is claimed as new and desired to be secured by Letters Paten+ is: 1. A machine for handling a halibut: long line or the like having gan.oions fixed at spaced intervals @Aith hooks thereon, the fish havin,@ been removed from the hooks, 45 comprising in combination; means for hauling in said line at a constant speed, an electrical control system, means for sensing the direction the gangion is wound about the line and storin.@ the information in the control system, niears for counting the number of turns of 50 the gaiigion about the line and storing the inforniation in the control system and means controlled by said control system for unwinding the turns of the gangion according to the stared information. 2. A machipe for handling a halibut long line or the 55 like having gangions fixed at spaced intervals with hooks thereon, the fish baving been removed from the hooks, comprising in combination; means for haulin.- in said line at a constant speed, an electrical control system, @-neans for sensing the direction the gangion is wound about 60 the line and storing the information in the control system, means for countin.@ the number of turns of the gangion about the line and storirlg the inforniation in the control system, means controlled by said control system for unwinding the turns of the gangion according to the 65 stored iiiformation, a movable bait magazine, means to move the hooks individually through said bait magazine for baitina the books, aid means for coiling the line witb the gangions and baited hooks oriented in a sliitable mar@ner for reuse. 70 3. A machine for haiidling a halibut long line or the like baving gar)gions fixed at spaced iiitervals with hooks thereon, the fish having been removed from the hooks, comprisin.- in combination; means for haulina in said line at a constant speed, said hauli@-ig means incILiding 75 a power driven sheave and means for alignin.- the incom-

9 32377@73ti 12 ing line with the -roove of said sheave to prevent twisting of the line, a rotatable turn remover liavir@g nic,@ns to engage the hook of the gangion and unwiid th-, same about the line, an elcctrical conirol sys,em inc'tiidir@.- first and secord poteiitiometer means, the olitput of tho first 5 potentiometer being the input of the secodd potentiome',ey, direc'fin.- sensi@ig means for sensing the directiori each gangion is w4Dund about the grotind line and storin., a polarity si,@nal, means for releasitig said polarity si2pil to co@itrol the polarity of said iirst pote-@itiometer respoiisive to the coriiplet,on of t@c operation of the Ltirn reit,,rjver 10 on a preceding hook and gangion, mear@s to pi-oc',L7.ce a pulse for each turn of the gati.-ion about the Iiiie an-d to store said pules on said first poter@',iometer, means responsive to tt@e movemeeit of said hook throu-b the t@Lirn 15 re-Tnover for increasin- the output of said se:o,-id riotentiometer from zero to a maximti@n, motor meins for rotating said turn remover, me,-@iis for enei-gizing said motor meaps responsive to the output of said secor@d roter.- tiometer, a,-id means for removin.- the pulses stored On 20 said fli'st potentiometer responsive to the rotat,@on of the ttirn remover. 4. A system for unwindin.- hook bearin.- gan.-ions from a halibut li@ic or the like corfiprisin- i.-i combination; means to haul in said line at a constint speed, said 25 h-,iuling means including a power driv-.-.i s'iieave and means for aligning the incomirig line wi,h the groove of said sheave to prevent twisting of the line, a turn direction fi,ider, said turn direction finder includin.- means for seiising the direction in @vbich said -angion is wound about 30 the line as it is hauled i@i and storiii.- a directior@al signal, a tum counter having meaiis to conta-ct the turns of the gan-ion about the line and to produce an electrical ptilse for each said turn, rotatable turn removin.- means having an elongated hollow member through which said line 3 passes, hook en-a-ing n-leans on said turn reniover adapted to engage the hook on said gangio-ii, motor ,,neatis for rotating said turn remover, and an electrical coritrol system for ener.-izing said motor means, said co-itrol system includidg means to operate se,-id motor mea@-is responsive 40 to the signals produced by said direction finder aid said turn counter to unwind the gan.-ion froin the line in the proper diree-ion and the proper nuiii!ber of turns, said control system further includi-,ig mea-@is to deenergize sai-I motor means at the completion of the prescribed number of turns and to condition said control system to receive a 45 signal produced by the next succeedir.- iiook and gan,,ion on the line. 5. The combination according to claim 4 wherein said turn direc,ion finder comprises; first and second vertically spaced plates providing a groove through which 50 said line passes, said plates being tapered in the direction of the incoming line for contacting the gan.-ioii disposed on either side Df the line, a switch located on each side of said plates, settable switch operating nieans, contact 5,5 means carried oii said direction finder for contaeling the moving hook to set said switch operating means to elo,,e one or the other of said switches, and release Picans carried by said direction finder to release said swiceli operating means responsive to a si.-nal from sa:id turn re,inover, wbereby a directional signal is provicied for 60 said control system to determine the direction of rotation of said tlirn remover. 6. The combination according to claim 4 wherein said tum counter comprises; a backiiig member over whi,- Ii 65 said line is moved, a first -pivotally mounted ar-rn having an.offset head, means to bias said arm a.-ainst the nioving line vvith the off'set head contacting 'che turis of the gangion about the I;ne, a contact arm pivotally r@,iounted on said head, switch meads carried oii siid turn cotinter, 70 one end of said contact arm b--in@ disposed to cortact each turn of the gangion and the opposite end th-,reof d;sposed to actuate said switch, and spring bias means for biasiiilsaid contact arm into coiitact with said t,,irns, vvhereby each tum of the gangion rocks said contact arm to close said 75 switch to thereby produce a nurr!ber of pulses corresponding to the nuriber of turi-is of the ga-ngion about the line. 7. The corrbination accordin,@ to claim 4 wherein saidelon.-ated member corpprises a hollow tube having a slot in oiie side extendin.- the le@l.-th thereof to rece,ve said hook and gliide the same along the length of the tube, said slot being in wa,,,c form :?.iid ext@-ndin@ from one end of the tube over a substatitial portion thereof atid including a strai,-iit portioi and a curved c-@id portion adjaceiit the opposite e@id of the tube, a ring, means mountipg said rin-, o-,i said tube for rot,,tion therewith and sliding movement therealong between the strii.-ht portion and the curved portio.-i of the s-,ot, a throu.-h slot in said rir)g correspondiiig in -nos;t-ion to the curved porlion of said slc-t, expansio@i sp.-i--.i, -.rieans acting betwee-ii said ririg !nd said tube, said s:@)rin'g bias:@nl- siid ring to a f@rst position acljqce@-it tiie stra.-lit portion of said slot, said hook contacting said ring to move it to a secold position adjacent said curved portior. whereby said hook is permitted to pass throu-Ii tho slot iii said rin- and out of said tube, first si@nal mea-@is respoi-isive 'to the movement of the ring froni said first positioii to contr(,@i ihe output of said electrical control system to drive said motor proportionally to the move.,Pcnt of the hook throu.-h the turn remover, and second si,,nal n-icans responsive to the return of said ri-ig to release the direction-,il signal from the directic,,l finder. S. In combirallion with apparatus hgvin-, means for hauling in a halibut lon.- line or th.- like with hook bearing gangio.,s tliereon aL q coilstant speed, sensing the direct;on and number of turns of the -adgion about the line and'removing the same, an automa@ic bait;n,- device comprising; an elo--i.@ated tube through which the line a@ld gaii,-ions are moved, said tube having a slot in the iipper side exlending the length thc@reof for -uidin.- ttie hook in an upri,-ht position, a real,@-vardly C'Xiendiiprojectioii on the bottom side of said tube, liald down mea@ns mounted iin spaced relaion above sa;d projection aid spaced from the e-@id of the tube, a bait magaziiie having a plurality of align-.d ac@jacent bait pockets, each T)Ocket including an opei-iing in the back side and a verticaf slot in the front side adjacent the end of the tub,-, means to support said riagazine for @iioving said pockets into alignment with said tube vvith said openi-@i- a@id said slot registering wth said tube. and means for ' ena-in- the hook as it moves through said ttibe for advan'cir'@,@ @said magazine the dista-tice of otic poc'@et, whereby s@iid hook passes throu,@h said slot to enga-e a,13iece of bait in said pocket and pull the same through@the opening and beneath said hold down means. ". In cor@ibinatioii with apparatus havi-,ig mear@s for hau'ing in a halibut Ion--- line or the like with hook beariiig gangions t'iiereon at a constant speed, sensin- the direct,.on and numb-.r of turns of the gan.-ion about'the line and removing the same, an automatic baiting device comprising; aii elon@ated tube providing a passage through wh'@ch the line and gan.@ions are moved, said tube having a slot in the tipp-er side extendidg the le@igth thereof for guidin.- the hook in an upright positioii, a bait ma,-azine having ali.- ned pockets, r-neans for r@lovably mountin.- said magaziie to alig,.a said pockets with the passa@e tlirou-h said tube, openin- means in said pockets to permit entry of said hooks and@rerri-ova' of the bait, and actuator means respoisive to the moveme'nt of the hook through the tube for movii3g said ma.-azine to alif,,n successive pockets with t@e tube ' 10. The corabination accordin@ to claim 9 wherein said actuator means comrrises; a vert'ical shaft, means mountin@ sqid shaft adjace-nt said tube, a rotatable slecve mounted-on said shaft, a first radially extend;ng 2@rm iixed to said sleeve, slot meatis i-@i said tube, said'first arm extending through said slot means in the path of the moving hook, a second i-adially exteiiditi- ar-rn fixed on said sleeve aid an,-ular'ly disposed relative to said f-@rst arm, said second arm disrosed to contict sai-,t ma.,-azine and move the same upon rotation of said sle,-,ve, and spring return

3)377,733 13 means carried by said shaft for retuming said sleeve, whereby said hook will contact said first arm to. move said sleeve to operate said second arm for advancing the magazine. 11. A baiting device comprising; an elongated tube providing a passage through which a line with hook bearing gangions is moved, means to move said line, said tube having a slot in the upper side extending the length there.of for guiding the hook in an upright position, a bait magazine having aligned pockets, means for movably mou - nting said magazine to align said pockets with the passage through said tube, opening means in said pockets to permit entry of said hooks and removal of the bait, and actuator means responsive to the movement of the hook through the tube for moving said magazine to align successive pockets with the tube. 12. In combination with apparatus having means for hauling in a halibut long line or the like with hook bearing gangions thereon at a constant speed, means for sensing the direction and nunf@ber of tums of the gangion about the line and removing the same, and means f6r baiting said hooks, a device for coiling said line and storfng said baited hooks comprising; a flexible pipe for receiving said line, means to rotate the free end of said pipe 14 to coil said line as it issties therefrom, a slot in said pipe through which said gangions extend, guide means extending parallel to the path of travel of said line, said guide means including a channel member having means for retaining said hooks, a removable hook and bait container, and means for successively moving the b,aited hooks from said channel member to said container. Ref erences Cited 10 UN ITED STATES PATENTS 2,51 1,828 6/19 50 Andrist --------------- 43-4 2,51 ,8,590 8/19 50 Andrist ---------------- 43-4 2,67 0,556 3/19 54 Hopkins et al ----------- 43-- 4 15 FO REIGN PATENTS 71,7 12 2/19 47 Norway. 76,0 25 12/1 949 Noivay. 92,7 63 11/1 958 Norway. 20 99,2 24 1/19 62 Norway. SAMUEL KOREN, Primary Examiner. W. H. CAMP, Assistant Exaininer.

Описание

[1]

Utlited States Patent Office 3,377,733 3,377,733 MACHINE FOR HANDLING A HALIBUT LONG LINE AND THE LIKE Einar Godo, 17103 NE. 16th Place, Bellevue, Wash. 98004 Filed Sept. 21, 1965, Ser. No. 489,013 12 Claims. (C). 43-4) The present invelition relates generally to a device for bandling long lines commonly used for taking bottom fish such as ha:libut, cod etc., ,vberein a grotind line is provided with spaced gangions which carry the fish hooks. More specifically, the present invention relates to a device for atitomatica:lly unwindin- t@e gangion from the ground line as it is batiled in, baiting the hook and coiling the ground line, gangion and baited hooks so as to be ready for reuse. The type of gear used in -long line bottom fisbing consists of a grourd line havin.- a plurality of gar@gions tied thereto at soaced intervals with each of the gangions beiii@ provided with a fish hook. The length of the gan-ions and their sj)acing on the ground line depends upon the type of fish wbich is to be cail,-ht. As an exaiiiple, in halibut fishing, th-. gan.-ions are placed on the ground line at intervals of from 9 to 13 feet with the gangions bein@- 3 to 4 feet in length and havin.- a diameter of appioximately 1/6 inch. The ground lipes may have a diameter of from 1/4 tO 5/16 inch and have a length of froni 1500 to 1800 feet. Each individual length of ground line is known as a "skate" apd a number of skates, typically 3 to 7, are tied together and called a strin.- of gear. After the skates have been baited and tied to,gether, the string o'll gear is thereafter set in the water. The setting of a strin.a of gear is accomplished by fasteiiing one end to an anchor Nvhich is provided with a btioy line and a buoy. The biioy and buoy line are let out first and then the anchor is thrown overboard fol,lowed by the skates wbich run out through a chute at the rear of the boat, and an attendant fastens a second ai-ichor to the other end of the string of gear. The secord anchor is also provided with a buoy line and a buoy all of which are in turn put into the water. After the string of gear has been on the bottom for a certain lenbth of time, derending upon the particular flsliin- ground, it is taken back aboard the boat and the fish are removed. The gear is taken in by first taking in the btioy and btioy line so as to raise the anchor. The blioy Iiiie is then coiled onto the deck and the skate is hauled in over a roller at the boat railin@g. A man at the roller normally takes the fish off the hooks as the skate is hatiled in and the skate is coiled onto the deck. According to prior art metliods, each skate is then carried by hand to another location on the boat where the hooks are baited and the skate recoiled so as to be ready for resettin,-. Since the gan.-ions become wound around the ground line when the gear is taken in, they must be unwoiind by hand before the hooks are baited and then the skate Tnust be c6iled by band so as to be ready for resetting. As will be appreciated by those familiar with the procedure, the job of taking in the skatcs, coilin- them on deck, removing the turns of .-angion wotind around the ground line, baiting the hooks and making the skate ready for reuse is very time consuming and hard work. In addition, those performing the work are apt to experience damage to the hands becluse of steady contact with the roiighgear. According to the present invent:@on, an automatic device is provided for handling the gear witholt the need for the manual labor reqtiired in prior art. As the skate is being hauled in, the present device provides means for determinin.- the direction and number of turns of the Patented Apr. 16, 1968 2 individtial gangions about the ground line and registering this inforrnation in a control system by storing pulses. The stored pulses in the control systeni are then used to control the unwinding of the gangion in the proper direction and correct ntimber of turns b3i means of a turn remover which rotates around the ground line. After the gangions are unwound, means are provided for auto-niatically baiting the hooks on the gangions from a movable bait ma,- azine. The device then coils the skate onto 10 the'deck or in a tub or the -like with the baited hooks properly oriented so that the skate is ready for resetting. The primary object of the present invention, is therefore, to provide a device for hai-iling in a halibut long line or the like, unwinding individual gangions from the 15 lines, baiting books carried on the gangions and coilin@g the line ready for resettiiig. AP-other object of the present invention is to provide a device of the character described which is completerly automatic in operation with no need for manually haii20 dlin- the -line, gangions and hooks. Another object of the present invention is to provide a device of the charac,er described wherein the direction in - ",hich the gangioii is wound about the line and the number of turns of tie gan-ion are sensed and the in25 formation stored i-ii a-q clectrical control system which controls the operation of a tiirn remover. A ftirther obiect of the present inve@2tion is to provide a device of the character described wherein the turns of the gan-ions @ire removed by rotatin.- the gangion about 30 the -lir@e as the line is hauled in. A flirther object of the present invention is to provide a device of the character described wherein the rnoving hook passes throti,@h a bait magazine and wherein the movement of the hook is used to step the magazine so as 35 to advance the bait into position where it can be picked up by the hook. A still further object of the present invention is to provide a dev:.ce of the character described which coils the line and orients the gangions and baited hooks in a 4( manner to prepare the line for resetting. Other more particular objects and advantages of the invention wiil, with the foregoing, appear and be understood from the following description and claims, the invention consisting of the novel construction and adapta45 tion and combination of parts hereinafter described and claimed. Reference is made now to the accompanying drawin.-s in which: FIG. 1 is a schematic of the components of the present inventioii; 50 FIG. 2 is a plan view of the turn direction finder; FIG' 3 is a side elevation of the turn direction finder; FIG. 3A is a detailed plan view of a portion of the tui-n direction finder; FIG. 4 is a side elevation of the turn counter; -55 FIG. 5 is a partially sectioned plan view of the turn remover; FIG. 6 is a cross sectional view taken along lines 6-6 of FIG. 5; FIG. 7 is an end elevation of the pi-pe portion of the 60 turn remover shown in FIG. 5; FIG. 8 is a side elevation of the portion of the pipe shown in FIG. 7; FI G. 9 is a plan view of a portion of the bating mechanis m; 65 FI G. 10 is a side elevation of the device shown in FI G. 9; FI G. 11 is an elid elevation of- the device shown in FI G. 9; FIG. 12 is a sectional view of the baitin- magazine; 70 FIG. 13 is a plan view of the magazine shown iii FIG. 12;

[2]

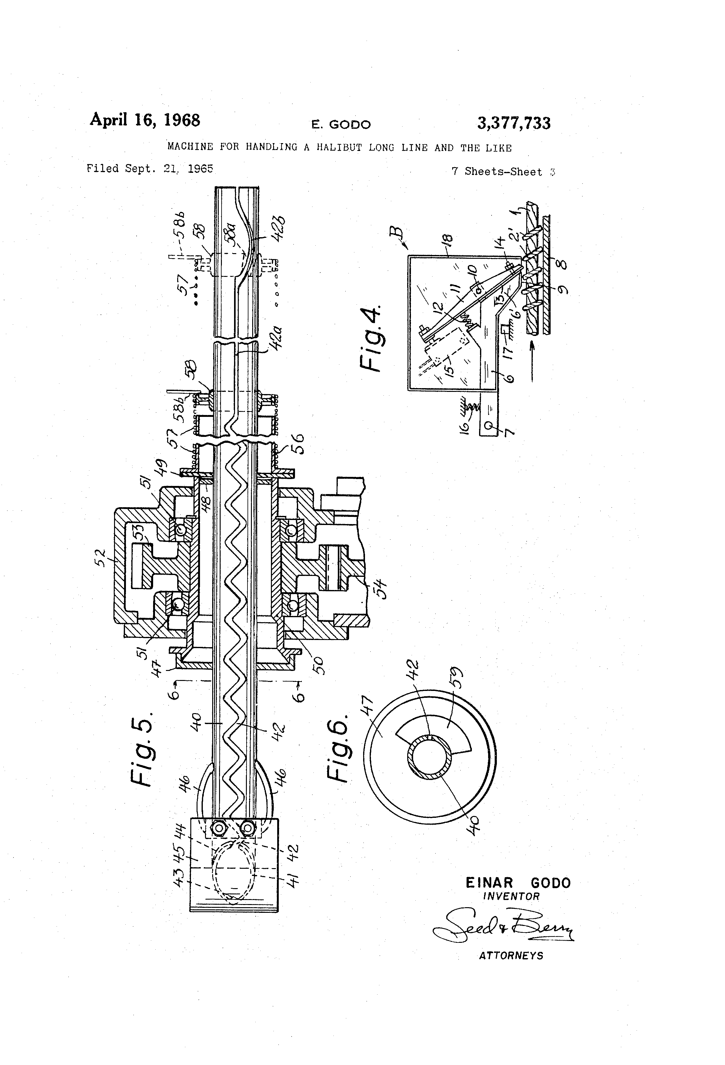
3 FIG. 14 is a schematic of the electrical control system for automatic control of the components of the -device; FIG. 15 is an elevational view of the gurdy with coilet ,and hook holder; FIG. 16 is a plan view of the device shown in FIG. 15,, and FIGS. 17-19 are cross sectional views taken along lines 17-17, 18-13 and 19-19 respectively of FIG. 16. Referring now to the drawings wherein like refere@ice numerals indicate identical parts in the vai,ious views, FIG. I illustrates the various components according to the present invention. As shown schematically in FIG. 1, the ground line 1, with its gangions 2 and hooks 3, is taken in from the water at a constant speed by a powerdriven gurdy S and clears the vessel railing 4 over a roller S. It is to be noted that the roller 5 should be vertically positior.ed so as to align the incoming line I with the groove in the sheave of the gurdy S. This may be accomplished by mounting the roller 5 in a vertically adjustable mounting (not shown) if desired so as to effect the align@ment. This ali.-nment is important to insure that the line will not roll on one or the other side of the gurdy sheave so as to cause the line to twist thus further windin.- the .-angions about the line. - Before the turns of each gan.-ion 2 around line 1 can be removed, the ttirn direction must be determined. This takes place while the aan-ion is pulled, with the -round line, through the turn direction find,-r A which re-isters the direction the gangion must be unwound, to the left or to the right, and mechanically stores this information for later sending an electrical signal, in iccordance with the stored turn direction, to the control system F. The gangion then passes through a turn counter B having an clectromechanical switching mechanism which sends a number of pulses, in accordance with the number of turns of the gangion around the ground line, to the control system F for storage. The registered turns of the gan.-ioii are removed while passing, with the lon.o line, through a rotating ti-irn remover C wherein the related hook 3 is held and moved around the ground line the proper number of turns to unwind the -angion. Turn remover C informs the control system F when it is ready for a new hook, and how fast the turns are to be removed. A shaft encoder G, which is mechanically connected to the turn remover C, iriforms the control system F of how many turiis have been removed. The control system F collects all the above-mentioned information necessary for unwinding the -angion from ti'ie ground line in the correct direction and at the right speed. The control system F controls the turn remover throu,-h an amplifier H, a hydraulic motor unit J and a gear box K. The use of a pulse from the turn direction finder A is mechanically accomplished by a rin@ on the turn remover, the movement of which, through an actuator and amechanical linkage, produces the release of a pulse from the turn direction finder A and also indicates that the turn TeMover is reset for a new hook. After passing through the turn remover C, the cleared gear enters an automatic baiter D, a holder for the baited hooks, and a coiler E. The baiter, hook holder and coiler function independently of the control system F and operate to receive the ground line, gangion and hooks as will be described. The individual mechanisms or components <)f the device will now be described in detail. Referring to FIG. 4, the turn counter B includes a horizontal arm 6 which is journal-mounted at one cid to turn on a horizontal shaft 7. The arms free moving end is <)ffset at 6' toward the ground line I which, at this point, is moviii@ along the face ol a horizontal ilat backin.- plate 8 in the direction indicated by the arrow. It will be noted that the toe 9 of the offset 6' is urged by a spri,-i- 16 to press on the .@round line I aiid the turn 2' of 1:1-@e gaii.-ion. To the fi-ce end of Lhe arm 6 is fast-,ned a shaft 10 on whi-Ii is pivoted li)t9)77@733 4 a rocker arm 11. T'he arm 11 has its contact end fitted with an adjustin- screw 14 to en-age a sloped stop 13 on the arm 6 such that the rocker arm assumes a position at an acute angle with the incoming travel path of the ground line. The contact end -of the rocker arm 11 extends below the toe 9 such that each time a gangion turn 2' passes, it A@ill rock the arm 11 iii a counterclockwise direction causing the other end of the rocker arm to actuate a sivitch 15 and send a pulse to the control sys10 tem F. The rocker arm 11 is constantly biased in the clockwise d:rcction by means of the spring 12. To prevent the toe 9 from pressin.- a-ainst the ground line I under action of the sprin,- 16, a stop 17 is provided. The rocker irm 11 and the switch 15 can be enclosed by a capsule 18 15 or the like which is fastened to the arm 6 in a suitable manner. Before the turns -of the gangion 2, wound around the ground line, can be unwound, the winding direction must be determined and re,-istered by the turn direction finder 20 A which is placed before the turn counter B and :@s shown iii detail iri FIGS. 2, 3 and 3A. Ref--rrin,- to FIGS. 2 and 3, two horizontal plates 19 and 20 are vertically spaced with an op.-iiing 21 therebetween to receive the ground line 1. These plates are laterally tapered in the direction of the 25 incoming -rounj line I in sucli a manner that the sides 23-Z4 conver,-e to tips 22 which occupy the vertical midplane ol. th.- grouiid line. The plates 19 and 20 are dished oppositely along their lorl.-itudinal center line to provide a groove efl'ect to .@uide the -round line I throu.@h the 30 clevice. The rear ends of the conver.aing sides of the plates 19 and 20 have through-,- oing Ion-itudinal slots 25 into which the lower free ends of a pair of swingable rods 26 project and normally extend completely across the spac35 in.- 21 between the plates. The upper end 26' of each of the rods 26 is bent toward one another at right angles to provide horizontal trunnions on which the rods can swing a.-ainst the force <)f spring devices which surround the eiids 26' a@id which nornially hold the rods pressed against 40 the forward ends of the slots 25. When a gan.-ion 2 is approachin.@ the turn direction finder, its hook 3 is usually danglin- relative to the long line oii a side thereof determined by the turn direction (right or left hand) of the -angion around ti@e long lin.-. Hence, when the hook 45 i-eaches the tip 22 it will be on one side or the other thereof, and as it passes the tips, will be deflected to the respective side of the plates 19-20. In the illustraled example, the hook is assumed to have moved along the side 24 and, as a consequence, the hook will catch th-. rod 26 on that side of the device and swin@ the same forwardly 50 until the lower end of the rod 26 is swun- far enough above the lower plate 20 to permit the hook to slide off the rod and ttiereby be free to continue, whereupc)n the rod 26 is spring-urged to return to its initial position. To instire that the hook, in case it should arrive on toD of the 55 pipe 19 rather than danglin- along side o-f the plate 20, will catch on the rod 26, there is a plou-h-shaned deflecting sliield 27 on t@,e top side of the pla'Le 19, @he ends of which extend beyond the plate edges. (30 AL the rear and on the top side of the plate 19 is a vertical shaft 28 upon which superimposed links 29 and 30 are centrally journaled for free independent rotation. The ends of the li,-ik 29 are op,-ratively associated with respective blockipg pieces 32 which are pivoted at their C,5 forward ends and are loaded by springs 31 to swing toward -,rie another. The blocking pieces are so shaped and arranged that when the right-hand rod 26, for example, is swung rearwardly as shown in dotted line in FIG. 3, it releases righthand piece 32 and swings the link 29 about 70 the shaft 28 such that the other eiid of the link is moved into blocking arrangement with the other blockiii- piec-. 32 and is held in the position shown in FIG. 2 of the drawin-s. Tiie link 30, wbieli is normally held parallel to the litik 29 by virtlic of t'lle leaf sprin.-s 33 PcLing therebe75 tween, is lield in position while swingid.- the @'ink 29 by

[3]

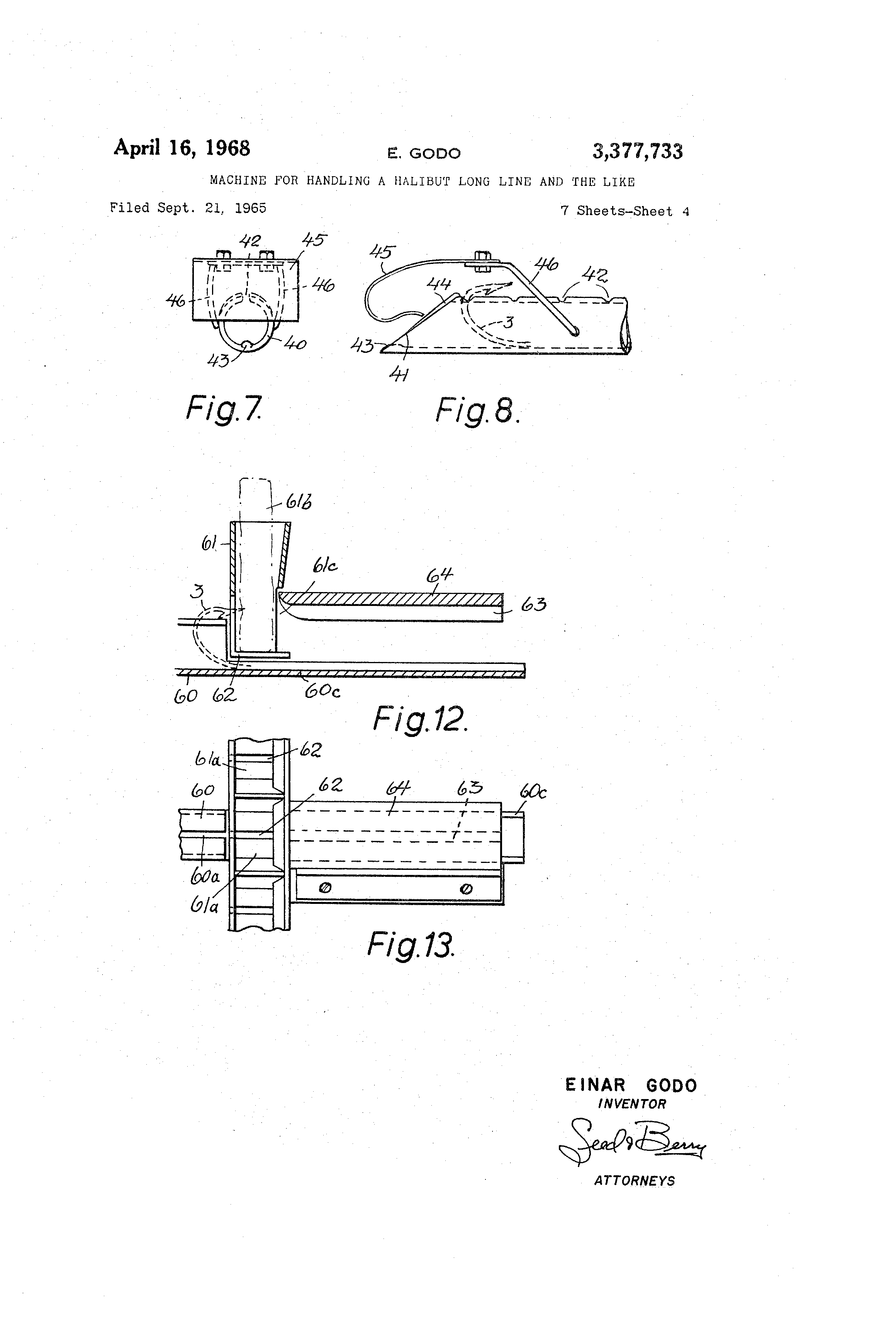
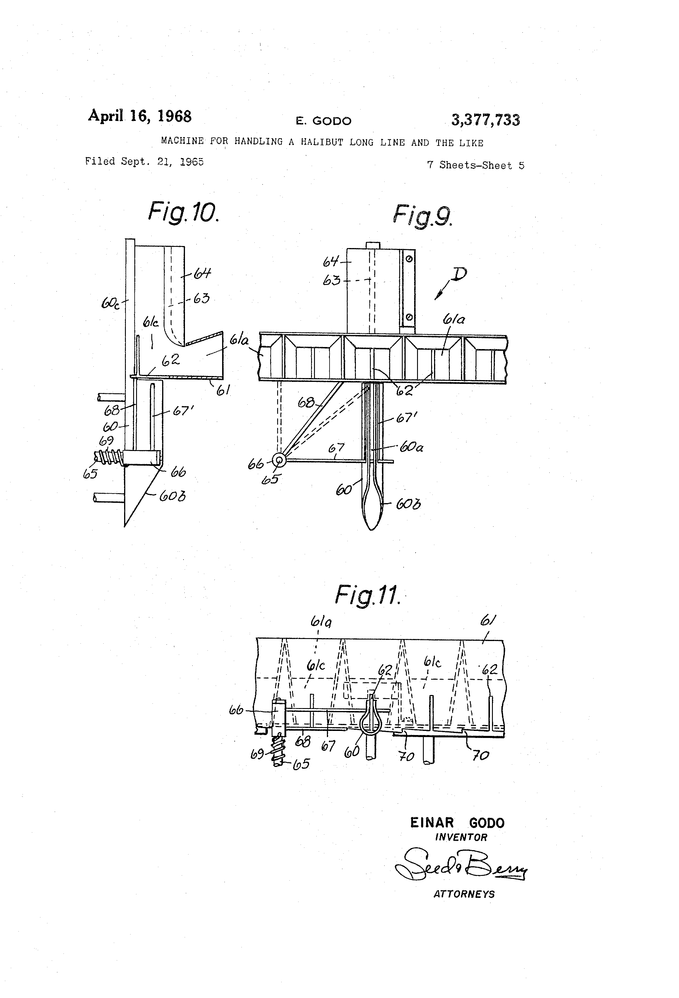
5 a piece 34 on one of a pair of cross rieces 35 posilioneci on the pivots 35a as shown in detail in FIG. 3A. The cross pieces 35 have their inner ends mou-@ited in a sict -on a shaft 36 which is parallel to the motion of the ground line such that the link 30 is held turned in the opposi,'e direction from the link 29 and a.cainst the force of the springs 33 by the piece 34. Electric switches 37 are mounted in the plar@e of the link 30 so that the link 30 may operate one or the other of the switches vvhen it is released. When the turn remover presently to be described has returned to its initial condition, it is ready to initiate a signal to be produced by the rod 36 and link 30. The rod 36 is pusbed against the spring 39, seated on the flange 38, and rotates the cross pieces 35 about the shafts 35a by its forward movement, whereby the link 30 is released from the associated piece 34 and is forced by the spring 33 to line up with the link 29. The link 30 by this movement thus contacts and closes one of the switches 37 and sends a pulse in accordance with the turn direction to a potentiometer in the control system F, which will later be described. In this manner, the turn direction finder will, by op.-ration of the links 29 and 30, close one of the switches 37 to re-ister the turn direction of the gangion about the ground line and send a pulse in accordance with the turn direction to the control system in response to the resetting of the turnremover. The turn remover C is shown in detail in FIGS. 5 to 8. As shown in FIG. 5, the turn remover has a rotatable pipe 40 through which the ground line I moves in the axial direction as it comes from the turn counter. The direction of movement of the line through the pipe is from the entrance of the pipe to the ri.-ht, as viewed in FIG. 5. The entrince of the pipe is cut at an angle as shown at 41 and the pipe includes a slot 42 of wave or zigzag form which exteiids from the upper ed,-e of the entrance along the length of the pipe. As the ground line passes through the pipe and a hook 3 is caught by the edge of the pipe, it is moved along the angled portion 41 and into the slot 42. To prevent knots from being caught in the sharp end of the entrance 41, the bottom edge thereof is provided with a rounded portion 43. To insure the hook's movemer@t aroupd the wall of the entrance, the wall of the pipe is thickened as shown at 44 from boih sides toward the opening of the slot 42. In addition, the spring plate 45 is mounted in front of the pipe entrance and extends across the sloping plane of the pipe entrance so as to cover the top portion of the cntrance and openin,@ of the slot 42. The plate 45 thus prevents the hook from catching in the entrance of the slot and is mounted on the pipe by means of mountin- arms 46 which are welded to the pipe. As shown in FIG. 8, the width of the hook is greater than the diameter of the pipe 40 such that the end of the hook will ride outside of the pipe and, because of the wave form of the slot, the hook will not fall out of the pipe 40 during its rotation. The pipe 40 is provided with fl,,inges 47, 48 and 49 which support the pipe in the center of the hollow sbaft 50 in fixed relation thereto. The sbaft 50 is rotat,@bly mounted in the gear box housing 52 by means of the beariig assemblies 51 and is provided with a gear 53 which meshes with drive gear 54 driven by a hydraulic motor as will be later described. A second hollow shaft 56 is fixed to the flange 49 and rotates therewith. A spring 57 is motinted on the shaft 56 and bas its outer end connected to the ring 58 which is mounted for longitudinal sliding movement on the pipe 40 and keyed for rotation therewith. As shown in FIG. 5, the waved or zigza.- portion of the slot 42 terminates at the free end of the shaft 56 and the slot continues in a straight line portion 42a which terminates in a curved portion 42b adjacent the end of the pipe. During operation, as the ground line is pulled through the pipe 40, a hook is pulled through the slot 42 and into the straight portion 42a of the slot where the end of the 3;377@733 book catches the ring 58 and moves it alon,., against the bias of the spring 57, thus keeping th.- gangion 2 taut. When the hook enters the curved slot portion 42b, the slot will move the hook off the ring 58 and through a slot 58a in the ring. The ring is then free and is retumed to its initial position shown in FIG. 5 by the spring 57. The return motion of the ring 53, by meaiis of the actuator arm 58b, is used to reset the turn direction finder A for the next gangion as will later be described. Although shown 10 only schematically in the drawings, it will be understood that the actuator arm 58b will be supported independently of the ring 58 by any desirable means so as to move longitudinally of the turn remover responsive to the movement of the ring and to be unaffected by the rotation of the 1,5 ring. The flanges 47 and 49 wbi--h coilnect the pipe 40 to the shaft 50 each have an opening 59, as shown in FIG. 6, to allow the hook to pass therethrough. During movement of the ground line, hooks and gangions through the pipe 40, the gangion has been unwound from the ground 20 line I by rotation of the pipe 40. The baiter D is shown in deta@.'l in FIGS. 9 to 13. Referring to FIG. 9, the baiter consists of a pipe 60 through which the ground line I is drawn in a straight line from the pipe 40 of the turn remover. The pipe 60 is formed 25 with a longitudinal slot 60a in its top surface as shown in FIGS. 9 and I 1 and the entrance of the pipe is formed at an angle as at 60b such that the hook is caught and guided into the slot 60a. Extending transversely of the pipe 60 is a movably mounted bait magazine 61 with a row of sep30 arated pockets 61a contairiing pieces of bait 61b. It will also be noted that the magaziiie extends into the body of the pipe 60 as seen most clearly in FIGS. 10 and 12. Thus, when a pocket 61a is moved i@ito alignment with the pipe 60, a slot 62 in the magazine is in alignment with the slot 35 60a to perm,t the hook 3 to pass through the pocket 61a and hook in@, th, bait 61b ar,ied in the pocket as shown in FIG. 12. The back side of the pocket 61a has an opening 61c through whici-i the bait is dragged by the hook 3, the hook continuing tlirough a slot 63 in the underside 40 of a block 64 and the extended portion 60c of pipe 60 which supports the moving hook and bait. Mounted adjacent the pipe 60 is a fi-xed vertical shaft 65. Rotatably mounted on the upper erd of shaft 65 is a rotatable sleeve 66. Fixed to the sleeve 66 are two 45 vertically spaced radially extending arms 67 and 68 which are disposed at an angle. The upper arm 67 moves in t e ongitudinal slot 67' against the forward end of the slot 67' adjacent the entrance to the pipe 60. The lower arm 68 extends under the wall of the magazine 61 which 50 is provided with saw teeth 70 as shown in FIG. II with which the arm 68 cooperates to move or step the bait magazine 61. In operation, as the ground line 1 is pulled through the pipe 60, the hook 3 engages the edge 60b of tiie entrance of the pipe and is led into the slot 60a 55 with the hook in a vertical position as shown in FIG.12. As the hook moves into the slot 60a, it contacts and rotates the rod 67 against the force of the spring 69@ in a counterclockwise direction as seen in FI,G. 9. At the same time, the arm 68 con'lacts a tooth 70 on the bottom side 60 of th-. magazine 61 and moves the magazine one step equivalent to one bait pocket such that the slot 62 in the next pocket comes into alignme-iit with the slot 60a in the pipe 60. As the hook continues it @slides off the end of the arm 67 and the arms 67 and 6;8 are forccd into 65 the initial position shown in FIG. 9 by the spring 69. The arm 68 is biased upwardly by virtue of a spring 69 and rotates into the next saw tooth 70 on the bottom of the magazine 61. As the ground line continues its forward motion, the hook 3 goes through the piece of bait 61b 70 in the aligned pocket and the bait is pushed down on the hook by the front end of the stationary block 64. The bait is thus dragged along with the hook and they both pass through the opening 61c and are guided into the slot 63 in the block 64. 75 The overall operation of the various componeiits tlitis

[4]

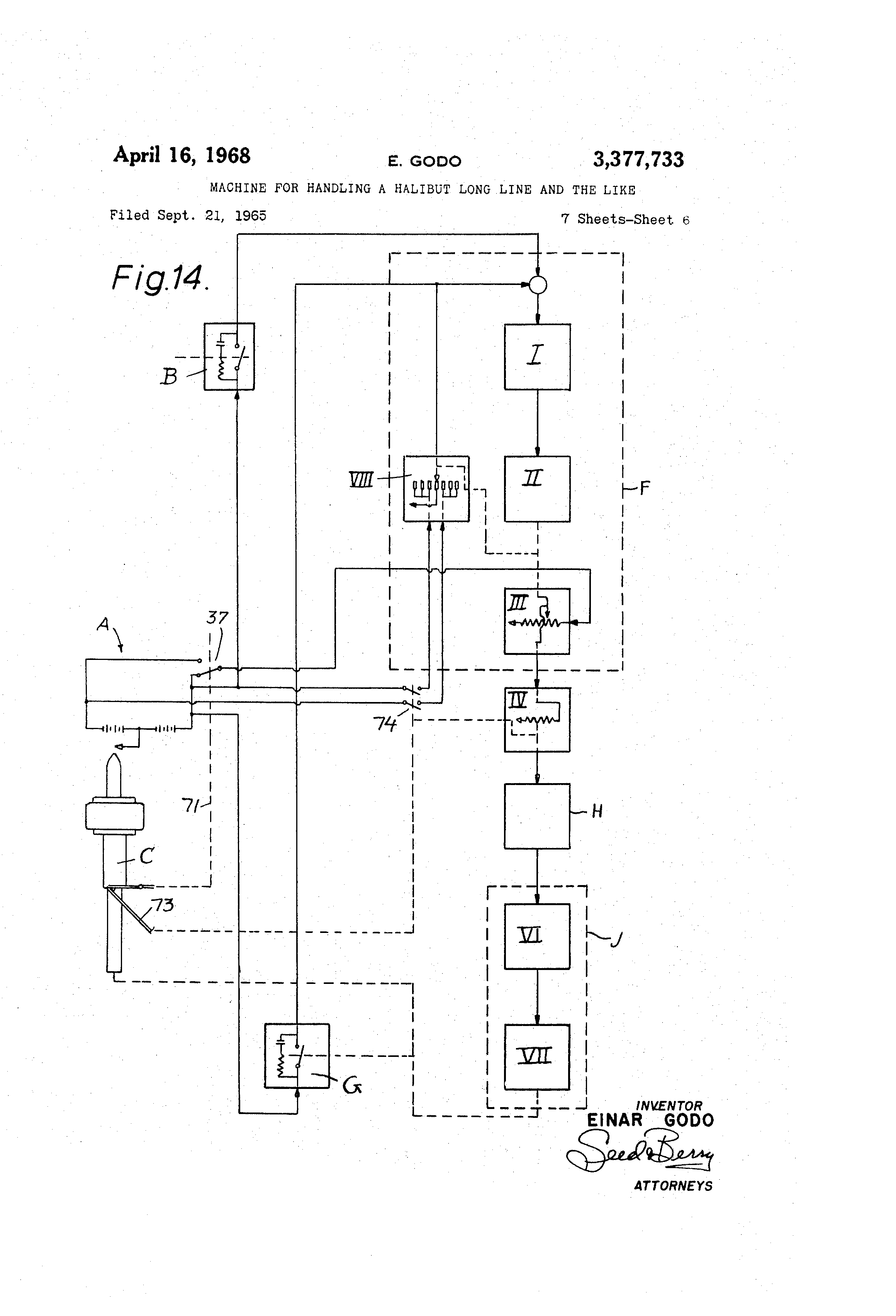
Q ti)3771733 7 8 far described will now be expl-,ined in detail with refercrice to the control system showii in F"-[G. 14. 'Die sheave or gurdy S illustrated in F' G. I hauls in the ground line at a given speed and the fish are removed manually before the ground line 1, with g,ingiors 2 and hooks 3, are m@ oved 5 i-nto the respect,.ve mechanisnis of the device. Although FIG. 2 illustra'es the sili-lation wherein the gangion is wound about the -round line in such a manner th-,tt the hook 3 approaches the turn clirection finder A ahead of the gangion, it will be realized thal it is equally possible 10 that the gan-ion @,vill be v@,ound about the grouiid '@irie in slach a manner that the ttirns of the g-,i-r@-ion enter the turn directioii 'ind.-r ahead of the book. It viill be understood, however, tbat the relative positio-@i of the hook either ahead or behind the tu.-@-is ol. t'ne gan.-ion 15 have Po effect on the functioning of the den,ice sinc-., in any event, the hook will ready the tur@-i d'@-,'-,ctioii finder A by positioning the link 29 as previot.,sly described, to thus store the correct turn direction informatioti before the turn counter B -',ias finis-bed its countin,- 'Lunction. In 20 the everit @hat the hook precedes '@he turns of the gangion, as illustrated in FIGS. 2 ar@d 3, the liik 29 will be set into position to actuate the linl-, -19 when the rod 36 is moved so as to close the swillch 37 prior to functioning of the turn counter B. If the hook 3 follows the turns Of 25 the gangion, the only restilt is that the tlirn counter B will have begun its count prior to positioniiig of th-- link 29. When the gangion 2 eiiters the turn cou-riter B, the number of turi-is is couiited by means of t@he arm 11, as described in cornection -viith FIG. 4, which jumps a num- 30 ber of times equal to the number of turqs 2', taking into account the k@iots in the gangion. As illustrat-.d in F'@IG7 14, the counter B sencis a number of pulses equal to the r.umber of turns in the .-an.-ion to the amplifier I which drives the steppin,@ motor II vvhich drives the potentiome- 35 ter 111. Every pulse tha turn counter serds otit is thus stored by the ste-opi-@ig motor on the potentiometer III until the total count or pulses are stored. The output voltage of the potentiometer III is the slpply voltage to the potentior-reter IV. When the ring 58 on the turn remover 40 C of FIG. 5 has been moved against the force of the spring 57 by the last hook and lias becoi-ne clear of ttie hook, it will, during its return motio@n, actuate the rod 36 of the turn direction finder. This is accomplished by action of the acti-iator 58b which moves, and the rod 71, shown scliematically in FIG. 1, so as to push the rod 36 associated with the turn direction firoer. One of the switches 37 is thus closed by releasina the member 30 as previously explained to give the correct voltage polarity to the potentiometer 111, thus giving the correct direction for ro removing the turn. As will be understood, the shaft position of the potentiometer III is zero and no output is yet given to drive the motor VII and the turn remover C is stopped. At this poiit the number of ttirns and the direction of 55 the turns of the gar;@ioi-i to be u@-iwound from the ground line are stored iii the potentiometer III with the outptit of the potentiometer !II beirt.@ the supply volta.-e for the potentiometer IV which is mechanically connected to the spring loaded MOVID@ rin- 58 of the turn remover 60 by the si)ri-,-ig loaded rod 73 as shown in FIG. 14. The hook, oi course, continues to be moved by the ground line and enters the turii remover C. When the hook 3 enters the slot 42 in the p:.Pe 40 of the turn remover C, the Dotentiometer IV has a sliaft position which gives no 6 5 output to th-. ampliler H but, when the hook contacts and moves the rin@ 58, the arm 73 is moved by the rin@ and shaft position of the potentiomete.- IV is increased until. it reaches a maximum when the sprin.@ 57 is fully expanded aiid the hook leaves the turn remover. The 70 poteritioi.-.cter IV h-,is increased its shaft positio.1 from 0 to a PiaximLm proportionately to the hooks position in the ttirn remover, but, as the tur@is are removed, the output frorn tiie potentiometer III to potentiometer IV has steadily decreased by mcaiis presently to be described. 75 The o-Lit-t-)i-it from the potentiometer IV was, therefore, zero at @lie beginniii,- and. end of its shaft positioii and at a mc,,-@im,,im it then-iiddle. In"@'iiis manner, the potentiometer IV will operate thehycraul@ic servo valve VI aiid start the hydraulic motor VI! when the hook contacts the rirg 58 and brin-s the motor up t,-, maxim,,im speed when the hook has advanced the i-iiig mid-way ii its 'ravc'i and w:ll re,,Llc-c the s@-ce-d to zero when the tur-iis are remov,-d and the hook is at the poirt of leaving the turn remover. This will give a smooth s@-rv,) operation which woti"d not be possible if tic potent@owcter IV were replaced by a switch for instance. T'iae out:,)tit of tho -ootentio@-net-2r IV is the inp,,it of the amp'iifier li which drives tlle hy,,Iraul-@c valve VI and motor VI!, wiiich thro,,i,-h the Zears 53 and 54, shown in FIG. 5, drive the turii r-omover. The s'@ia'i't encoder G has the function of removin,@ the stored pules on the pote-- ,itiometer 17.1 throu.-h the steppin- motor 11 resporisive to ard prol)ortional to the revoItitioiis of the turn r,-mover C. The encoder G also functions to provide an input si.- n,-,l to set the pulse generator VIII which drives the potentiometer III to comi)ensate for puls@,s prodliced by the knots con-@iecting the gangion to the ground line as will presently be explained. The shaft encoder G is moti,@ited to the @ear box K as shown in FIG. I and connect.-d to the shaft of the motor unit J such th-,it it gives an electric pulse for each revolution of the turn remover C ard this pulse will drive ttic steppina motor 11 o,-ie s'@ep and reduce the outr)ut of the potentiometer III an amount equivalcnt to a turii removed by the turn remover. The turiis stored on the potentiometer Tll are, in this manner, removed tintil output is zero and the tur@i remover stops. The potentiometer III has a wide zero ran.@e wlich bas the effect of keepin@@ the turn remover from removin.@ the two to three first pulses pj-oduced by the gan.-ions knot where it is tied to the lii-ie. When the potentiometer III reaches null, the irput from the encoder G to the pi:,Ise generator VIII also ceases and the generator VIII stops on its third segment and a switch 74 is closed by virtue of its mechanical connection to the rod 73 as indicated in FIG. 14. A circuit is compleled throul@h the pulse generator VIII in this way, and the pulse generator brin-s the potentiometer III back to the 1-niddle ol' the A,ide zelo ran.-e in three steps since the potentiometer is mechaii-ically connected to the pulse generator VIII as illustrated in FIG. 14. The contact arms of the pl-@lse geiierator will make a pulse per segment ind stop at the mid-se,-ment of t]-aegenerator. At this poiiit, the potentiometer III s,-ts at the iiiiddle of the widc zero ran,@e and is ready for storing the turns of the next @angion. Wi'ien the hook 3 has le-it the turn remover, th-c ring 58 iid the rod 73 rp-turn the potentiometer IV to its ntiil position. Before the ring 58 has reached its end of travel to its initial condition, the switch 74 is opened again and the stored turns on the potentiometer III have been removed by the pulse generator VIII aiid the control system is ready for the next hook and gangion. Return of the riflg also actuates the turn direction finder and the cycle repeats. While a specific electrical control system has bee-.1 describ,-d, it will be understood that the details of the control system may be varied and replaced 'oy other elements for performii-i@ the same flinctioii within the scope of the present inventi'on. The grotind line and the unwolind gan@ion leave the turn remover and enter the baiter D where the hook is baited and moved throu@h the slot 63 and the block 64 as previously described' in coiinection with FIGS. 9 throti.-h 13. If no special provision is made beyond this point, the hooks have a tendency to tangle themselves up witli each other and the -Found line. In accordance with the present invention one embodimer@t of an automatic coilin.- meelia-iism and slot for collectin@ the hooks is provided and illustratcd in detqil in FIGS. 15 through 19.

Как компенсировать расходы
на инновационную разработку
Похожие патенты