заявка
№ US 0003371759
МПК B30B15/14

Номер заявки
4629044
Дата подачи заявки
07.02.1967
Опубликовано
05.03.1968
Страна
US
Как управлять
интеллектуальной собственностью
Чертежи 
2
Реферат

Формула изобретения

claim: 1. A torque control mechanism comprising a fluid operable clutch, source of fluid pressure connectable to the clutch, fluid pressure escapement connectable to the clutch, valve means to selectively connect the clutch to the source of fluid pressure or to the fluid pressure escapement, and pressure modulation means connected between the valve means and fluid pressure source including a pair of chambers normally at equilibrium pressure, second valve means controiled by said cham-ber pressures seated in the pressure line to said other valve means at equilibrium pressure, a throttling orfflce constituting a by-pass restriction around said seated second valve means permitting less than full pressure build-up for a gradual clutch engagement at the start and means rendering said chamber pressures responsive to clutch back pressure to a different degree so that said second valve means becomes unseated at a predetermined differential pressure in said chambers permitting a rapid rise of pressure in the clutch to the prevailing line pressure. 2. A torque control mechanism comprising fluid operable clutch, single source of fluid pressure connectable to the clutch, fluid pressure escapement connectable to the clutch, valve member to selectively connect the clutch to the single source of fluid pressure or to the fluid pressure escapement and pressure modulation means connected between the valve member and fluid pressure source comprising a housing, movable wall sealably dividing the housing into separate chambers, calibrated orifice in the movable wall connecting the chambers, inlet and outlet passages in the housing connecting the fluid pressure source and vaive member respectively to one of the chambers, valve seat in the inlet passage adjacent said one chamber, valve means closable on the seat in response to the position of the movable wall to shut off pressure from the pressure source to the one chamber through said valve seat, said one chamber connectable directly to the clutch through the valve member, a restricted oriflce larger than said calibrated orifice bypassing the valve seat and connecting the fluid pressure source to said one chamber, and spring means biasing the movable wall to the valve closing position at equilibrium conditions of said chambers whereby after initial clutch engagement the rate of increase of back pressure in the one chamber will exceed the rate of increase in the other chamber due to the calibrated orifice in the movable wall causing the latter to move to the valve opening position momentarily until equilibrium conditions are restored thereby delivering full line pressure to the clutch. 3. A torque control mechanism as set forth in claim 2 wherein the chambers are coaxially aligned with the valve seat and the valve means is formed as an integral extension of said movable wall. 4. In combination with a power press having a fluid operable friction disc clutch drivingly engageable with a crankshaft, clutch torque control mechanism comprising source of fluid pressure connectable to the clutch, fluid pressure escapement connectable to the clutch, valve means to selectively connect the clutch to the 6 capement, and pressure modulation means connected between the valve means and fluid pressure source including a pair of chambers normary at equilibrium pressure, second valve means controlled by said chamber pressures seated in the pressure line to said other valve means at equilibrium pressure, throttling orifice constituting a by-pass restriction around said seated second valve means permitting less 10 than full pressure build-up for a gradual clutch engagement at the start and means rendering said chamber pressures responsive to clutch back pressure to a different degree so that said second valve means becomes unseated at a predeter15 mined differential pressure in said chambers permitting a rapid rise of pressure in the clutch to the prevailing line pressure. S. In combination with a power press having a fluid operable friction disc -clutch drivingly engageable with a 20 crankshaft clutch torque control mechanism comprising single source of fluid pressure connectable to the clutch, fluid pressure escapement connectable to the clutch, 25 a valve member to selectively connect the clutch to the single source of fluid pressure or to the fluid pressure escapement and pressure modulation means connected between the valve member and fluid pressure source comprising 30 a housing, a movable wall sealably dividing the housing into separate chambers, a calibrated orifice in the movable wall connecting thechambers, 35 inlet and outlet passages in the housing connecting the fluid pressure source and valve member respectively to one of the chambers, a valve seat in the inlet passage adjacent said one chamber, 40 valve means closa-ble on the seat in response to the positiori of the movable wall to shut off pressure from the pressure source to the one chamber through said valve seat, said one chamber connectable directly to the clutch through the valve member, 45 a restricted orifice larger than said calibrated orifice bypassing the valve seat and connecting the fluid pressure source to said one chamber, and spring means biasing the movable wall to the valve closing position at equilibrium conditions of said cham50 bers whereby after initial clutch engagement the rate of increase of back pressure in the one chamber will exceed the rate of increase in the other chamber due to the calibrated orifice in the movable wall causing the latter to move to the valve opening position mo65 mentarily until equilibrium conditions are restored thereby delivering fall line pressure to the clutch. 6. The combination as set forth in claim 5 wherein the chambers are coaxially aligned with the valve seat and the valve means is forined as an integral extension of 60 said movable wall. 7. A p@essure modulation valve responsive to variable downstream line pressure comprising housing, a movable wall sealably dividing the housing into separ35 rate chambers, a calibrated orifice in the movable wall connecting thechambers, an inlet passage connectable to a source of fluid pressure opening into one of said chambers, 70 a valve seat in the inlet passage adjacent said one chamber, an outlet passage from said one chamber connectable to a downstream line, valve means closable on the seat in response to the posisource of fluid pressure or to the fluid pressure es, 75 tion of the movable wall to shut off pressure from the

31371)759 7 pressure source to the one chamber through the valve seat, a restricted orifice larger than said calibrated orifice bypassing the valve sdat and connecting the fluid pressure source to said one chamber, the latter being di- 5 rectly connectable to downstream line pressure, and spring I means biasing the movable wall to the valve closing position at equilibrium conditions of said chambers whereby the rate of increase of downstream line pressure in the one chamber will exceed the rate of 10 increase in the other chamber due to the calibrated orifice in the movable wall causin@ the latter to move to the valve opening position momentarily until equilibrium conditions are restored in the chambers. 8. A pressure modulation valve as set forth in claim 7 1 r) wherein the chambers are coaxially aligned with the valve seat and the valve means is formed as an integral extension of said movabl6 wall. 9. A torque control mechanism as set forth in claim 1 3 which said magnitude of c utch back pressure determine th& differential pressure between said chambers. 10. A torque control mechanism as set forth in claim 9 wherein said orifice restriction is located in removable and interchangeable structure of said pressure modulation means to permit substitut@ion of a different s . ized orifice in order to cbange the characteristics of modulation. 11. A torque control mechanism as set forth in claim 10 wherein the pressure modulation means includes a housing and a movable wall sealably dividing the h ousing into said pair of chambers and said rcmovable s,tructure includes a plug insertable in a passageway formed in said housing and coinmunicating on opposite sides of said movable wall. References Cited UNITED STATES PATENTS 3,042,165 1/1962 Yokel --------I------- 192-85 3,042,166, 1/1962 Crane ---I------------ 192-85 wherein said means rendering the chamber pressure re- 20 DONLEY J. STOCKING, Pi-imai-y Exam@iner. sponsive to clutch back pressure comprises an orifice restriction between said pair of chambers, the dimensions of ARTHUR T. McKEON, Examiner.

Описание

[1]

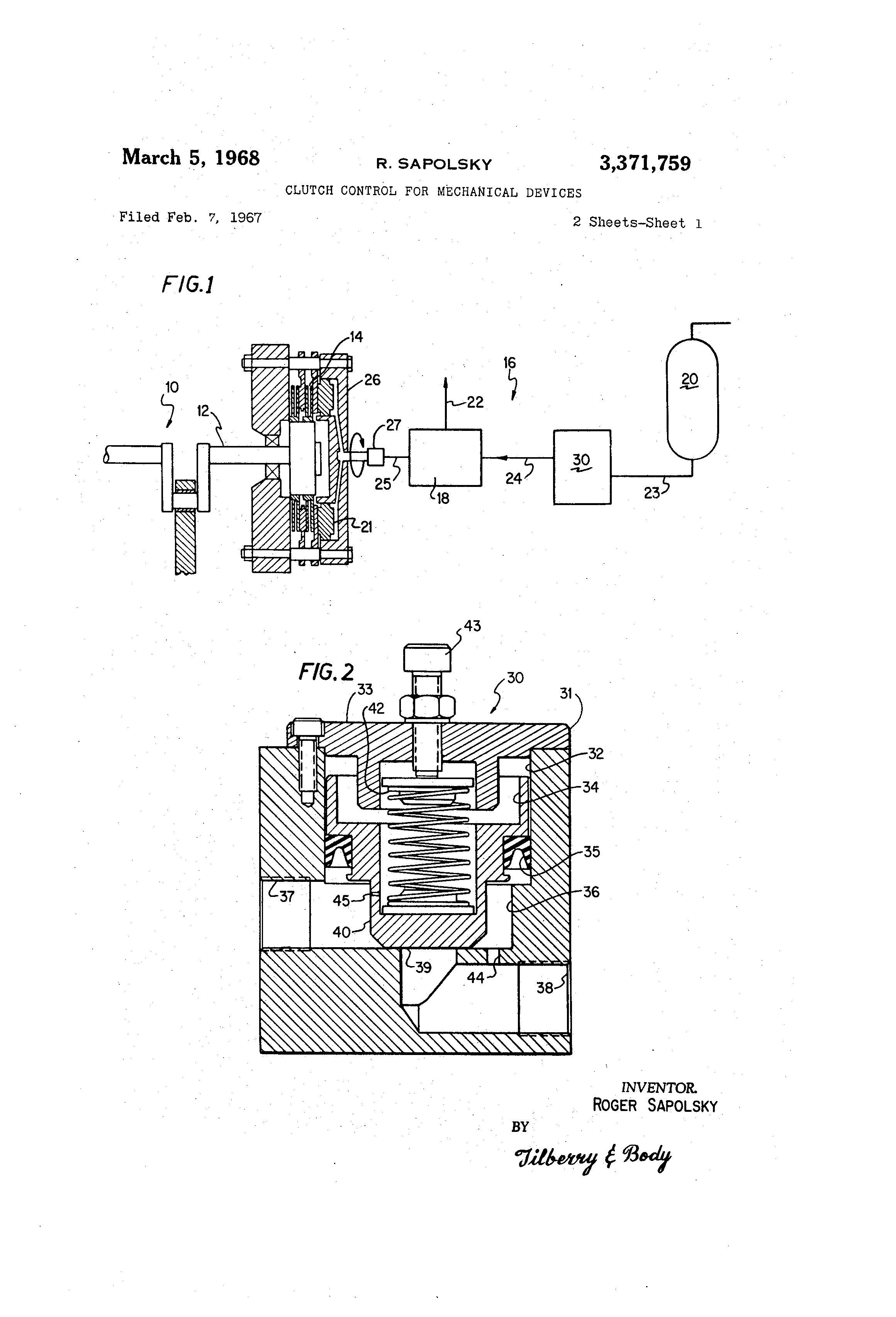
3 9 3 7 1 , 7 5 9 United, States Patent Office Patented Mar. 5, 1968 3,371,759 CLUTCH CONTROL FOR MECHANICAL DEVICES Roger Sapolsky, Saint-Gratien, France, assignor to E. W. Bliss Company, Canton, Ohio, a corpora- 5 tion of Delaware Continuation-in-part of application Ser. No. 467,288, June 28, 1965. This application Feb. 7, 1967, Ser. No. 629,044 11 Claims. (Cl. 192-85) 10 ABSTR ACT OF THE DISCLOSURE This disclosure concerns a torque control mechanism for a fluid operable clutch such as may be found in a crankdriven press, which mechanism includes a valve 15 to selectively connect the clutch to a source of fluid pressur e or to a fluid pressure escapement and in series between the valve and pressure source, a pressure modulating valve retarding build-up of pressure in the clutch at the start causing gradual clutc-h engagement and there- 20 after responsive to a predetermined back pressure to permit a rapid rise of pressure in the clutch to prevailing line pressure and full engagement torque. 25 This invention is a continuation-in-part of copending United States patent application Ser. No. 467,288, filed June 28, 1965, now abandoned. This invention pertains to the art of fluid operated clutch controls for mechanical presses and relates in par- 30 ticular to a two-stage pressure responsive control for modulati ng fluid actuation to the clutch drive. The invention will be described with particula@r reference to a pneumatic clutch drive of the friction disc variety associated with a crank driven press, however, 35 it will be appreciated that it is not limited to mechanical presses but may be used as a torque control mechanism generall y wberever the requirements are for a clutch control having a modulated cycle of operation. 40 In mechanical presses, the crankshaft is provided with torque sufficient to produce, for example, one-half tonnage at midstroke, full tonnage near bottom stroke, and thereaft er full tonnage continually through bottom center of the work stroke. At the point of travel of the crank- 45 shaft where a constant value of torque first produces rated tonnage, the torque capacity is thereafter controlled so that the ratio of torque to the effective lever arm of the cranksb aft is a constant value which will result in developme nt of the rated tonnage. An electro-pneumat'@c '50 clutch control engages and disengages the clutch automatically in response to the angular position of the crankshaft. Such a control generally includes a pressure regulated fluid tank connected to the clutch through a solenoid operate d, spring off-set, three-way, normally closed valve 55 which is controlled by a drum switch responsive to the cranksh aft position. De-energizing of the solenoid of the threeway valve blocks the path of flow from the pressure tank to the clutch and simultaneously connects the clutch to a fluid pressure escapement in the valve which lowers 6@0 the pressure in the clutch to a value whereby the clute-h will slip or disengage. The press can then be braked to a stop. To start the press, the solenoid is energized closing -the escapement and the pressure tank is connected directly to the clutch for high initial torque to quickly accel- 65 erate the crankshaft and moving parts of the press with a minimum of clutch slippage. One problem is to get the large mass of the press slide in motion from a standing start without straining the cranksh aft or causing excessive shock to the clutch drive. 70 A partial solution is to throttle the air intake of the three-way valve in order to slow down the build up of 2 pressure in the clutch and produce a gradual starting action. However, if the load comes on the press too rapidly, then the throttling of the three-way valve will be a major inconvenience since t@he clutch will be at reduced torque at the very moment the rated tonnage of t@he press is required. These and other difficulties are overcome with the present invention by modulating the fluid pressure delivered to the clutch to permit the build up of pressure gradually at the start until a predetermined torque is reached and then to permit the rapid build up to full line pressure for maximum torque. In accordance with the invention in its broadest aspects, the torque control mechanism includes a two-stage modulating yalve located in the line between t-he pressure tank and the three-way valve comprising a fixed orifice restriction for retarding the build up of starting pressure delivered to the clutch until a predetermined torque is reached and pressure relief means responsive to the back pressure for then increasing the clutch torque to that availa-ble with prevailing line pressure. More specifically, the pressure modulating valve includes a housing, a movable wall sealably dividing the housing into separate chambers, a calibrated orifice in the movable wall connecting the chambers, inlet and outlet openings connecting the pressure tank and three-way valve respectively to one of the chambers, a valve seat adjacent the inlet opening, a valve member closable on the valve seat in response to displacement of the movable wall, a throttling orifice larger than the calibrated orifice bypassing the valve seat and a spring element biasing the movable wall to the valve closing position at equilibrium conditions of the chambers whereby the rate of build up of pressure in the one e-hamber will exceed the rate of build up in the other chamber after initial clutch engagement causing the movable wall to move to the valve opening position when the predetermined driving torque is r@,-acbed. Further, it having been found that the pressure modulating valve is quite sensitive to a change in the calibrated orifice dimension, other things being equal, a modification permits the calibrated orifice to be positioned in the housing of the valve rather than in the movable wall, hence the orifice may be drilled into a removable and easily interchangeable plug adapted to be inserted in the housing thus changing the characteristics of the valve. The principal object of the invention is to provide a pneumatic torque control for friction disc clutches of mechanical presses insuring a gradual build up of clutch pressure at the start to reduce clutch wear a.nd minimize shocks to the press drive mechanism. Another object of the invention is the provision of a torque control including a fluid pressure modulating valv@ responsive to clutch back pressure for initiating maxim-um torque operation a predetermined period after initial clutch engagement. These and ot-her objects will be apparent by referring to the following description and drawings wherein: FIGURE 1 is a schematic representation of a crank driven press and clutch control therefor incorporating the invention and FIGURE 2 is a cross sectional view of the pressure modulating valve of the clutch control. FIGURE 3 is a vertical sectional view showing another form of the invention employing a calibrated orifice modification. FIGURE 4 is an offset sectional view showing the calibrated orifice of FIGURE 3. Referring now to the drawings wherein the showings are for the purpose of illustrating a preferred embodiment of the invention only and not for the purpose of

[2]

313717 759 3 limiting same, FIGURE 1 schematically shows a mechanical press drive 10 includin- a crank shaft 12 driven by- a pneumatically operated friction disc clutch @q4. Cojinected to the clutch 14 is an clectro-pneumat,'@c control, generally indicated at 16. The control 16 includes a solenoid operated, spring off-set, three-wa),, normally closed gate valve 18 which is connected to a drum switch (not shown) for operation in response to the angular position of the crankshaft 12 in a manr,.cr similar to the press control disclosed iq U.S. Patent No. 2,911,080 issued TTov. 3, 1959. That is, valve IS is normall@ mechanically held closed and separates a pressure ta-@ik 20 from a fluid pressure chamber 21 in the clutch 14, but is solenoid energized by the drum switch to open and connect the tank for pressurizin- tl-@e chamber 21 when driving tile press. When the valve 18 is closed ho@vever a flliid escapement 22 is open N@;hich connects the clutch chamber 21 to atmosphere exhausting the clutch chamber and disen.-aging the clutch drive. It will be at)preciated that a iixed pipe system 23, 24, 25 connects the pressure tank 20 and threeway valve 1-8 to the rotatable clutch housing 26. A revolving joint 27 of known desi-n connects the clutch cbamber 21 with the fixed pipe system 23, 24, 25 of the control 16, Heavy press parts such as the press slide and flywheel have an enormous inertia when they rest. If full line pressure is admitted into the clutch chamber 21 all at once, the shock in overcomin@ the inertia of tb-- movable press parts and the conscquent clutch wear is s-,vere. To alleviate this problem, prior press torque control mcclianisms included a line restriction between the pressure tank and the three-way gate valve. However this has the disadvantage of retarding the build up of torque too much which finds the press load requirements bein- reached before the full tonnage capacity of the press is available. In accordance with the present invention, instead of a line restriction, the novel torque co@-itrol 16 includes a pressure modulating valve 30 between the pressure tank 20 and three-way gate valve 18. Referring now to FIGURE 2, the pressure modulating valve 30 is desi_aned to acconiplish the two principal tasks of the torque control nientioned before which are: (1) to permit the build up of pressure in the clutch gradually at first and, (2) at a predelermi,ied back pressure, apply full line pressure to the clutch to achieve maximum torque. The valve copsists essentially of a housing 31 having acylindrical inner chamber 32 which is closed at one end by a cover 33 and at the other end by a movable wall 34 scalably enga@ing walls of chamber 32 by means of radial seal 35. Aiiother chamber 36 of somewliat smaller diameter than chamber 32 exists in the lower part of housing 31 and opens laterally on one side to form aq outlet 37 iiltended to be joined with the inlet of the three-way gate valve IS by way of fixed piping 24 and on the opposite side opening lateraII3, to form an inlet 38 intended to be joined with the compressed air tank 20 by way of pipin@ 23. The inlet 38 terminated centrally of the housing an'd coaxially with respect to cylindrical chambers 32, 36 to form a seat 39. The movable wall 34 is provided with an extension which forms a clack valve 40 adapted to close on the seat 39 at the same time cuttin- off direct communication of compressed air from tanl@ 20 to the inlet of the threeway gate valve 18. A coil spring 42, the tension of which can be adjusted by screw 43, biases the movable wall 34 and consequently clack valve 40 to the valve closin@ position on seat 39. A throttlihg orifice 44 connects th-, inlet 38 with cbamber 36 bypassin- the main fluid flow passage thrbu,@h the seat 39. A calibrated opening 45 of s omewhat'smaller diameter than throttling orifice 44 is located in the extension forming clack valve 40, the purpose of which is to connect chamber 32 with chamber 36 for reasons to be explained bereinafter. When the press is idle, the three-way g,,ite valve 18 is de-energized which means it is in the normally closed position separatiilg pressure tank 20 from clutch 14 and 4 connecting clutcli ciiamber 21 to the escapement 22. Under these copditions thechambers 32,.36.of the pressure modulating valv-, 30 are at equilibrium which means that the pressure in chamber 32 is subsantially equal to the pressure in chamber 36 under which conditidns the coil sprin- 42 is effective to bias the movable wall 34 and clack valve 40 lo the scaling position on seat 39 as illustrated in FIGURE 2. The @hambers 32, 36 are filled with air at maximum pressure or the prevailing p@essure of tank 20. 1.0 Upon criergizing the solenoid of the thrce-way gate vq'@ve 18, the escapement 22 is closed and the pressure line 23, 24, 25 from tank 20 to the cluteb chamber 21 is opened to fluid flow through the clack valve 40 by way of throttling orifice 44. The pressure inside the housing 31 will drop but the rate of decrease of pressure in chamber 32 will not be as rapid as the rate of decrease in cliamber 36 due to the calibrated orifice 45, thus the clack valve 40 will remain closed and compressed air from tank 20 will pass only through the throttlinorifice 20 44 retarding full cnga.-ing pressure of the clutch 14 so that the press will start running with a reduced acceleration. At a predetermined build-up in driving torque, the pressure in chamber 36 begins to increase due to the 25 -radual increase of pressure in the system. Since the chamber 32 cannot keep pace with the rise in pressure in chamber 36, the latter being in direct communication with the clutch and chamber 32 being restricted due to the small opening 45, a point will be reached when the 10 movable wall 34 will ri e against the forc& of s@rihg 42 tbus allowing the very rapid fillin,@ of the clutch chamber 21 to the pressure level prevailing in the compressed air tank 20. 35 During operation, the pressure in chamber 32 catches up with the pressure in chamber 36 reestablishing the equilibrium condition which permits the clack valve 40 to return to the closed positon thus getting ready for the next operating cycle. The tension of spring 42 can be 40 ,idjusted so tl)at it becomes easily possible to determine the desired initial pressure at which the clack valve 40 opens up fully. The calibration of orifice 45 is fixed and permits diminishing the displacement of the movable wall 34. In combination, the spring 42 and calibration of orifice 45 are effective to vary the responsiveness of the 45 control in order to meet the requirements of various speeds of opcration. In a modification of the invention shown in FIGURES 3 and 4 in wbich similar parts will be identified by like numerals with the addition of a prime mark, the c4librated 50 orifice 45' is positioned in the housing 31' rather than in the movable wall 34' which forms the clack valve 40'. The object of this modification is to take into account the fact that the pressure modulating valve responds to a change in the calibrated orifice dimensions in a rather 55 critical fashion herice it is drilled in a removable and easily interchangeable plug P which can be readily removed and replaced with one having a different calibrated orifice dimension to fit the modulating characteristics desired. The valve in FIGURES 3 and 4 is similar in all 60 essential respects to that shown in FIGURE 2 with the exception that the housing 31' is drilled with parallel transverse passages 50, 52- intersected by a vertical passage 53 adapted to receive the plug P. The transverse passage 50 remains sli.- htly uncovered at 51 (FIG. 3) by the mov65 able wall 34' and tblis communicates with the back pressure in the clutch prevailing in cbamber 36'. From passa,@e 50 the back pressure reaches chamber 32' only through the calibrated orifice 45' and passage 52 which opens into chamber 32' behind the movable wall 34'. 70 In operation a change of orifice restriction from I mm. to 0.8 mm. will increase the initial slow pressure build up from 29 seconds to approximately 34 seconds before the valve fully opens to permit full clutch torque. From the foregoing, it will be appreciated that the d@- 75 scription of the invention is with reference to a preferred

[3]

3,371,759 5 embodiment only and it is @possible for persons skilled in the art to modify details while conforming to the basic idea of the inventidn as defined by the appended claims. I

Как компенсировать расходы
на инновационную разработку
Похожие патенты