заявка
№ US 0003364797
МПК B23D63/00

Страна
US
Как управлять
интеллектуальной собственностью
Чертежи 
3
Реферат

Формула изобретения

Letters Patent is: 1. A fixture for sharpening saw blades comprising a support member, an elon,ated saw supporting arm, pivot means securin- said arm at one end to said support member for a substantial vertical swinging movement of said arm, angle indicating means mounted on said end of said arm and said support member, means releasably securing said arm to said support member against pivotal movement, scroll chuck means, means slidably positioning said scroll chuck means along a longitudinal axis of said arm, -means securing said scroll chuck to s-aid arm, blade suppor-t means mounted on said arm in proximity of said pivot means for supporting a saw blade adjacent its teeth, blade gripping means mounted at one end to said one end of said support member and the other end engagin- said saw blade in proximity of said blade support means, locking means releasably securing said blade .-ripping means and indexin.- means mounted adjacent to said blade support means in proximity to said pivot means adapted to en,@age the teeth of said saw blade and to pivot said clon-,ated arm about said indexing means with the teeth of said saw blade at substantially the center of rotation of said arm. 2. The structure as recited by claim I wherein said 31364,797 6 indexing means comprises a substantially flexible member and stop means mounted on said flexible member having an inclined surface permitting the teeth of said saw to slide past said stop means in one direction and engage said teeth upon rotation of said saw in the opposite direction. 3. The structure as recited by claim 2 taken in combination with dial indicating means and means mounting said dial indicating means on said one end of said arm 10 in alignment with the center of said scroll chuck means for recording the radius of said saw blade. 4. The structure as recited by claim @ taken in combination with a cap memb@r and means releasably securi@-ig said cap member to said scroll chuck means for 15 straightening a warped saw blade positioned on said scroll chuck means. References Cited UNITED STATES PATENTS 20 14,1 88 2/18 56 Em st ------ -------- 76- 79 X 295, 133 3/18 84 Tuc ker ------ ------ 76- 79 X I ' 117,575 11/1914 Oatley --------------- 76-42 1,135,245 4/1915 Zuleg ---------------- 76-42 25 GRANVRLLE Y. CUSTER, JR., Pi-imary Examinei-.

Описание

[1]

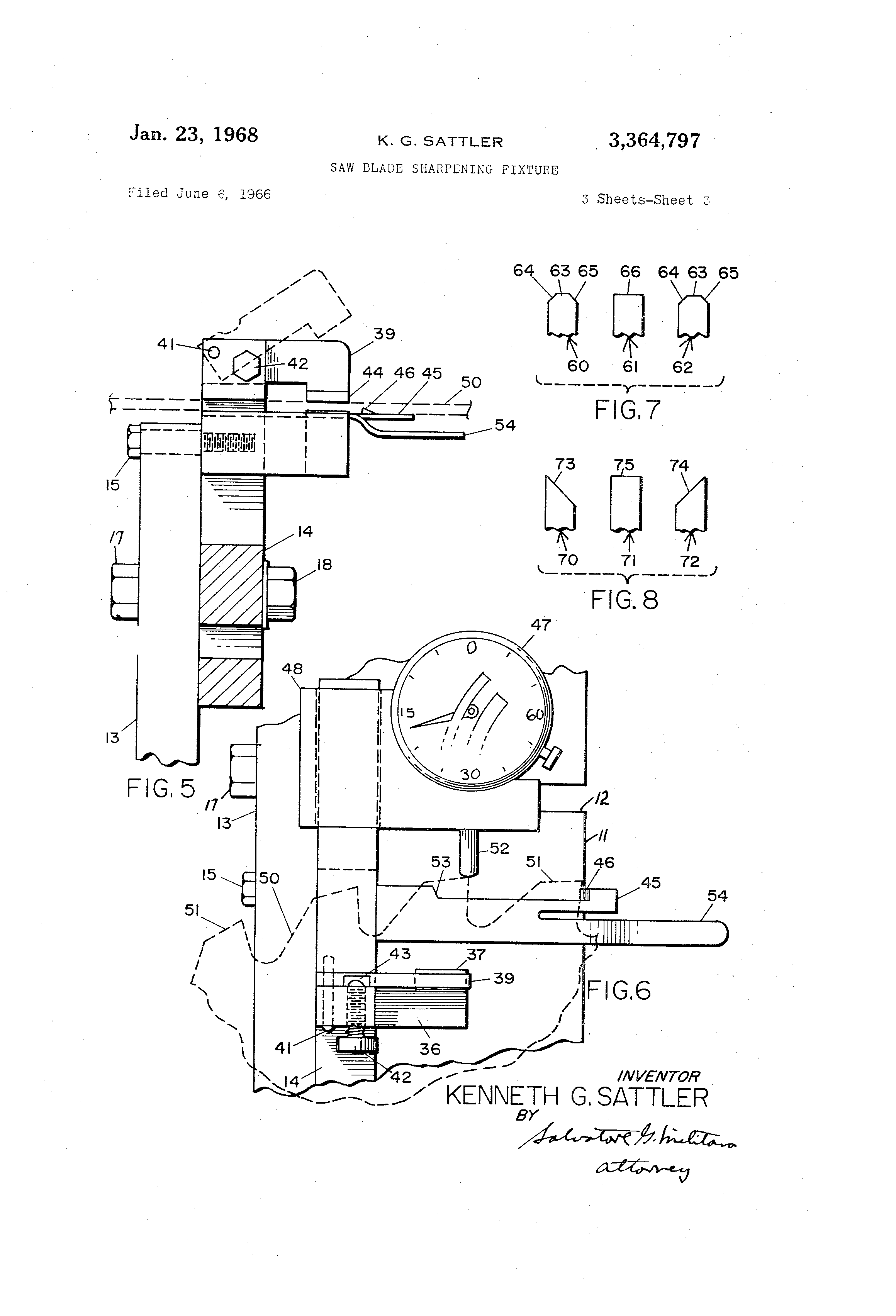
Utlited States Patent Office 39364,797 3,364,797 SAW BLADE SHARPENIING FIXTURE Keiane'Lh G. Sattler, 1356 W. 76th St., H;alcab, Fla. 33012 Filed.' une 6, 'I@966, Ser. No. 555,537 4 Claims. (C]. 76-79) This inven,ion relates to sanv blade sharpening fixtures a@-id is more pqrt'@ci-ilarly directed to a fixture for sharpening carbide 'Lipped saw blades. in the co-,iventional carbide saw blade sharpeni@ig fixtL7res there ue two serious problems, the first of which res,,,Its irl the blade being iMprOPCTIY sharpened and the second in the expenditure of considerable time in swinging th,- blade holding co@nponent of the fixttire from one an.-le to anothe.- in that the fixture and grinding head must be reset each time the atigle ef the saw blade has to be adl,tisted. The present invent;o@i contemplat,-s providir@g the fixt,dre of the -@tistant appi;--ation with means for strai,@hte-Tiip.- out a warped saw blade as it is bein@ ground and fl,- holding or gr;pp,ng the saw blade securely in proximity ol' thc@ t,-.-th where the -rindiTi.- ope.-alion is takin.- place wh.-raby the sa-,v beco-@Ties properly sharpened. Also, by placin.@ the p-ivolir@g pin of the blade holdin.- arm in approxima:,,ely axial alig-nment v-iith the tooth at tlle positio@i of the actiori, movement of the posit-Ion of the blade holding arm w;ll not move the teeth being ,-,ound out of t:ie area of the -rindin.- oneration and therefore does rot 'iave 'o bC T-.SCT when once il proper T)osition. Therefore, a o-ine, a] object oj' the idresent invention is p to pro-..,ide a carbide sa,,v blade sharp--iiir.- fxt-dre Nv-hich does not i-emove the teeth of the saw bein-. sharteiied f,-om the rositioq of the ari--qding ope,-ation upon chanipg 'Lhe of the arm v-/ith re',ation to the griiiding wh-el, a:id th.-@-efore does not ever have to be reset when O:Ice set. Ar,other object of th.- i)resent invention is to provide a carb;de saw blade sharuen-ln,- fixture which p.-rmits the sharpeiiin.- of a blade prop,-.-ly by means of a blade grippii,g membzr thp-t engages the blade in close proximity to 'Lhe t@-eth during the @rirdin.- operatioji. A further obiect of @the presett inve:ition is to prov;de a cai-b:ide s@w blade shari)eni;,.- fixture w@'@th a scroll chuck hav@@n'@ a cap me.-nber t@at holds a blade iqrmly 0-11 the scrol'@ chuck and strai,,htens out any wai7,Lin.- in the biade dtirip.- the sha,-pening operatior. A still furlher obj.-ct of the present invention is to 'de a carbide saw blade sharpenin.- fxture which -@)rov, is simple i@l desi.-n, idexpensive in -cost and most effective to shar-r,-.n a sa,@@, blade properly and qu;ckty therp-by reducin2 the cost of sharpe.-@ing a sp-,,v blade as v,,ell as acconi@311sh;ii,- the sharpe@iing o'L a saw blade in a minimum of time. ,Nith th.-se and other objects in view, the invention will be b@-st understood from a cons;deration of the followin.@ -7etai', ed description taken in connection Nv-th the accompaqying drawings forming a part of this specification, i,i;ti-i the understa-@iding, howev@-r, that the invention is not con-fined to any strict conformity with the show-Ing of the draw'r.-s but r-ray be chan.-ed or modifi-,d so long as such changes or modi-fications mark no waterial departure from the salient features of the inveqtion as expressed in the ar)p-,,ided claiins. In th.- drawings: FIGURE I is a perspect@ve view of my saw blade sharpeT2ing fixtlre showing a dial indicator and a scroll chL!Lk cover ;n exploded position. F.TG-1-IRE 2 is a top plan view with the diall indicator not shown. FIGURE 3 is a s;de el-.vational view showing a saw biade in dotted li@@les. Pa'-,er@ted Jan. 23, 'a -*,68 2 FIGURE 4 is a cross sectional view taken along the line 4-4 of FIGURE 3 showing a saw biade in dotted lines. FIGURE 5 is a fra.-mentary cross sectioial view talen along the line 5-5 of FIGURE 3 showing a saw blade in dotted lipes. FIGURE 6 is a fragmentary plan view showing the operation of the dial indicator with the saw blade shown in dotted lines. 10 FIGURE 7 is a diagrammat;c view of three teeth illustratina a saw blade. FIGURE 8 is a similar view il'iustrating an altemate saw blade. Referring to the drawings wherein like ntimerals are,, 15 used to desi.-nate similar parts throughout the several views, the numeral 10 refers to a saw blade sharpenin.fixtilre constructed in accordance with rny invention and corsisting of a base plate 11 which is provided with peripheral slots 12 for receiving hold down bol@s (not 20 shown) for fastenin- the fixture 10 to a grinding mach;rie when a sa-,v blade is being sharpened. Mounted on the base plate 11 is an upri.-ht support member 13 on which a saw blade support arm 14 is pivotally mounted as by a shoulder pivot pin 15 perrnitting the arm 14 to 25 pivot in a -v.-rtical plane. T17ic arm 14 is provided with an arcuate slot I-,') at its pivoted cild portion 20 throu,-h which slot a bolt 17 fastened to the upright support member 13 exi-eids. Graduations n degrees from zero to 45 de-rees in either sidpof the lero are imprinted adjacent 3o to the arcuate slot 16 with a pointer 19 mounted on the support 13 indicatin- the referene-, point. The arm 14 may be locked in any desired aigle Nvith relation to th-. support 13 by means of a nut 13 mounted on the bolt 17. 35 Aloig approximately the full length of the arm 14 is a slot 22 which receives a key 23 mounted on the side wall of a base member 21 of a conventional scroll chuck 30. T-he slot 22 extends through the full width of the arm 14 except for a short distapce from the free end 40 of the arm 14 as at 24. A bolt 25 is slidably mounted iiong the slot 22 having its tbreaded end received in a threaded bore 26 ii,. the base mer.-ber 21 of the scroll chuck 33. Upo.,i tiahten,,ng 'Lhe adjtistment bolt 25 at any position of the scr'oll chtick 30 on the arm 14, the scroll 45 chuck 30 will remain in that selected position until the bo'@t 25 is loosened and the scroll chuck 30 moved along the arm 14. It is i-@i this matiner that saw blades of different diqmctcrs caii be accomir@odated therp-on. Retatably -r.,iou-@it,-d on -he base member 21 is a saw 50 blade holder 31 having aii ad-jastable chuck 32 which may be adjusted to 'he size cf a saw bl-,de bore atid holds the saw b'lade securely on the chuck 30. A shaft 33 is rotatably mounted in beiring races 34 vibich is secured to the base mem'c)er 21. Vihen a cap member 29 has 55 bee-.i fas'lened by a hand turned bolt 28 iito place on a saw blade r--9 posit,'@oned on the scroll chuck, th,- saw blade 50 riot oi-@ly b@ - he'd most securely while being sharpeied but a,-iy warnifg in the saw blade will be corrected so theit saw bl ade w,@ll be sharpened properly. r,, 0 At the pivoted end '@C of the arni 14 above the support me@iiber 13 is a saw blade gr;ppill.- d.-vice 35 consisting of a blacie support member 36 that I:Ies in the same plane as the top surilace of blade holder 31 of the chtick 20 so that the saw blade 50 pos,.tioned or-, the chuck 30 will 65 lie and be sut)l.)orte(-i properly or@ t'@ie blade support member 36 ae,,;aceTiL the teeth Sl@ of t'-Ue saw blade ',;'O. A car@ b;de tip --iemb-.r 37 wel,.Ied to ',he stit) ort 36 prevents @p UTdi-le wear of the blade support 36. A slot 38 formed ii the g,-ippi-ig d@-vice 35 re,,eives the toothed ed-@e por70 tio-ii o.@ the saw blade 50. A arippiTi.@ meriber 39 p-lvoted iq a trapsversely d-'@snosed slot 46-) by a pivot pin 41 may be locked ;.n ;ts saw blade -.-in in- position by a lock p @

[2]

3)364@797 3 bolt 42, The look bolt 42 en-.ages a groove 43 formed in the t(-p edge of the -ripping !ever 59 to lock the ]ever S9 against tur@iing at which ti-irie the carbide tip member 44 ci!za---s the top surface of the saw blade 1,@O in proximily of the tee'h 51 to hold and support the sa,,v blade 50 secureiy during the g@ind:ln,@ opera-L'lo-@i as explained hereina.'@ter. Lvin@ in t'@ie same horizontal plaie as tl,.e chuck 30 .iid t.@,e blade su,.ppc)rt memb2r 36 is a flexible iideNiii@,@ 45 hav;ng one c,.id secured to saw-bll-de gi-@,ppi.n,g a,-,ilce 35 at tho positior@ of the slot 3-0. -lie ;,ijex;n,- .L in-,mber 45 which e:iLa,,es the lovier suriace of the s,,iw ,@',Itly is p,-rivided 'th an inclined slou"der blade SC@ very l@'. wi or stop membc@r -'@5 mp-@de ol catbidc riiatzrial. The stcp member 46 is @ncii-,icLI ii a d"lrect"@on to peripit the teeth Si of the q-aw blac'e So to siide upwardly thereoti as the saw blade Si) is rotated counter-clockwise as @,iewed iD 6 but will preverit the saw blade 50 from rotatin,, clockwis,-. However, in order to permit the saw blade 3@o to be rotated cloc@wise, in t,ie event the b'ade has been iiaclvci:,eltly rotafed beyond the desirert position, to be shal-pe@ied the i@- idexin.- meir-ber 45 is provided with a downwardly ext@-n,,4i,@g extension 54. Upon applyilg @, dow@iward force oii the exte-,ision 54, the s'@iolilder 46 -w@ll be de,,)ressed b@@lo-vv the level of the teeth 51 thereby releasitig t-ic toc-th 51 ar@d perniittin.- the saw blade 50 to be rotated ciockwise. During a bla(le sharpe:iing opera.on wherein atternate teeth are be',ig sharpened in one ,settin@ of the fi,,.ture 10, the operalor rotates the b'iade 53 with ope hand and iisteiis for a clict--ing noise c@iused I n @,)y the reiease of t'@le -,'Cl; ed stop or sholilder 46 as the tep-th 51 slides off the shoulder 46 and str;kes the rrernber 45. Tlle indexin@ merilber 45 is slc)tted as at 53 aic)n,, one edge to Prevcnt the '- eelh 51 from rubb@iig against the mcr-.-iber 45 as the saw blade 50 is rotated. Upon siarpening a circular saw blade, tne radii of t'f,,e sa,@v blad-. at ',he 'Leeth will have be@@n aite-ed i@iasmlch as a cer'lain amount of metal has bee-@i ground off the + ,eeth. In those instances whereiti teeth have bevelled faces extendin- in opposite directions, a dial indicator must be, utilized to deter.-mine th-@ am-ount of metal to be ground off the be@,,elled face al'ter the Iqrst set of be,,,elled teeth have been ground in order that the teeth will have the same rldii. Al-@o if certa-'. tee@Lh are shorter than .n other teeth on a saw blade the dial ind,'-Cator must be used. As best show:i by FIGURES I and 6, a conventio,@ial dial indicator 47 is shown m, o-anted on a slide bracket 4'0 wh:ch is provided with a slot 49 for mounting the dial ir@icator @17 in operatin@. pos;tion --n the pivoted cnd 20 of the arm 14. The d:al indicator 47 is prov-lded with tho usl,al stem 52 whose reciprocal movement actuates the pointer of the dial indicator. c sharpening In the normal operation of my saw blad iqxture 10, the saw blade 50 to be sharpened is placed on the scroll chuck 30 with the chuck 32 being received by the center bc)re of the saw blade. T'iie chuck 32 is then drawn backwards ,hereby holdi@ig the saw blade 50 secureiy dur-ing the sharpening operation. However, if the saw blad,- 50 is warped, then the cover member 29 is fastened into posi,@,ion on the chuck 30. After the bolt 25 is loosened the chuck 30 is then slid alon.@ the arm 14 until the saw blade 50 is resting on the blade siipport member 36 and th-- indexin@, member 45 while one of the teeth 51 of fne saw blade 50 is en.@a.aed by the stop member 46. The outside diameter of the tooth to be @round is now in posiilon beyond the indexing member 45 to be engaged by a grindin, wheel vih-ch will be positioned in cic)se proximity to the indexing mer@iber 45. The bolt 25 is then tightened and the blade engagin,@ member 39 is pivo'led about its pivot pill e@l to compel the tip 44 to enga,@e the sanv blade 50. The bolt 42 is then tightened to locl& the member @-@9 a.@ainst the top surface of the saw blade aO so that the latter is held securely as the teeth 51 are @eing @roind and sharpened. The grinding operation in the sharpening of each o'L 4 the teeth 51 of the s,anv il@D is th-.p begun. If there i3 a chqmfer or a bevel i-ii @Lhe tooth to be sliarpened, then th,, bolt io is loosened a-,id t@e arm swuiia in a vertical Plble to the are desired as indicated by the nurn't)er of dtgrees shown by the graduations adjacerit the slot 16. The bolt 18 is theri til@h,ei@ld to secure the arm 14 i@i position., it is to be noted that the saw blade 50 lies i@-i a horizontal pla@-ic common to the pivot pin 15 of the a ' tm IL4 ar@d the pivot pin 1;5 is also in alignriient with 10 the indexing member 45. Consequeptly when ihe arm 14 has to be adjusl,-d during the sharpening of the teeth of p a saw blade from or@e position to a second osition, the tCC41 second position of the h will be irl- extr--mely close proximity to the first positio-@i which in turr@ is the proper 15 position for grindin.-. No effort or lost 'Linie is involved in brin.-in.- the s,-tw to its second posil@ion of grinding after the first -riiiding action has been completed. As for example, '-,7!GURES 7 and 8 show in a diagramrilatic fashion teeth of two difi'erent saws. The teeth 60 ' 61 20 and 62 are t-,elh of a saw in which the order o' the teeth about the periphery of the saw is as shown. With the saw illustrated by FIGURE 7, after the saw has becti -positioned on my fixture 10, the cutti-@ig surfaces 63 of all saw teeth 60 and 62 are first ground. Then the sur25 faces 66 of the alternating teeth 61 are ground without the necessity of making any adjustment of my fL-,ttl-re 1-0 except that if the teeth 66 are to be .015 inch shorter in radius than that of the teeth 60, 62, then the grinder iand wheel is Tpoved the distance of .015 inch in the 30 direction of a deeper cut. The next step consists of pivoting the arm 14 to the angle at which the chamfers 64 are v,,ith relation to the side edge of the teeth. AfLer 'tbe chamfers 64 hane been ground, the arm 14 is then swun.to the same angle on the olher side of the zero marki-@ig 35 on the angle setting. The chamfers 65 are then around thereby completing the grinding of the, saw. In the conventl'onal fixtures for sharpening the teeh of saw blades, Nvhen the fixture is being chaii.-ed from the position of having -rinding the chamfers 64 to that of 40 grindiiig the chamfers 55, a great deal of ei'fort and time is expended in the adjilstment of the grinding tool to its original grinding posit@@'on. The conventional fixture has its blade support member mounted above the pivot point of the fixture. Conseq@aently when the fixture is swun45 from one position to another, the teeth circumscribe 'a large arc moving the teeth from the grinding position near the grinding tool to a position remote therefrom. The grinding tool must then b.- moved back into position to grind the tee'Lh at their remote position. 50 I-Ti sharpenin- the teeth of a saw illustrated by the teeth 70, 71 and 72 in FIGURE 8, the fixture 10 will be adjusted to first griiid the bevel surface 73 of the teeth 70 by swinging the arii 14 to the proper angle. After all .55 of the teeth 70 are grcund then ',he arm 14 of the -@qxture 10 is swung to the sam,- angle in the other side of the zero reading and the bevel 74 is be.-Un to be grouid. However, si-iice these teeth 70 and 72 must be of equal distance from the center of the saw blade, the dial in60 dicator 47 is used to determine when sufficient metal has been -round on the bevelled surface 74 of the tooth 72. Then all of th@- teeth 72 are ground. The arm 14 of the fixture iLO is then returned to its zero position and the surface 75 is ground, utilizing the dial indicator 47 to 65 determine how much metal is to be ground from the surface 75. In this instance, the teeth 71 should be on a radius approximately .015 inch shorter than that of the teeth 70 and 72. Again note that when the arm 14 of my fixture 10 is swun- from the position of grinding the 7o bevel suri'ace 73 to that of grinding the bevel 74 and then to the posilion to grind the surface 75, the teeth 70, 71 and 72 remain at all times i@i the same relative position in close proximity to the .-rinding Nvheel so that the latter 75 need be moved only sli.-htly at any time.

[3]

5 Having disclosed n-iy invention, what I claim as new and desire to secure by

Как компенсировать расходы
на инновационную разработку
Похожие патенты