заявка
№ US 0003358968
МПК B64D1/22

Номер заявки
4590018
Дата подачи заявки
27.10.1966
Опубликовано
19.12.1967
Страна
US
Как управлять
интеллектуальной собственностью
Чертежи 
3
Реферат

Формула изобретения

Letters Patent of the United States, is: 1. A continuous loop variable penetration winch comprising a frame, a capstan carried by the frame, a twopart storage reel assembly carried by the frame and spaced from the capstan, each of said parts comprising at least two rotatable cable receiving druin members, a continuous looped cable carried by the capstan and the storage reel assembly, said cable traversing a path through the winch around the capstan, around the drums of the first part of the storage reel, crossing over to the second part of the storage reel, around the drums of the second part of the storage reel in a direction opposite to its travel around the first part of the storage reel and then back to the capstan by way of a loop, means to rotate the storage reel assembly whereby the loop may be lengthened or shortened to provide the desired depth of 6 penetration, and means to drive the capstan and at least one of the parts of the storage reel assembly. 2. A winch according to claim I in which the capstan comprises spaced rotatable driim members, a series of annular grooves in the said drum members, the grooves in one drum member being laterally offset with respect to the grooves in the other drum member whereby a helical path is provided for the cable as it crosses from one drum to the other and means to drive the two drum 10 members. 3. A winch according to claim I in which the two-part storage reel assembly comprises a first stage drum complex, a plurality of spa@ed rotatable drums in said first stage drtim complex, a second stage drum complex, a 15 plurality of spaced rotatable drums in said second stage drum complex, a source of rotary power and gear means coupled to the first stage drums and driven by the rotary power source to rotate the said first stage drums. 4. A winch according to claim 2 in which the second 20 stage drums are provided with gears driven by the rotary motion of the first stage drums to impart rotary motion to said second stage drums in a direction opposite to the first stage drums. 5. A winch according to claim 3 in which each of the 25 first and second dr-um complex drums is provided with a series of spaced annular cable receiving grooves and in ,vhich adjacent drums in each complex are laterally offset a distance of one pitch of said -rooves in one complete revolution whereby the cable will traverse a helical path 30 around the drums as it passes from one drum to the next adjacent drum. 6. A winch according to claim I in Nvhich the storage reel assembly is carried between spaced plates, a small stub shaft supporting each of said plates and in which 35 the cable crosses over from the firt stage drum member to a dr-um member located 180' from said first drum member. 7. A winch accordin@ to claim 6 in wbich the storage reel assembly rotating means is a crank coupled to the 40 spaced plates. 8. A winch according to claim 2 in which the capstan driving means comprises a source of rotary power, an output gear on the power source, gears carried by each of the spaced capstan drum members in mesh with the out45 ptit gear, a sprocket gear assembly driven by the output gear and drivably coupled to the first of the two-part storage reel assembly, a torque limiting clutch between the output gear and the sprocket gear assembly and an over rlinning ratcliet between the sprocket gear assembly and 50 the first of the two part storage reel' 9. A w-inch according to claim 2 in which the storage reel drums are driven at a speed of the order of 10% faster than the peripheral speed of the capstan drums. 1.9. A winch according to claim 1 in which the loop is 55 ma,ntained in vertical orientation by a weighted pulley freely carried by the loop, References Cited UNITED STATES PATENTS 60 1,071,882 9/1913 Cole ------------- 254-175.7 2,306,835 12/1942 Tucker ----------- 254-175.7 FOREIGN PATENTS 528,469 511954 Belgium. 65 931 315 811955 Germany. 11084',798 7/1960 Germany. RICHARD E. AEGERTER, Primai-y Examiner. 70 EVON C. BLUNK, Examiner. H. C. HORNSBY,,4ssistant.Examiner.

Описание

[1]

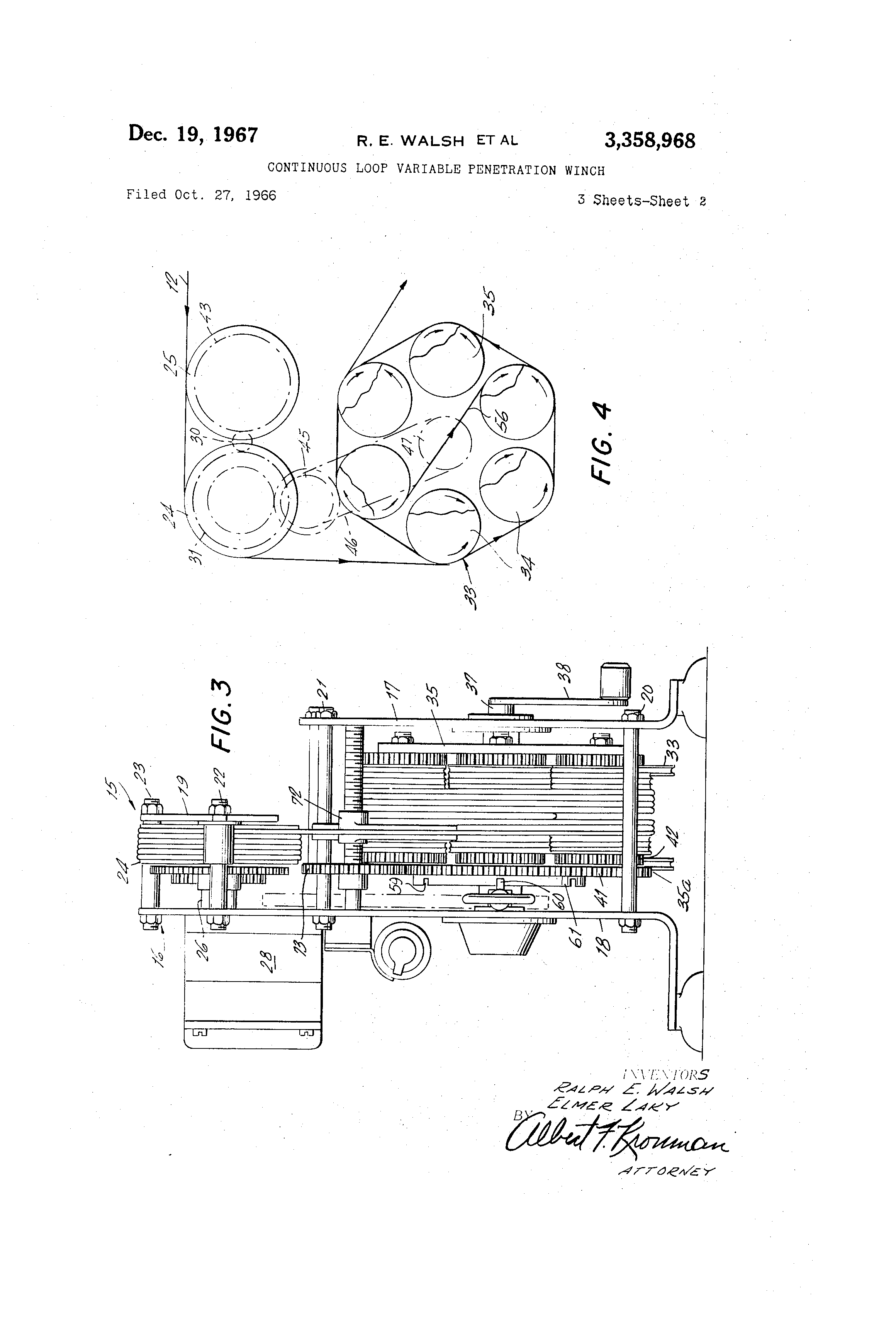
0 United States Patent Office 3@358@968 P a t e n t e d D e c . 1 9 , 1 9 6 7 3,358,968 CONTINUOUS LOOP VARIABLE PENETRAT]ION WliNCH Ralph E. Walsh, Long Branch, and Elmer Laky, Cranford, N.L, assignors to Breeze Corporation, Inc., Union, N.J., a corporation of New Jersey Filed Oct. 27, 1966, Ser. No. 590,018 10 Claims. (Cl. 254-175.3) ABSTRACT OF THE DISCLOSURE A winch is disclosed in which the cable is continuous and has a free extending looped portion for raising and lowering a load. The cable is led over a capstan aiad then into a two-part storage reel of rotatable drums. The storage reel itself can be rotated to raise and lower the loop without interrupting the travel of the cable through the winch. In order to permit shorteni ng of the loop the i-able is crossed over between the drum members and the dnims are offset to prevent wear of the cables. This invention relates to hoists and winches and more particularly to a winch employing a continuous looped cable capable of operating at a selectively variable penetration. ,Where it is desired to operate winches from hovering aircraft, such as helicopters, tethered lighter than air craft, or the like, it is necessary to maintain the winch cable at a constant distance from the surface. Variations in aircraft height due to atmospheric, or operating coliditions must be compensated for in order to maintain satisfactory loadin.- or unloading operations. Previously known winches employin.- a conventional cable have been unsatisfactory for hovering aircraft use inasmuch as the single cable had to be stabilized long enough for loading or unloading purposes and the load affixed to the cable would often strike the ground with a resulting dama.-e to the cargo or personnel. NYhere rescues were attempted at sea, wave action also made conventional winches and cable unsatisfactory. Accordingly, it is an object of the present invention to provide a winch and cable which will overcome the shortcomings of prior art devices. Ano'Lher object of the present invention is to provide a winch assembly which will compensate for sudden changes in aircraft position during loading and unloading operations. Still another object of the present invention is tO PrOvide a winch assembly which is capable of a wide variety of operations including simultaneous loading and unloading. A further object of the present invention is to provide a winch assembly capable of lifting loads in excess Of presently known devices. Another object of the present invention is to provide a winch capable of continuous loading without the need of reeling in and paying out of cable. Still another object of the present invention is to increase loading and unloading speeds in winch operation. A still ftirther object of the present invention is to provide a winch having a continuous cable in which the stresses upon the cable are kept to a minimum. Another object of the present invention is its tise of a continuous cable together with a weight freely carried by the cable for loading and unloading operations while the aircraft is hovering. A feature of the present invention is the use of a mu'@tidrum storage reel assembly capable of varying the operating length of the cable. Another feature of the present invention is its novel means for the regulating of the depth of penetration of the looped cable to meet specific loading or unloading requirements. A further feature of the present invention is its novel cable disposition upon the storage reel assembly to minimize cable stresses. The invention consists of the construction, combination and arrangement of parts, as herein illustrated, described io and claimed. In the accompanying drawings, forming a part hereof, there are illtistrated 3 forms of embodiment of the invention, in which drawings similar reference characters designate corresponding parts, and in which: 15 FIGURE 1 is a somewhat isometric view of a helicopter employing a winch made in accordance with the present invention for deploying personnel. FIGURE 2 is a view, in side elevation, of a complete embodiment of the present invention. 20 FIGURE 3 is a view in rear elevation, somewhat enlar.-ed, taken on line 3-3 -in FIGURE 2, looking in the direction of the arrows. FIGURE 4 is a somewhat diagrammatic view of the capstan and storage reel assembly of the present inven2.5 tion showing the path of the cable. FIGURE 5 is a view in vertical section taken on line 5-5 in FIGURE 2, looking in the direction of the arrows. FIGURE 6 is a somewhat diagrammatic view of another 30 embodiment of the present invention. FIGURE 7 is a fragmentary cross-sectional view of a storage reel assembly -according to a further embodiinent of the present invention. The invention broadly contemplates a winch having a 35 capstan for reeling in and dispensing cable from a storage reel assembly which includes a plurality of small rotating drum members wh;ch can be turned as a unit to vary the depth of penetration of the cable passing through the winch. The cable is continuous and the dispensing end of 40 the cable is in the form of a loop to which there may be attached a weight carried by a pulley which freely rotates within the loop. Loading and unloading operations are achieved by securing objects or personnel to the cable loop as the cable is fed through the winch during winch 45 operation. Reierring to the drawings and particularly to FIGURE 1, 10 indicates a hovering aircraft such as a helicopter. A winch 11, made in accordance with the present invention is secured to the aircraft 10, and a loop of cable 60 12 is 1<)wered from the winch 11 in the hereinafter More fuily set forth manner. The cable 12 is maintained in its vertical position by means of a weight 13 carried by a pulley 14, best shown in FIGURE 2. The pulley 14 rides freely upon the cable 55 12 and maintains the bottom of the loop at a desired distance from the ground. Referring to FIGURES 2 ar,-d 3, it will be seen that the capstan 15 of the winch is built upon a frame 16 havin@ a front plate 17, a load bearing plate 18, and a cap60 stan pl-ate 19. The frame members are held in rigid spaced relationship by means of bolt-like cross supports 20, 21, 22 and 23, etc. Two horizontally spaced drums 24 and 25, hereinafter referred to as capstan drums, are-joumaled between the load bearing plate 18 iand the capstan plate 65 19, upon shafts 26 and 27. The capstan drums 24 and 25 are driven by a motor 28 (see FIGURE 5), the output shaft 29 of which has gear 30 keyed thereto. The capstan drums 24, 25, are providcd with spaced annular grooves 32 to receive the cable 12. The annular 70 grooves 32 of the capstan drum 24 are laterally displaced a distance of 1/2 pitch from the annular grooves of the drum 25, so that the cable 12 may be wound upon the

[2]

3 drums 24, 25, and follow a substantially helical path around the said drums making the helical "cross over" in the space between the drums@ As indicated in FIGURE 2, the cable 12 coming. from the capstan drum 24 is lead downwardly and around a stora.-e reel assembly 33. The stora-e reel assembly (best shown in FIGURES 2, 3, 4 and 5) consists of a plur-ality of small annularly grooved drum members 34, which are carried between spaced circular plates 35, 35a. The plates 35, 35a are journaled upon shafts 36, 37 carried by the load bearing plate 18, and front plate 17, respectively. The spaced plates 35, 35a to.-ether with the drums 34 are rotatable upon the shafts 36, 37, by means of a control arm 38 connected to a drive shaft 39 to which is pinned a drive gear 40. The -ear 40 is in mesh with gear teeth 41 formed on the periphery of plate 35a. Each of the small cable receiving drums 34 has sectired thereto a spur gear 42 which forms part of a gear train interconnectin.a the drums 34 which form one of the two drum complexes in the storage drum assembly. The drum con-iplexes, hereinafter referred to @as the first and second sta,@e drum coniplexes, are driven in a manner whereby the first stage drums all rotate in the same direction and the second stage drums all rotate in a direction opposite to those of the first stage. Power@ is supplied to the drums 34 through -a power train driven by the m<)tor 28. The power drive consists of the motor output gear 30 which is in mesh with gears 31, 43, The gears 31, 43, are pinned to the capstan drums 24, 25. The capstan drum 24 has one plate 44 of a torque limiting clutch 55 secured thereto. A sprocket gear assembly 45, is driven through the slip clutch 55. The sprocket gear 45 transmits power throu,-h a chain 46, to a second sprocket gear 47 carried upon the shaft 36. An over-running ratchet 48 is located between the sprocket gear 47 and the shaft 36 so that rotary motion can be imparted to the stora.-e reel main gear 58, pinned to the shaft 36, in one direction. Each of the @ears 42 connected to the small drums 34 are in mesh with the main gear 58. Rotary motion in a direction opposite the first stage drum complex is imparted to the second sta,ae drum complex by means of the cable 12 which is led from one of the first stage drums around one of the second stage dr-ums located 180' from the first stage drum as shown in FIGURE 4 ;at 56. A main gear 52 is in mesh with each of the drum - ears 53 secured to the second stage.small stor-age drums 34, to drive them in the same direction. The cable 12 is preferably made of stranded wire suitably fabricated in the well known manner and connected at its ends to form a continuous loop. It is to be understood, bowever, that chain may be substituted -for the cable witholit departing from the spirit of the invention. Referrin- to FIGURE 4, it will be seen that the cable 12 is led around the capstan drlims 24, 25, and disposed within the annular -rooves 32 thereof in the well known manner. The cable 12, as it leaves the capstan drum 24, is led downwardlyand around the annular grooves of the small drums 34 which make up the first stage of the stora,-e reel 33 by a level wind assembly 72. The level wind :assembly 72 is operated by a gear 73 which is in mesh with plate gear 41. The level wind positions the cable with respect to the grooves in the drums 34. Here again, the small drums 34 are laterally offset with respect to adjacent drums a distance equal to one pitch in one complete revolution so as to provide a helical path for the cable 12, as it is led around the first and second stage drum complexes' Referring to FIGURE 1, it -will be seen that the cable 12, has been lowered from the aircraft 10, a distance suitable to bring the weight 13, and consequently the loop of the cable, to witbin a short @distance of the ground 57 (other distances have been shown by way of illustration). In order to achieve this result, the control arm 38, is rotated, thereby turning the storage reel assenibly 33 by means of gears 40, 41. Rotation of the storage reel assembly 33, in one direction will decrease the number Of 3,358,968 4 turns of cable on the storage reel assembly 33. Rotation of the storage reel assembiy 33 in the opposite directioa will iiierease the number of tums of cable thereon. As a result, there will be a lengthening or shortening of the loop coming from the winch. In this manner, the depth of penetration of the loop can be re.Ulated to meet the requirements of the conditions of use. It is important that the cable 12 comin-. from the winch follow a path such as shown in FIGURE 4. In order to 10 achieve this desired path, the storage reel assembly 33 is indexed by means of notches 59, provided in an indexing wheel 61 on plate 35a, which notches are engaged by a pawl 60 (see FIG. 3). When it is desired to reorient the loop of the cable, the pawl 60 is withdranvn from the 15 notch 59, until the su;table amount of cable has been either paid out, or drawn into the storage reel assembly 33. When the pawl 60 is insetted into the next adjacent noteli 59, the cable path will be as shown in FIGURES 2 and 3. A level wind assembly (not sbown) responsive 20 to the rotation of the crank 38 is provided on the output side of the stora.-e reel assembly 33. Referring to FIGURE 6 there is shown a somewhat simplified embodiment of the present invention in which the cable 12 is led over a sin.-le grooved capstan 62 and 25 wound thereon in the well known manner. The capstan 62 may be provided with a helical groove and end flanges in accordance with well known winch practices if desired. The cable comin.- from the capstan 62 is led arotind a storagereel assembly 63 consisting of four dr@ums 64, 64a, 30 65, 65a. The drums 64, 64a -and 65, 65a, are secured in axial disposition but capable of rotation independently of each other as shown in FIGURE 6. The first drum complex in this embodiment consists of the drums 64, 64a, and the second stage drilal complex consists of the drums 35 65, 65a. The cable 12 is wrapped around the first drum complex 64, 64a, for a suitable ntimber of turns and then crossed over bet)xeen the two drum complexes and wound in an opposition direction upon the second drum complex 65, 65a, in the manner shown. The cable is led from the 40 stora.-e reel 63 over a pulley 66 in the continuous loop as hereinabove more fully described. The storage reel 63 is further mounted for rotation about a horizontal axis in response to ttie motion of the crank 67. In this manner, the loop of the cable 12, can 45 be regulated with respect to th-. depth of penetration. In FIGURE 7 there is shown a fragmentary view of a storage reel illustrating still another embodiment of the present invention, in which the second stage drlims are positively driven by the first stage di-ums. This embodi50 ment corresponds to that shown in FIGURE 5, with the exception that a small spur g,-ar 68 is secured to one of the drum members 34, of the first stage drum assembly on the inside thereof, or between the first and second drlim members@ A second spur gear 69 is fastened to one 55 of the di-um members 34 of the second stage drum complex and is in mesh with the first spur @ear 68. Motion from the second spur gear is transferred throu.-h the drum member to which it is attached and thence to a third spur gear 70, secured to the outer face of the drum mem60 ber' Each of the second stagp. dnim complex drum members is provided witli an identical spur gear 70 and a main @gear (not shown) similar to gear 5Z in FIGURE 5, is in mesh with each of the gears 70 so as to cause the second stage drun-i members to rotate in the san-te direc65 tion. Iii this ma-@iner, a positive driven motion is impatted to the second stage drum complex as the %vinch is operated. It is witbi-@i the purvie@v of the present invention to use the loop of the cable 12 without the weigi3t 13, par70 ticularly in those instances where the cable is of a weight which wiR keep the loop in a vertical orientation. It is also possible using the hereinabove described winch to fasten a book to the cable in lieu of the w--ight 13 for ho-isting or lowering purposes. Since a double strand of cable 75 is employed, the advantages of a two-part system are

[3]

8,358,968 5 achieved by this structure. Heavier loads can be handled without increasing cable dianieter or winch size. The drums 34 of the storage reel assembly 33, are driven at a speed oL' the order of 10% fastcr than the peripheral spced of the capstan drums 24, 25, in order to prevent loss of tension upon the cable as it passes from the capstan drums 24, 25, to the storage reel assembly 33. The differential in speed is provided for by the gear train 44, 45, 46 and 48, and the slip clutch 55, located th,-rein. Where the variable penetration winch described herein is to be used under conditions of constant or regular variations of depth of penel,ration as in resctic operations in heavy seas or loading or unloading operations from helicopters to ships, or from helicopters subject to varyin.- and violent thermal conditions, the loop of the cable 12 may require constant adjustment to compensate for the required changing depth in penetration. It is within the purview of the present invention to provide for such adjustm,nt by meais of a small rnotor (not shown) cOnnected to the shaft 39 of the control arm 38. Control of the motor may be achieved by means eof vaiious known techniques such as servo-mechanisms coupled to the automatic stabilization equipment in the aircraft. Alternately, the motor may be controlled manually by visual reference of the operator or by the use of a reference wire secured to the loading surface. The winch described herein can be used for dischargilig personnel from a hovering helicopter in the inanner shown in FIGURE 1. For this purpose th,- loop is lowered until it touches or is just above the ground and the cable started through the pulley 14. Personnel to be discharged will then cotiple thernselves to the cable 12 by means of a friction clamp or other attaching means and will descend on the cable until they reach the ground. As each person reaches the ground he can qliickly disenga@e his coupling and permit successive persons to land. It will be apparent that personnel can be lifted from the ground in the same manner on the upward travelinside of the loop or by reversing the direction of the cable 12. It may be possible to raise and lower containers (not shown) at the same time with the same traveling cable for transfer of cargo from the aircraft to the ground. Cargo and other material can be loaded or discharaed from a helicopter in the same inanner as persondel by the use of loaders and Linloaders in the aircraft and on the ground. From the foregoing it will be apparent that there has been provided a variable p,- netration winch capable of a large variety of loading and unloading tasks wbich lends itself to rapid adjustment to meet specific requirements and which will perform tinder conditions heretofore impossible for winch uses. Having thus fully described the invention, what is claimed as new and desired to be secured by

Как компенсировать расходы
на инновационную разработку
Похожие патенты