claime-d herein is: 1. In a lock stitch sewing machine having a frame, a thread carrying needle endwise reciprocable in said frame, a circularly movin.- loop taker journaled in said frame, a thread carryin.- bobbin journaled withi-ii said loop taker, actuatin.- mechanism in said frame operatively connecting said needle and said loop taker for interrelated movements as are required for the formation of lock stitches, a bobbin windin.- memb,-r carried within said loop taker, and means shiftably supportin.- said bobbin windin.- member for movement axiauy of said loop taker into and out of operative engagement with said bobbin, means for at will shifting said bobbin winding member axially of said loop taker into operative engagement with said bobbin comprising a solenoid including a core provid,-d with a solenoid coil, an armature shiftably supported relatively to said core, means operatively connectin.- said armature to said bobbin windin- member, and means securing said solenoid core to said sewing machine frame with said solenoid armature in seated relation a.-ainst said solenoid core in the operative engaged position of said bobbin windin.- member with said bobbin. 2. In a lock stitch sewing machine having a frame, a thread carryin.- needle endwise reciprocable in said frame, a circularly movin.- loop taker journaled in said frame, a thread carryin,@ bobbin joumaled withi-ii said loop taker, actuatin- mechanism in said frame operatively connecting said needle and said loop taker for interrelated movements as are required for the formation of lock stitches, a bobbin windin.- member carried within said loop taker, and means shiftably suppor-ting said bobbin Nvindin.- member for movement axially of said loop taker into and out of operative engagement with said bobbin, the combination of means for shifting said bobbin windin.- member axially of said loop taker into operative engagement with said bobbin comprising a solenoid includin- a core provided with a solenoid coil, an armature swiftably supported relatively to said core, means opera3,303,802 tively connectin.- said armature to said bobbin winding member, and means securin.- said solenoid core to said sewing machine frame with said solenoid armature in seated relation against said solenoid core in the operative enga@ed position of said bobbin winding member with said bobbin, a bobbin thread sensing member shiftably supported in said loop taker in position for movement under the influence of a predetermined quantity of thread wound on said bobbin, and means operatively connect10 ing said bobbin thread sensing member with said solenoid armature for effectin,a a shift of said solenoid armature out of said seated relation,against said solenoid core upon movement (>f said bobbin thread sensing member in response to said predetermined quantity of thread wound on 15 said bobbin. 3. In a lock stitch sewing machine having a frame, a thread carryin,@ needle endwise reciprocable in said frame, a c-ircularly moving loop taker journaled in said frame, a thread carryin.- bobbin journaled within said 20 loop taker, actuatina mechanism in said frame operatively connecting said needle and said loop taker for interrelated movements as are required for the formation of lock stitches, an electric motor drivingly connected to said actuating mechanism, a bobbin winding member carried 25 within said loop taker and means shiftably supporting said bobbin windin.- member for movement axially of said loop taker into and out of operative engagement with said bobbin, means for at will shiftin.- said bobbin winding member axially of said loop taker into operative en,@agement 30 with said bobbin comprisin,@ a solenoid carried by said sewin.- machine frame and including a core provided with a solenoid coil, an armature shiftably supported relatively to said core, means operatively connecting said armature to said bobbin winding member, and a control 35 circuit for said electric motor and said solenoid coil from a common source of electrical supply comprisin@ a first switch means operatively connecting only said electric mot@or to said source of supply, and a second switch means operatively connecting both said electric motor and said 40 solenoid coil simultaneously to said source of supply. References Cited by the Examiner UNITED STATES PATENTS 1,029,335 6/1912 Baker -------------- 112-186 45 1,794,255 2/1931 Stephenson ---------- 112-181 2,255,152 9/1941 Colegrove - ---------- 242-22 3,156,429 11/1964 Jones -------------- 242-86.5 31138,127 6/1964 Ketterer ----------- 112-184 3,154,035 10/1964 Edwards et al - ------- 112- 184 50 JORDAN FRANKLIN, Primary Exatniner. H. H. HUNTER, Assistatit Examitier.
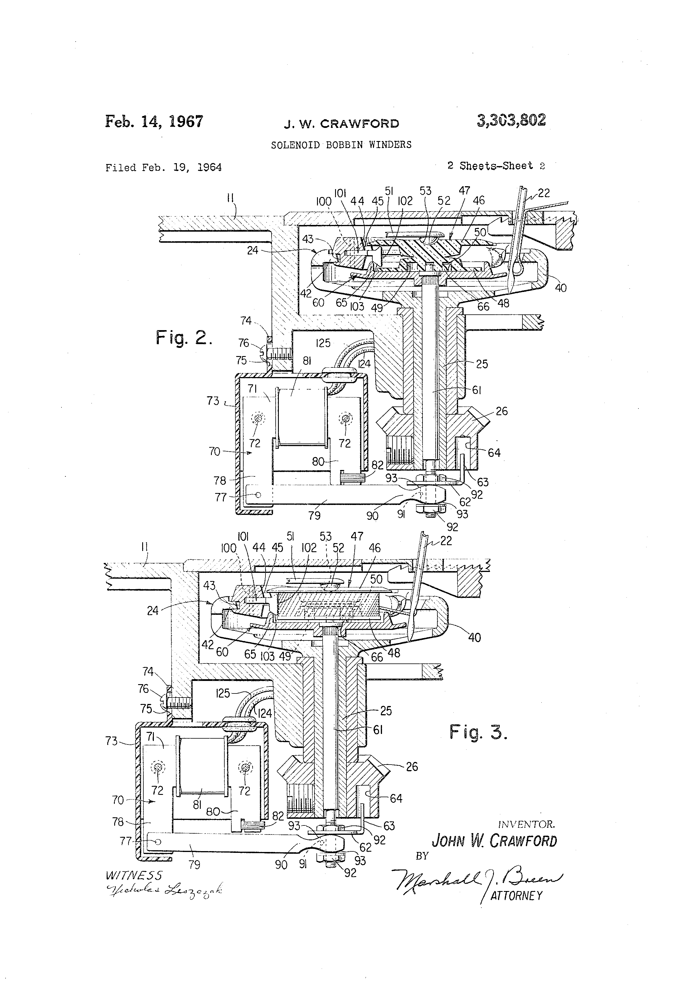
Utlited States Patent Office 3,303,802 3,303,802 SOLENOID BOB'@PIN "NINDERS John ',V. Craviford, Neptune, N.J., assiguor to The Sin-er Company, New York, N.Y., a corporn'tion of New Jersey Filed Feb. 19, 1964, Ser. No. 345,892 3 Clams. (Cl. 112-184) This invention relates to lock stitch sewin- machines of the type includin.- mechanism for winding thread on the bobbin in place in the loop taker, and more particularly, to a novel and improved means for operatin.@ the bobbi@-i windinmechanism. It is an object of this invention to provide a solenoid carried by the sewing machine and operatively connected so as to effect shift of the bobbin windin,@ mechanism into operative position. In t@'ie operation of a mechanism for winding thread on a bobbin in place in the sewin.- machine loop taker during normal interrelated movements of the needle and IOOP taker as are required for the formation of stitches, a probl-.m exists in providin.- a means for preventing or det-@rrin- overwinding of the bobbin, which overwinding can occasion jammin.- of the loop taker and breaka,@e of parts. Heretofore, it has been known to use switching mechanism responsive to the sensin-. of fully wound condition of the bobbin for terminating the winding operation. This approach to the problem, however, requires that delicate switchina, components be provided and that a highly critical arrangement of these switchin- components be maintained. It has also been known heretofore to provide a means responsive to the sensing of fully wotind condition of the bobbin for overloadin- the sewing machine drive motor to deter overwindin,@ of the bobbin, but this approach to the problem raises thepossibility of damage to the relatively costly sewin.- machine drive motor. It is another object of the present invention to provide a novel means for actuating a bobbin winding mechanism in place in a sewin- machine loop taker which will function to signal the onset of bobbin overwinding wiihout switching components or the like and without imposing an overload condition on the sewin.- machine drive motor. In accordance with this invention, the shift of the bobbin windin.- mechanism of the sewin-. r@iachitie into operative bobbin windin- position is accomplished by an altematin.current operated solenoid which may be eneraized by the same power stipply as is used to drive the conventional sewing machine drive motor. The solenoid is arranged such that its armature seats or bottoms in the operative bobbin windin- position of the bobbin windin.- mechanism when the bobbin is not i'ully wound. By arrangin- the device for sensing the fully wound condition of the bobbin so as to effect a shift of the sole-@ioid armature slightly out of seated or bottomed position, the hum incident to the alternating curredt actuated solenoid operation is materially increased, thus providin- an audible si,-nal useful to deter overwindin.- of the bobbin. It is also an object of this invention to provide a novel control circuit for the solenoid which will simultaneotisly actuate the bobbin winding mechanism solenoid and the sewinl- machine drive motor in complete independence from the conventional sewin.@ machine drive motor control. This novel control circuit arran-,ement is advanta_2eous in that it iirovides for the termination of the drive to the sewin.- machine mechanism upon termination of the bobbin windinc@ operation and thus obviates sudden unexpected initiation of stitch formin.- operations. Moreover, this novel control arran.- ement is also advanta.-eotis in that it provides for preselection of the operatin.- conPate,-itecl Feb. 14, 1967 2 dition of the sewin- machine drive motor to an optimum vallic for bobbin windin@q durin@@ the bobbin windin.operation. With the above and additional objects and advantages in view as will hereinafter appear, this invention comprises the devices, combinations, and arranl--ements of parts hereinafter described and illustrated in the accompanyin.- drawings in which: FIG. I represents a vertical cross sectional view of a 10 sewin.- machine havin.- this invention applied thereto, FIG. 2 represents an enlar.-ed vertical cross sectional view of the loop taker of the sewing machine of FIG. I to.-ether with the bobbin windin.- mechanism actuatin.solenoid with the solenoid turned bodily at rigbt an.-les 15 to the position shown i@i FIG. 1 more @clearly to illustrate the relationship of parts and with the parts illustrated in the bobbin windin.- posi@ion and the bobbin not fully wound, FIG. 3 represcilts a vertical cross sectional view of the 20 loop taker and solenoid similar to that o'l FIG. 2 but with the parts illustrated in the bobbin windin.- position with the bobbin fully wound, and FIG. 4 is a wiring dia@zram illustrating the control circuit for the bobbin windin.- mechanism solenoid and 25 lor the sewin@ machine drive motor. Referrin.- to the drawin,-S, this invention is illustrated as applied to a sewing machine of the type includin,@ a provision for windin.-- replenishment thread on the bobbin in place in the loot) taker such as is disclosed in the 9@o United States patent of S. J. Ketterer, No. 3,115,855, December 31, 1963, to which reference may be had. The sewin.- machine incltides a frame havin.@ a bed 11, a s'Landard 3-2 risin,@ from the bed, and a bracket arm 13 extending from the standard and overhangitig the bed. .15 Joumaled in the bracket arm is a main drive shaft 14 to which is secured a handwheel 15 a.nd a worrn wheel 16 which meshes with a worm 17 fast on the drive shaft of an electric motor 18 which may be housed within the standard as illustrated in FIG. 1. A crank 19 carried 40 on the main drive shaft serves by way of a drive link 20 to reciprocat.- a ne,@@dle bar 21 which is journaled for endwise move,-,,ient in th-- bracket arm and -carries at its lower extrei-nity a needle 22. The crank 19 also serves to impart oscillatory motion to a needle thread take up 45 member 23. Journaled in the bed 11 in a position to cooperate with the needle in the formation of stitches is a loop taker indicated generally as 24. The loop taker is fast on a hollow loop taker shaft 25 which is drivingly connected by miter gears 26 to a bed sbaft 27 connected 50 in turn by miter gcars 29 and 29 and a vertical shaft 30 in the standard to the main drive shaft 14. It will be understood that the main drive shaft 14 and the @ear drive 26, 28 and 29 constitute an actuating mechanism for imparting interrelated r@iotion to the needle and loop 55 taker as is required for the formation of lock stitches. Ref,-rriii@ particularly to FIGS. 2 and 3, the loop taker 24 is formed with a cup-shaped body porlion 40 of which the rim is forrnad with an annular bearin.- rib 42 embraced by an annular raceway 43 forined in a bobbin 60 case 44 wbich is constrained from rotation with the loop taker bodv portion as is well known in sewm,@ machine art. Resting upion an annlilar shoulder 45 'Ormed ion the bobbin case is th,- upper flan-e 46 of a thread calrying bobbin 47 Nvhich is formed with a lower flan@.,-e 48 having 65 -,in annalar -roove 49 form.-d therein, in which -roove a drivin.- ablitment 50 is formed. The bo@bbin 47 is ccnstrained against the bobbin case shoulder 45 by a springl,oaded !ever 51 which is carried on the bobbin case 44 and is form@-d with a spherical protuberance 52 seated in To a depression 53 in the upper flanae 46 on the bobbin. For windin.- replenishment thr--ad or. the bobbin iii place in the l,oop taker while the needle and loop taker 3,303,802 :3 partake of normal interrelated motions as are required for the formation of lock stitcles, a bobbin windin., member C-0 is provided within the cup-shaped body portion 40 of the loop taker a.-id beneath the bobbin. The bobbin winding member 60 is fast on a rod GI which is slid- 5 able endwise in the hollow loop taker shaft 25. A bracket 62 which is fast on the rod 61 beneath the loop taker shaft is form,.-d with an upturr@ed lu.- 63 @vhich enters an aperture 64 in that miter gear of the miter @ear se-t 26 which is fast on the loop taker shaft, so that the 10 bobbin winding member 60 is constrained to rotale with the loop taker. The b6-bbin windin.- memb-.r 60 is fori-ned with an upwardly extending flange 65 -,vhich serves to embrace the lower flange 43 of the bobbin when the bobbin winding meniber an,d the rod 6,1 are shifted 11-, upwardly as illustrated in FIGS. 2 and 3. In add@tion, the bob,bin windin.- member 6gr includes a driving lug 66 which enters the annular groove 49 in the lower flange 48 of the bobbin when the bobbiii windin,- me,m,ber 60 is raised, and th-@reby assumes a bobbin drivin,@ relation- 20 ship with the abutment 50 forme,d with the annular -roove 49. As explained mo.-c completely in the above referenced United States Patent No. 3,115,855 to which referenc-. may be had, the bobbin winding member 60, when raised into the position illustrated in FIGS. 2 or 3, serves 23 to effez:t windin.- of replenishment thre-ad on the bobbin by virtue of the flange 65 on the bobbin windinmember which deflects thread bein.@ manipulated by th,- loop taker into the space bet@veen the bob@bin flanges, and by virtue of the drivin- relationship betweeii the drivin.- lu,- 66 30 and the abutment 50 which se.-ve to rotate the bobbin with the loop taker, thus to wiid on the bobbin a thread extending from the needle 22. When the,bobbin windip.@ member 60 is lowereid into the position illustrated in FIG. I in which the flan _2e 65 of the bobbin windin 3,5 member is completely beneath the lower flan-e 40' of the bobbin. needle thread loops seized and manipulated b@--- tween loop taker beak 41 are free to pass beneath qnd about the bobbin, thus to concatenate with thread wound on the bobbin to forni lock stitches. 40 For effecling elevation of the bobbin windin-- mem-ber CO into operative bobbin wi@iding position, a solenoid indicated -enerallv at 70 is employed in this invention. The solenoid includes a core 7-'L which may be of conventional laminated constr-uction aid is secured as bY 45 fastenings 72 to a casin.- 73. An otitturned lu74 on the solenoid casin,@ is slotted as at 75 to accommodate -i f, 'ening screw 76 by which the solenoid core may be , -isL secured to the sewing machine bed 11 w4th provision for n limited adjustment of the pos'tion of t' e solenoid in a r)o direction axiallv of the loop taker. Articulated relatively to the armattire core as @by a pivol pi-ii 77 passin.- throu,@h one pole 78,of the solenoi-,j core is an armatire 79 which is thiis shiftably supported for movement ip,to ard out of en.,-a.@ement with the otber pole 80 of the armattire core 65 71. A solenoid coil 81 Nvound on the core 71 wh-,n ener-ized serves to draw the armature 79 i:,to seated or bottomed relation against the p@ole 80 of the armature core. A sliading coil 82 may be provided on the pole 80 e-f the armature core to provide for a - continuity of 60 magnetic flux when the solenoid coil is energized by an alternatin.- ctirrent so as to minimize the vibration of the armature r6latively to the solenoid core wlien the armatlire is seated or bottomed a.-ainst the pole 80 of the solenoid core. 65 The solenoid 70, whicb is tbus adapted for alternating current operation, is fornied with an extended armature extremity 90 which is apertured as at 91 to embrace the lo@ver extremity of the bobbin windin.- member rod 61 and is preferably constrained relativelv to the rod 61 be- 70 tween spaced nuts 92 threaded there@n. The armature extension 90 may alsio be sli,-ht@ly crowned as at 93 so that the pivotal motion of the armature will not conflict with the translatory endwise slidin.- moveme.,it of the ro;d 61. The solenoid fastening screw 76 -in the s'@otted lug 74 75 4 of the solenoid,casing may b-- used to secure the solenoid to the sewin.- machine bed in a selected position in which the soleroid armature 79 will occupy a seated or bottomed position against the solenoid core pole 80 when the soleioid is energized and the bobbin winding member is raised into operative bob,bin windin,.- en.,-agement with the bobbin as illustrated in FIG. 2 and the bob@bin is not fully wound with thread. In this position of tht parts, as the bobbin I:hread replenishing process beginh and while the bobbin is less than fully wound, the solenoid 70 will operate with a minimum of vibration or hum. Pivoted on a pin 100 set into the bobbin case 44 is a bobbin thread sensin.- member 101 havin.- a thread en-a.-in.- shoe 102 extending between the flan.-es 46 and 48 of the bobbin. The bobbin thread sensing member 101 also is formed with an inclined cam surface 103 disposed for engagement with the upturned flan,-e 65 of the bobbin windin.- member when the bobbin thread sensin.- member is forced outward by engagement of the thread en.-a.-in.shoe 102 with thread that is being wound on the bobbin. As illustrated in FIG. 3, the cam surface 103 is positioned relatively to the thread eiiga.-ing shoe 102 so as to enga.-c and depress the Range 65 of the bobbin winding member as the thread approaches the fully wound condition on the bobbin 47. The rod 61 associated with the bobbin winding member will, in being depressed with the bobbin winding member 60, force the solenoid armatlire 79 slightly out of seat or bottomed relation against the armature core pole 80 as illustrated in FIG. 3 of the drawin.- in which condition the ini'luence of the shading coil 82 of the solenoid will be materially decreased resultin.- in a noticeable increase in the vibration and hum developed by the alternatin.- current actuation of the solenoid. This hum is of such a noticeable nature as to serve as a persistent audible sianal to the sewin- machine operator that the bobbin is in fully wound condition. Furthermore, it is pointed out that the influence of the -bobbin thread sensiii.- member in cammin.- the bobbin windin.- member 60, the rod 61, and the solenoid armature 79 downwardly in response to the fully wound condition of the bobbin does not materially influence the driving force required of the sewing machine actuatin@ mechanism and therefore, does iiot impose anyappreliable overload condition upon the sewin.- machine drive motor 13. Referring to FIG. 1, the wiring in the electrical circuit for both the sewing machine drive motor 18 and for the solenoid 70 is associated in the sewing machine with a three pin receptical 110 which is adapted, as is conventional in the sewin- art, to accommodate a plu,- Ill to which is directed con '-@uctors 112 and 113 to a source of power supply indicated at 114 and also a conductor 115 to a foot controller 116. Referrin.- to the circuit diagram illustrated in FIG. 4, the foot controller 116, which is of the type includin.@ an on-off switch and a rheostat for controllin.- the sewing machine drive motor speed at the will of the sewing machine operator is connected by a conductor 119 to the condtictor 112 and is wired in series witli the sewin-, machine drive motor 18 by the condlictors 118 and 119 within the sewing machine. Indicated at 120 is a dolible circuit push button switch which is preferably sprin- loaded into the normally open position and must be held closed by the operator of the sewin.- mach:lne. The switch 120 is connected by the conductor 121 to the conductor 112 and controls simultaneously two circuits across the conductors 112 and 113 from the power source. The sewin- machine drive motor 18 is connected into one of the circuits controlled by the switch 120 by a conductbr 122 in which circuit a motor speed controlling resistor 123 may be included so as to provide for a preselected motor speed when 'the switch 120 is closed and the foot controller 116 is not operated. The other circuit controlled by the switch 120 serves by way of conductors 124 and 125 to connect the solenoid coil 81 across the conductors 112 from the power source 113. With this trrangement closure of the push button switch 120 by the 5 sewin.- machine operator serves to energize simultanously the sewing machine drive motor 18 and the solenoid 70 which initiates a bobbin winding operation. When an audible si.-nal is provided to the sewin@ machine,operator by virtue of the hum produced by the solenoid when the fully wound condition of the bobbin is sensed, release of the push button switch 120 by the operator will serve to terminate the bobbin windin- operation and to deenergize the sewin.- machine drive motor so that the sewina machine will not suddenly revert to normal sewin- operation. Thereafter, the motor 18 may be energized to control the sewin.@ machine during sewin.a by the use of the foot controller 116. Having set forth the nature of this invention, what is