claim: 1. A prestretch fixture comprisin.- a frame, a stretch head including a jaw for gripping the -n-iargiii of a lcn,-th of metal to be stretched, a carria-e for the head, means slipportin,@ the carri,,i,-e for inovement in opposite directions in ,-enerally upright paths and for @n-iovement, concurrently with the movement in said -enei7ally upri--ht paths, in opposite directions in @etierally horizontal paths in all positions of the carria,@e aloii,@ said upri.-ht path, power means operable to caiise said concurrent n'lovements of the carriage, ,nieans connectiiig the head to the carria.-e for substantially free movement of the head rela3,302,437 6 tive to the carria.-@- in said opposite directions iii sa;d -encrally horizontpl paths, said poiver neans including stretch forming power means yieldably ui@-ing the carriage in one of said directions in said -cnerally horizontal path, and stress measuriii- tension :bar means interconnectii-i-,@ the carria.-e and head and extendin.- in said one dire-Ition from the head to the carr,.'a,-e and operative for restraining said movenient of tlle head relative to the carria,-e and for coiicurrently tratismittin.@ betoleen the head and carriige the tensionin.- forces imposed by the stretch forni10 in,@ power n-ieans. 2. An apparatus accordin,,@ to claim I whereiii the head and the carriage ,ire elon-ated h.:)rizontally ti-ansversely to the direction of movement of the he-,id for applyin.@ tension, and the stress measurin.g teiision bar n-ieans coni15 pi-ise a plurality of tension bars sp-,tced from eacli other laterally len--@thwise of the h--ad and carria.-e, atid eacli bar interconne tliig the carriage and he,,id. 3. An apparatiis -,iccordin.- to claim I wherein the carria,@o is connectecl to the supportin- means for swingiii.20 upwardly about a horizontal axis dtirin.- movenients of the carria.-e alon.- sa d - enerally horizontal and upriglit paths, and supplemental poa!er operable means are provided and interconnect the siippoi-titi- m,-ans ai3d carria 25 and are operable for swin.,-ing the carria-e abolit said horizoiital axis (ILiriii,@ said D-ioveiii3nLs. 4. An apparatus accordin.- to claiiii 3 wherein means are provided to look the suppleiiiental power operable iiieans for holdiii.@ the carrial@e iii differeiit swiii.- posi30 tions, selectively. References Cited by the Examiner UNITED STATES PATENTS '@1,974,708 3/1961 Perkins -------------- 72-20 35 3 1 13,607 12/1963 Maize -------------- 72-296 3"116,780 1/1964 Bath --------------- 72-297 CHARLES W. LANHAM, P)-iiiia;-y Exciiiiiiiei-. 40 L. A. LARSON, Assistaiit Exainiiiei-.
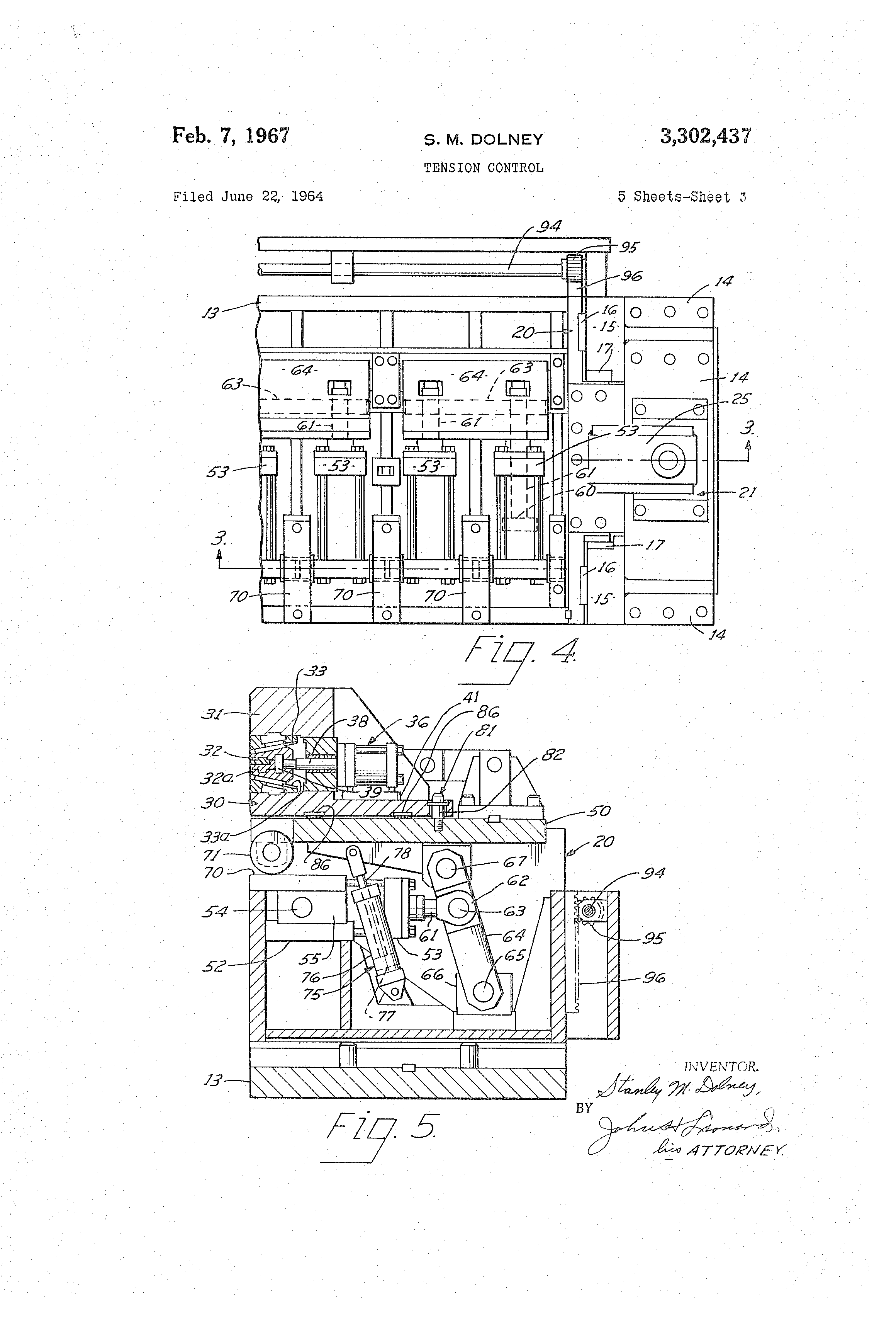
0 3 , 3 0 2 @ 4 3 7 Uilited States Pateiit Office Patented Feb. 7, 1967 2 ly while the elevator itself remains parallel to its starting position. For moving the elevator 20 upwardly and downwardly, suitable piston and cylinder assemblages 21 are provided, one at each end of the elevator. Each assembladge comprises a cylinder 22 mounted in fixed posi-tion on the support 14. A piston 23 is reciprocable in the cylinder and has a piston rod 24 which is connected to a plate 25 on the elevator 20. Thus, upon introduction of the hydraulic pressure fluid to the head ends of the assemblages 21, they move the elevator 20 upwardly, and by introduction of the fluid to the rod end of the cylinders, they pull the elevator 20 downwardly. These movements are under yieldable hydraulic prcssure and contrc)llable independently of the operation and control of the ram piston and,eylinder assemblages 7. In order to stretch the st-ock into a range above its elastic limit independently of the dies, suitable gripper heads 30 are provided, one for each unit 11. Each head comprises an elon.- ated body 31 which, endwise, extends forwardly and rearwardly of the press bed, aiid thus transversely of the direction in wbich the stock is to be tensioned. Each head has complementary gripping jaws 32 and 32a which are cooperable with cam surfaces 33 and 33a, respectively, so that when the jaws are moved toward the dies they grip the stock firmly. Each pair of jaws extends siibstantialy the full length @of the head. In order to close its jaws, each head is provided -with a plurality of cylinders 36 in which pistons 37, having piston rods 38, are reciprocable. The rods 38 are conn-.cted by enlarged heads 39 to the jaws 32 and 32a for catising them to move along the leam surfaces 33 and 33a toward and away from the dies for opening and closing the jaws. A pliirality of such pis;ton and cylinder assemblages are provided, six being employed in the form illustrated. A common manifold 4.1 is connected by individual ducts 42 to the rod ends of the cylinders 36, by individual ducts 43 through suitable connections 44 to the head ends of the cylinders 36. Thus all jaw operating piston and cylinder assemblages c.an be operated concurrently. As mentioned hereinbefore, it is desirable that each head 30 be ar-ranged so that it can move toward and away from the dies under the yielda@ble resistance of the hydraulic stretch forming pressure, without binding and with a minimum or negligible amount of frictional stresses. F<)r this purpose, each head 30 is mounted on a carriage 50 which is mounted on the elevator 20 for movement relative to the elevator toward and away from the adjacent ends of the dies in a horizontal path. In order to so mount the carriage 50 on the elevator 20 while maintaining it under the yieldable restraint of the hydraulic stretch forming pressure, a stretch forming assemblage 52 is mounted on the elevator 20. The assemblage 52 is shown @as a bank of cylinders 53. The cylinders 53 are supported by trun.nions 54 for rocking ab.out a horizontal axis extending l@angthwise of the ?ripper head. The trunnions 54 are rockably supported in suitable b@-arings 55 which are rigid with the elevator 20. Each cylinder 53 carries a piston 60 with a piston rod 61. The rods extend generally horizontally and each has an eye 62 at its outer end by which the rod is pivotally connected by a pivot 63 to an associated rocking link 64 three of which are used with six cylinders 53. The lin'ks 64 are arranged approximately upright and at their lower ends are provided with pivots 65. The pivots are mounted in suitable bearings 66 on the elevator 20, for rocking about a common pivotal axis' As mentioned, in the form illustrated, tbree links are provided for each unit. 3,302,437 TENSION CONTROL Stanley M. Dolney, Parma, Oliio, assignor to The Cyril Bath Company, Solon, Ohio, a corporation of Ohio Filed June 22, 1964, Ser. No. 376,751 5 4 Claims. (Cl. 72-296) Th;s invention relates t-o a prestretch fixture on a combination of such fixtures with a draw die press, partictilarly to a tension control fOT controlling the tension applied 10 to the stock by the stretching fixtures. The present invention is an improvement on the structure sbown in U.S. Letters Patent No. 3,116,780, issued January 7, 1964, Cyril J. Bath, inventor. The object of the invention is to provide means for 15 measuring the tension being applied to the stock during the combined stretching operation and drawin.- of the stock by closure of the dies. Further objects and advantages will become apparent from th-@ following description wherein reference is made 20 to the drawings, in which F'IGURE 1 is a front elevation of a draw die press with pre-stretch fixtures of the present invention installed therein; FIG. 2 is a fra.@mentary top plan view of one end of 2r) -the prestretch fixtures partly in section; FIG. 3 is a vertical sectional view of the structure of FIG. 2, and is taken on the line 3-3 in FIGURES 2 and 4, part thereof being shown in section for clearness in illustration; 30 FIG. 4 is a horizontal sectional view b-f part of the structure illustrated in FIGURE 3, taken as indicated by the line 4-4 in FIG. 3; FIG. 5 is a vertical sectional view of the structure illustrated in FIG. 3, taken on line 5-5 thereof; 35 FIG. 6 is an enla-rged fragmentary sectional view of part of the structure illustrated in FIG. 5; and FIG. 7 is a schematic hydraulic and wiring diagram showing the control of the press ind t-he control of the stretch heads and the relation of the tension control means 40 thereto. Referring to the drawing, the invention is sbown @as incorporated in a conventional hydraulic press, indicated generally at 1, comprising a bed 2 with upright guide posts 3 arranged at the corners and guiding a ram 4 for vertical 45 movement toward and away from the bed. The bed 2 supports a ma draw n.- die 5 aDd the ram supports a complementary female drawing die 6. The dies 5 and 6 are conventional drawing dies which define, when closed a,concavo-convex pattern or pattems into which the meta 50 is drawn by the closure of the dies. The ram is driven <)n its forming and return strokes by means of a hydraulic piston and cylinder assemblage indicated -enerally at 7, comprising cylinders 8 with 5, pistons 9 therein and having piston rods 10 secured to the - ram. Mounted on the bed 2 is a prestretch fixture, indicated generally at 11, which comprises two units 12 arranged on the bed 2 between the post 3, one unit at each end of the male die 5. Since the units are the same in 60 form and ftinction, -only one unit 12 will be described in detail. Referrin- particularly to FIGS. 2 tbrough 6, each unit comprises a base plate 13 on the ends of which are mounted guide supports 14 wbich support upright guides 65 15. Each guide 15 has upright slide surfaces 16 facing inwardly of the unit in a direction forwardly and rearwardly of the bed, and upright guide faces 17 at right angles to the stirfaces 16. Mounted for vertical recipro- 70 cation in the slideways is a stretch head elevator 20 which is guided tbereby for movement tipwardly and downward- 3 At their upper ends, the links 64 carry pivots 67 by which they are connected to suitable bearing portions on the carriage 50 for rocking relative thereto. The pivots 63, 65 and 67, and also the trunnions 54, are horizontal and parallel to each other. At that edge of the elevator 20 adjacent the dies, the elevator is provided with upwardly facing horizontal trackways 70. The trackways extend toward and away from the dies. The carriage 50 is provided with rollers 71 which normally rest on the trackways 70, respectively. The carria,-e 50 is free to rock about the axis of the pivots 67. In addition to the foregoing structure, which is described in the above identified Bath patent, an additional pair of piston and cylinder assemblages 75 are provided. Each assemblage 75 includes a cylinder 76 in which is reciprocal a piston 77, having a rod 78. The rods 78 are connected to the carriage 50 and are operable by operation @of the assemblages to urge the carriage downwardly on tracks, or to rock the carria,-e upwardly about the axis of the pivot 67 when such appears desirable in forming the stock. Thus the assemblages 75 can control the rocked position of the carriage about the axis of the pivot 67 above horizontal at all times. In the Bath patent, the gripper head was mounted on the carriage in fixed position relative thereto for movement with the carriage. The structure thus far described is disclosed in the patent and does not embody the present invention. In accc)rdance with the present invention, and as best illustrated in FIGURE 6, the gripper head 30 is mounted on the carriage for limited horizontal movement relative thereto toward and away from the dies. For this purpose the gripper head 30 is mounted on a base 80 which, in the form illustrated, is composed of two plates 80a and 80b. The base 80 is held in position on the carriage 50 by m.eans of a series of bolts 81 and carries spool keepers 82. The bolts extend through bores 83 in the base 80. The spools 82 fit the bores 83 with slight radial clearance and thus permit the base 80, and there@by the head 30, to move a small fraction of an inch along the top of the carriage 50 toward,and away ftom -the dies. The base 80 is also connected to the carriage 50 with similar bolts 84 and spools 85 arranged at the forward end to the carriage 50. These spools likewise permit a slight movement of the base 80 toward and away from the dies along the carriage 50 and prevent the forward end of the base from lifting upwardly relative to the carriage 50. In order to assure that the base can move freely on the upper face of the carriage 50, front and rear sets 86 of recirculating roller bearings are provided. These sets are arranged in two rows, one near the rear of the carriage 50 and one near the front or die side of the carriage. Brackets 87 are mounted on the carria.,e 50 at the opposite elid thereof from the gripping jaws. Brackets 88 are mounted on the gripper head 30 for movement therewith and with the base 80. A tension bar 89 is connected by pivots 90 and 91, respectively, to the brackets 87 and 88. The tension bar has a portion intermediate its ends which is thinner than the end portions and by which tension is measured. Sensing devices 92, in the form of strain gauges, are mounted on the tension bar for measuring the tension, which is a function of the elastic clon - gation of the bar. Two such tension bars 89 are connected to the head 30 and are arranged at opposite sides of the center line of the head, each preferably midway between the nearest end of the head, forwardly and rearwardly of the press, and the centerline of the head. Generally the -heaviest tension is applied by the head 30 at the beginning of the operatio-n while the head holds the sheet in horizontal position between and clear of the dies. In such position the small fraction of an inch wbich the gripper head 30 moves relative to the carriage 50 is 3,302,437 4 horizontal and free from any substantial friction, because the longitudinal axis of the tension bar, indicated at x-x is at a level between the gripping faces of the jaws. Accordingly, the tension bar can reflect the actual tension applied to the stock. On the other hand, if the stock should slope upwardly from the gripping jaws in a direction toward the dies as the elevator is being lowered during formin- the stock around one end of the die, the entire carriage 50 swings upwardly about the pivot 67 10 so that the tension applied by the head 30 on the bar 89 is still parallel to the upper surface of the support 80 and parallel to the axis x-x of the tension bars. Consequently, the tension is accurately reflected by the strain gauges. The weight of the base 80 and the gripping head 15 30 carried thereon can affect the result very slightly and usually this is not sufficient to be serious except when very great downward components are necessary for wrapping the stock around one end of the male die. Even in such cases, this effect can be offset by actuating the assemblages 20 75 for the proper inclinin.- of the carriage in the direction of tension and the direct line pull on the stock. In order to assure that the elevator 20 retains the same level at both ends, a suitable shaft 94 is mounted on the machine frame and carries gears 95 at its ends. The gears 25 95 are in mesh with racks 96 on the opposite ends of the elevator, so that the shaft 94 is constrained to rotate the same at both ends, thus assuring that the elevator rises and falls the same distance at each end. Referring next to FIGURE 7, the strain gauges 92 are 30 connected to an amplifier 97, which in tum is connected across the power source LI-L2. The amplifier 97 operates a control 98 which controls a reversible electric motor 99. The motor drives an adjustable pressure relief valve 100 according to the setting of the control 98, and 35 thus controls the pressure in the stretch assemblies in accordance with the elastic elongation of the tension bar. The terms "Upright" and "horizontal" where used herein and in the claims are used in a relative sense for briefness in de@Hng relative positions and movement of 40 various parts, and not as absolutes. The valve 100 is operated to increase the pressure to the stretching assemblage for stretchin- when the tension is below a predetermined aniount, aiid to reduce the pressure when the tension rises above a predetermined amount. Valve 100 45 is in the pressure feed line at the reversin@- and stop valve of the,stretch assemblies 52. Thus the tension applied by the stretchasse@mblages is regulated by the tension bar 89 actin.- throu,@h the strain gau.-es 92. lf :desired, a strain gauge 101 n-lay be provided on the 50 tension bar 89 and connected through the amplifier 97 t@o a voltmeter 102 cal@brated in total stretch forming tension applied to the bar 89. The strain gau,-es may be such as disclosed in U.S. Letters Patent No. 2,Z92,549, issued August 11, 1942. The @eirruitry for use of signals fxom 55 such strain gauges is well known and is here shown broadly dia,-rammatically. A more detailed description may be found in U.S. Letters Patent No. 2,849,048, issued August 26, 1958. The important feature of the present invention i,s the combinin- of the tension bars with stretch 60 units -of a stretch-draw@ press. Referrin- to FIG. 7, the ram piston and cylin@der asse@mblages @may be supplied with pressure fluid from a p 104, driven by a motor 105, throu.,@h a solenoid pum operated, spring restored, cutoff -and reversin. valve 106. 65 The other piston and cylinder assemblages may be supplied by a pump 107 driven by a motor 108. The supply to the elevator assembla,-es 21 is throu.-h a sprin.- return solenoid operated cutoff and reversing valve 109, and that 70 to the gripper cylinder 36 through a like valve 110, The supply to the stretch forming assemblage 52 is through a solenoid operated sprin,- return cutoff reversing valve The relief valve 100, for controllin,@ the applied tedsion 75 is connected between the, pump and valve 111. Pressure 5 fluid is supplied to the asseiiibla.-cs 75 fi-ot-ii the PLIMP 107 throu-h a spring return reversible cuooff valve 112. A flow re,,Illator 113, controlled by a motor 114, is iliterposed b-,tween the pun-ip 107 aiid the valve 109, as also is a pressure regulator 115 driven by a motor 116. Correspondingly, a 'flow regulator 117 driven by an-iotor 113, aiid a pressure regulator 119 driven by a motor 120 are interposed between the pump 107 and valve 112. The stretch upits being duplicates, like circuits ar,- provided for etch. It is apparent from the foregoing dp-scription that the b--nefits of the desired moveiiieiits and operation of the stretch heads 30 can be maintained while obtainin- a signal which reflects the actual tensioii on the sheet, regardless of any frictioiial forces in the power mechanisii-is, carria@e 50, and elevator 20. Such forces can affect the telision on the sheet and such tension is the al.,-ebraic resultant of all forces acting in the tensionin,- diiection and this alone is reflected by the tension bars 89. The iiaovement of the base 80 relative to the cari-ia,,e ' 50 is very sli,,-bt with the,friction free connection described and the direct tension is Ion.-thwise of the bar at all tinies. Consequently no appreciable frictional forces are introduced between the sh,-et and tension bar. The various flow controls, relief valves, aiid I)ressure conti@ols can readily be adjusted and coordinated and remotely cbntrolled automatically by control of their motors in response to the sl'gnals from the tension bars 89. Havin.- thus described ii-iy invention, I