заявка
№ US 0003187084
МПК H02G3/08

Страна
US
Как управлять
интеллектуальной собственностью
Чертежи 
3
Реферат

Формула изобретения

claimed is: 75 1. An electrical junction box coinprising:

3,187,084 7 a d-'e cast hotisi,-ig havin.- bottom, end and side walls d-.fini,ig a cavity for the receipt of an electrical fiAture, crie oi- said side walls h-,tving an ot)en;ng for tli-- recept@on of a 'Llireaded Dipple therelhroilgh interconnectirg tie sieic wall of aii adjacent box thereto in spaced relationship, a pluralitlr of pillirs within the cavit-y adjacent to each end ival.1, one oll which is in close proximity to said side wall, lug members on tic outside of said bottom wall, means at one end of said pillar for supporting an electric fixture in said cavity, sui):t)ortin.@ ir@cans including a scre,,v adjacept to the other end of the p-lilar for ri,- .dly sapporting one of said lu.- niembers on said bo+tom wall, said bottom wall having a slot ii the bottom wall aro-and said scr,-w and Iii.- aiid extendi-ii.- through the otitside botijidary of the bottom ed.-e at the side wall adj-.cent to said pillar, said recess receiv@ng said lug in both of two alteriiate positions as secured by said sc.ew in ore of which said lug extends beyond said bo',tom edge for ergagement with said adjacent box vvhen r,@-eser@t and a.Iso b@.yond the level of the outside bottorii stirface of said bottom wall. 2. An elect@-ical jtinction box comprising: housing havin.- bottom, end and side walls defining a cavity for the receipt of an electrical Pxture, boss formed -@vithin the cavity on one of said walls having aTi aperture therethrou.-h for mating enaageirent @vith a pipe conduit, pl,,ir,@lity ol. pillars withi-ii the cavity adjacent to each end will, one of said pillars extendin.a above said boss to a level s@abstanti,,illy equal to the height of said one wall dispO3ed above said boss h,,tving a centrally fori--Qed tlireaded ap,-rture thertthrougl@i commuiiicatin.- with the aperture in the boss, screx member received in said threaded a-ocrture engagi-,l.- and s-.curing the ripe conduit witbin said boss, stipportin.- web member disros.-d between a wall and each of said pillars, m-ountin.- plate disposed over said pillars at each end of .he box and restirg on the siipporting webs, and means securirt.- the mountin.- plate in sui)ported relat;onship about said pillars on said supporting web members. 3. Ali cl@-ctrical junction box comprising: die cast housing havii-i.- bottoni, end and side walls defining a cavity for the receipt of an electrical fixture, boss formed within the cavity on one of said walls having in apei-ture thcrethrouah for matiiig enga,-em,crit v,,ith a T)ipe conduil, niu@-aity of pil-ars within th-. cavity adjacent to each e@id wall, oiie of said pillars ex'ending above said boss to a level substantially equal to the height of said one wall and having a ceitrally disposed thr,-aded -tperture therethrou-h, screw member received in said ttireaded aperture en-,agin.- apd securing th.- pipe conduit within said boss, supporting web rr@e-rnb-.r disposed between a wall and each of said pillars, mounting pla'(e disposed over said Dillar at each end and resting on the supporting webs, m@-ans securing the mounting plate in stipported relationsbip about said pillars on said supporting web mciiibers, and retractable lu.- members secured to the bottom wall of the housiiig for disdosal in altemate positions, one -,A7ithin the boundary of the bottom wall and another extending therebyond for securin,a the housing to a surface. 4. An eler-trical junction bo,,, corr@r)rising: a die cast hotisin,a havin.- bottom, end and side walls defining a cavity for the receipt bf an ele6trical fixture plur@iity of bosses formed within the cavity on certain walls having threaded apertures therethrough 5 for matiiig e-i.-agement with pil)e conduits, pILlral@.ty of symmetrica',Iy "aced upstai-idi-@ig pillars within the cavity adjacent each end wall, means carried by one of s@iid pillars for securin.- a pipe conduit in one of said bosses, 10 a pILirality of supporting wcbs within the cavity, each of said w,-bs disposed betvieen a wall atid a pillar, iil)per surface of said web members at an elevation lower than the upper surface of said pillars, a mounting plate dispos-.d over said pillars at eac end 15 seatidg on sa,.d supporting webs, mears securing said mountin.@ plate in stipported relationship of said r)illars on said supporting members, securing lu.-s oii the bottom wall 6f the housing for s,-curing the holising to a surface, and 20 sudporting means includi-iig a screw adjacent to the other end of a pillar for ri.-idly supporting orl-c of said lug members o-ii said bottom wall. S. in combination with an electrical junction box havin.@ bottom, end and side walls definin.- a cavity for the 25 re,-cii)t of an electrical fixture, a securitig device comprisjng: a plurality of elon.-ated securiiig lu,-s secured in spaced -,tpa.-t relationship to the ouler sur-'Lace of the bottom wall of the box and haviiig recesses in 'Lheir e.,@posed 30 faces, said outer surface of the bottom wall having elon,-ated recessed groovp-s forrqed therein partially receiving said securing and a screw member passin.- throu,@h each of said securing 35 Itigs tbr-,adably en,-aging the bottom wall securing said lu.@s to the bottom with their heads disposed in said recesses, release of said srrew members permitting the lugs to be disposed in either one of two alternate positions in ore of which the said lugs extend 40 outwardly past the side walls, the extended end of each Itig having an aperture therethrough for securing the box to a mounting surface. C,. In combiiiation with electrical junction boxes each hav@ng a bottom, epd and side walls defining a cavity for 45 receipt of an electrical fixture, a socurin- device for joinin@ a i)lurality of junctioii boxes in side-b@y-side electrically interconnected relationship comprisinarecessed si.ots formed in the outer surface of the bottom wall in spaced apart relationshio adjacent the junc50 ture of the side walls with the bot-tom wall; retractible securing lu.-s disposed within said slots extensible beyond the side walls of the box, extended ends of the securirig lu,@s on one side of a box received and secured in the slots on one side of another 55 box when said boxes are positioned in side by side relationship fixed'iy securing the boxes together; and means 'Lor securing the lugs in said slots including fastening elem ents interconnecting the lugs and bottom wall of the box bavi-@ig heads recessed within 60 the oliter face of the lu.-s. 7. In combination with electrical junction boxes havin.@ bottom, end and side walls definin,@ a cavit3r for receipt of an electrical coniponent, a securing device for joining a plurality of junction boxes in side-by-side electrically 65 interconnected sealed relationship comprising: recessedslots formed in the outer suri'ace of the bbttom wall in spac@-d apart relationship adjacent the - juncture of the side walls with the bottom wall; retractible securing lu.-s disposed within said slots ex70 tensible beyond the side walls of the box; extended ends of t-@@e securitig lugs on one side of a box received and secured in the slots on one side of anotber box wben said boxes are positioned in side by side relationsbip fixedly securing the boxestogether; 75 a coniiector bushing secured between the adjacent side

3,187,084 9 walls deiining a communicating passage between the cavities of the adjacent boxes, and a seal m.-mber disposed about the connector between the side walls of the adjacent boxes forming a leakproof seal about said bushing. 8. The combination called for in claim 7 wherein said connector bushing comprises: head flange portion integral with a tapered threaded shank portion; said flan.-C portion in surface-to-surface contact with the inner surface of the side wall of one box; washer member received over the threaded shank portion within the cavity of the adjacent box; and nut member threadably received on the end of the threaded shank portion to fixedly secure the bushiiig between the two boxes. 9. The combination called for in claini 7 wherein said seal member is an elastomeric washer configured to matingly engage the contour of the adjacent side walls and the bushing to form a leakproof seal therewith upon compression by the side walls as the connector bushing is fixedly secured. 10. A weatherproof electrical junction box comprising: a hous;nhaving bottom wall and end and side walls defining a cavity for the reception of an electrical fixture therein, a boss formed on one of said walls and bottom wall disposed within the cavity and having an opening through said one of said vialls threaded over a major portion of its length for mating engagement with a threaded pipe coiiduit in sealed relationship, a pillar within the cavity formed intp-,arally on said boss adjacent said one wall of said walls and including a web portion extending to and integral with said one wall, said pillar extending above said boss to a level substantially equal to the hei.-ht of said one wall with said web portion tern-iinating a spaced distance below said level, said pillar having an opening therethrough opening into said opening in the box and being @internally threaded a major portion of its length, means on said boltom wall for securing said box to a mounting surface, including a plurality of elongated securing lugs partially received in spaced elongated recessed slots formed in the otiter surface of the bottom wall on opposite sides of said boss, each slot extending throu.-h an adjacent boundary of said bottom wall and each lug extending in the plane of said bottom to a point beyond said boundary and having securement apertures throu,-h the extending portion, the major portion of the contour to each slot closely following the contour of its respective lug supporting same against relative movement in said plane, said slots being spaced at predetermined distances from each other to provide a uniform thickness to said boss permitting uniform stresses to be developed about said boss. 10 11. An electrical junction box comprisin-: a die cast housing having bottom, end and side walls defining a cavity for the receipt of an electrical fixture therein, ,t boss formed on one of said end walls and bottom walls disposed within the cavity and having an opening through said one of said walls threaded over a major portion of its length for engag@-n-ient with a pipe conduit, aplurality of pillars within the cavity adjacent to each 10 end wall disposed on opposite sides of said boss in close proximity to said side walls, threaded means at one end of said pillars for supportinan electric fixture in said cavity, recessed grooves formed in the outer surface of the 15 bottom wall adjacent to the juncture of the side walls wilh the bottom wail and adjacent to the other ends of said pillars and boss providing a uniform thickness in s,,iid bottom wall permitting uniform stresses 'to be developed about said boss, 20 eloi-igated lugs for supporting said box on a mounting surface received in said recessed grooves and having recesses in their exposed ftces, the major portion of the contour of each recessed groove closely following the conlour of its respective lug supporling same 25 against relative movement in said plane, supporling means adjacent the other end of said pillar for rigidly supporting said lug members including a screw member passing through each of said elongated lugs wit'i the heads of the screw members received 30 in the recesses and threadably engagin.- the bottom wall within said recessed grooves, the release of said screw members permitting the lugs to be disposed in either one ol- two alternate positions in one of which said lugs extend in the plane of said 35 bottor@i surface outwardly past adjacent side walls, said elonaated lugs havin@- securement apertures through the extending portions for securing the box to the mounting surface. 40 References Cited by the Examiner UNITED STATES PATENTS 876,61 9 1/08 Bliem eister --------- -- 220- 3.94 986,97 8 5/08 Holabi rd --------- --- 220- 3.92 45 2,836, 646 5158 Paolin elli --------- ----- 174- 61 2,991,327 7/61 Bellek ---------------- 174-53 3,139,480 12/61 Desloge --------------- 174-65 FOREIGN PATENTS 50 148,882 11/52 Australia. 1,152,182 2/58 Fj:ance. JOHN F. BURNS, Primary Examiner. JOHN P. WILDMAN, E. JAMES SAX, LARAMIE E. ASKIN, Exatnitiers.

Описание

[1]

3 @ 1 8 7 , 0 8 4 U-nited States Patent Office Patented June 1, 1965 3,187,084 JUNCTION BOX WIT,-T-1 DETA@CT-IABLE ,9UPPORTING r@FIE4 AN- S Harry L. rrW.-. G. Belic-l@, and Paul J. Zerwe@e,5 Chicago, Ill., a,-3s,guors to De'A Electric Compauy, Chicago, IUI., a corporp-.t.,on of ]Fiiled May 4, 1962, S@r. No. 11,@2,537 11 Cliims. (Cf. 174-58) T@'iis inventio@2 relates in general to new and usefLil 10 ir@iprovements in electrical iLl.-,ict@'@on boxf--3 and more specifically to an electrical junction box haviiig featiir-.s rendering it more adaptable to universal s-@c-arement witho,-lt adCtitional adaption of brackets or clips. The pritnary object of this inve-@ition is to provde a 15 iiiiitary clectr@ical junctio@l box with greater Litility than those of the prior art. A riiorl- specifc ob@ect of this invencion is to provide a uriitary die cast electrical junctioii box hanip.- re,Lra.tible mounting lu.-s secured thereto for support aiid securement 20 of the jtinction box to a walled siirf,,ice. Ario'th,er object of this invention is to p..-ovide an improved u,.-iitary die cast electr@'@cal junction box havin.- a p!L,rality of retractible sectiring lugs rele,,isabiy retaiii.-d witiii.,i the bottom wall permittin.a varioilis mounting posi25 tions of t.ie box to a surfice and securely joinii.,g a ulur,ility of ind@,Viduql boy@-,s i,@i side-by-side -,a,-,gable relationship. A iurther obj,'(,'ct of this irv.-nt;on is to provide an improved el@.-etrical juictioii box @Tiliieh is light in - vveight, 30 rigicl In cor@structioli a-,id provides a s,-lbstant@',,illy uniform w@-.11 thickliess aboi-it the p-ipe conduit aperti-ires thus redu-,in- the ai-nount of stresses set up by the presstire geawhe,@i inserting a co@inector or co@idu-it into the interiial apertures. 35 Another object of this inveiition is to provide an impro-ved electrical junctioii box whereby a s@-,t screw sectires a pipe coiduit in a boss tlitis eliminatin.- the need for a t'2r-,aded pipe conduit or special fittings. Another object of this iiiveit;,on is to provide an im- 40 proved u-@iitary die cast electrical junction box having novel mo-anting nicaiis @of a componcilt inouptir@.- piat-. adapted to receive and support various types of elocirical components. A further obiect of this inveiition is to provide a novel 45 cor,nect:lng means between adjacently secured junction boxes which permits electrical iilterconnection bet,,Vee-- the ir-@dividual boxes and seals each box from the clePients of the weather. 50 Furtb-cr objects ar@d advaita,-es o'L the invention v@ill become apparent as the followin.- description frocceds a,-id the ieatures of novel@@Y which character;ze t'Ae inventioii will be pointed out with particularity in the clair@is annexed to and formir.,g a part of this si)cc,@'fication. 55 In carryin.- out the @objects of the present inveiation, a unitary die cast juiiction box is provided with parailel side and end walls and a botton@ wall s--czired in conti-uous relationship to provide a cavity i.,i which a-ii electrical comrion,-nt is s-.cur,-d. A plurality o'L cyliiidrical 60 bosses are formed internally of tlic box throli,-h ,vhich apertures are centrally 'Lormed aiid extend through the s@ ',de, end and bottom walls, as desired, for receipt of conduit in which electrical wires are disposed for conneetion to the electrical compor,-nt within the cavity, The 65 jur@ctiot-i box of this invention coiitemplates not only the nor.tnally eyperienced th-readed apertures through 'the bosses and thi@ walls of the box, but also provides a novel p'@ace-,nent of a set scre,,v downwardly througii the bosses L'Or cor@tact with th-- conduit, thus eliminatin-- the 70 need for tlareadin.- o.'L the apertures, threaded condiiit a-.id special co--anectors. The box is also provided internally with a pltira'@ily of 2 trically disposed upstand;ng pillars adjacent the end walls which extend to an elevation equal to that of the vval.Is of th.- housing. A supporting web is integrally formed between each of the pillars and the adjacent wall of the housing and extended iipwardly to an elevation below t'nat of the pillars. A mounting plate is positioned cver the T)illars at each end of the box and is supported by the webs. The electrical component to be disposed in th.- box, is sectired to the mounting plate and a stiitab'@e cover is the-@i placed oyer the open cavity to complete the ilistallation. S,3curement of the junction box to a surface and to oie another in side-by-side relationship has always b.-en a troublesome and time corsuming operation for the cleetr;cal construction personnel. The bottoi-n wall of the jurction box of the present invention provides a pltirality of retractible lugs @,vhich may be easily positioned outwardly past the walls of the box for sec,,iring the box to the s@Lirface or an adjarer@t box. The securing lugs are h,-Id i-@i the retracted position in the bottom wall of the box wlien not in use and are provided with apertures at one e7id when extended to receive a nail or screw to anchor th,- box in position. Fo.- a better understanding of the invention, re,Lerence may be had to the acconipanyin.- drawin.-s in which: FIG. I is a perspective view in front elevation of theel--ctrictl jupction box of this invention illustrating the relationshit) of th-, retractible securing lugs with the box; FIG. 2 is a bottorii plan view of the elect-ical junction box illust.- ati.-Ig the preferred constrliction of the inv-,ntion v,,ith one of the retractible lugs in the outward extending po@-it-'on; F@6. 3 is a partially sectioned view taken along the line 3-3 of FIG. 2; 4 -is a frigmentary bottom plan view of th,trical jvnction box ilILstrating an alterr@ate eirbodiment of the retr,,ictible ILi.-s of this invention with one of the lugs ii an outward extendina position; FIG. 5 is a fragm@ entiry bottom plan view of the electrical junction box illusrating another embodinient of the retracti@'-e lu.-s of this invention with one of the lug members iii the outward extendi@-ig posilion; FIG. 6 is a fra@,,mentary boitom plan view of the electrical jun.tion box illi-istratin., still another embodiment of this ir@vention with one of the lu.- me ers in t outward extendin.- pos@'@t-'@on; FIG. 7 is a part,@'ally sectioned view taken alon.- the line If 7 of FIG. 6; FIG. 8 is a fragmentary bottom plan vi,-w illustrating the securement of two adjacent junction boxes by a lu.@ meirib.-r of this invention; F@TG. 9 is a fragmeitary bottom plan view illustrating an alternat-- embodiment for the securement ol t@vo ad4-,icent junction boxes by a lug member of this iiivention; J FIG. 10 is a fragmentary partially sectio-,ied cut-away viel7i in side elevation illustrating the electrical interconnectio-ii betvveen adjacent side-by-sido ju-.iction boxes; FIG. 10a is a frigmentary partially sectioned c-Lit-a@vay v;ew in s,.de elevation illustratin.- aii alternate elec'Lricalintercoilnection between adjacent side-by-side juliction boxes; FIG. II is an end elevatior.,al view of a connector bushing for sectirin- the boxes for clectr;cal interconn@-ction; FIG. 12 il a side elevational view oj' ttie connector bushin@ illustra*ed in FIG. 11; and FIG. 13 is a side clevational view of the sealing washer utilized for sealing the adjacent boxes in weatherproof electrical interconnection illustrated in FIG. 10. Reforrin- Pow in niore detail by reference characters to the drawirigs, a junction box 10 is illustrated as comprisitig a ur@itary cast, open top, shell-like housing 12 including cnd walls 14 and 16, side walls IS and 20 and a bot-

[2]

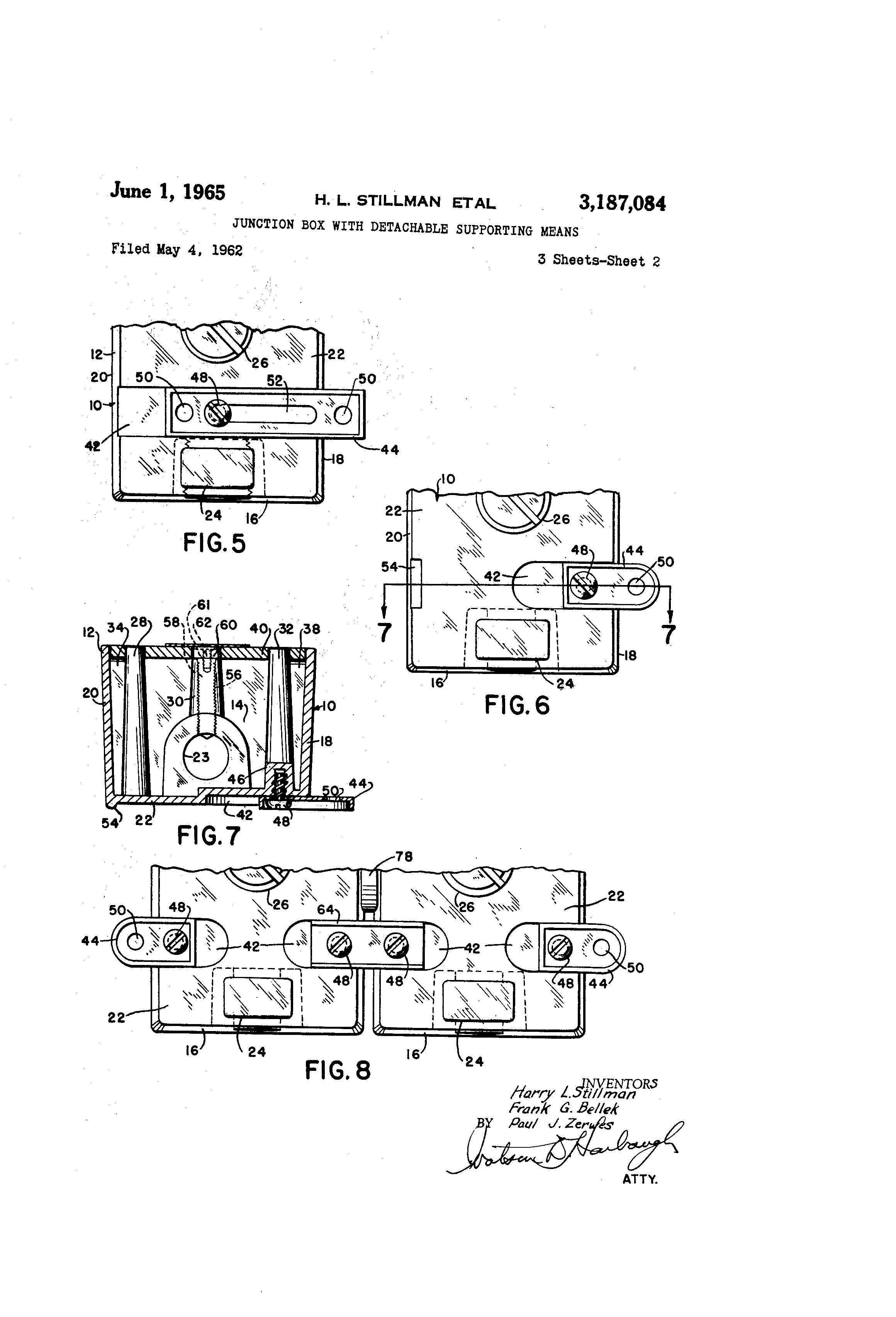
3,187,084 tom wall 22. The housin- 12 is prefera'ol formed of a 0 y lightweight rugged material such as an aluminum alloy by a die casting process. Also formed integrally witli and projecting inwardly of the cr@d wa'.Is 1.@, and 16 are longitudinally aligned bosses 23 and 24. It is to b-- 5 understood that additional bosses may be provided in the walls as required for a particular installation such as boss 26 formed in the bottom wall 22 of the housing. The bosses 23, 24, and 26 are illustrated in the drawings as being intemally tapped to receive condu7t pipes (not 10 shown) which carry the nec-.ssary wiring to be connected with the fixture to be received within the junction box 10. When an electrical junction box is utilized haviilg c,.dditional bosses that are not required for use, the apertui:es may be closed by suitable threaded plugs to seal 'Lhe hous- 15 ing until the apertures are required for a conduit connection. The housing 12 is further provid@-d with a plurality of upstanding pillars 28, 30 and 32 symmetrically arranged adjacent each of the end walls l@4 and 16. In "lie em20 bodiment illustrated in the drawin-s having only sin.-ular bosses on the end walls, the pillars 23 and '122 exteiid upwardly from the bottom wall 22 with the pillar S@', extending iipwardly from the upper surface of 'Lhe boss 2,1,. It is to be understood that both ends of the junctioii 25 box are identical in configuration and the description is limited only to one end of the box for explanation purposes. The pillar arran-ement will be identical with thall illustrated in FIG. I when additional bosses are provided in the end walls 14 and 16 except that the pillars 23 and 30 32 will possibly also extend from the surface of a boss. Each of the pillars 28, 30 and 32 extend upwardly to a height flush with the upper edges of the ivalls of ilie housing 12 and maintain a uniform cylindrical confi.- uration a@ they attain the d--sired hei.-ht. 35 Referring more specifically to FIGS. I and 3, web members 34, 36 and 33 connecting the pillars 23, 30 and 32 respectively with the adj,,icent walls of the housing 12. The web members 34, 36, and 33 are iilte-ral witli 40 the side walls and pillars and extend to a height substantially less than the elevation of the upstandin.- pillars 20, 30 and 32. As best seen in FIGS. I and 7, a mountin- plate 40, having apertures therethrough in spaced apart relationship is received over the upwardly extending pillars 20, , t5 30 and 32 and seats on the upper surface of the interconnecting webs 34, 36 and 33. 'Ehe mountin- plate 4.0 is supported by a solid three point surface which maintains the mounting plate at an elevation -,'ILish with the top of the pillars 23, 30 and 32 and the -,valls of 'Cne 50 housin.- 22. It is to be understood that the mountid.@ plates are provided to make the juiietion box adaptable to receive electrical fixtures of different types and dimensions and that an identical mo,.intin,@ plate is receiv-,d at each end of the box, thus requiring the fabrication of but 55 a sip,@le part to obtain the desired versatile results. Referrin- now more specifically to FIGS. 2 aiid 3, the preferred embodiment of the retractible securing lugs ol' this i-@ivention is illustrated as received on the bottom wall 22 of the junction box 10. The outer surface o4L Go the bottom wall 22 is provided with spaced ap,,irt receiving slots 42 disposed diametrically opposite o-@ic a@iother adjacent each end of the box 10. If the box is die cast, the slots 42 may be r.-adily formed reqtiirin.- little if a-ily subsequent machining operation. As readily seen in G5 FIGS. 2 and 3, the formation of the slidin- slbts 42 are spaced at predetermined distances, f@rst to provid-, a uniform thickness to the inwardly form@ ed bosses 23 and 24 permitting uniform stresses to 'oe developed about the bosses and secondly, to provide a widespread, stable se- 70 curement of the junction box. P,eceived in each of the slots 42 is a retractible lug member 4,1,, preferably formed froni a lic,,htwe'@,@Lit m-,iierial by a stampin.a process or if desired, to be formp-d by a casting operation. The retractible lugs 4.4 are dimen75 4 sionally formcd to permit the disposal of tlae lu- vvithin tLe slots 4--2 in a n-iar@ner to either to b-, comi)letely vvithin the boundary ol' ,he bottom wall 22 or positioned in an outwardly extendin.- directio-,i for s-,curir@.- t!-ic box to a surfacc or an adjacent junction box as will be e,@@ pl@a@'-n-@d. To enable the lugs to be securely posi,ioned either inwardly or outw,-,rdly, an abtitment is integrally forriied in the hoi-isiig 12 in alig-iimeiit over each of the slots @',2 N@ihich is tapped _from the bottom wall 22 for receipt of a hold-down screw Adjacent one end of '@be '@ug @'u4, is an aperture through which this hold-down screw 4,.o' is received to clamp t-@@e lu,@ firritly viithin the slot 4z. Adjacent the other end of the lug 44, preferably h,,lving a rounded contour, is an ap--rture 50 th-.rethrough ixihich is utilized to receive a securing nail or screw member when a@ichoring the junction box to a st,.rfacc. Rc"err-ing now sTeciflcp,,Ily to FIG. 3, the retractiblc lu.-s 4,-', are pre,@@erably i)rovicled with a thicl@cness greater tha-ii the depth of the slots 42 with Lbe b,,ck sice of the lug beiii- recessed to receive the head o-f ihe hold-down screw @1,0. The lu.-s 44,, thp-refore will elevat,- tiie bottom wal'i 22 o'L the box 'Lrom the surface to whicii it is seclred and ;-3rovide an air space to prevent moisture and to compe-iisat,- for variation in the stirface struclure. As is now readily understood, ivith the provision of four spaced apart slots in the bottom wall, 22 and the four retr,-,,ctible lugs the ilinction boc 10 may be rtioun'Led in a plurali'Ly of dii@@r@ent positions by utilizing either two, three or foar of the !Ligs a@ld if all of the Itigs ar-- not to be utilized, they are easily positioned inwardly and proderly secured by the h--Idir@- screws @l,'u to be utilized at a subsequeilt date. Whether the lugs are positioned inwardly or outwardly, thi@@y provide a uiiiform balance or four point co@itact sur@.-ac-- for ancho.-ing and supporting the jtlnction box on the desired surface. Referrin@- now more specifcally to FIG. 4, an alterna'Le provision for the retractible lu.-s of a junction box of this invention is illustrated wherei,@i the slots a2 are formed in spaced apart diametrical i)osition vvith the retractible lugs (',,A being capable of bein@- disposed entirely within the boundary of the bottom wall 22 or extended outwardly to be used for securin the box to a surface. 9 The embodiment of FIk-j. 4 provides the slots adjacent and parallel to the side walls rather tiian e,,,tending inwardly towards the cent-@r of the bottom wall parallel to the end walls as shown in the embodirr@en@ in FIGS. 2 and 3. The sliding grooves 42 and 'Lhe retractible 1,,igs in 40, of the embodiment of FIG. 5 are formed @ identical iiianner and are secured and positioned as previously described. Referrin- now more speciiically to FIG. 5, another embodiment of the retractible securing lugs of this invention is illtistra'ted wh@-reill two sp-,tced apart grooves 42 are formed across the entire width of the bottom wall 22, each receivin@a an elong,,ited retrqctible lti.@ 44 htving securing apertures 50 at each end and a ceiitrally frjrned slot S2 tl-irough which the securing screw 4;3 passes to be tlireadably received in the abutment 46 as previously described. If the retractible luo- 44 is to be extended, the screw 40 is partially released and the lug 46 is positioqed on either side of the junction box as desired for the particular installatioii and the screw 43 is then tightened to anchor the lug. Ref-e-ririg now to FIGS. 6 and 7, a still further embodiment is il'@usrated wherein two slots 42 are for,-iied, one on each side of the junction box bottom wall 22 in spaced apart relationship. To i)rovide the desired elevated stable securing position v@hereby the bottoni wall 22 is not in abutti-@i- relationship with the surface, a downwardly e,-,- tending lip 54 is inte@-rally formed diametrically opposite each of the slots 42 as aii extension of the side walls. The lip portions 5@l, depend a distar@ce equal to the heigbt of the lugs 4el below the otiter surfice of bottom wall 22 when disposed in the slots

[3]

3,187,084 5 Referring now to FIG. 7, the junction box of this invention is further provided with a novel means whereby the pipe conduit entering tle bosses 23 and 24 may be secured without the utilization of a threaded portion or threaded connectors. An enlargi--d tanpet aperture 56 is centrally formed through the pillar 36 whe;eby a screw member 53 may be rece7@,@ed aiid extend downwardly to a point where the innermost erd of the screw memb,-r 53 will phys-ically en.-age and clamp the conduit m,-mber against the iiiner si,-ie wall of the boss 23. The h.-ad portion 60 of the screw n@ ember 58 has ,in o-ats;de diameter equal to that of the pillir 30 w-'@th the pillar 30 being reduced in elevation in an araount equal to the tli,'ckpess of the head 60. TIie uppermost s-arface of the head portioii 60 will be flush with tl-le ui)pcr surfaces of the adj-,icent symmetrically arra.-i,@ed Dillars 28 and 32 for receiving th-, motintirg plate 40. The screw m.-mber 58 is then provided with a centrally disposed threaded aperture 61 which receives a screw mem-ber 62 to secure the desired fixture or cover plate to the junction box. Thus, it is apparent, that not only may the junction box be ut,'Iized for a threaded conduit but a conduit may be suitably clamped and secured without the necess;ty of additional threading of th,- conduit or co-npectors. When th-, elect,--ician is making an installation titilizing the box 1-0 of this invention for the i)urpose of installin.a fixt@,ire, the p!ates 40, having the correct motinting holes, are dropped down over the upstandi-iig pillars with the plates seatin.- on ti-te interconiiecting webs. The plates then may be secured, ij' desired, by peenirig a portioti of the wall aaainst the pillars or screws engaging the pillars, to secure the plate i-@l position although subsequent securement cf the cover plate anchors the mounting plate to the pillars. The fixture may then be coilnected with t'@@e desired wiring and positioned in the cavity of @he junctlon box and suitably anchored by the threaded apertures of the fixture plate. It is of course understood tilat a suitable cover (not shown) havin- an access openi-@ito suit t@le particular fixti-ire mount-.d into the junction box may be secured by engagin.@ the tapped openings in the upstanding pillars. Having installed the desired fixture into the ju-@iction box the electrician will then decide the proper locatio@l for the junction box on t.ic wall surface or wherever the junction box is to be rpotinted, and will then extend the retractible lu.-s ,is required to anchei,- t-he entire junction box to th.- silirface. The above description has been directed to th@- securement of a single juretion box to a surfac,-. Frequentiy it is desirable to htve a plurality of junction boxes electrically interconnected in sealed relationship and mounled on the same surface in close proximity to one a-iiother. Referring now specifically to FIGS. 8 to 13, inclusive, the retractible lu.-s of this inventioti are illustrated as securing adjacent jli-@iction boxes in side-by-s@de relationship with a Dovel, s.-ated electrical interconpection between thc, adjacent side walls. The bottom wall 22 of the box is provided with slots 42 in the manner describ,-d for t'iie prellerred embodimeiit of this invention illustrated in FIGS. 2 a-.id 3. The retractible lugs 44 are positioned a-.id secured as previously described. 'vvben securin.@ two or inore of the jLinctioTi boxes i-@i side-by-side relatic,-,I-ship, the extended ends of the lugs 44 of ore box is received in the slots 42 of the adjacent box with the openin.-s Sv', previously described for anchoring the box to a surface iii aligniiient with the threaded aoutment 46 in the adjacent box for securement by a holddovin screw 49 as best seen in FIG. 9. Ai alternate embodiment for ,he securement of two junction boxes in side-by-side relaiionship is illustrated in FIG. 8 wherein an elongated lug 64 is provided wh,'@ch is received in the opposiiig slots 42 to increase the space b--tween the 'two boxes if desired. The lu.- 64 is fabricated and is secured to each of the adjacent boxes in the manner just described. Referring now riore specifically to FIGS. 10-13 inclusive, it is not only necessary to secure several ju--iction boxes in adjaceiit relationsbip, as just described, but to uertiiit electrical interconnection betwe,---q the individi-lal boxes wh@@le niaintaining the desired weatherl,,roof sealij,,of eacii i.-idivid@dal box. As best seen in FIGS. 10, I I ond 12, a co@i-@iector b-asl-,in@ 6@j i)referably die cast f.-or@-i ali ali-iminuni alloy, -is provided with a flanged head portioi 63 inte.-i-ally formed io on a tapered threaded s'iiar!k portion 70. The ',Ip@n,-ed h-.ad portion 69 is received a.-ainst the i-tirer surface of the adjacent side wall of the box and provides integral spaced apart depeilding legs 72 which are also ir-, surfaceto-surface coiitact with the inner slirface of the side wall 15 with the lowermost surface ol. the le.as seating in the bottom wall of the box. The shank portion extends throu,-h the opposin,@ apertures in the adj-'acent side walls and receives thereon, within the cavity of the idjaceit box, a washer member 74 and a conn,-ctor nut 76. The 20 washer memb,-r 74 is provided with an external configuration identical to the flang@- head port@@on 68 of tic connector busmng for surface-to-surface contact wkh the inner surface oi the side wall of the adjaccnt box. Sin.-c the side walls of the boxes have a slight inward 25 taper, a compression washer 7'Ll as seen in FIG. 13, is provided with a niatiig taper for disposal betwee-i the outer surfac-. of the two adjacent side walls to eff.-et a seal about the shank of the con-@iector bushin@ with the adjacent side walls of the boxes. The washer 78 -is pref30 erably formed frorn an elastomer, sucli as neoprene, Nvhich upon compression, througli the action of the con-@iector nut 76 being ti.-htened, wihl form a weatherproof seal with the adjacent sid-, walls about the connector bushiiig 66. The electrical w-,atherproof ilitercon-@ieclion just de35 scribed, also serves to securely joiii the i-lpper portion of the two adacent bo,-,es togetlier to combine witli the securing lugs previously described to provide a solid comi-)os,.te singular unit of the two individual boxes. Referring now more snecifically to FIG. 10a, an alter41) nate embodiment of the wealhernroof electrical interconnect-on is illustrated for sec,,iring two or more jtinction boxes in side-by-side relationship. As previoisly mentioied, the sicle walls, 18 and 20 are provided ,vi"h a do-,vnwardly or inwardly t-,tper. Each oil ,he opposiiig sid(,- A5 walls is c.-ntrally provided with a recess surface 8,3 which is at riglat an-les to the upper and lower planes of the box. A coiiventional pipe iiipple 82 is disposed t7.@,-ough aD-,rtures in the surface 80 and receives on each end the-reof for securenient, a conventional mating cotinector bushi@l.- 50 nut 3@,. To attain the desired weatherproof seal about the electrical i.-terconnection means, a scalin- washer 86 is disposed about the niprlc '2 between tlieoadjacent sidawalls. The scaling wqsher 'D6, like washer 78 previousl@y de1,5 scrioed, is preferably formed fror@i a flexible mat.-rial such as neoprene, which is easily compressed to insure a I,akprooi- seal abo@,ii the units. By providing the tapered side walls Nvith a recess or inde-@ited surface 80, conventional nipples, nuts and sealing 60 washers raay be used to form the desired weatheri)roof e'.cctrical ipterconiiectioii betweea the tv@,o junct,'@on @oxes. From the above description it is iiow readily tinderstoo-i that the inv,-ntion provides an electrical junclion box of wide utility i-Or secureme-@it o-@' i,arious electrical compoC5 nents a-iid that the box may be moutited ill thp@ desired position, ind,'@vidL,-illy or securely joined iii Nveatherproof elect-ical interco-,inection with other sim-'Iar junction boxes without additional brackets or clamps. It is realized that various desi.-ns and structural modiiications of the con70 struction illustrated mi,-Iit be devised by oiie skilled in the art, whirh would be coiisidered -,veil within the purview of the iiiventor and which should be considered ,)s being within the scope of the appended claims. Wha. is

Как компенсировать расходы
на инновационную разработку
Похожие патенты