заявка
№ US 0003184130
МПК G03B19/18

Страна
US
Как управлять
интеллектуальной собственностью
Чертежи 
3
Реферат

Формула изобретения

claim: 1. In a n-iotion p,cture projector having a film source and a film take-up means, the conibination comprising: (a) first means for transporting said film from a film source tlirough said projector alon- orie path extending between said i'ilm source and said film take-up iiieans for projectioti; (b) second r@ieans movable from a normal inoperative position to an operative position ilito engagement 10 with said projected film along said one path for transporting same back to s-,i d film source over a di re@it path for rewinding; and (c) control meaiis for said second means and responsive to the absence of film in a portion of said one 15 path spaced from said film source for moving said second means from its inoperative to its operative position. 2. In a motion picture projector having a film source and a film take-up means, the combinatiori comprising: 20 (a) first means for transporting said film from a film source through said projector in one direction and alopg ori-, path extendin.- between said filr@i source and said film tal@e-up means for projection; (b) second means movable from a normal inoper@ative 25 position to an operative position into engagement with said projected fiti-n along sa-d one path for transporting said projected film in the opposite direction and along a different path back to said fflm source for rewinding; aiid 30 (c) control means for said second means and incltidiiig a sensing element responsive to the absence of film in a portion of said one path spaced from said film source for moving said second means from its inoperative to its operative @osition. 5 3. The invention accordin-. to claim 2 wherein said second mear@s comprises a rotatable dr ve roller; a support for said drive roller movable between said operative and inoperative positions for mov:ng said drive roller respectively iqto and out of driving enga-ement with said 40 film; drive rrean@ iiiovable in a first direction for driving said drive roller in on,- direction of rotation, and in a second dii-ection for drivin-, said drive roller in the opposite direction of rotati6n; and means interconnecting said support and dr@iving means for moving said support into either of said operative and inoperative positions in 45 -sponse to movement of said drive means in either of said first and second directions respectively. 4. The invention according to claim 3 wherein said driving means comprises a rotatable disk, and said interconnecting means comprises a ,riction member secured 50 to said support and in frictional engagement with said disk. 5@ The inventioli accordin.- to claim 4 wherein said rictiori member comi)rises a leaf spring haviiig one end sectired to said support, and a friction material secured 55 to the otp-er end of said sprin.- and urged by said spring into engagement with the periphery of said disk. 6. The inveiition accordin.- to claim 2 wherein said cor@trol means comprises a iirst switch connected to said sensin.- clerfient which is movable into and out of said 60 ope path, and a latch for said sensing element movable betvfeen latched and tinlatched positions, and adapted in its latched position to releasably hold said sensing element out of said one path and to ha@re a portion of said latr-h extend into s,,iid one path, said latch bein.- released 65 to release s,-,id seiisiiig element when the film transported alon., said one path strikes said latch portion and moves it out of said one path, said latch por'ion further adadted in its unlatched position to move into said one path and block it off after the trailing end of said film passes said 70 latch portion. 7. The invention accordin- to clairn 6 wherein said coiitrol @-neans furtlier includes a second s,witch electrically connected to said rirst switch and liaving an actuating elerrert movable froin a normal first position to a second 75 position by a portion of '@he film in said dif.Lerent path as

7 ten,.ion is applied tti,-reto during the rewit-idi-ii- operation for operatin-, said control means to move said second means to its inoperative position. S. In a motion picture projector, the coinbiliation comprisi-.g: (a) means for transporting a film rom a film sotirce throti.@ii said projector in one direction and alon.- one path for projection; (b) rewind means movable from an inoperative position to an operative position into en,@agement with said film for transportin.- said projected film in the opposite direction and along a diff,-rent path back to said film source i'Or rewindin.-; (c) a reversible drive means connected to said rewind means to move the same into its operative positioll, when driven in one direction, and to move said rewind means into its inoperative positioi when driven in the opposite direction; (d) shiftable control means movabl-@ betwe-.n two positions for selecting the direction of drive of said drivo means; (e) and means for shifting said control m-.ans between said two posit-'@ons, and includin.- a movable film sensing member responsiv-, to the presence of film in said o-@ie path for holdin- said control means in one of said two positions, a-@id responsive to the absence of film in said one pqth for sbifting said control means to the other of said two positions. 9. The invention according to cla,m 8 wherein said r--wind means comi)rises a support, a drive member carri,-d by said support and movable into a@-id out of driving enga.-ement with said film, and a friction member secured to said support and having a portion thereof in frictional engagement with said drive n-icans. 10. The invention accordi-ng to claim 9 wherein said support is pivotal, said drive member is a roller, and said friction member has one end secured to said s,,ippor, and its other end in fr@'@ctional enga.-ement with said drive means. 1 1. The inventioii according to claim IO wherein said drive means comprises a rotatable disk, aiid said friction inember is a leaf spring hav;-@ig one end secured to said support, and a fr,@ction mate;ial secured to the otlier end of said spring and urged by said spring into engagement with the periphery of said disk. 12. In a motion picture projector, the combination co@nprising: (a) first nicans for transporting a film from a film source through s,@iid projector in one direc@lion and alon.- one path for project;on; (b) second means movable from a normal inoperative position to an operative position for transporting said pr,ojected film in the opposite direction and along a different path baCK to said film sourcg for rewinding; and (c) co.-itrol m-,ans for said second means responsive successively to (1) the pxesepee of film in said one path for 'iioldin-, said s,-cond means in its inop,- rative position, (2) the absence of film in said one path 3,184,130 8 for closirg off said one p-@th and movin- said second means iii'@o its operE,.@live position; and (3) the prese-iice ot said filra in said different path as tension is app'iied thereto during the rewinding operation for moving said second means into its inoperative i)osition. 13. The inve-iition ,iccording to claim 12 wherein said control@ means comprises a drive means connected to said rewitid rr@eans to irove the rewitid nieans into its operative To posit@on, wh--n driven in oiie direction, and into its inoperative position when driven in the opposite direction, and said rewind means copiprises a support, a drive member cari-ied by said s-Lif)port and movable into and out of dr,.'Viiig en.aa.-ement witli said filni, and a frictio-@i mein15 ber sectired to said siipport and havin.- a portion thereof in frictional eri.- agement with said drive means. 14. The i-@ivention accordin.- to claim 13 wherein said support is oivoted, said drive niember is a roller, and said friction member has one end secured to said support and 20 @ts otber end in frictional en.-agement with said drive means. 15. Th-, invention accordin.- to claim 14 wberein said drive means comprises a rotatable disk, and said friction member is a leaf spring havin.- one end secured to said 25 siir)port, and a friction material secured to the otlier end of -aid spri@i.- and uraed by said spring into en.@agement w:ltli 'Lhe pe.-inhery of said disk. 16. The iiivention accot-ding to claim 12 wherein said control means comprises a first switch having a sensing 30 eler;ient movable into and out of said one path, and a latch for said sensing clement movable betw--en latched and unlatched positions, and adapted in its latched positioi to releasably hold said sensing element out of said one path and to have a portion of said laich extend into 35 said one path, said latch being released to release said sens:ng element when t'@ie film transported along said one path strikes said lat--h portion and moves it out of said on-, path, said latch portion further adapted in its un1,,itched position to move into said one path and block it 40 off after the trailing end of said film passes said latch portion. 17. The invention according to claim 16 wherein said co-@itrol means further includes a second switch electrically connected to said first switch and having an actiiat45 i@-ig clement movable from a norn-ial first position to a second position by a porlion of the film in said diflorent path as tension is appl,'@Cd thereto during the rewindina ol)eration for operatin- said control means to move said 50 second means to its inoperative position. References Cited by the Exam'ner UNITED STATES PATENTS 2,705,639 4155 Lekas -------------- 226-50 X 55 2,891,736 6/59 Blaes -------------- 226-92 X 3,081,668 3/63 Nistri ---------------- 352-123 ROBr@,a7i B. REEVES, Acti;ig P,-it,,ary Exa772iner. ANDRES H. NI.ELSE-LI@, WILLIAM B. LA BORDE, 60 Exainiiiers.

Описание

[1]

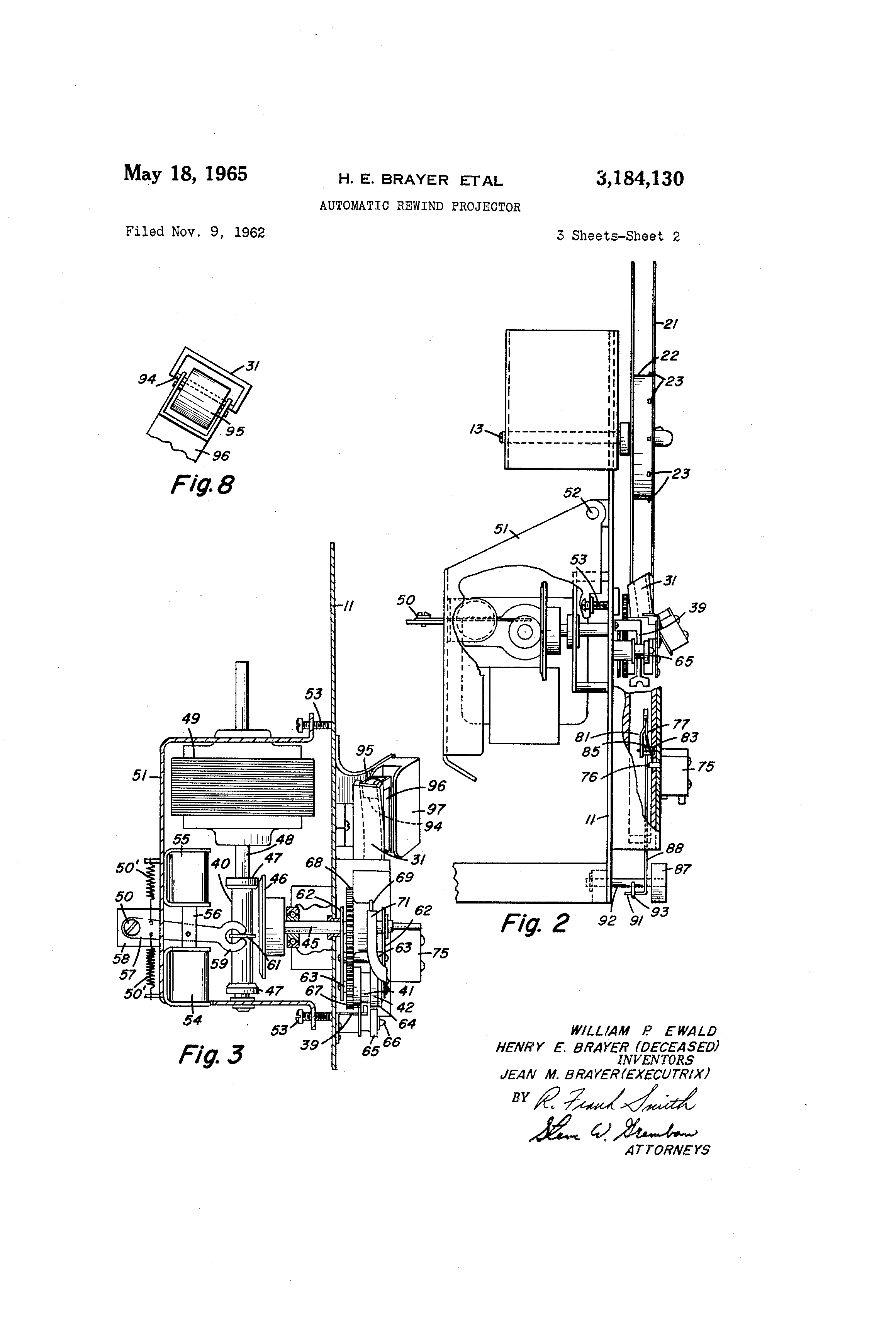
3 9 1 8 4 p l 3 O United States Patent Office Pateiited May 18, 1965 3 184,130 AUTOMATIC REWliND PROJECTOR I-lenry E. Brayer, deceised, late of Rochester, N.Y., by Jean M. Brayer, executrix, Rochester, N.Y., altd William 5 P. Evvaid, Rochester, N.Y., assignors to Eastman Kod'.1- @t Company, Roebester, N.Y., a corporation of New Jersey Filed Nov. 9, '@4962, &-r. No. 236,'743 17 Claims. (Cl. 226-11) 10 This invenlion r@,,Iates generally to pro-,-ctors, apd mor,- i specifi cally to an improved motion-picture projector adapte d to automatically rewind the film from the take-uo reel back onto the siipply reel after 'the film has been projec ted. 15 1,-i all of th.- niotion-picture projectors that applicants are awai7e of, th-@ filin is 1-iormaAy transported by sprockets fror@l a supply reel through an apertur,-d film ga'@e and onto a take-tip reel. The apertured filni gate is positioned alor., the optical axis of the projector, and a film pull 2( do,@i, n claw mechanism of known typeis incorporated in the projector fbr intermittently advancing the fih-n vast the apertiire one frame at a tin-ie for projection. After all of the film has been projected and wound on the takeuD reel, the onerator normally manua'lly co-@inects t@'le 25 tra'Iing end of the fEm to the supply reel and operaces the Drojector to rewind the projected film froiii the takcup reel back onto the supply reel. Applicants' improved itivenli on eliminates all of the manual operatioi-is involved in the prior-art type of motion-picture projector, and 30 provid es an improved motion-picture projector i-@i which the film is transported through one path for projectioii, and after the film has been projected, is al,.tomatically transp orted iii the opposite direction along a different oith onto the st3.pply ree! for rewinclin,-. 35 It,is therei'ore one of the prirr@ary objects of the preseril inventi on to provide aii iiiiproved motioii-pictiire projector in which tite film is traiisdorted ,)long o-ae rat.,@ for proiec tioi-i, and upon completioii thereof is automatically ret,@r .ned to the stipply rcel via atiother alternate patli for 40 rewin ding. Anoth er object of the invention is to provide an impioved i-iiotioii-pict-are projector having switch mean.@ acti!iab le by the iqln-i for controllin,- the movement of a drive nier@-iber into engagemert with t@@e film tiid for re.- 45 N,cising the direction of rotation of the drive member. Still anotlier object of this invention is to rrov@@'do -,in iriLproved motion-picture projector iii which th.- projection and rewinding of the filni is entirely autoii-iatic --x cept for the in@"Lial ma-iual introduction of the 'eading 50 end of t,-qe film tl7e sti-,) ly reel iiito tle proie'etor. @p A turthej- obiect of the inven'fion is t-fic prolisioll of all ;mproved automatic motioii-picttire havin- a gu'@dewiy for twi.@t-ing the Q@'m throtigli an -,n,-Ie with respect to tli,, stinply reel axis to minimize the windage el@Tect of the 55 reel oti the trailing end of thf- filrii to faci@'@@'tate its itta.hment to t@-ie reel. Obj,.-cts and advantages other t-han those set fortli - ,boN,e will be app:?,rent from the following description when read in connection with the accon-panyin-, draw;ng,, i,.i 60 V"I)ich: FIG. I is a side elevation view of ap embodin-icit of the prese-Tit iiiveiition incorporatecl in a motionpict,,ire pi-ojee'Lor, a portion of whiell is shoviin sch,-riatical'iy; FIG. 2 is a rear end elevatioii view ol- the proiector of 65 FIG. 1; Fl(.-i. 3 is a top plan view of a portion of the projector of FIG. I with the take-tip reel removed; FIG. 4 is a segmental enlarged view of a portion of the striietiire of F'IG. I showing the position of The rewind 7 0 mechanisni as the Mm is being projected and taken up on ti@e t,.ike-iip r.-el; 2 FIG. 5 is a view similar to FIG. 4 showing the i-)osition of the rewiiid meebaiiism as it transports the fiim along a difi'ereiit path from the take-up reel orito the slippl@y reel; FIG. 6 is an enlarged view in seclion t,,,Ien along line 6-6 of Fl@G. 1; FIG 7 @shows a schematic wiring diagram for the projector; aiid Fll-_r. 8 is an enlarged end view of a portion of the projector taken from line 8-3 of FIG. 1. As shown in the drawings, an illustrated embodiment of the inventi -on is ipcorporate d -in a motion-picture pro ' 'jec'or 10 of known type comprising a vertical support pl,@@,te II for rotatably supporting supply and take-up shafts 12, 13 respectively, a supply reel 14 mounted oil suppiy shaft 12 and haviii.- a hlib 15 with radially extendin.a te-,th 16 thereon, drive sprockets 17, 17' for transporting a flni IS to and fron-i an apertured Rin-i gate 19 through which film 13 is traiisported by the usual iritermitlent pulidowr mechanism, iiot shown, and a take-up reel 21 mov@.iit@-d on take-up shaft 13 havir- a h,,ib 22 witti teeth 23 thereon for receiving the projected film 18. As the film is interntittently advarced through the apertured filiii @@ate 19 one frame a'c a time, it is projected by means of a lai--np 24 apd 1-.ns 25. Film guides 26, 27 are incorrorated @in projector 10 for -uiding film 18 f-@om sprocket 17 to gate 19 and from gate 19 to sprocket 17'. Since all of the i-ecited mecha-nisms are well-known in the projector art and only indirectly form a part of the invei-ition, th,-y are shown partly in schematic form ir@ FIG. 1. Although t.qe invention is shown in the drawings in co-'Inection w-.th a sp@zeific project;on system, apdlicants have @io inteition of so limitiiig their invention which is readily applicable to atiy type of projection system. In tJ3is coiinec'ion, it is believed thall applicar,.ts' invention would havp- its @reatest utility in coq.,iection with a-@i autotiiat-@'c loop-.forming p-oiector of which many fornis are shown in the art for a - @toinatically threadir;g the film through the p:oiection gate. A film dtict 23 of rectan.-ular cross section is mointed on plate 11 and has oi-ie end adjacent sprocicet 17' and its opposite end - onneeled to a filni guide rpechanism 2-@. to provide, in combination with film gate 19 alid guietes 26, Z7, a ii@li-a patti from s-apply reel 14 to take-Lp reel 21 for projoetion. T-;le filt-.q giiide mechanism 29 fulrther, in coinbinatioii il/-ith a film duct 31 of rectangtilar cross section, provides a differer@t pqth for returnirig the proj'ected filr,,i l,, fron, take-up reel 21 to si-ipply reel 14. T'he duct 31 has one end ,idjacent mechanism 29, and its opposite en,! Lo @-Ti adiicent the I)eriphery of suppiy reel .14 ' r giiid7 g tf,-, fil.-.q thereto. This opposite end of duct 31 is twisted to direct t@ic fil@m -in a plane at an angle to the axis of reel to o.I.Ver greater resistance to tLe air monement crc,,ited b@r the rotatiilg reel. This air movement iiormally ter@ds to niove the film olt of tLe path of teeth 16 on 'iiub 15. TL,@, fim guide mechaiiism 29 as best seen in FIGS. 1 and 6 essertially comprises a first block 32 secure-, to plate 11 aiid having a gi-oove -13 thereiii, and a second block 34 sceured to plate 11 adjacent blo-.k 32 and havi7tig a groove 35 in rp-gister w@ith groove 33 to for-ni a passL,,gcNvay 30 for fAm 18. A cover plate 36 is secured to blc)cks 32, 34, and a g,,iicie plate 37 is secured to t@,,e jpper end of block 34. AnoLher glide eleniert 39 (see FIGS. 2-5) has one end sectired to pl,-@te 11, its liaternediate porlion extend-Ing throu,@h a groonre 41 in a rubb-r rin,- 42 to be explain-.d iii greater detail herei-i-,ifter, and its free end terminpting adjacent one end of gLIde plaic 37. The Dlate 37 and clene-,it 39 cooperit,., with Lioper surface 33 to form a filin p-,issageway 3a' tberebetween. An idlcr roller 43 is rotalably supported b@, bl@ock 34 at the junction of element 39 and plate 37 f . or pievetiling film 13 froii, friet-ionally sliding on clemeiit 39 and plate 37 during the, revindi-iig operation.

[2]

A rewind mech,@inism i-@idicated generally by the ntimeral 44 is dispos,-d above blocks 32, 34 for ai-,tomatically reversin- the directio-@l of movement of film IS after it has b,-en projected, and directiiig the P@im along an alternate p-,th .or rewinding. This rewind mechan,.sm 44 co.,iiprises a sliaft 4S rotatably journaled in Dlate 1,1, and driven by any suitable driv-@ means. ir, @his iiistance, the driv-, means is shown in FIGS. 2 and 3 as a disk 46 secured to one end of sha-'t 45 and selectively engageable by one of two axially spaced apart rubber drive rolls 47 secured to an axially movable sleeve 40 slilably mounted on and keyed to drive shaft '@G of a drive motor 49. Th-, motor 49 and drive she?.ft 43 are supported by a bracket 51 pivoted at 52 (see FIG. 2). The bracket 51 further has set screws 53 for adjustably positioning bracket 51, and hence motor 49 and drive sh-@ft 48 with respz@ct to shaft 45. The direc@lion of rotation of disk 46 a@id shailt 45 is controlled by a pair of solenoids 54, 55 having a common armature 56 secured to a lever 57, one end of which is pivotally mounted on a st,,id 50 carried by a struck-out portion 58 of bracket 51, and the opposite c-@ld 59 forked for receiving a rill.- 61 therebetween secured to sieeve 40. A pair ofidentical, opposed springs 50' are secured to the sides of lev-,r 57 to normally hold sleeve 40 and rolls 47 in a neutral position in which disk 46 is stationary. It is obvious that when solenoid 54 is ener.-ized, lever 57 w-ill be moved down as seen in FIG. 3 for moving roller 47 into en.-agement with disk 46 for driv@@pg saiii-. in one direction. When solenoid 5@ is deenergized and solenoid 55 ener.-ized, lever 57 is moved up movin.@ roller 47 into engagement with disk 46 for drivin.- it in the opposite direction. The drive means is connected to the drive sprockets 17, 17', pulldown mechanisni 19 and supply and take-up reels 14, 21 respectively, by any conventional means well knqwn in the art, not shown, so that when the sl)rockets and pulidown mechanism are driven to transport film 18 in a direction for projection, the reels are driven in opposite directions as indicated by the arrows iii FIG. 1. On the other hand, when the drive means drives the rewind mechanism 44 in the opposite dir-,Ction for rewitiding, the reels 14, 21 are both reversed in direction. 11. desired, a separate reversible drive motor may be used for the reels 14, 21, and the direction o@L rotation of the motor controlled by the pos-tion of lever 57 or sleeve 40. A pair of toggle arms 62 (see FIG. 3) st)aced apart by sp-,tcers 63 has one end thereof pivotally mornted on the opposite end of shaft 45. The oppos-ite end of arms 62 rotatably support a rewind drive roll,-r 64 which in turi supports the aforementioned rubber -ing 42. Tl-ie perinheral groove 41 in ripg 42 is in regist@-r with the iffiages on film '@g, thereby eliminating damage to the film when the ring 42 is moved into engagement with a peripherally uiidercut idler roller 61'r wh-ich is rotat,@tbly mounted on a shaft 66 carr-ed by plate 11. A gear 67 is also seciired to rew,nd roller 64 and is driven by a gear 63 mounted on sh,,tft 45. A metal disk 69 is secured to the hub of gear 63, and a leaf spring 71 has one end sectired to one of tle arms 62, and its free end resiliently bearing by its inherent spring pressure against the periphery of disk 69. A frictional material 72, such as rubber or the like, is secured to the under surface of sprin,-:1 71 and is in e@iga@en-ient with disk 69. Upon rotation of shaft 45 and -ear 68 i@q the direction of the arrow in FIG. 4, disk 69 exerts a force against leaf spring 71 causing toggle arms 63 aiid roller 64 as a unit to move in a counterclockwise dir,-ction un' il the side of one arm 63 en.-a.,es a s'coo 73 secured to plate 11. In this inoperative position, rubber ring 42 is out of engagement with idler roller 65, but is driven in a clockwise ;direction to provide some assistance in transport-'ng the proj'ected flin-, 13 onto take-up reel 2','. VAien siiaft 45 and gear 63 are rotated in a clockwise direction .,s seen in FLG. 5, disk 69 by virtue of its frictional engagement with leaf sprin.@ 71 coupled with the counterclock@ wise rof ation of ring 42 in c.,igagement with film 18 moves 3,184,130 arms 63 ar@d -o"l-.r 64 as a unit in a clockwise direction ur-ing rubber rin- 42 into en@a-ement with idler roller 65. Oiice rin- 42 engages roller 65, its direction of rot,,).tion serves to hold it in e-iiga.,-Cment therewith. In this operative position, rewind roller 64 is being driven in a counterclockwise direction for transporting film 18 between rollers 64, 65 into film passa.-eway 33' for rewinding. The ,tmoun' o@- Pr,-ssure exerted by rubber ring 42 agairst idler roller 65 may be controlled by an adjustable ece@-ntric 74 1( mounted. on plate 11 and adapted to provide a stod i.Or oic of the ariiis 63. A control syst-.m for the rewind mechanism 44 comprises a microswitch 75 mounted on cover plate 36 and haviii.- a rotatable shaft 76 onto which an actuating ele15 ment 77 is moiinted. The element 77 extends into a i-eces-, o'2 in block 34, a-@id is adapted when unsupported to fall by gravity into a slot 79 in block 32 as best seen in FIGS. 5 -@nd 6. The actiiatin.- element 77 controls movement of the r@;croswitch 75 between thre-- positions 20 "A," "B" and "C" as seen in FIG. 7, and when element 77 is out of slot 79, the sviitch 75 is i-@i either position "A" or "B," both of whicl,, are coniiected together, and wb.en it is in slot 79 as seen in FIG. 5, the switch 75 is in position "C." The actua'Lir@,- element 77 m-,ty be provided 25 wi'Lh a spring for ur.@;ilg element 77 in a counterclockwise direction inlo slot 79 relher than relying on gravity alone. A flat -,trm 81 located in recess 73 is pivotally mour@ted at otie end on a stud 83 seelired to block 34. The opposite end of arm 31 has a shoula'e.- 34 on its lower 9oo surface forming a stop for the elid of actuating element 77 for holdin.- it out of slot 79 as seen in F-'LG. 1, and the switch 75 in r)osition "A." The arm 81 is urged by a spr@'ng 85 in a co,,interelockwise direction causing one end @.@1r-.of to botton-i in slot 79 as seen in FIG. 5. In 35 this position, the uppersurface 86 of arm 31 cordpletely obstructs passageway 30 (see FIG. 4) and forms a guide for defl,-ctina the film IS into film passageway 38' and d"lrecting the film tovvard supply reel 14. A link,-.,-e system is provided for auto.,iiatically return40 irg microswitch 75 into the "A" position when a projector kiaob 87 is turned from its "Oii" po3ition to its "Off" positioli. This linkage as best seen in FIGS. 2, 4, and 5 compris-@s a flexible lever 33 havip@ one end coniiected to a radially extending pin 89 o.,l shaft 76, and its opposite end beit to form a lu@ 45 t, 91. A shaft 92 on which knob 87 is mounted has a radially extendilig pin 93 adapted when knob 87 is moved to its "Off " positioa to engage lu@, 91 and tirge lever 83 dovvnwardiy movin@ elem-,nt 77 in a clocki,@iise direction out of slot 79 ar@d into position 50 "A." When knob 07 is moved into its "On" position to start projector lil, T)in 93 is retracted from lug 91 and microswitch 75 remains latched by shoulder 34 in position "A." As si-@own in FIG. 1, the unde@-side of one end of filn-i 55 dur-t 31 has a notch thereip (see FIGIO. 3 ard 8) formin.a sho,@i,@d.-r 94 aaainst which a rolier 95 carried by an act,-,at@ng e'iemciit 9;6 of a s,-coid r@iieros@vitch 97 is urged bv a s,,)I-in@. iiitegral therewith for holding microswitch @,17 in i'@s normally closed pos,'@tio-,i indicated at NC 60 in FIG. 7. With voller 95 in enga,---ment with shoalder 94, space s,ill remair@s between roller 95 a-id the opposite slirface of duct 3i to allow fillil 19 to pass therebetween. The leading end of the flini from duct 31 engages teeth 26 at the u@iderside of reel hub 15, and is 65 woiiii(! thereori Lipon rotatioli of reel 14 iil a counter, cloekwise direction during rewinding. The reach of filni between shoulder 94 and hub 15 when subjected to tension by the rewinding action pulls roller 95 and element 96 in a clocl-,ivise d,.rection, aiid opens microswitch 97 as ind@l70 cated by the dotted lir@e Position in FIG. 7. As seen in FIG. 7, this action deenergizes so'enoid 55 allowing springs 50' to move the drive mearl-s'to its neutral posit;on. T@ie rewind mechanism is then moved into its in. operative position due to gravity and the frictional force 75 between film Is and roller 64. 'V@hen the rewind mech-

[3]

5 anism reaclies its iiioperative POsition roller 64 is relatively clear of film 18 so that film 18 is rewound on supply reel 14 with essentially no resistance from the rewi.,id mechanism. If desircd, the drive system for projector 10 niay be designe d so th,,it microswitch 97 in its position "O" will cal-@se tlle drive system to dr;ve supply reel 14 at a hi-h rate of speed for faster rewinding as is old in the art. When the projector switch 87 is moved fror@i its "Oii" position into its "Off" position to shut off the projector, actuating element 77 is mov,-d in a clockwise direction, causing its ciid to cam ari-n 81 against its spring 85 until element 77 is moved past shoulder 34. When this occurs, ai-m 81 is urged by its sprin.- 85 against the bottom of slot 79, and shoulder 84 releasably holds actuatilig element 77 with switch 75 in its normal positio-@i "A";as seen in FIG. 1. To operate the projector from its shtit off position, the operator will initially place a takeup reel 21 on takeup shaft 13, and a supply reel 14 of film 18 on suPPIY shaft 12. The operator will then move projector knob 87 from an "Off" position to the "On" position energizing a projector drive motor, which may be motor 49 or a separ,,Ltor motor, not shown, for driving the supply.and takeup reels 14, 21 respectivel@y throigh slip clutches as is well known in the art. The operator will t@en lake the leadin.end of film 18 and insert it between film guide 26 and di-ive sprocket 17. The drive sprocket 17 will enga.- e the film perforations and transport film 18 through film guide 26 into film gate 19 where the film pulldown mechanism will advance the filmintermittently one frame at a time for projection. The film 18 leaving film gate 19 passes th.-ou,-h film guide 27 and over drive sprocket 17' which transports th- film through film duct 23 and along passageway 30. The leadin.- end of film 18 strikes the end of arm 31 and urges the arm against the bias of its spring 85 out of passageway 30. This r.-leases actuating element 77 which drops into engagement with the edge of film 18 as seen in FIG, 4, moving microswitch 75 into position "B." Since "A" and "B" are connected (see FIG. 7), no change in projector operatioii results. The film endis directed towards hub 22 of take-up reel 21 and is automatically caught by teeth 23 thereon for winding the film on take-up reel 21. After all of the film has been projected, the trailing end of film 18 releases actuating element 77 and arm 81 wbich drop into slot 79 as seen in FIG. 5, moving microswitch 75 to position "C" and closing off passageway 30. This deenergizes soleiioid 54 and energizes solenoid 55 for driving disk 46 and shaft 45 in a clockwise direction so ttiat roller 64 is driven in a counterclockwise direction (see FIG. 5). Iminediately, by virtue of the rotation of ring 42, and the spring 71 and disk 69 con@iection, the arn-is 62 and roller 64 are moved as a unit lin a clockwise direction causing ring 42 to urge the trailing end of film 13 against idler roller 65. The rubber r@@'ng 42 ti-ansports the filiii through passa,-eway 38' and into eng-.geiiient with the teei,h 16 o-i hub 15 of supply reel 14 whicil automatically rewinds the 'ilm 18 th,creon. As as soon as the trailing end of the i'llm becomes attacbed to '@itib 15 and tension is applied to the reach of film extending between shoulder 94 and reel hub 15, the tensioned film urges microswitch 97 into position "0," deenergizing soleiioid 55. Spring 50' moves sleeve 40 Pnd roller 47 into the;r neutral position in wiaicli disk 46 is not driveii. Coiiseqtiently arms 62 and roller 64 are moved as a uiiity by virttie oL' gravity, and the pull of filni 18 in a coi-iiiterclo--kwise direction irto its inop-,rative position withdrawing ring 42 froi-n roller 65 so that it will not presont any significant resistance to the rewinding of filni IS onto supply reel 14. The invention has been described in deta;l w'lth particular reference to in illustrtted embodin-lent thereol', btit it will be understood that variations and modificatio-ns can be effected witbin th.e spirit and scope of the invention as describ@-d hereinabove and as de.Qned iii the appeiided claims. 3,184,130 6 We

Как компенсировать расходы
на инновационную разработку
Похожие патенты