заявка
№ US 0003031529
МПК H04H20/88

Номер заявки
3749995
Дата подачи заявки
21.07.1958
Опубликовано
24.04.1962
Страна
US
Как управлять
интеллектуальной собственностью
Чертежи 
2
Реферат

Формула изобретения

claimed is: t,5 1. In a superheterodyne re@eiver for amplitude-modulated, quadraturo-phased carrier multiplex signals, said receiver including a heterodyne n-iixer responsive to said multiplex signals, a local oscillation generator for supplying a heterodyning signal to said niixer, first and second (;o synchronous detectors, means connecting the output of said heterodyne mixer to a first input of each of said synchronous detectors, a reference signal generator, and means for supplying the output signal of said reference signal generator to second inputs of said first and second 65 synchronous detectors, the relative phase angle at said first detector between the signals supplied by said reference oscillator and one of the quadrature-phased carrier signal components differing by 90 electrical degrees from the relative phase angle at said second detector between 7o the signal supplied by said reference osciflator and the same one of said carrier phase si,-nal components, means for maintaining a preselecte,d phase-frequency relationship between the output signal of said reference signal generator and the heterodyne signal at the output of said 75 mixer, said last-mentioned means comprising means con-

9 nected to the output circuits of said first and second synchronous detectors, respectively, and providing a signal derived from the direct current components of the output signals of said first and second detectors and representative of the difference in the magnitudes of the direct current components of the output signals of said first and second detectors, respectively, means connected to saidlast-mentioned means and to one of said two generators for controlling the phase and frequency of th-- signal supplied thereby in accordance with the magnitude and polarity of said signal representative of said difference and iii a direction to niinimize said difference. 2. In a superheterodyne receiver for amplitud,e-modulated, carrier-multiplex, stereophonic program signals, said receiver including aheterodyne mixer, a local oscillation generator associated with said heterodyne mixer, first and second synchronous detectors receiving signals derived from the output signal of said heterodyne mixer and a reference signal generator f6r supplying the demodulating reference signals to said two synchronous detectors, the phase and frequency required of the signal from each of said generators being dependent upon the phase and frequency of the signal supplied by the other of said generators, signal responsive phase and frequency control means associated with one of said generators, means for supplying to flirst and second inputs of said phase and frequency control means signals derived from the direct current components present at the outputs of said first and secbnd detectors and representative of the rnagnitudes of 'Lhe direct current components present at the outputs of said first and second detectors, respectively, said frequency control racans being arranged to alter the phase ,and frequency of the signal supplied by the generator with which it is associated in a direction to equalize the magnituldes of said direct current components at the output of said two detectors. 1 3. A radio receiver system for separating information signals multiplexed on two differently phased carrier signals of the same frequency into separate information chaniiels, said receiver system including first and second synchronous detectors, means for supplying said multiplex si.-nal to one input of each of said synchronous detectors, -a reference signal oscirator, means for supplying the output signvl of said oscillator to said first synchronous detector in a first phase and to said second synchrOnOus detector in a second phase, the difference between said first and second phases being equal to the phase difference between said differently phased carrier signals, means for niaintaining a predetermined phase relationship between the output signal of said reference oscillator and one of the multiplex carrier signals supplied to said two synchronotis detectors, said last-mentioned means comprising first and second low pass filters connected to the outputs of said first and second synchronous detectors, respectively, signal combining means connected to the outputs of said low pass filters, said signal combining means providing an output signal haviitig an amplitude and polarity which is indicative of the relative magnitudes of the signals passed by said low pass filters, signal responsive variable reactance means connected to the output of said combining means, said variable reactance means being connected in circuit with said reference oscillator thereby to control the phase and frequency of the signal generated thereby. 4. A radio receiver system for separating information signals inultiplexed on two differently phased carrier signals of the same frequency into separate information channels, said receiv,-r system including aheterodyne mixer circuit, a local oscillation generator associated with said heterodyne mixer circuit, means for supplying said multiplex signal to said heterodyne niixer circuit, first and second synchronous detectors, means for supplying th-output signal of said heterodyne mlxer to one input of each of said synchronous detectors, a reference signal generator, means for supplying the output signal of said 3,03i,5@1) 10 reference signal generator to said first synchronous detector in a first phase and to said second synchronous detector in a second phase, the difference between said first and sec6nd phases being equal to the phase difference between said differentiy phased carrier signals, and means for maintaining a predetermined phase relationship between the output signal of said reference oscillator and one of the rnultiplex carrier signals supplied at the input of said two synchronous detectors, said last-mentioned lo r@ieans comprising first and second low pass futers connect,-d to the outputs of said first and second synchronous detectors,- respectively, signal combining means connocted to the outputs of said low pass filters, said signal combining means providing an output signal having an ampli15 tude and poldrity,@vhich is indicative of the relative magnittides of the signals passed by said low pass filters, signal responsive variable reactance means connected to the outptit of said combining means, said variable reactance means being connected in circuit with one of said gen20 erators thereby to control the phase and frequency of the signal geiierated thereby. 5. A radio receiver as in claim 4 wherein said variablereact@,nee nieans is associated with said local oscillation gerierator, said radio receiver further comprising frequency 25 control means associated with said reference signal generator for maintaining the signal generated thereby at a preselected frequency. 6. A rad:@o receiver system as in claim 4 wherein said variable reactance means is associated with said reference 30 signal generator, said radio receiver further comprising automatic frequency control means associated with said local oscillation generator f6r maintainin.- the carrier frequency component of the signal at the output of said heterodyne mixer at a preset frequency. 35 7. A radio receiver system for separating information sigiials multiplexed on two differently phased carrier signals of the same freqiiency into separate informalion channels, said receiver system including first and second synchronous detectors, coupling means for supplying said 40 multiplex si-nal to one input of each of said synchronous detectors, a reference signal oscillator, coupling means for supplying the output signal of said oscillator to said first and second synchronousdetectors, at least one of said two last-mentioned coupling means including phase 45 shift means, the phase shift provided by said phase shift means being such that the phase angle bet,,veen the signal from said oscillator and one of said carrier signals at one of said detectors differs from the phase angle between the signal from said oscillator and said sarne carrier at the 5( other of said detectors by the difference in phase between said differently phased carrier signals, means for maintaining a predetermined phase relationship b-@tween the output signal of said reference oscillator and one of said multiplex carrier signals supplied to said two synchronous 5,r) detectors, said last-mentioned means comprising signal combinin.- means having first and second inputs, means prov;.ding a direct current connection between said first and second inputs of said signal combining means and the outputs of said first and second synchronous detectors, 60 respectively, said signal combining means providing an output signal having an amplitude and polarity which is indicative of the relative magnitudes of the signals supplied to said first and second inputs thereof, signal responsive phase-frequency control means connected to the out65 put of said combining means, said phase-freqlency control means being coiinected to said reference oscillator thereby to control the phase and frequency of the si.-nal generated thereby. 8. A radio receiver system for separating information 7o signals multiplexed on two differently phased carrier Signals of the same frequency into separate information channels, said receiver system including a heterodyne niixer circuit, a local oscillation generator associated with said heterodyne, mixer circuit, means for supplying said multi75 plex-signal to said heterodyne mixer circuit, first and sec-

ond synchronous detectors, coupling means for supplying the output signal of said heterodyne mixer to one input olf each of said synchronous detectors, a reference signal generator, coupling means for supplying the output signal o,f said reference signal generator to said first and second 5 synchronous detectors, at least one of said tv;o last-mentioned coupling means including phase shift means, the phase shift provided by said phase shift means being such that the phase an,-le between the signal from said oscillator and one of said carr@.er signals at one of said de- 10 tectors differs from t@ie phase angle between the signal from said oscillator and said same carrier frequency signal at the other of said detectors by the difference in phase between said differently phased carrier signals, and means for mainlaining a predeterr@i@ined phase relationship be15 tween the output si,-nal of said reference oscillator and one of the multiplex carrier signals supplied at the input of said two synchronous detectors, said l ast-mentioned means compris;ng signal combining means having first and second inputs, means providing a direct current con20 nection between said first and second inputs of said signal combining means and the outputs of said first and second synchronous detectors, respectively, said si.-nal combining means providing an output signal having @n amplitude and polarity which is indicative of the relative magnitudes 25 eL the signals supphed to said first and second inputs thereof, signal responsive phase-frequency control means connegted to the output of said combining means, said phase-frequency control means being connected to one of said generators thereby to control the phase and frequency 30 of the signal generated thereby. 9. A radio receiver system for separating information si.@nals multiplexed on two differently phased carrier signals of the same frequency into separate information channels, said receiver system including first and second 35 synchronous detectors, coupling means for supplying said multiplex signal to one input of each of said synchronous detectors, a reference signal oscillator, coupling means for s-applying the output signal of said oscillator to said first and second synchronous detectors, at least one of 40 said two last-mentioned coupling means including phase shift means, the phase shift provided by said phase shift means being such that the phase an.-le at one of said detectors betweea the signal from said oscillator and one of said carrier signals differs from the phase angle at the other of sa-"d detectors betn@ieen the signal from said 45 osciflator and said same carrier signal by the difference in phase between said differently phased carrier - signals, means for maintai--tiing a predetermined phase relationship between the output signal of said reference oscillator and 50 one o,f the mi-iltiplex carrier signals supplied to said two synchronous detectors, said last-mentioned means comprisiii.- first and second low pass filters connected to the (utputs of said first and second synchronous detectors, respectively, signal combining means connected to the outputs oi. said low pass filters, said signal combining r) 5 means providing an outdut signal having an amplitude and polarity which is indicative of the relative magnitudes of the sigrals passed by said low pass filters, signal responsive variable reaelance means connected to the output of said combining means, said variable reactance means 60 being connected in circuit with said reference oscillator thereby to control tl-ie phase and frequency of the signal generated thereby. 10 ' A radio receiver system for separating informa- 65 tion si.-nals multiplex on two differently phased carrier signals of 'che same frequency into separate information channels, said receiver system including first and second synchronous detectors, couloling means for siipplying said mtiltiplex signal to one input of each of sai@i synchronous 7 detectors, a reference signal oscillator, coupling means 0 for supplying the output signal of said oscillator to said first and second synchronous detectors, at least one of said two last-mentioned coupling means including pl@ase 12 means being such that the phase angle between the signal from said oscillator and one of said carrier signals at one of said detectors differs from the phase angle betiveen the signal from said oscillator and said sanie carrier si.-nal at the oth--r of said detectors by the difference in phase between said differently phased carrier signals, means for maintaining a predetermined phase relationship bet,,veen the output signal of said reference oscillator and one of the multiplex carrier signals supplied to said two synchronous detectors, said last-mentioned means comprising frst and second low pass filters connected to the outputs of said first and second synchronous detectors,- respectively, signal combining means connected to the outputs of said low pass filters, said signal combining means providing an output signal having an amplitude ard polarity which is indicative of the relative magnitudes o'L the signals passed by said low palss filters, signal responsive phase-frequency control means connected to the oil-tput of said combining means, said phase-frequency control means being connected to said reference oscillator to control the phase and frequency of the signal generated thereby. II. A radio receiver system for separating information signals multiplexed on two differently phased carrier signals of the same frequency irto separate information channels, sa:d receiver system including a heterodyne n-@xer circuit, a local oscillation geiierator associated with said heterodyne mix,-r circuit, means for supplying said multiplex signal to said hetbrodynd mixer circuit, fitst and second synchronous detectors, coupling means for supplying the output signal of said heterodyne rhixer to one input of oach of s@id synchronoiis detectors, a reference signal generator, coupling means for supplying thd output signal of said reference signal generator to said first and second synchronous detectors, at least one of said two last-mentioned coupling means including phase shift means, the phase shift provided by said phase shift means beinsuch that the phase angle between the signal from said oscillator and one of said carrier signals at one of said detectors differs from the phase angle between the signal from said oscillator and said same carrier signal at the other of said detectors by the difference in phase between said differently phased carrier signals, and means for maintaining a predetermined phase relationship between the output signal of said reference oscfflator and one of the multiplex carrier signals supplied to the input of said two synchronous detectors, said last-mentioned ineans comprising first and second low pass filters connected to the outputs of said first and second synchronous detectors, respectively, signal comb' ' ted nung means conne6 to the outputs of said low pass filters, said signal combining means providing an output signal having an amplitude and polarity which is indicative of the relative magnitudes of the signals passed by said low pass filters, signal responsive variable reactance means connected to the output of said combining means, said variable reactance means being connected in circuit with one of said generators thereby to control the phase and frequency of the signal generated thereby. 12. A radio receiver system for separating information signals multiplexed on two diff-crently phased carrier signals of the same frequency into separate information channels, said receiver system including a heterodyne mixer circuit, a local oscillation generator associated with said heterodyne mixer ci@cuit, means for supplying said multiplex si.-nal to said heterodyne mixer circuit, first And second synchronous detectors, coupling means for supplying the output signal of said heterodyne mixer to one iilput of each of said synchronous detectors a reference signal generator, coupling means for supplying, the ouLpLit signal of said reference signal generator to said first and second synchronous detectors, at least one of said two last-mentioned coupling means @ including phase shift means, the phase shift provided by s aid phase shift means, the phase shift provided by said phase shift, 7r, shift nieans being such that the phase angle at one of

13 said detectors between the signal from said oscillator and one of said carrier signals differs from the phase angle at the other of said detectors between the signal from said oscillator and said same carrier signal by the difference in phase between said differently phased carrier signals, and means for maintaining a predetermined phase relationship between the output signal of said reference oscillator and one of the multiplex carrier signals supplied at the input of said two synchronous detectors, said lastmentioned means comprising first and second low pass filters connected to the outputs of said first and second synchronous detectors, respectively, signal combining means connected to the outputs of said low pass filters, said signal combining means providing an output signal 3,031)529 14 having an amplitude and polarity which is indicative of the relative magnitudes of the signals passed by said low pass filters, signal responsive phase frequency control means connected to the output of said combining means, said phase-frequency control means being connected to one of said generators thereby to control the phase and frequency of the si.-nal generated thereby. References Cited in the file of this patent 10 UNITED STATES PATENTS 1,666,158 Affel ---------------- Apr. 17, 1928 2,467,361 Blewett -------------- Apr. 12, 1949 2,812,431 Adler ---------------- Nov. 5, 1957 2,916,545 Baugh ---------------- Dec. 8, 1959

Описание

[1]

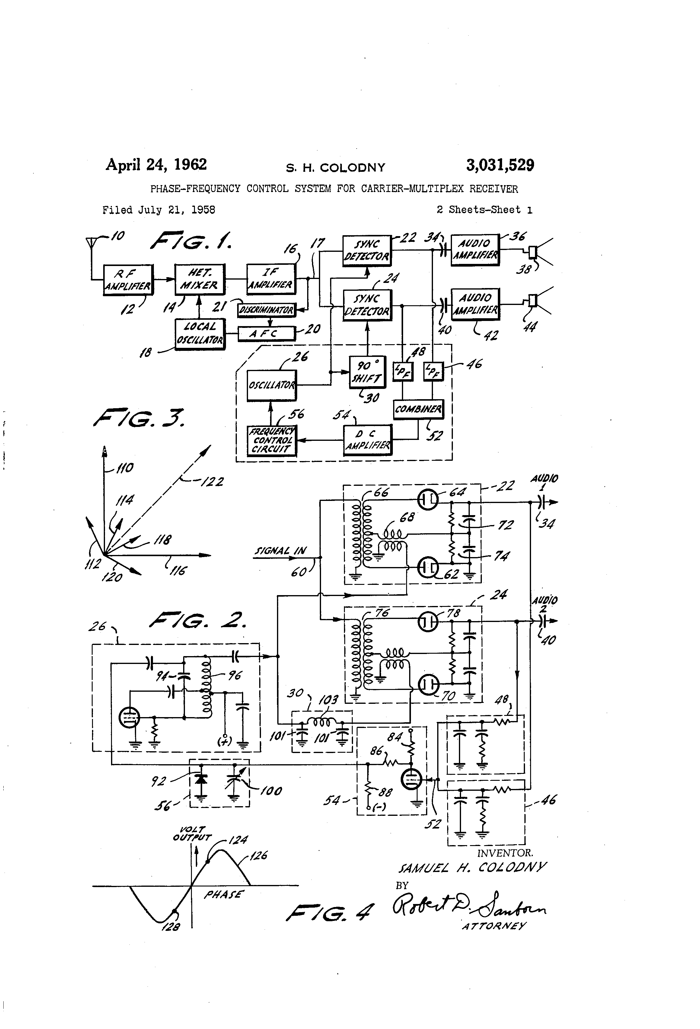
United States Patent Office 3@031,529 3,031,529 PHASE-FREQUE, NCY CONTROL SYSTEM FOR CARRIL, R-MULTIPLEX RECEIVER Samuel H. Colodny, Levittown, Pa., assignor, by mesne . assignments, to Phileo Corporation, Philadelphia, Pa, 5 a corporation of Delaware Filed July, 21, 1958, Ser. No. 749,995 12 Claims. (Cl. 179-15) The present invention relates to radio receiver systems 10 and more particularly to single channel multiplex receivers for binaural or stereophonic program signals. It is known that the reproduction at a distance of orchestral performances, operas, stage plays and many other programs is more realistic and enjoyable if the 15 reproducing systein provides binaural or stereophonic sound rather than monaural sound from a single speaker system. As is well knomin, the binaural or steteophonic reproduction of a performance requires that the sound be detected at two spaced points and played back through 2 0 correspondin-jy spaced reproducers. A distinction is sometimes made bet@veen stereophonic and binaural reproduction based on the type and spacing of the audio reproducers employed at the receiving end. Since the present receiver is adaptable for use with either @ystedl 2 ,5 the terms "binaural reproductioe' and "stereophonic reproduction" will be treated as synonymous in this specification. Preferably the signal representing the sound detected at each of the spaced points is supplied only to the corresponding reproducer at the distant location. This 30 essentially requires a separate information channel from each microphone at 'Lhe program site to the corresponding reproducer at each receiving site. The frequency restrictions imposed on radio broadcasting stations do not perniit dual channel operation of the radio station to carry the 35 -two signals necessary for stereophonic broadcasting. Tberefore at the present time stereophonic broadcasts are limited to locations in which two radio @ stations are under common ownership or control. The usual practice at the present time is to send one channel of a stereophonic 1 0 broadcast by way of an amplitude modulated radio station and to send a second channel of the stereophonic broadcast by way of an associated frequency modulated radio station. This system requires a large investment in equipment at -the transmitting end and two complete radio 45 receivers at the receiving end. Systems have been proposed in the past for sending the two stereophonic signals over a sin,-:,le amplitude modulated radio channel with a resultant saving of equipment both at the transmitting station and at each receiving 5 0 location. In a&cordance with the teachings of the prior art, the two stereophonic program signals @may be sent over a single radio frequency channel and then separated into their respective audio channels a@t the receiver by modulating the two program signals on quadrature phased car- 55 riers which are linearly combined before being transmitted. That is, a signal at the carrier frequency assigned to the station is modulated with one of the two stereophonic program signals while at the same time a signal of the same carrier frequency but of quadrature phase is 60 modulated with the second of the two stereophoiiic program signals. Tbetwo modulated carrier signals are then linearly combined to prevent intermodu a n. bined signal is then broadcast over the channel a that station. At the receiver the two stere gram signals are separated by supplying the ree 65 nals to two synchronous detector circuits. chronous detector is supplied with a reference signal of one phase and frequency and the other synchronous dethe tector circuit is supplied with a reference signal of 70 same frequency but in quadrature phase with the first reference signal. Patented Avr. 24, 1962 The system just described requires only one high power transmitter at the sending location and only one radio receiver at each receiving location. Therefore this system represents a considerable saving in equipment both at the broadcasting location and at each receiving location over dual station systems now in operation. A single channel multiplex stereophonic system also utilizes only one channel per program instead of the two channels now required for each stereophoiiic broadcast. The single channel multiplex syst6m just described shares the advantage with the dual station system of stereophonic broadcasting that the stereophonic broadcast can be received on a conventional amplitude modulated receiver as a monaural signal. It can be shown that the geographic range of monaural reception of a stereophonic broadcast is substantially the same as the range of recel)tion of a monaural broadcast of the same total power. Also, the geographic range of stereophonic- reception is substantially the same as a range of monaural reception owing to the greater efficiency of synchronous detectors over the, envelope detectors normally eriiployed in commercial amplitude modulated broadcast receivers. Despite the many obvious advantages of the single channel multiplex system of stereophonic broadcasting it has not been received with favor by radio broadcasters for the reason that, in the past, it has been difficult and expensive to construct radio receivers which could generate the demodulating reference signals with the necessary precision in phase and frequency. The reference signals must have a phase and frequency which is directly related to the phase and frequency of the individual carrier signals employed at the transmitter. Typical binaural multiplex receiving systems of the prior art employ extremely narrow band filters for separating the received carrier from the sidebands. The separated carrier is employed as the reference signal or is used to synchronize a reference signal generator. Since very narrow band filters are required in such systems it is difficult if not impossible to tune the receiver from one broadcast channel to another. Tberefore binaural receivers of the @rior art are generally single channel, fixed-tuned receivers. Other means for generating or synchtonizing the required reference signals have been proposed but they are generally more complex than the nArroAv band fflter systems mentioned above and they are equally difficult -to adapt to tunable radio receivers. Therefore it is an object of the present invention to provide an improved receiver for single channel multiplex reception of two stereophonic program signals. It is a further object of this invention to provide an improved receiver for single channel multiplex signals which can be readily tuned tb different stations. Still another object of th6 present invention is to provide a receiver of single channel multiplex sterebphonic signals which does not require narrow band filters for carrier separation. In general, these objects o-f the invention are achieved by employing two synchronous detector circuits each ener@ gized by the same received signal and by quadrature phased reference signals. The direct current components present at the outputs of the tvio demodulators are combined to form a frequency control signal. This frequency control signal is supplied to the refereiiee signal gelerator to control the phase and frequency there6f. In tunable superheterodyne receivers the control signal may be siipplied to either the reference signal generator which supplies the synchronous detectors or to the loc@l oscillator which supplies a signal to the first heterodyned detector. In one erred embodime'nt of the invention -additional means, t 11, pref cn ro d by the received signal, may be provided for setting the initial frequen.cy of the control oscillator to

[2]

approximately the 13roper value for synchronbus detection of the received signal. For a better understanding of the present inventio-@l together with other and further objects thereof referetice should now be made to the following detailed description 'y@hich is to be read in conjunc.tion with the ae-companying drawings in which: FIG. I is a block diagram of a preferred embodiment of the invention; FIG. 2 is a schematic drawing of a pprtion of the circuit of FIG. 1; FIG. 3 is a vector diagram which represents the signal c(>mponents of a single channel multiplex stereophonic signal; FIG. 4 is a plot of the control characteristic of t@le phase-frequency control portion of FIG. 2; FIG. 5 is a block diagram of a second preferred embodiment of the invention in which frequency of the local oscillator is controlled by the output of the synchronous detectors; and FIG. 6 is a block diagram of a preferred embodiment of the invention in which the initial frequency of the reference oscillator is controlled by the received signa-I supplied to the inputs of the synchronous detectors. The embodiment of the invention shown in FIG. I is a superheterodyne receiver which may be conventional from the antenna through the intermediate frequeiley amplifier. The receiver shown in FIG. I comprises a receiving antenna 10 which connects to the input of the tuned radio f.7equency stages 12. The radio frequency stages 12 are followed by heterodyne mixer 14 and intermediate frequency amplifier 16. In accordance with conventional practice heterodyne mixer 14 is supplied with a local oscillator signal from local oscillator 18. An automatic frequency control 20 is connected to local oscillator 18 to prevent the frequency of oscillator 18 from drifting. A reference signal for automatic frequency control circuit 20 may be supplied by a discriminator 21 which receives an input signal from the out t of intermediate frequency PU amplifier 16. As, will be explained in more detail presently it is preferable but not absolutely necessary that local oscillator 18 maintain a. fixed frequency. However the time rate of c-hange of firequency of oscillator 18 should be held to a low value., Except for the automatic frequency control 20 which is not now normally employed in superheterodyne receivers, the circuit thus far described is conventional in form. The radio frequency amplifiers 12 may be omitted in accotdance with com-mercial practice if the added sensitivity and selectivity provided by these stages are not required. The outpvt si.-nal of intermediate frequency - ainpliqer 16 is su ied to the inputs o@ two synchronous detectors I PPI 22 and 24. Synchronous detectors 22 and 24 are supplied with a refere4ce signal b 0 cillat r 26. The signal froiii 'Y s oscillator 26 is supplied directly to synchronous detector 2;. However the reference signal tlo synchronous detector 24 is s4pp@ied by way of a 90' phase shifter 30@ The fre@ quency of oscillator 26 is made equal to the intermediate frequency carrier component of the received signal so that the signal at the output of detectors 22 and 24 is the demodulated audio signal. As will be explained in more detail presently, if oscillator 26 has the proper frequency and phase, the output signal from synchronous detector 22 represents one of the,two stereophonic program signals present on the received carrier and the output signal from synchronous detector 24 represents the second of the two stereophonic program signals present on the received carrier. The output circuit of synchronous detector 22 is connected through a D.C. blocking capacitor 34 to an audio ftequency amplifier 36. A speaker 38 is provided for converting the electrical signal supplied by audio amplifier 36 into sound waves for audio recpption. Similarly, th(@ oLtput circuit of synelironous detector 24 is connected through a capacitor 40 to an amplifi&r 42 and speaker 44. The output circuit s of synch ronou s detect ors 22 and 24 are conne cted also throug h low pass filters 46 and 43, respecti vely, to a combinin g circuit 52 ' The time constant s of filter circuits 46 and 48 are selected to be long compare d to a period of the lowest atidio compon ent so that all audio frequenc y program compon ents present in the output of synchro nous detector s 22 and 24 are excluded 10 from combine r 52. Obviousl y any frequenc ies above the audio range will also be excluded . It will be shown presen'L ly that whe-11 oscillator 26 has the proper frequenc y and phase for the desired multiplex operatio n of the system, the D.C. compon ents at the output of syneliron ous 15 detector s 22 and 24 will be equal in amph,'tu de. These D.C. corr@po nents may be of the same or different polarity dependin g upon the type of synchro nous detector s employe d. Combine r 52 is a eircut which combine s the two D.C. signals at the output of low pass filters 46 and 48 to 20 produce a resultant D.C. signal of zero amplitud e when oscillator 26 is at the proi)er frequenc y and phase. If the D.C. signals at the output of filters 46 and 48 are of opposite poiarity, combine r 52 - may be a simple resistive adder network. If the D.C. signals at the output of filters 46 25 and 43 are of the same polarity, combine r 52 may be a suitable subtracti on circuit. Cc,.m biper circuit 52 is ronne cted throug h a D.C. amplifi er 54 to a freque ncy contro l circuit 56. The purpo se of am , plifier 54 is to increa se the sensiti vity of the phasefre30 quency control loop being describe d. If the added sensitivit y is not required then amplifier 54 may be omitted. Frequen cy control circuit 56 is connect ed to oscillator 26 in a manner to control the phase and frequenc y of the signal - enerated by oscillator 26. 35 The synchro nous detector s 22 and 24, the oscillator 26 and the phasefrequenc y control loop for the oscillator 76 are shown in more detail in FIG. 2. The broken line rectangl es in FIG. 2 correspo nd to the blocks shown in FIG. I and therefor e have been given correspo nding ref40 erence numeral s. As shown in FlG. 2, synchro nous detector 22 is of conventi onal form. The input signal appearin g on lead 60 is supplied to the anodes of two diodes 62 and 64 in push-pidl by way of transfor mer 66. The signal from oscillator 26 is supplied in phase to the anodes 45 of the two diodes by way of transfor mer 68. Cathode load circuits 72 and 74 are connect ed in series between the cathodes of diodes 62 and 64. The stereoph onic program signal for one channel appears across the serially connect ed load circuits 72 and 74 and is supplied to 50 capacito r 34 in the manner mention ed in connecti on with the descripti on of FIG. 1. The synch ronou s detect or 24 shown in FIG. 2 is similar to detect or 22. The only differe nce betwe en detect ors 22 and 24 is that the di6des 78 and 70 are revers ed in ri, .5 detect or 24. This reversa l of the diodes change s the polarit y of the D. C. comp onent of the outptit signal of detect or 24. This is desira ble since it simplif ies the combi ner circuit 52. Rever sal of diodes 78 and 70 also revers es the phase of the audio modul ation comp onents . 60 H o w e v e r th is r e v e rs al in p h a s e c a n b e c o m p e n s at e d fo r b y in cl u di n g a n in v e rt e r st a g e in o n e of th e a u di o a m pl ifi e rs 3 6 o r 4 2 o r b y r e v e rs in g th e c o n n e ct io n s to o n e of th e s p e a k e rs 3 8 o r 4 4. Low pass filters 46 and 48 in the circuit of ,FIG. 2 65 coinprise simple resistanc e capacita nce filter circuits. Since the construc tion of synchro nous detector s 22 and 24 has been chosen to cause the D.C. compon ent of the output signal from the tNN/o detector s to be Of ODposit e polarity, the combinin g circuit 52 of FIG. I may be sim70 ply a common connecti on to the output of filters 46 and 48, Adequat e audio frequenc y isolation between the outputs of the two synchro nous detector s is afforded by the series resistanc e elements in the filters 46 and 48. The D.C. amplifier 54 of FIG. 2 compris es a single 75 stage directcoupled D.C. amplifier . 'no lo resistor. a d

[3]

84 and the output coupling resistors 86 and 88 form a potential divider b--tnveen the positive source represented by the plus sign (+) and the negative source of supply represer ited by the minus symbol (-). The values of these r.sistors may be chosen to give the proper D.C. 5 bias potential on the output lead from amplifier 54 for t',ie freqiiency con,rol circuit 56. The frequency control circuit 56 of FIG. 2 comprises a variable capacity, backbiased diode 92. Alternatively, a reactance tube may be employe d instead of diode 92. Diode 92 is connected 10 in cireiiit with the capacitor 94 in the oscillator circuit 26. Capacitor 94 togetber w:th inductor 96 form the frequency controlling tank circuit of the oscillator. A variable capacitor 100 may be provided in frequency control circuit 56 for manually adjust4-ig the desired freqtiendy of 15 oscillator 26 to approximately the mid-point of the control range of circuit 56. As shown in FIG. 2, the output of oscillator 26 is connected directly to the primary of transformer 68 in synclironous detector 22. Th-- phase shifter 30 of FIG. 2 20 which connects oscillator 26 to synchronous detector 24 compr's es shunt capacitances 101 and a series inductance 103. Any other suitable form of phase shifter may be employe d if desired. The use of synchronous detectors to separate the 25. modulati on signals present on ouadrature phase carriers is well known and therefore will be described only briefly. Turning to FIG. 3, vector 110 represents the carrier frequenc y for one of the stereophonic program channels. Vectors 112 and 1,14 represent the audio sideband compo- 30 nents of this stereophonic prograia channel. Vector 116 represen ts the carrier fr-@quency for the second stereophonic program charinel. Vectors 118 and 120 dre the sideband components of the second stereophonic program chanr@ el. The sideband components represented by vec- 35 tors 118 and 120 will be similar to the compon ents represented by vectors 112 and 114 but usually they will not be identical owing to the fact that they are picked up by different microphones at different locations with respect to the source. The carrier signals represented by vectors 40 110 and 116 are of t'qe same frequency and therefore wiU appear as a resultant carrier frequency 122. The signal appearing at antenna 10 of FIG. 1 may be represen ted by vectors 112, 114, 118, 120 and the resultant carrier vector 122. The vector diagram of FIG. 3 45 may also be employed to represent the signal at the output of Ir- ampliiier 16. Passing the signal received at antenna 10 throtig,i heterodyne detector 14 merely changes the frequencies of the signals represented by vectors 112, 114, 118, 120 alnd 121 It will also cause these 5,0 vectors to have absolute phases determined by the phase of the local oscillation signal supplied by oscillator 18. Howeve r the relative phase and frequency relationships between the carrier vector 12Z and t,he sideband vectors 112, 114, 118 and 120 will not change. 5,1 The operation of syiiehronoiis detectofs 22 and 24 depends upon the insertion into detector 22 of a reference si.-nal from oscillator 26 which is in phase with the intermediate frequency counterpart of the original carrier ve-.tor I 10. In accordance Nvith well known heterody-qe 60 detectio n theory the sideband components 112 and 114 will combine with a reference signal which is in phase with vector 110 to produce the desired audio frequency compon ents. The c6mbination of the sideband coniponent redreseiited by vector I'@8 with a reference - compo- 05 n.ent represented by vector 110 will produce an audio compolie nt v@h;ch has a@n amplitude eqtial to the amplittide of the audio cornponent produced by the,combination of the sideband 120 with, the signal represented by vector 110. However the phase of t'le component r epresented 70 by vector @118 wil.1 be 180' opposed to that represented by vector 120. T'herefore the ;deband components of the original vector 116 will produce no net output when combine d wit'i a reference signal which is in phase with vectorlI O. Similarlyarefere-Licesignalwhich isinphase 7r, 6 with the carrier signal represented by vector 116 will provide an output signal derived from sidebands 118 and 120 but no output signal derived from sidebands represented by vectors 112 and 1-14. The two synchronous detectors 22 and 24 therefore separate the modulation components which we,re present in one radio frequency channel into two separa'te audio frequency channels where they may be utilized by amplifiers 36, 42 and speakers 38 and 44 to reproduce the desired stereophonic sound. The direct ctirrent comp6nent of the signal at the output of each of the detectors 22 and 24, respectively, has an amplitude which is a function of the angle between the reference voltage supphed to that detector and the resultant carrier signal which is represented by vector 122. This D.C. component will vary from a maximur@i if the reference voltage is in phase with vector 122 to zero if tlle reference signal is 90' out of phase with vector 17,2. If the frequency and phase of oscillator 26 is such that the signal sudplied by oscillator 26 is in phase with the signal. represented by the ori.-inal carrier vector 110 and so that@ the signal supplied by phase shifter 30 is in phase with the original carrier vector 116, the average D.C. signal at the output of detectors 22 and 24 will be equal in amplitude. As a result the output voltage of combiner circuit 52 will be zero if oscillator 26 is at the proper frequency and phase. If the phase of osciflator 26 changes so that it no longer corresponds to that of vector 110, the average D.C. components of the output sional from detectors 22 and 24 wfll no longer be equal. FIG. 4, is a plot o'L phase vs. voltage output for t]@ecoitibin@-r circiiit SZ. As shown by curve 126 in FIG. 4, if the phase of, the signal from oscillator 26 changes in one direct;on the positive o-,itput signal supplied by one of t7ne detectors will be greater than the negative signal supplied by the other detector so that a positive signal will appear at the output of combiner circuit 52. One possible operatina poiiit is represented by the point 124 on curve 126. - If the phase o'L the signal from oscillator 26 chay-.ges in the opposite direction a negative s-gnal will appear at the output of combi-@ler circuit 52 as represented by the point 128 on curve 126. The phase of the signal at 'Lhe output of oscillator 26 is controlled by controllin.- the net capacitance in the tank circuit of tnis oscillator. That is, the positive or negative signal supplied by combiner circuit 52 will produce a corresponding variation in the potential appearing at the junction of resislors 86 and SS of D.C. amplifier 54. Tnis si,--tial from amplifier 54 is supplied to the back bias diode 92 in frequency control circuit 56 to change the c,,)pacitance of diode 92 in a direction to restore the desired phase relationship. It inali be helpful in understanding @he operation of th;s 6ircuit to assume that if the signal from osculator 26 is lag,-ing behind its proper phase, the freqiie-@icy of oscillator 26 will be momentarily increased due to tlie cliange in tank ciredit capacitance until the desired phase cond:@tion has been restored. As mentioned earlier, the intermediate frequency signal wtiieh is supplied to detec'ors Z2 and 24 has a phase wnich is determined by the i@ase of the signal supplied by the local oscillator 18. 'Fh-,refore the phase of oscillator 26 is locked to the phase of the IF carrier component. If the local oscillator 19 drifts in frequency or phase, frequency control circuit 56 will control the frequency alid phase of osc;llator 26 to again reestablish the desired phase relationship. It is obvious that automatic freqtiency control 20 need only ma@intain the frequency of local oscillator 18 within the control range of circuit 56. The circuit of FIG. 5 is very similar to the circuit of FIG. 1. Corresponding parts have been -i@,en corresponding reference numerals. In the eireiiit of FIG. 5 the output of the frequency control circ,,iit 56 is coniiected to local os--illator 18 rather than to the refereiice oscillator 26. Oscillator 26 has been provided with a freqliency control circuit 140 for maintaining the frequency alid phase of oscillator 26 rela-

[4]

tively co'nstant. Circuit 140 may be, for example, a crystal control ci.-ciiit or a suitable form of frequency controuing feedback circuit. As mentioned earlier oscillator 26 iiiust have a frequency equal to the carrier frequency component of the IF signal and must have a phase corresponding to the heterodyne phase of the ori,@inal carrier which is represented by vea@tor 110 in FIG. 3. The phase of theheterodyne carrier depends upon the phase of the signal supplied by local oscill-,itor 18. Therefore it will be seen that the desired phase and frequency relationship between the signal supplied by local osc"Ilator 18 and sigaal supplied by oscillator 26 may bc obtained by controlling frequency and phase of local oscillator 18 while maintaining oscillator 26 at a fixed frequency. Since the freqeuncy of the local oscillator signal is subtracted from the frequency of the -incore@i@-ig signal to provide the interinediate frequency signal it may be necessary to provide an add-itional inverter sta-,e in the phase-fre(Taency loop or otherwis.- alter the sense of th@control signals in this loop so that the freqdency of the osci'@lator is corrected iii the proper direction by the signal supplied by combiner circuit 32. Since oscillator 26 normally rerlains relttively fixed in frequency regardless of the station to which the re s tuned while the frequency of operation of os Ilator 18 is changed apprec:iably in tur-ling from one station to the next it is usually more economical from an engineering standpoint to apply frequency stabilizatioii to tle fixed oscillator 26 and to apply the variable frequency control derived from combiner 52 to the variable frequency oscillator 18. Therefore while the eiribodiments of FIGS. I and 5 rilay be equivalent in terms of perform-ance the embodiment of FIG. 5 rnay be preferred as a commercial receiver because of the possible economy just mentioned. Only superliel,erodyne receivers have been shown in FIGS. I and 5. However it should be understood that, in the circuit of FIG. 1, heterodyne detector 14, IF amplifi-.r 16, local ose-@llator 18 and the associated frequency control 20 may be omitted entirely. In this case tv@o radio frequency stages 12 would comprise the station selector. Oscillator 26 would have a frequency and phase corresponding to the freqtiency and phase of one quadrature component of the resultant carrier received by antenna 10. If the circuit provides no fixed intermediate frequency si.-nal some provision must be made for varying the frequency of oscillator 26 if the circuit is to be t,ined to different statioris. FIG. 6 is a-,ain similar to a portion of the circuit shown in FIG. 1. Corresponding parts in the two figures have been given corresponding reference numerals. As will be seen detectors 22 and 24 of FIG. 6 correspond to detectors 22 and 24 of l@1G. 1. Tbe normal phase-frequency control circuit for oscillator 26 which includes low pass filters 46 and 48, combiner circuit 52, D.C. amplifier 54 and frequency control circuit 56 are all the same as in the circuit shown in FIG. 1. However, FIG. 6 iiieludes a second frequency-control circuit for oscillator 26. The second frequency control circuit includes a discriminator 150 which has a center frequency which is equal to the undeviated frequency of oscillator 26. The output of discriminator 150 is applied to the input of D.C. amplifier 54. A normally open gate circuit 152 is connected between the input lead 60 to synchronous detectors 22 and 24 and the input of discriminator 150. A low pass filter 154 is connected between the output of one of the synchromous detectors, in this case detector 24, and the control input of @ate 152. Gate 152 is so constructed that when the signal supplied by low pass fhter 154 reaches a certain amplitude level the gate 152 is di,sabled and the signal path from ilput lead 60 tO discriminator 150 is interrupted. The fuliction of the second frequency control circuit in FIG. 6 is to bring the frequency of oscillator 26 initiaily to approximately the proper value for synchronous deiiaodulation of the received signal so that the phase-irequency control loop including low pass 'ilters 46 and 48 and thc@ associated circuit.-y may take control. Th-- inclusio@i of discriminator 150 is made. necessary by the fact tl-iat the "hold-in" range ol' the phase-frequency control -toop iticILidiiig low pass filters 46 and 48 is much greater tha--.i the "pull-in" range for this circuit. I The circuit shown in FIG. 6 operates in the folloving manner. The resultant carrier signal represented by the vector 122 in FIG. 3 is supplied through gate 152 to the io discriniinator 150. If the frequency of the incoming signal is above the crossover frequency of discriminator 150, this discriminator 150 wiil sapply a signal to D.C. amplifier 54 of the proper polarity to increase the frequency of oscillator 26. I'L the frequency of the incom15 ing signal is below the crossover frequency of discriminator 150, discriminator 150 will supply a signal to circuits 54 and @56 wl-)-ich will reduce the frequency of oscilI-,itor 26. If the signal supplied by oscillator 26 is not of the proper frequency, the amplitude of the D.C. output 20 si,@nal supplied by detectors 22 and 24 will be stibstantially zero. Therefore r@o signal will be supplied by way of low pass filter 154 to the input of gate circuit 152. However as oscillator 26 approaches the proper frequency and phase the D.C. component of the signal at the output 25 of detectors 22 and 24 will increase to point where the normal phasefrequency control circuit including filters 46 and 43 can take control. At this point the increased signal supplied by low pass fflter 154 to gate 152 disables tlii's gate and removes the inptit signal from dis30 criminator 150. The auxiliary freql@ency control circuit including discriminator 150 will come into operation as the radio receiver is tuned from one station to another or when the receiver is initially turned on but will not be in operation once the receiver has locked on the desired 35 frequency. If it is desirable to provide two identical synchronotis detector-audio channels while at the same time providing D.C. output signals of different polarities at tne output fi-l'Lers 46 and 48, the phase of one of the carrier com40 ponents 110 or 116 may be reversed with respect to the associated sidebands at the transmitter. This has the disadvantage that the resultant signal is incompatible with conventional envelope detectors. The filters, synchronous detectors, amplifiers and the 45 like shovm in FIG. 2 are shown by way of examl@.e only and known equivalents may be substituted therefor without departing from the scope of the present invention. While the inventio-@i has been described with reference to the preferred embodinleiits thereof, it will be apparent ro that various modifications and other embodiments thereof Nvill occur to @those skilled in the art within the scope, of the invention. - Accordii-igly I desire the scope of my inventio-ti to be limited only by the appended claims. What is

Как компенсировать расходы
на инновационную разработку
Похожие патенты