заявка
№ US 0003000056
МПК B29C41/04

Номер заявки
3717668
Дата подачи заявки
26.02.1958
Опубликовано
19.09.1961
Страна
US
Как управлять
интеллектуальной собственностью
Чертежи 
3
Реферат

Формула изобретения

clairned is: should mesh quickly with the threads 110 of coupling 1. A spider for use with a rotational casting machine member 108 and therefore are machined to provide a comprising, a wheel4ike lower mold carrying member shght radial play (e.g. .010 inch). The lower portion Of 20 havin- a hub area adapted for connection to said mathe coupling stlid bore is preferabiy machined to receive cliine, an upper wheel-like mold carrying member resilan AHen-head bolt having a h6ad 127 and shank 128 exiently and yieldably hinged to said lower member, and tending longitudinally of the coupling stud, through the means extending between the hub areas of said members drive plate hub 120, into a threaded bore 113a in the for coupling the members together in substantially paraldrive spindle of the casting machine. 25, lel planes. When each grid member has been assembled with its 2. A spider for use with a rotational casting machine respective moid halves as described above, a stay wire 129 compt-ising, a wheel4ike lower mold carrying meniber is preferably inserted through the hexheads (41 or 61) having a hub area adapted for connection to said maof each mold half mounting screw. chine an upper wheel-like mold carrying member resil(When the spider 10 is open, the hinge springs 88 are at 30 jentl@ and yieldably hinged to said lower member, a shaft maximum extension so that the hinge pin 80 is near the . rnaled transversely of the hub area of said upper memtop.of the elongate slots 84. The upper grid member 114)' 'ou may thus be readily lowered in position over the lower grid 15. When the grids are closed, the threads 110 on the coupling member 108 will be ready for engageraent with threads 125 of the coupling stud 122. A suitable wrench (shown in dotted Unes in FIG. 3) applied to the shaft head 95 will pull the upper grid 14 parallel to and in locked engagement with the lower grid 15. The resilient mounting of the upper mold halves (Ila or 12a) and the movable mounting of the lower mold halves (llb or 12b) enables the mold halves to mate and align without injury to the mold surface during coupling of the grid members. During the casting operation, the drive forces of the casting machine are appeed to the lower grid 15 through the plate 118. Because the shank 97 of the upper grid coupling shaft is journaled in the bearin,-s 99, the drive forces of the casting machine are applied to the upper grid 14 through the resiliently mated and aligned mold halves. Thus, the drive force is applied to the upper grid at several points and distortion thereof wiR b-. compensated or equaezed. After the casting operation, the shaft head 95 is turned to disengage the coupling member 108 from the coupling stud 122. As the threads 110 and 125 part, the upward movement of the grid 14 will be stabilized by extension Of the hinge springs 88. During the opening movement, compression of the upper mold half mounting springs 29 is released so that when the coupling members are fully disengaged, the upper mold halves are lifted opening the molds without injury to the mating surfaces and freeing the molded articles from the mold cavities. Referring to IFIG. 6, when the spherical molds 11 have continuous pattem surfaces, that is, patterns or textures extending from one mold half to the other without interruption, it has been found desirable to provide raeans to ar,curateiy and quickly aegn the mold halv-,s as the spider 10 is being closed. In most uses, the upper and lower dowels 40 and 60 are sufficiently accurate. However, finely pattemed molds benefit from a very accurate alignment. Accordingly, a key lug 130 may be cast at one side of the mating flange of a lower mold half Ilb. -The key lug is machined to provide a seat for a registering pin or key 132. In cross-section, the lower end 133 of the aligning ber, and means extending between said hub areas and associated with said shaft for coupling the members together in substantially parallel planes. 35 3. A spider for use with a rotational casting machine comprising, opposed wheel-like mold carrying members resilien@ly and yieldably hinged together, one of said members having a hub area adapted for connection to said machine, the other of said members having a shaft 40 'journaled transversely of the hub area, and means extendingbetween said hub areas and associated with said shaft for coupling the members together in substantially parallel planes. 4. A spider for use with a rotational casting machine 45 comprising, a lower membef, an upper member resiliently and yieldably binged to said lower member, coupling means for locking said members together in substantially parallel planes, at least one mold section resiliently depending from said upper member and at least one mold 5o section movably mounted on said lower member in alignment with a mold section on said upper member and defining a mold cavity when mated therewith. 5. A spider for use with a rotational casting machine compnsing, a wheel-like lower member having a hub 55 area adapted for connection to said machine, an upper wheel-like member resiliently and yieldably hinged to said lower member, a shaft joumaled transversely of the hub area of said upper member, means extending between said hub areas and associated with said shaft for 60 coupling the members together in substantially parallel planes, at least one mold section resiliently depending from said upper member and at least one mold section movably mounted on said lower member in alignment with a mold section on said upper member and defining 65 a mold cavity when mated therewith. 6. In combination with a spider for use with a rotational casting machine, said spider including an upper member for carrying at least one depending mold section, a lower member for carrying at least one mold section 70 in alignment with a mold section on said upper member and defining a mold cavity when mated therewith, hinge means resiliently and yieldably connecting said upper and lower members and coupling means for locking said upper and lower members together in substantially parallel 75 planes, means for resiliently mounting a mold section

Si cycral a" ba.said uopi,-r'z)iember; comprising, a cap screw having, a@shamk- extending movably, through said@ member and- at;-@ tached- to, the- mold section, spac@r means- maintaininsaid car@ a, predttermitied' dist@nc6 from saidmold section, ana compr@@ssim mea-ns' exfending b -etween- said member 5 and- mcrld sectiontending to, move said cap- inta coiitact vvith-said.inember. 7-. Iii,-combina.tion vvith-.T @spidbr for-use with- a rotational,.Casting-machine, sai(ispjder-includifig an upper membe,r-for@carTying at-@least one dbpending mold so-,tion; a 10 lower member- ft)r carr@ing atleast- one m'old sectionin a@ligmnent:with@ x incfld'section oir said'upper member-anddeffning x inold,@ cavity when mated therewith, hinge nicans.resilientlyandyieldtLblyconnectingsaidupperand@ lowerzmembers and coupling means fbr locking said up- 15 per and lower members togethei in substantially parallel pjanes, means for.resiliently mounting a mold@ section on said'.@ upper- member,. said' mold sectionhaving- a. neck porti6n,, comprismg,. a: cap screw 'halving a shank extending movably throug@ said'member and attached'to@aid- @O neek:portion,,spacer,means maintaining said cap a7prede@ . termified- dista-ace above said neck ppr-tion, and@ a@ coiled@ spying - surrounding_said shank and said neck-portion _and' tending to mbve said' mold@ section@ away froni saidupperi me,niber. 25@ 87. Iii combiiiation with @ spider for- use- with arotational- casting machine, said spider incltiding a lower moldhalf--carry,ing niember an-,upper mold@ half carrying memb@er,, and co-upjing means@ extendiiig axially between: said' members,hinge.Means-connectin saidmembers-compri@ 30 9 irtg,, a@. fitst Pair'of. stral3s extendiiig downwardly from@: ti(e,, 64ge pf -@said'upper membei, a 8econd pair. ofstraps - extending upwardly f-tom the- @dge', of said'lower member@ eacil Ihavin& aii elong@Ltp glot, irL the up_Rerend thereof, a4ipzp,pjn carried between the.lbiver ends of said first pair Of-'Strap@ and . extendinz thrbu@h said, elon-,ate@ slots; andcompmssion,means carried-by'said. second pair, of 'strapsten 0 ding to- @m yp said hi 'nge pin away'ffom saidlower-- M.Cmb-er.. 9,'. TA- co atioii with@ a: spider- for use- with a- rota@ 40 tioxial--casting,machine, said-s-pid6r includi-ng- a lower -Trold-' ,half carrying member; an iipper mold half carrying memb.e,ri, ai3d. collpling, mean@@ extending axially betnieen sad me,mb,ers, bjiage-means connectinly said members @eompns45 ing@ -a- fikst . pait, of - st raps e,-tendindown-wardly fromth-e.@e,dge.,- bf:said,upp@pr member, a,second- pair of stradsc@@tending -upwardly, from the edge o.' said lower--membei each-having-,an elong4te, slot in the upper end thereof, a hmge,,pin -,carried between the lower ends of said fitst pair 50 qf -straps and-,extending throu,-h said elongate slots'. aplate extending between,,said second 'pair of straps,, and - coiled' spying-.nicaDs-on. said pl@tte tending_ to move saidhinge, pin @away ftom said lower member. 10,-Insornbiiiation with,a spider for use with a rot@al tiqnal@.casting machine, said spider including a lower 55 n),old balUcarTying. member, an upper mold half carry@'ng member, and-coupl-ing means extending axially between said,mbmbers,,hinge means connecting said members comprising, a fitst,pair of strap extendindownwardly 60 from-tho edge of said upper member, !a second pair of t@trap,s.-ex.tending up@vardly from the edge ef said lower mom)@cr. each.having an elongate @lot in the upper@endt,li@rcof,i a,,hinge -pin carried between the lower ends of said pair of straps and extending through said elongate 65 slot5, at least one upwardly directed-stud supportedbe@' *ecn, said second pair of straps,- at least one plun&er in abutting contact with said hinge@pin and coiled spring m@ans-ext@3nding,,,between a stud and plunger tending to nxqvejhe hinge,pin away from said lower m@emb6r.- 11, Iw.combination with-aispider for use with arota@ 70 tional castingimachi@nei @Swd@ spid6r-- irttliidin-g- Ei. vvheel4iki@ lower- mold--, carryihg. gn@d having,, a@ hub @ area: adapt6d-, t6 be@ dri*en by: said'machine@ and-- a- ivheel-Eke upper hiold carrying- grid resiliently and': yieri#bly hihged' tb,- said'@ comprismg" lower mefiiber; coupjing means for-said gri 'ds' a: shaft joumaled transversely of the hub areaof ppr -grid andhaviiig exterior threads' on the- 16wer, end-.' thereof ' and a hoflow stud--,attaqlied- to the @ hub areaOf@! said@ lower grid and havingiiiterior-threa(f@- in the@ upper' end-thereof meshing with said@ exterior threads, said s-h-aft being, rotatably engaged- with said stud- tu 16ek, saia@ gndi@together in substaniially parallel@ pjanes. - 12 ' In. combination -with a spid6r for use with- a rota@ tional casting machine, said spiddr inclild'-mg a wheel-fikblower. mold-carrying grid @having- a -hub@ area a:d@iptedto-bedriven- by said maclune and- a wheel-like- uppermold@ carryjng grid, resiliently,- and' yj6ldabl@- hingp& tb.- saidlower. member and haviilg a: -hub area with a@ tra@nsversebore, coupjing means. f6r said,grids comp.rising,. a- shaftjoumaled in bearing - seated..in said bore, a@ member hav-,, ihg exteriorthreads-att6:ched to,the,lowej7.end6f'siiid.shaft@ and a. holldw stud attached to the hub area of'said lowergrid and having,interior threads in the upper eifd t-h-eteot' @meshing with saidexterior_thread@s,,said'shaft-beina@rotat-. able to mesh said thread 's4 16eking. said' grid@ together. i @n gubstantially parall@l pl@nes. 1'3 ' In.combinatibn@with a spid@@r for use w@ith a@.rota-- tional casting machihe, said:spider,incliidiiig opppsed'up -7 Ppr and lower: members each-carrying at .16ast oiae mating! mold - half,, means for regi@tering @ said- mold- hali,,es . con3,@ pyising, a-registering, key having.,-a pointed..upppr- end-and: a. donvnwardly,, tapcred. iiiner- facing. surfdce, sai& koy. being:locatect, on -the p_eri@,her-yof. a, lbwer- rriember- r-n ol& half,,@and.a-registering latch.having an-arcuate-sl6t,f6t,: engpiging said pointed end..- and- a vertical. surface for, eiL@ g4ging, said t@pered surface, said latch bei ng locate& on, the. perip@iery, of -an:uppermember@mold.half. 1-4. In combinat' wi ion_ th,-asp@der@f6ruse-.with.a--,rota@ tional castingmachine; said sp ider including opppsed-uplrffr.-and-lower.-memberseach.carrying.at.16ast @on e..hemi,spfierical @ mold half, means f6r- registering said. mold halves. todefine, a mold. eavi@y,- coir@pxising, a registering. ke@ having a pginted upper end and a downw@ardly tap _pred inner facing surface, said,kzy being located@on the:p 'Phery,: Prr -of a4ower member, mold -half, and a,-regisrtering._ latch, h aving- air @arcuate slot for engaging@ saidppinted. end, and a @ vertiral surface for - engaging - said. tappred surface, said, latch being@ located on the pe@@ilery of ;an. upper -meinber mold ihalf-, References Cited in the file of'this p4tent UNITED STATES PA-TENTS 258"858@ Locke ------------------ May 30,:1882. 7Z3'998. Fdagan -- I I ------------- Mar.- 31 1903' 841,962 Hardy ----------------- Jan. 22, 1907'-- 11575,688 J6annides@ -------------- Mar @ 9, 19Z6-' 1 773,810 Fdirchild I -------------- Aug.'26, 1930- 1 890,969 Carter ---------------- Dec. 13@, 1932' 1'921,925 Johhson ---------------- Aug. 8; 1933-' 21@262,143 Kelm ---------------- Nov. 11, 1941] 2,298,057 K61m ------------------- 06t. 6, 1942 Z,443,826 Johnson@ --------------- June 22,,1948@ 2,448,640- WestOn ----------------- Sept@ 71 1948 2,469,892- ]@:empei --------------- May 10, 1949' 2,624,072 Delacoste'et:al ------------ Jdn. 6, 1953-1 2,745@113,8@ Beattie ----------------- May 15, 1956@ OTHER. REFERENCES Z*eig., "Rotational. Molding of Plastisols M6dern PlAstics,@ S@ptember 1955.

Описание

[1]

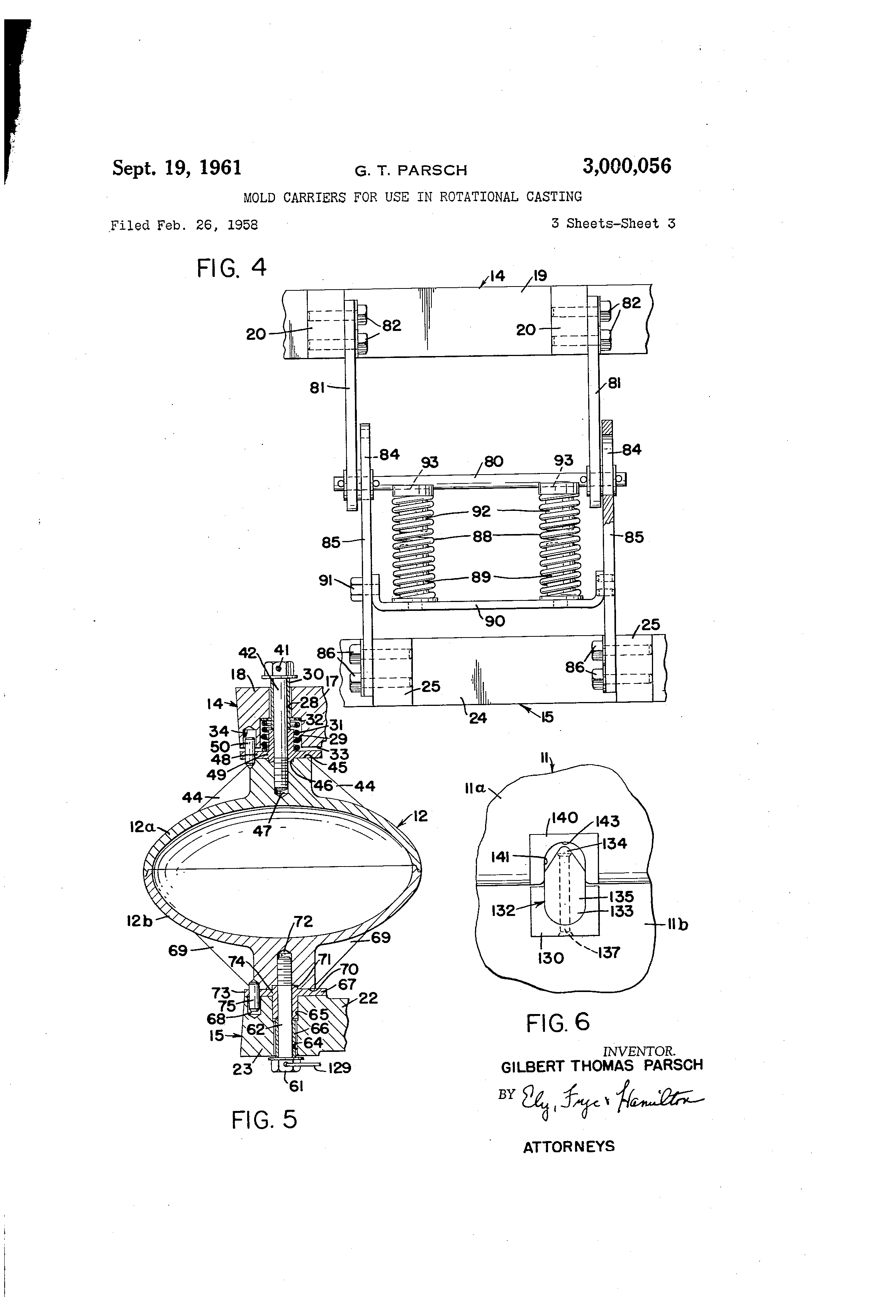
United States Patent Office 32000,056 3,000,056 MOLD CARMRS FOR USE IN ROTATIONAL CASTING Gilbert Thomas Parsch, Akron, Ohio, assignor to The MCINE!I Machine & Engineering Company, Akron, Ohio, a corporation of Ohio Filed Feb. 26, 1958, Ser. No. 717,668 14 CL-thm. (Cl. 18-43) The present invention relates to improvements in rotational casting apparatus. More particularly, the invention relates to an improved mold carrier or "spider" for use with rotational casting apparatus. ,In a process of rotational casting to which the invention is especially adapted, there is provided a series of .horow sectional molds which are loaded with a charge of plastisol such as a vinylresin compounded with a plasticizer. Plastisols of this type are well known in the art and are available from a number of sources. When the molds are charged, the spider is closed and locked ,and immediately thereafter is rotated simultaneously upon different axes to distribute the plastisol evenly over the inner surface of each mold. After the material has been gered and fused by the controlled application of heat, the rotation of the spider is stopped and the spider is c ooled to a degree where the molds can be opened and the finished article removed, whereupon the molds are read;ed for repeating the cycle. ;se apparatus of the invention is particularly intended for use with a casting machine having one or more radially extending arms. Each casting arm may include a pair of shafts, one within the other, whl:ch are driven at differential speeds to impart simultaneous rotation on divergent axes to the spider or mold carrier supported on the outer ends of the shafts. The rate of rotation of either shaft may be changed without changing the speed of the other shaft and thus the spider may be subjected to a variety of speed ratios with a resultant extreme application of centrifugal forces. A satisfactory spider or mold carrier should thus be light in weight yet constructed to resist dei'ormation by the driving force of the casting machine. A satisfactory spider should be easily closed when cool yet easily opened when warm after emergence from a curin,@ oven. Finally, a satisfactory spider must maintain the sectional molds closed and in proper -alignment despite extreme application of centrifugal casting forces. Accordingly, it is an object of the present invention to provide an improved mold carrier or spider for use with rotational castinapparatus. It is a further object of the invention to provide an improved mold carrier or spider which is light in weiaht, which will resist deformation by the driving force of the casting machine, which will be easily opened and closed, which will resist the heat of a curin.- oven, and which wUl maintain the sectional molds closed and in correct alig=ent despite extreme applications ofcentrifugal casting forces. These and other objects of the invention wiH be apparent in view of the following description of the invention taken in connection with the attached drawings. In the drawin,@s: FIG. 1 is a plan view of a mold carrier or spider according to the invention adapted for carrying round or spherical molds; FIG. 2 is a sectional plan view of a spider adapted for carrying ov@al molds; FIG. 3 is an enlarged section taken substantially as i.ndicated on line 3-3 of FIG. 1; FIG. 4 is an end view tal-en substantially as indicated on line 4-4 of FIG. 3; FIG. 5 is an enlarged section through @an oval mold Patented Sept. 19, 1961 2 taken substantially as incticated on line 5-5 of FIG. 2; and FIG. 6 is an enlarged view of a mc>ld half registering means for use with spherical sectional molds havin.- continuous pattern molding surfaces. A mold carrier or spider according to the invention includes a lower grid member adapted for attachment to a casting machine, an upper grid member yieldably hinged to the lower grid member, and coupling means 10 extending axially between the grid members f(>r locking the grids together in substantially parallel planes. A plurality of upper mold halves are resiliently mounted on the upper grid and a plurality of lower mold halves, aligned and mating with the upper mold halves, are 15 movably mounted on the lower grid. In the drawin,-S, a mold carrier or spider according to the invention is indicated at 10. In FIG. 1, the spider 10 is adapted for carrying a round or spherical mold 11 having a cavity such as could be used to manufacture a 20 basketbau or volley baH. In FIG. 2, the spider ]LO is adapted for carrying an oval mold 12 having a cavity such as could be used to manufacture a football. The upper half (Ila or 12a) of each sectional mold is resiliently mounted on an upper grid member indicated at 14. 25 The lower half (Ilb or 12b) of each mold is movably mounted on a lower grid member indicated ,t 15. Referring to FIG. 1, an upper grid member 14 has a central hub area 16. Extending radially from the hub area is a plurality of regularly spaced spoke ribs 17. Each 30 spoke rib terminates in,an upper mold half mounting boss 18. Each mounting boss is laterally connected with adjacent bosses by a peripheral rib 19. At one side of the grid 14, two parallel hinge struts 20 extend outwardly from the rib 19. 35 As best shown in FIG. 3, a low,-r grid member 15 preferably matches an upper grid member 14 and also has a central hub area 21, a plurality of regularly spaced spoke ribs 22, a lower mold half mounting boss 23 at the end of each spoke rib and a connecting peripheral rib 40 24. The grid 15 also has two parallel hinge struts 25, but offset in relation to the upper hin,,e struts 20, extending outwardly from the rib 24. The grid members 14 and 15 are preferably cast from stainless steel alloy or a ductile iron composition so as 45 to be light in weight yet resistant to centrifugal forces and the heat of the curing oven. Referring to FIG. 3, each upper grid mold mounting boss J[8 has an upper small diameter sleeve bore 28 opening down into a larger diameter spring bore 29. A 50 preferably stainless steel spacer sleeve 30 is loosely fitted in bore 28 and extends a substantial distance downwardly into bore 29. A stron- (e.g. 300-600 p.s.i.) compression sprin- 31, also preferably of stainless steel, is seated against a washer 32 in the upper end of bore 29. The 55 under surface 33 of the boss is machined flat and is drilled to provide a blind bore 34. Referring briefly to FIG. 5, it will be observed that the mounting boss 18 of the spider adapted for carrying the oval molds 12 is similarly constructed. 60 The neck of each upper mold half Ila has a boss surface 35 which is substantially coextensive and in conformity with the under surface 33 of the mounting boss 18. At the center of the upper surface 35 is a mounting stud 36 having a tapped bore 37. On top of the stud 36 is 65 placed a washer 38 for seating the lower end of the spacer sleeve 30. Around the stud 36 is another washer 39 for seating the lower end of the compression spring 31. Between the washer 39 and the edge of surface 35 is an aligning dowel 40 for insertion within the blind bore 34 70 in the under surface 33 of the mounting boss. Each mold half Ila is attached to the mounting boss IS by a cap screw having a hexhead 41 and a shank 42

[2]

0 obe I .0@p, @ @. -.., 3 threaded into bore 37. The length of sleeve 30 is such that when the screw shank 42 is securely threaded into bore 37, the cap screw can "-float" or move a slight distance lon tudinally within bore,28. The extent of downgi W',ird ni6vement is limiied by the screw he@d'4i and the 5 extent of upward movement is limited- by the mold surfA@@ 35. The coiripression - spring 31-'is'alwa@s te-nd@-mg --to nf6Ve the scrdnv head 41 into conia6t with the upper sur face of the mounting boss 18 and the ser6,@r, sliank 42, an'd attdched mold half Ila, away fr<)ni the,siirf6:6i 13 o-f ihe 10 rflounting boss. ]@1(i. 3 shows the preferred normal position of the mc>ld -half Ila in relation to the moundng b6s@ 18, l@rh6ii thd spider 10 is closed. Rotat-.oii bf the mol(i half abo@i the axis of the screw shank 42 is prevented by the blind 1,5 dbwel 40. The mold half Ila is maint@ine-d 'm mating alignment with the loiv@er mold half Ilh by the strong cbnipression spring 31. It has been found desirable thai the sprin,- 31 yield a pressur6,of - apptoxijmately 20 pounds p@pT lineal inch of periphery of the matffig mo'@d surfaces. 20 ,a 'iro -e curing 6@@n As centrifu- 1- casting forces or heat m th are ap@lied , to the spider, an@. si di - ' ' f h gnificant stortion 6 t e 9,hd member 14 will be conipensat6d 6i.eqiialized b@ th6- r@sil,ient moun'ling of the up@er MO-Id lialf Ila. Referring to FIG. 5, the neekbf -6@dh'upper inold hal.f. 2,5 12a -is strengthened by longituding fihs- -44 and: ha's a @n up--- pfer surface 45. The center of -surfac6 45 h@ an an@ular recess 46 and a tapped b6re 47. On top of the surf ace 45.. i@-jplaced an annular member 48, having a hub 40'6figa@- ing the recess 46 and e)@tending u@*ardly iiito the spring 30 bbre 29. Between the hub 49 and the ed26 6f in6iiiber' 48 is--@@n-dii,anihg dowel 50 for insertion Within the blind bore 34 in the under surface 33- of ilhe m--ounti'n'g boss. Ea-,h, mold half 12a,is attached -io ihe mi3iinfing boss m a manner sim-@'lar to that desciibe-d above'fci @iofd 35 if -in6uiiied ea w h@d Ila-, that is, by a fesiH6ntly iefe havihg ii head 41 and a shank 42 -threaded throl4gh hgb'49- into bore 47. Referring to FIG. 31 each lower grid mold mounting hoss 23 has a lower small diaifieter @leeV&@b6-r'e 52 - -ope-- -m'ng 40 u@viardly into a laiger diameter stud- bore 5@'3. - A-@r6feiably stdinless steel sleeve 54- is. 16os&ly fifted in, -bo,re 5:t andextehdsaslightdistance-upwardly-iiit,6bore53. The ubper surface 55 of edch mounting boss isiiia-chiiied fl@i aiid is drilled to prcivide d bldnd @ore -56- 45 The neck of each lower mold half Ilb has a boss surface 57 which is substantially co&xt6nsiV6 and in c6nf(>rmitS@ with -the upper surface 55 of e@ch mou -nt'ing b-oss- 23.- At the center of the undersurfac6 57- is @z@'mouiiting stud 58 havin.- a, diameter slightl@ less thali. th6 . diim6ter of 50 b&re 53 ' The mounling stud also has @ tabped bore 59. B@tween the stud 58 and the edge 6f suiface 57 i-s 'an @lignirit dowel 60 for insertion within th6 blind.bore 56 -on the uliper surface 55 of the mou boss. Each mold half Ilb is attac th6 mounting boss 23. by a cap, screw having a hei@he@d 61 aiid a sliank 62 '5 threaded into bore 59. -The leiigth-of sle'eve 54 is such that when the screw shank- 62- is securel@ thr-eaded- into bbte 59, the lower end of stud 58 will be sli@htly abo@e the lower end of the bore 53 so 'that slight 16nkitudi - nal -and lateral movement of the mold half is possible. Pro- -' 60 vi-sio.n for such a slight rfibveme . nt f6rmiis the accur - ate aegn-rnent of the mating upper mold hdlf 11 -a du-ringclo-siiig of the spider,. comp@n@@tes oi eqiializes a-nydistortion of the grid member 15, anct,16ss'ens the p6@sibility- 'of i-n-' jury to the mating mo@d surfac6s- during opening. 65 Referrin. to FIG. 5,- -each idounting bosg 13- @of the spider adapted for carr@ing the dyal- molds 12 - afso h@s a 16wer small diam&tei @leeve bbr6 64 opeiiink ii@@vai:dly-- ijito a lar,-er diamete@ b6re 65.: - -A - @lee,@6'66, si - milar- to" sl@eve 54, is loosely fifted in'bbie 64 aiid extends -a-- slight 70 distance upwardly into b6r6 - 65. - The iipper surface61 - of each -mounting boss @is machined -flat and is drilled -to provide a bl;nd bore 68. The neck of each lower mold half 12b is strengthened by.longitudinalfins.69-@andhasan-iindersurface7ff. @The 75 4 center of surface 70 has an annular recess 71 and a tapped bore 72. An annular member 73 having a hub 74 engaging recess 71 and extendiilg downwardly into the bore 65 is located on the upper surface 67 of the mounting bore. Between the hub 7+ 4go, the edge of member 73 is an . alignin.- dowel 75 fpk insertion within 1-he blind. bqre 6@9, i@i -th-6'r@n6un-t-ing 'bossi Each mold- half 12b i@, 4@tached- to- thf--, mounting@ boss:. 23@in a manner@similar tozthat., described above-for-a mold -iat is, by q sli htl q-q. s- r aving hal' Ilb; t] g_, y@@llppval@le. p.., c ew h a head 61 and a siian-k.-, 6-2 threaded. throuji'il hub 74 into bore 72. As best shown in FIG. 4, the means for yielda@ly hinging -gr"d-m-e-m--ber,s-,I-L-4- a-,nd-:1[5 to ethe incluops,,arod@qr@p Sa.- T-he -hinge pin is carried betwe n th Ipwi@r, eqds, of. a pair of reellangular st aDs 81 extending downwardly from t'he upper grid member 14- Ea s 81-,is,pxc@fprably attached-to -ihe "right 4?Lpd@' side surf qf a'hiage stru 20; as by bolts 92@ and-may be-dowel t e,4 f,,oT acqw4tez Tbe- ki!@ge. pip is movable,within ve ical e jag4t-@ Kt @ - ly. io slots 84 in the upoer ends of a sec-ond and referablv.@ P.- - @- - s-o-mewhat longer l@air of -rectangular st 4ps.85 6x ng, up@var@ly from' the.lower grid ifiember 15. Each,,strap,, 85 is preferably attached t6 the "left hand" side suTf4$;p, of a hi' -,s"tr- - 25-,- a-s,-,b--v-b,o@lt '8'6, and also may-- be do@,v7 s eled, if desired. Dtiri openin @ of the, s de , l@0, . asctescribed -in detail49 -9 - - @ pi@,r below, the hin%ze --oin 80 i moved upwarmy within.,the. elongate slots,84-by a resihent mea,ns su(,h-as a i)air of 'Coi d compression 'springs 88 The low pGr ion- of e-r , t each spri-.ig.,88 is sup q@rt(;@k by- a fixed pqsition s@iring. stud p 89, Thespiingstud@@89-areD ieferably-sp4ppOe4qid@ from the -c@nterHne of the erid memberg 14. aiid 15..a-nd@ e-x-t-end-upwardlv from,acrp @-plq@e 90 extendin-g betwee-n the str-ap-s -85'- a'nd attachedtheieto,as by. bolts.91. upper ci4ion of each spring 88, carrie '-,spring, pl@inger p a 92-, . which is preferably @om6what shorterthan spi' stud 89. E@6h plunger'92 has . a trans erse jzroove, 93-, to -Y maintain the upp@r surface@ thereof in- abutfi4g contaft, with the under,stikfaceqf the hinle rod 80. Referring to FIG. 3, the coupling -Meaj4q: for. lop t-he grid members 14 and 15 togpthe in substantially, par@ral.iei @ie@l@@@6xiends@bet-wee@n the -central hub, areas .16 a-nd@@ 4- qf. -the, respqctive. grids, The co@ipling. means inc-lude-s, a shaft 'extendir@g traii@vers y, thro gh - hiib area 16, and. having, a, hexhead 95,, a collar 96 and- an elptigatpd, body.97 with a pair of, cro@s bores -98 at rirht -anoes to each other. -Thp, -sha-ft, b'od'y' 9-7 is - j'o-'urnaled Dreferabl y in. ap-al-r 6f upper and lowerantifriction bearing's 99. When an upper gtid-member .14,-is cast, the hiib area 16 plqf@rably has a I transverse- steel sleeve._,100,inserted therein. The sleeve 100 is later machined to provide-a. shoulder seat 101 for the bearings,99. The u@ppr,-surfice.102 and the - under surface 103 of the hub, area .1.6. are also machine to provide annillar grooves for- inse - d tion of, upper and lowek bearing -seals 104.- Each, bear7 ing. seal 104 -is,of, a--gr I ease - and, heat - resistaut- material s@ch - as Teflon, suitabl@- encased.,for attaehment as by@ screws 105. -'j@h6 @bo-re of. the hub area 16 is-lubricated @y; a heat-resistant grease inserted through a c@onventional fitting 106. -The shaft bo4y 97 -extends -downwardlv into a- hollow. coupling member-108. Tbeup _pqr, end of member-108 preferably extends through the lower seal 104 and:s(pats againstthelowerbearing@99@ fheshaftbody,97-isrig@dly connect-ed to th I e member@ 108- as by bolts -109 exte d' through the cross-bores 98. The lower end Of m 108 has exterior threads 110. The threads 110@,are coarse and quick-acting (e.g. standard Acme, 4 threads p@-r.inch). When the lower grid member. 15 ig cast, the hub-area 21preferablyhasaroughboretherethrougi@.. Th@@ictwer. pqrtion,of the hub bore.is then m4ebined to v _pro ide,;a, finished bore 112 for receiving the driv sp@adle-113 of a . e casting n2,achine,-...(not,-,@homm)-.. 7'4Qugh the bore 112-is

[3]

5 3,000,056 6 showil as tapered, the hub area 21 could be adapted in any key is preferably rounded and the upper end 134 is suitable manner for connection to a casting'machine. pointed or equally taperid on either side. Referring to The upper portion of the rough bore is machined to FIG. 3, the outer surface 135 of the key 132 is - substanprovide a finished bore 114. The upper surface of the tially vertical but the inner surface 136 is inwardly tapered hub area is also machined to provide a flat surface 115, a 5 at a slight angle (e.g. 5') from approximately the midseries of tapped bores 116, and if desired, dowel holes point of the key. The key 132 is attached to the lug 130 117. The drive connection between the grid 15 and the by a pin or screw 137. machine spindle 113 is provided by an annular plate 118 A latch lug 140 may also be cast at one side of the seated on surface 115. The plate 118 has a flat upper mating lip of an upper mold half lla. The latch lug is surface 119, a hub 120 fitting in bore 114, and drive keys 10 machined to provide a slot 141 having a vertical inner 121 for enga,-ement with the drive spindle 113. surface 142 (see FIG. 3) and an arcuate upper end 143. The coupling means further includes a hollow stud 122 When the mold halves Ila and lib are brought together seated on the upper surface 119 of the drive plate and seby closing of the spider 10, the surface 142 wiH slide upon cured thereto as by bolts 123 inserted in bores 116, and the key surface 136 and the slot end 143 will readily enif desired, dowels 124 inserted through the drive plate 15 gage the pointed key end 134. Tbus, the mold halves into holes 117. The upper portion of the bore of the may be quickly and accurately aligned. couphng stud has interior threads 125. The threads 125 What is

Как компенсировать расходы
на инновационную разработку
Похожие патенты