заявка
№ US 0002998043
МПК B60C27/22

Номер заявки
3816896
Дата подачи заявки
29.05.1959
Опубликовано
29.08.1961
Страна
US
Как управлять
интеллектуальной собственностью
Чертежи 
12
Реферат

Формула изобретения

Letters Patent: 65 1. Traction means for a dual tire wheel assembly including,anchoring means mounted between the wheels of said assembly, at least one traction shoe disposed transversely across tires mounted on said wheels, a connecting member radially disposed between said tires for joining said shoe to said anchoring means, said connecting mem70 ber permitting radial movement of said shoe as well as angular deflection thereof, and guide elements coupled to said shoe f(>r orienting said shoe relative to said tire, said guide elements being adjustable according to the @pace between fa-.ing side walls of said tires. 5 2. Tra-.tion means for a dual tire wheel assembly in-

9 cluding anchoring means mounted between the wheels of said assembly, at least one traction shoe disposed transversely across tires mounted on said wheels, connecting means disposed along a radius between said tires to connect said traction shoe to said anchoring means, said connecting means bein.- adapted to hold said shoe against said tire and to permit said shoe to pivot about a point along said radi:us, and guide elements coupled to said shoe for orienting said shoe relative to said tire, said guide elements bein.- adjustable according to the spac-, between facing side walls of said tires. 3. Traction means for a dual tire wheel assembly including anchoring means mounted between the wheels of said assembly, at least one traction shoe disposed transversely across tires mounted on said wheels, a connecting member radially disposed between said tires for joining said shoe to said anchoring means, said connecting member pivotally and flexingly engaging said shoe and said anchoring means to permit radial movement of said shoe as well as an.-ular deflection thereof, and guide elements coupled to said shoe for orienting said shoe relative to said tires. 4. Traction means for a dual tire wheel assembly including anchorin.@ means mounted between the wheels of said assembly, at least one traction shoe disposed transversely across tires mounted on said Nvheels, an adjustable connecting member radially disposed between said ti-res for joining said shoe to said anchoring means, said connecting member permitting radial movement of said shoe as well as angular deflection thereof, and guide elements coupled to said shoe for orienting said shoe relative to said tires, said -uide elements bein.- adjustable according to the space between facing side walls of said tires. 5. Traction means for a dual tire disc wheel assembly including an annular plate mounted between wheels of said assembly, at least one traction shoe disposed transversely across tires mounted on said wheels, an adjustable connecting member radially disposed between said tires for joining said shoe to said plate, said connecting member pivotally and flexingly engaging said shoe and said annular plate to permit said shoe to move radially in and out with said tire and to deflect angularly in response to uneven deformation of said tires, and guide elements coupled @to said shoe for orienting said shoe relative to said tires. 6. Traction means for a dual tire spoke wheel assembly includina spoke wheel, rims mounted on said wheel, tires mounted on said rims, an annular spacer mounted between said rims, at least one traction shoe disposed transversely across said tires, at least one adjustable connecting member radiahy disposed between said tires for joining said shoe to said spacer, said connecting member flexingly engaging said shoe and said spacer to permit said shoe to move radiary in and out with said tires and to deflect angularly in response to une-ven deformation of said tires, and guide elements depending from said shoe for orienting said shoe relative to said tires. 7. Traction means for a dual tire wheel assembly including anchorin.- means mounted between wheels of said assembly, tires mounted on said wheels, said anchorinmeans provided with at least one countersunk opening, at least one traction shoe disposed transversely across said tires, a countersunk opening formed in said shoe, a trod provided with threads at both ends, said rod passing through an opening in said anchoring means and the opening in said shoe, ball seats formed in said shoe and said anchorin- means, balled nuts engaging said rod and received in said ball seats, said ball seats and said balled nuts thereby permitting said traction shoe to deflect angtlarly and move in and out along said rod in Tesponse to the movement of said tires. 8. Traction means for a dual tire wheel assembly including an annular band mounted concentrically between wheels of said assembly, tires mounted on said wheels, said annular band provided with at least one radially ex2,908,043 10 tending pad eye se@,ure@ t-o the outer surface thereof, at least one traction shoe disposed transversely across said tires, a conneoting member provided at one end with a swivel joint for connection with said traction shoe and provided at the other end with a hook for engagement with said pad eye, said connecting member further provided with means for adjusting the effective length of said member. 9. Traction means for a dual tire wheel assembly in10 cluding anchoring means mounted between wheels of said assembly, tires mounted on said wheels, said anchoring means provided with at least one countersunk opening and a baU seat fonned therein, at least one traction shoe disposed transversely across said tires, a connecting member 15 including a length of bxaided wire rope having a ball secured to one end and a post secured to the other e-.id, said ball received in a swivel device connected to said shoe, said post passing through the opening in said anchoring means and provided with a threaded end portion to 20 receive a balled nut, said post being slotted at its end to receive a tool to hold said post against rotation while said nut is being turned. 10. Traction means for a dug tire wheel assembly including anchoring means mounted between wheels of 25 said assembly, tires mounted on said wheels, said anchoring means provided with at least one countersunk opening aiad a ball seat formed therein, at least one traction shoe disposed transversely across said tire, a recessed opening formed in said shoe, a universal joint received by said 30 opening, a rod secured to said joint and extending radially between said tires through the opening in said anchoring means, said rod beingthreaded at the end portion to receive a balled nut thereby connecting said shoe to said anchoring means and permitting said shoe to deflect 35 angularly and move radially in and out in response to the movement of said tires. 11. Traction means for a dual tire wheel assembly including anchoring means mounted between wheels of said assembly, tires mounted on said wheels, at least one shoe 40 mounted transversely across said tires, a connecting member radially disposed between said tires for connecting said shoe to said anchoring means, said member including a post and several chain links, said post engaging said anchoring means and the chain link portion engaging said 45 shoe. 12. Traction means for a dual tire wheel assembly including anchoring means mounted between wheels of said assembly, tires mounted on said wheels, at least one traction shoe disposed transversely across said tires, a 50 union radially disposed between said tires for securing said shoe to said anchoring means, a recessed and counter-. sunk opening formed in said shoe to receive one end of said union, said union provided at one end with a hook for engagement with said anchoring means, the opposite 5,5 end of said union being tapped to receive a bolt engaging with said traction shoe. 13. Traction means for a dual tire wheel assembly including a bolt formed with a central axial passage and a number of cross cuts bisecting its lower portion to (10 form a plurality of radial segments, said passage decreasing in diaineter towards the lower portion, annular shoulders formed in the lower portion of said passage to receive a bearing-ball, an inner bolt axially disposed within said passage and in contact with said bearing-ball, said r,5 inner bolt being in thread engagement with said passage whereby said inner bolt may be rotated to press against said ball and radially expand said segments and lock said bolt in position. 14. Traction means for a dual tire wheel assembly 70 according to claiin 1Z wherein said union is formed with a radial opening, a nylon insert received in said opening and bearing against said bolt to hold said bolt in vibrationless engagement with said union. 15. Traction means for a dual tire wheel assembly 75 according to claim 12 wherein the upper end of said

union is formed with a slot effective to clean the threads of said bolt upon insertion of said bolt in said union. 16. Traction means for a dual tire wheel assembly according to claim 12 wherein a nylon insert is provided in the shank of said bolt to bear against said union thereby holding said bolt in vibrationless engagement with said union. 17. Traction means for a dual tire wheel assembly including anchoring means mounted between wheels of said assembly, tires mounted on said wheels, at least one traction shoe disposed transversely across said tire, an opening formed in said anchoring means, at least one connecting member radially disposed between said tires for connecting said shoe to said anchoring means, said connecting means including a union being tapped at one end to receive a bolt and at the other end provided with an eye for engagement with said anchoring means, said shoe formed with a recessed and countersunk opening to receive the head of said bolt, said eye bein,- provided with a rod received in a chamber formed axially in said union ahd mounted for reciprocation therein. 18. A device for connecting a traction pad to a @dual tire wheel wheel,assembly, including a length of braided wire rope, a metal baU secured to one end of said wire rope, and a threaded post secured to the opposite end of said wire rope. 19. A device for connecting a traction pad to a dual tire -,vheel assembly, including a rod, an eye connected to one end of said rod, the opposite end of said rod extending into a cylinder, a piston formed on said 6pposite end for reciprocation in said cylinder, sa@'.d cylinder provided at one end with a collar to engage said rod and at the other end with a tapped bushing. 20. Apparatus for connecting a traction pad to a dual tire wheel assembly including a tapped uiiion,- a lockable bolt engaging one end of said union and ada:pted to engage with said pad, and a hook engaging the opposite end of said union, and anchoring means mounted between the tires of said assembly and adapted to engage with said hook. 21. Apparatus according to claim 20 wherein said anchoring me@ns includes a ]@ad-eye for engagement with said hook and a tripping rod disposed transversely between the legs of said pad-eye to disengage said hook frlom said pad-eye. when said hook strikes said tripping rod. 22. A- device for connecting-. a traction pad to a dual tire wheel assembly, including a rod provided with a tapped @axial- hole at one end and an eye at the other end, a U bolt, a -enerafly flat rectangular plate havin-, a central elongated opening formed therein to receive said eye,. a pdir of spaced openings formed adjacent said elongated opening to receive the@legs of said U bolt, said U 2,99SiO43 12 bolt being threaded at both ends to receive a pair of nuts and adapted to pass through said spaced openings and said eye, to engage said eye to said plate. 213. A device for connecting a traction pad to a dual tire wheel assembly, including a generally flat rectangular plate, a pair of journals depending from opposite margins of said plate an elongated. opening formed in said plate between sai@ journals, a bushing provided with an eye extending perpendicularly thereof, and arranged to pro10T trude through said opening, and a pin passing through said jour@als and said bushing to engage said eye with said plate. 24. A device for connerting a traction pad to a dual tire wheel assembly including a cylindrii@al member pro15 Nided at one end with a tapped axial opening, a diametrical groove formed across said opening, an axial chamber extendin@g throughthe rem ning portion of said rnember, elon,@ated openings formed lengthwis& on said member and communicating with said chamber, an 20 eye provided with a rod, said rod received in said chamber for reciprocation therein@ :a pin extending perpendicularly through said rod and received in said elongated openings to lin-lit -the reciprocation of said rod, a geiierally flat rectangular plate provided with a centrg opening 25 to receive a shackle for e-n@gaging, said member and said eye to said plate. ?.5. A traction device for dual tire wheel assemblies, including a traction shoe disposed transversely across said tires, guide elements connected to sdid shbe and 30 extending between said tir@s to contact opposite facing s,.,dewFulls and orient said shoe relative to said tires, said guide elements being formed in separable section@ whereby said elements may be adjustedaccording to variations i@i space between said sidewalls. 35 26. In a dual tire disc wheel assembly wherdin said wheel is provided with a number of oppositely aligned opemngs formed concentrically about said wheel, @in anchorin@ meinber for engagement with a tractiiin device, said member provided with a plate extending between said 40 ope-ilings and en.-aging Nvith said assembly, said plate supporting a p-,td-eye extending outwardly betwdeii tho, wheels of said assem@bly, and a bracket depending frohi said plate and engaging said openiiigs to support seiid 1),Iate. 45 References Cited in the file of this patent UNITED STATES PATENTS 1,977,764 Jersey et al - ------------ Oct. 23, 1934 2,312 486 Riesen ------------ ---- Mar. 2, 1943 50 2,420,361 Dennison ------------- May 13, 1947 2,454,005 Pletch ----------- Nov. 16, 1948 2,473,782 Boone ---------------- June 21, 1949 2,652,091 Kane ---------------- Sept. 15, 1953 2,858,871 Kinnucan -------------- Nov. 4, 1958

Описание

[1]

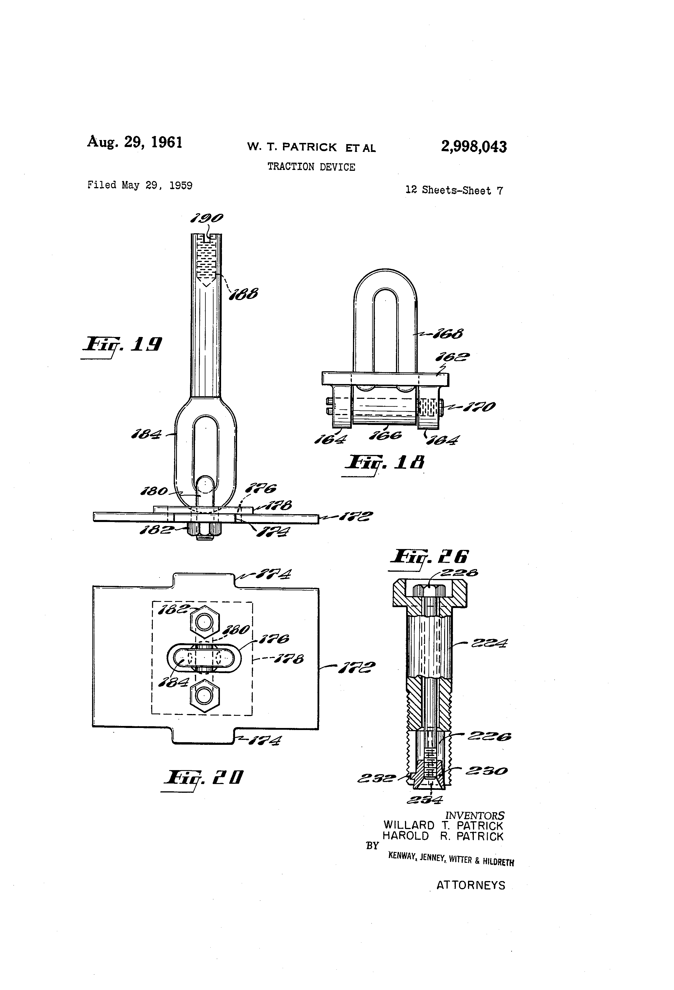
2 1 9 9 8 @ 0 4 3 United States Pateint Office Patented Aug. 29, 1961 2,998,043 TRACTION DEVICE Wfflard T. Patrick and Harold R. Patrick, both of 26 Stoner Ave., Great Neck, Long Island, N.Y. Filed May 29, 1959, Ser. No. 816,896 5 26 Claiins. (Cl. 152-220) This invention relates to traction equipment for vehicles of various types, particularly rubber tired vehicles havin,- dua-I wheel assemiblies, such as trucks, trailers, 10 tractors and the like. In the operation of heavy duty vehicles such as trucks it may frequently become necessary for the truck to leave paved highways and pass over undeveloped terrain. Should the vehicle become bogged down a set of chains 15 -normally would have to be fitted over the tires before progress could be continued. Moving vans, dump trucks and mechanized cement mixers are typical of the sort of vehicle that must operate over smooth highways and rough or muddy ground 20 in the norinal course of operation. Many other rubber ti,red vehicles frequently encounter ice, snow, etc. and are often fitted with chains or crawler trar-ks -to increase traction. The problems of securing a set of chains to a tire are 25 well known to those who have &iven in snowy climates for the task is difricult and uncomfortable at best and often becomes frustrating. The chores of fitting a crawler track to a set of truck tires are similar tothose of fitting tire chains but greatly compounded becau@e of the in- 30 creased weight and size of the track. Although crawler tracks are suitable where continuous operaaon on rough terrain is expected, their use for short periods is iinpractical in view of their expense and difficulty of installation. 35 The traction device which is the subject of this invent,ion may be generally described as individual, @fullfloating pads or shoes arranged to span two adjacent tires mounted on a dual wheel assembly. The shoe covers a portion of each tire tread and is held in position against 40 the tread face by a flexible connecting device passing between the tire and an@,hored to an annular band or spacer mounted between or about the wheels. Guide mom-bers are fitted to the shoe -to orient the shoe properly and to prevent it from skewing as the vehicle maneu- 45 vers. One OT a number of @thm devices may be spaced about the tires according to the atnount of trar-tion required by the prevailin.- conditions. This device is of particulax advantage in - situations where additional traction is needed for shott periods of 50 time, since it is quickly and easily installed and may be conveniently stored on the vehicle when n<)t in use. The cost is low and adjustable in keeping witli - o@perational needs. The device is designed to give a full-floating effect by r)5 flexing with the tires as they rotate and comprm under load. TEs device is also readily detachable and rriay be easily adjusted to conforin to various tire sizes and, in event that one sholuld break loose, traction NvoLild be reduced by one unit and not completely lost as happens 60 with chains or crawler tracks when a link breaks. T'he invention is described in greater @detail with reforence to the &awin.-s in which its obje--ts, features and adv&n,tages will @be fully appreciated. Reference is made to the drawings in which: 65 F'IG. 1 is a view in elevation pattly in section ef a dual tire spoke wheel assembly fitted with two types of traction pads made in accordance with our invention, FIG. 2 is a vi@-w in perspective of a tool used iii. ad- 70 justing the length of a radial -,onnector used i@n our invention, 2 FIG. 3 is a cross-sectional view taken alo@ng the line 3-3 of FIG. 1. FIG. 4 is a view in, side elevati n partly in section . 0 of a tract-'Lon pad and connector made according to our iiivention, FIG. 5 is a vie@w in end elevation par@tly in section of a portion of the device shown in FIG. 4, FIG. 6 is a view in side elevation piartly in section of a modification of our device. FIG. 7 is a cross sectional view taken along the line 7-7 of FIG. 6, F'IG. 8 is a view in perspective of an adjusting tool u.sed with the device shown in FIG. 6 FIG. 9 is a view in side elevation partly in sectio-n of anot-her modification of our device. FIGS. IO and II are similar views of two additional mordifications, FIG. 12 is a detail view in end elevationlof the device shown in FIG. I 1, FIGS. 13 and 14 are views in side elevation partly in section of two further modifications, FIG. 15 is a cross section taken along thehne 15-15 of FIG. 14, FIGS. 16 and 17 are views in side elevation partly in see-tion of ;a novel eye-type !ronnecting device that may be used in our invention, FIG. 18 is a view in end elevation of a base plate assembly that may be used to anchor a traction pad, FIG. 19 is a view in side elevation of a base plate assembly wit'@i an eye-type connector, FIG. 20 is a plan view of the com@bination shown in FIG. 19, FIG. 21 is a view simrar to that of FIG. 19 of a modification of the connecting and anchonn- device, FIG. 22 is a plan view of the combination shown in FIG. 21, FIG. 23 is a cross-sec-tional view in elevation of a novel expansion bolt that may be used to secure a traction pad to a connector, FIG. 24 is a similar view of a modification of th@e expansion bolt, FIG. 25 is a bottom plan view of -the bolt shown in FIG. 24, FIG. 26 is a v@iew in side elevation partly in section of yet another type of expansion bolt that may be used, FIG. 27 is a detaff view pardy in section of the bolt shown in FIG. 26, FIGS. 28, 29 and 30 are detail views of connecting members utflizing nylon inserts, FIG. 31 is a view in side elevation of a traction pad and its guides, FIG. 32 is a view in end elevation partly in section showing the pad and guide assembled on a set of tires, FIGS. 33 and 34 are views similar to FIG. 32 but showing on shghtly enlarged scale the guide member in various adjusted sizes, FIG. 35 is a cross section taken along the Hne 35-35 of -FIG. 3 1, FIG. 36 is a view in side elevation of a disk wheel assembly provided with individual anchor supports and a portion broken away to disclose details of construction, rIG. 37 is a cross section taken along the line 37-37 of FIG. 36, FIG. 38 is a cross sectional view in elevation of a mod@ification of the device shown in FIG. 37, FIGS. 39 and 40 are views in end elevation partly in section of a disk wheel assembly showing different means for securing traction shoes thereto, FIG. 41 is a view in perspective of an exploded disk wheel assembly, FIG. 42 is a view in perspective of an individual anchor,, ing piece for usi@ in disk wheel assemblies

[2]

3 FIG. 43 is a view in side elevation of a modified anchoring device, and FIG. 44 is a cross sectional vienv taken along the line 44-44 of FIG. 43. This invention is intended fo-r use on dual wheels and,- in-general, it may be said that there are two basic types of dual wheel assemblies, one being known in the trade as the spoke type wheel and the other being known as the disk type wheel. Examples of the spoke type wheel appear in FIGS. I and 3 with @the digk typ6 wheel being il-lustrated in FIGS. 36, 37 and 39 to 41. The spoke wheel may be roughly described as a hub formed with radi,ally extendingspokes usuafly six in n-umber. The t-ire rims are slipped over the extremities of the spokes which are provided at their ends with wide, arcuate faces to seat the rims and Nvith an annular spacer between @the rims to maintain clearance between the tires mounted thereon. A shoulder extends about the inner portion of the spoke faces, and bolted cleats or clamps are provided on the outer portion of the spoke to keep the assembly intact. In the case of the disk wheel assembly a pair of dished wheels are bolted together back to back and no spacer is required since the rims are permanently mounted on the wheels in properly spaced relation. In the description of our invention we will illustrate traction devices which may be used with either the spoke type wheel or disk type wheel or with both. Many of the connections are interchangeable and other parts may be freely substituted as wi.11 be obvious from a study of the invention. Ref@-rring now to FIGS. I and 3, a spoke wheel assembly 10 is fitted to an axle 12 with @. pair of rim-mounted tires 14 and 28 secured in place. A clamp 16 at the extremity of each spoke holds the rims and tires in place over the Nvheel 10. A spacer 22, Nvbich is an annular band with outwardly turned edges, is mounted on the -vvheel 10 and between the rims of the two tires to maintain flexing space betveen the side walls of the tires. Spanning the two tires and bearing against the treads is a traction pad or shoe 18 of suitable material such as steel and takes the form of acorrtigated member 32 secured to a lo-vver plate 30 and an upper plate 34 to which grousers may be attached for additional traction. To prevent slippage and to reduce chafin.-, friction members or cleats 36 are fitted on the inner side of the traction pad to engage the tread face of the tire. Depending from the traction pad 18 are a pair of gu;des 26 which extend inwardly between the tires to contact the side walls in the area near the tread so as not to interfere unduly with the normal compression and flexing of the tires. These guides 26 serve to orient the trac-tion pad and prevent it from twisting 4Dr sleaing which the pad might otherwise have a tendency to do during tuming nfaneuvers of the veiiicle. Olther features of the guid6 will be discussed more fully in the course of the description@ To secure the traction pad 18 to tlie wheel ard against the tires we have provided a connecting arrangement that is ext-remely practical in that it may be used fbr a variety of different size tires as well as being easilv adaptable for use with disk@ wheels. One of the important features of this connecting arrangement as well as ivith the others that we will describe, is ithat it allcws what we call a full--floating action of the traction pad. By this we mean that the pad can move with the tires in any manner whatever without coming loose from the tire@ The pad is free to ride in and 6ut radially or deflect in an3, direction whei@ the'tire loads are unequal such as occurs when passin.over ldgs, etc., or even when one of -the tires deflates. The cutaway portions of FIG. I disr-lose two differentconnecting arrangements, onebeing a rather simple-connecting rod 20 and the other being a ho6k 24 engaging an e I ye 25. In either event the spacer 22 is used to anchor the connectors to the wheel. 2,998,043 4 When the hook connection is used the eye 25 is welded to the spacer and the hook is provided with a threaded shank passing through the traction pad and secured by a nut (not shown). This pern-iits the shank length to be adjusted from the outside by a socket wrench or the like. The use of ithe welded eye and hook also allows a greater number of traction shoes to be'used than is possible with the rod typd connectors, since the pad eye does not pass through the spacer and does not interfere with the spokes io as is the case with the rod. Ija the case of the rod type connector the rod 20 is thread-cd at both ends and passes throu.-h both the spar-er and the traction pad. The upper or outer end has a bahed nut 38 received in a weU 40- formed in the traction 15 p,-@d. At the baseof the socket is d;sposed a bushin.- 41 formed with a ball seat to cooperate with the nut 38 to form a movable ball joint. It will be seen in FIG. 4 that the opening thro@-,-,IL the bushing 41 is countersunk as at 42 and thus, along with the ball joint, permits the 20 traction pad to fre--Iy tilt as well as to i-nove up and down the rod whicii itself is able to tilt@ The inner end of the rod passes through the spacer 22 and a reinforcing block 44, and is provided with a ball and lock nut 48. The block 44 is fo@.-med with a ball seat 47 in the same man25 ier as the bus'qing 41 and also the opening is countersunk at 46 in @like fashion. This connecting arrangement prov'@des a stot,.t a-@ichor frr the pad yet offers a high degree of motion and flexibility without straining or deformation of parts. 30 Length and tightness can be easily adjusted from the inner end or the outer end of the rod, but we prefer to tight,-n it at the in-ner end by turning the nut 48. Access to this nut is had by the space bellween the spokes which obviously limits the number of pads to the niimber of 35 spoke openings. -.o keep the upper nut 33 from turning while the nut 48 is rotated Nve have devised a special wrench 50 shown separately in FIG. 2 and in position in FIG. 4. The wrench has a multi-faced socket 52 which fits into the well 40 and over the nut 38. The flat 40 portion overlays the pad and a pair of depending ges 54 engage the sides of the pad to prevent it from turning and obviating the need of holding the wrench wbile the nut is bein.- ti,-htened. In FIG. 6 we have illustrated a modification of the 45 connector. In this instance in place of the solid rod of FIG. 4 we use a ball 66 swaged to a length of flexible, braided wire rope 68 which in turn is swa,-ed to a post 70. The connection with the pad is made by way of angle pieces 56 welded to the pad and pierced by a pin 50 60 froni wl-lich a yoke 58 is suspended. The wire rope 68 passes throulh a countersunk opening 64 and the ball 66 is seated in a baH socket formed in the yoke 58. The post 70 is connected to the spacer 22 in much th-- same fashion as is the rod 20 prcviously described. The base 55 of the post is threaded lo receive the ball and lock nut 48. A slot 74 is made ;across the end of the post to receive a tool 76 wiich holds tue post against rotition when the nut 48 is tightened. Another modification is shown in FIG. 9. Here a uni(;o versal joint 73 is used to provide flexibility to the conrector. A rod 80 permanently affixed to the joint 78 has the same arrangement of balled lock nut and socket mentioned in reference to other modifications. The head 82 of the joint is received in a well 86 of the traction pad 65 ard has shoulder 84 restin.@ on the base, of the well. ne wrench 50 may be used to advantage here to hold the head 82, while the n-ut 48 is adjusted. FIG. 10 discloses the use of a flat-link pitch chain 96 floxibly connecting two threaded posts 90 and 92 which 70 are mount,-d in the same manner as the rod 20 of FIG. 4. If desired a lock pin 94 may be passed through the nut 38 as is optional with any of the connections of t type. In FIG. I 1 we use a link chain 100; welded to a 75 threaded post 98 and having a flat metal plate 102, sus-

[3]

pended by a pin 104 between a pair of spaced supports 108 welded to the shoe 18. A cotter pin 106 may be used as a keeper for the pin 104. In FIGS. 13-15 we show an adjustable hook type connection which is quick- and easy to install. In this instance the shank of a hook 118 is received by a threaded nipple 120 and locked by a pin 122. Into the opposite end of the nipple 120 is screwed an expandable lock bolt 224, such as shown in detail in FIG. 26. The bolt head 128 rests on a ball bushin.- 130 which itself rests in a ball seat in the base of a well 132 formed in the traction pad 18. To allow the bolt 224 to swing the opening in the well is countersunk- as at 134. To anchor the hook 118 to the spacer 22 we provide in FIG. 13 a padeye 116 reinforced by -a block 114 and welded to the spacer as shown. A trip rod 115 may be welded across the legs of the pad eye at the blork 114 to disen.-age the hook and prevent injury to the device in the event that both tires should blow out sitnultane, ously. It will be appreciated that should the hook be forced downward so as to strike the plate, the device may be damaged. By providing the trip rod 115 as shown herein, the hook, if forced down to its maximum downward position, will strike the trip bar and be deflected sufficiently thereby as to disengage the padeye. As an altemative measure in FIGS. 14 and 15 we form an opening 144 in the spacer and pass the hook 118 thr,ough it. A stoi-it pin 136 threaded at 138 and slotted at 140 is screwed into a pair of pin blocks or straps 142 to engage the hool,. In both cases the effective length of the connection is controlled by adjusting the b(ilt 224. Referring now to FIGS. 23-27 we have illustrated various types of expansion bolts which may be ad-vantageously used in these connectors. The first one shown assembled in place in FIGS. 13 and 14 is illustrated more clearly in FIGS. 26 and 27. Here, the bolt 224 has an axial passa-e 226 of varying diameter to receive an inner bolt 228 threaded at its base. A number of slots 234, usually two, axially bisect the bolt 224 at 90' intervals. A skirted, annular wedge 230 is screwed to the extreniity of the bolt 228, When the bolt 228 is turned the wedge runs up the bolt 228, through the passage 226, thereby spreading apart the slotted se,-ments. To keep the wedge 230 from turning with the inner bolt when it is tightened, an ear 232 is formed on the wedge and moves up and down within one of the slots 234. FIGS. 23 and 24 illustrate two additional expansion bolts for use Nvith connectors. The one shown in FIG. 24 utilizes an outer bolt 204 having a central axial passa-,e 206. The upper @partion of the passage is tapped to -,cceive a threaded head 212 of an inner bolt 210, while -the lower portion of the passage narrows to define a cone seat 211. The bottom por-tion of the bolt 204 is bisected by axial slots 218 at 90' intervals definin.@ segments 220 a,s seen best in FIG. 25. The bolt 2,10 is pointed at its tip and by screwing the bolt 210 into the passage the segmen,ts 220 are spread to lock the bolt 204 in the desired position. The head 212 is slotted at 214 for the insertion of a screw driver -for turning the bolt. In FIG. 23 we show an expandable bolt similar to that of FIG. 24 but in this instance we have, flattened the end of the inner bolt 210 and proiide a bearing ball 216. T-he use of this bearin.- ball in place of the point reduces the turning friction considerably and makes it much easier to expland the sdgments when locking the bolt. Coming now to FIGS. 16-22 we have a series of connectin- devices featuring eye links arranged in several diff,re,nt manners but all displaying the flexible characteristics feattired by this itive@ntion. In FIG. 16 an eye link 146 is fastened to a rod 148 which is inserted in a cylindrical tube il5O. T'@he tube is provided with an elongated opening 152 to receive a cross pin 154 extending from the rod 148. The rod is free to X-er,iprocate within the tube 150 to the extent of the length of the opening 152. The eye link 146 is ratfier, large for added flexibility and is joined to the spacer 22 in the same fashion as is the hook shown in FIG. 14. FIG. 17 illustrates the eye 146 and rod 148 fitted with a piston'156 for reciprocation within a chamber 158 of!a cylindrical union 160. This modification pro-vides a damping effect to -reduce the strain on the worlcing parts due to sudden shogks. The upper neck of the cylinder houses a tapped bushing 161 to receive a bolt for coupling the lo cylinder with a traction pad. Thiis far we have described our invention and its modifications generally with reference to spoke duel wheel assemblies altlioug-h ma@ny of the connectors are adaptable for use with the disk type wheel mentioned above. 15 Sinc-e both types of wheels are in common use we shall describe several connection arrangements which may be used for attached traction pads to this sort of wheel. In FIG. 39 there appears @a cross-section <)f a disk type dual wheel assdmbly with the traction pad 18 secured 20 transversely in place -across the tire treads. In this instance we provide as an anchoring means for the connection an @annular plate 284 bolted between two, disk wheels 262. Spaced about its periphery the plate 284 is provided with a nuriaber of eyes 286 for engaging a 25 hook 298 of a connector. The connector here cornprises a nipple 292 to which the hook is threaded and locked, as by a pin290. A bolt 294 is screwd into the opposite end of the nipple and has its head seated on a bushing 130 dis@posed in a well 132 fashioned in the pad 18. 30 To reduce any vibration which niight cause the bolt 294 to loosen, an insert of nylon 296 is deposited in an opening in the wall of the nipple 292 as appears in greater detail in FIGS. 28 and 29. If desired, the nylon may be held in place by ta-pping the opening and enga,-ing 35 a set screw (not shown). As an alternative measure the nylon may be placed in the body of the bolt (FIG. 30) rather than in the nipple. In either case.the nylo-n shoul,,d caiitact both the bolt and the nipple to be effective as a vibration absorbent. Another arrangement for 40 locking the connection at the proper length is to provide jam ntits on the studs or bolts used and tightening them against the ni-pple when the connector has been adjusted. It wil-1 be noticed in FIGS. 28 and Z9 ,is well as in other wnnectors in which @a bolt is screwed into a nipple 45 that a cut is made across the top of the nipple as at 291 in FIG. 29 or as at 202 in FIG. 21. This cut serves as a thread cleaner for the bolt, for we have found that by simply cutting away a section of the nipple top the edge of the side of the cut acts as a cutting tool when the r)o bolt is being screwed into place. 'Me size of the e-ut is not critical and up to 180,' may be removed from the nipple without inmpairin@ this effect. Since the parts of these, traction pads will@ be frequently exposed to dirt @and weather, it is important that some means of removing 55 rust and sediment be available. The connection we have provided is self cleaning besides being simple and inex@pensive to manufacture. Referring now to FIG. 41 there is illust-rated an exploded view of a,disk wheel assembly in w@hich we have 60 substituted an annular band 306 in place of the plate 284 of FIG. 39. The band 306 is similar in appearance to the spacer 22 use!d in connertion with the spoke wheels but serves only to anchor the traction pad to the connections. It will be seen that each disk wheel element 65 262 has a Tiumber of openings 264 spaced from one another in a circle, -and tire rims 266 mounted about the wheel petipheries. T,,be band 306 is provided with a set of ears 310 and assembled so that it is snugged up. against the wheels and under the rims. The ears 310i protmde 70 through opposite openings 264 in 6ach ivheel to lock the band in place and prevent it from spinmng about the wheel. A numbex of padeyes 308 may be welded to the band 306 for use with the hook type connectors or with a sockgt 280 as shown in FIG. 40 -for use with the, rod con-

[4]

7 neelor 20 described and shown previously in FIG. 4. The socl,et here receives the inner end of the rod 20 with i,,S ball and lock nut 48. T7he op5ning '@82 is co,.intersuiik to allow f-or freedom of inotiop.. A lock pin 304 may be inserted in the nut 38 if desired. I,t is usually d--Qirable that the spacers 22, plates 234 and bands 306 th@t we have described be installed on w,hee@'s perm-t-iiently to far-ilit@-te i-nountin.- @of the traction pads when Lhay are ne@ded, for if the spacer, band, or plate has been!prev;ously assembled a,@lull@ set of tractio-n pads may be easily added in the matter of a few minutas. Obvio,jsly, it is not always nec--ssary t-hat a fuH set aiways b-- put on for the nu@iiber required will vary according to condiliois, often tir.,ies a sin,-le p@ad beiii,g sufficitnt. Should it prove undesirable for some reason to permanently install a plate 284 or a band 306 in disk wheels, we have developed individual anchoring pieces that may be taken on and off with the traction pads. A typical anchoring piece is shown in FIG. 4,2 and coniprises a base plate 268 having ears 314 and a padeye 276 welded thereto. The plate is held between the wheels, spanning the iims, with the ears 314 extending intg the wheel openings 264. The traction shoe and connector are engaged with th-. padoye and tiahtened together. A br@gcket or table 270 may be used to support the plate 269 and to discourage its falling out durin,@ assembling. The table is shown in FIGS. 36 and 37 as having a pair of depending legs 272, each having pronged feet 275 for straddling the wheels 262 through their openings 264. T'his padeye is, of course, used with hook connectors, however, when a rod is used the socket 280 described in reference to FIG. 40 and shown individually in FIG. 38, rnay be welded to an apertured plate 278. Some typical connerting arrangements are illustrated in FIGS. 18-22 and 43-44. In FIG. 18 an eye 168 is welded to a bushing 166 and passes tbrough an opening in a plate 162. Straps 164 depend from the plate and -a pin 170 is inserted tbrough the straps and bushing to pivotally connect the members. FIGS. 19 and 20 zre two different views of another type of connection for individual traction shoe devices and which is particularly useful in situations wh--re ther-. is limited space available between the wheels. In this type a base plate 172 reinforced by a block 178 is formed with a pair 6f ears 1-74 and a central aperture 176 form,-d between two bolt holes. A U-bolt 180 is maneuvered through the bolt holes an-d@ an eye 184 of the connector. TheconnectioniscomDletedbythenutsl8Z. Forfastening the traction pad to the connector, the top of the coninector has a tapped hole 188 to receive a bolt such as has been described berein. The top is also ellit as at 190 for thread cleaning purposes-as already mentioned. In FTGS. 21 and 22 we have illustrated the eye type connecter already deqcribed in FIG. 16 but here att@,che@d to a plate 192 by a shackle 196 havin.- each leg bent into a prong 198. The plate 192 has a central opening 194 of the contour shown in FIG. 22. The connection is made by passing the eye 146 throu.-h the opening 194, slippij3g the shackle 196 through the eye and pulling both bat;k through the opening. The top of the connector 150 is ctit at 202 and threaded at 200 to receive a bolt for fastening the traction pad. FIGS. 43 and 44 show the hook 788 attached to a plate 316 by passing throu,,h a hole 318 and enga a pin 322. The pin is secured to the plate by means straps 320. Th;s concludes the description of the connecting@me,m bers tised in the invention and we will now examine in detail the guides 26 briefly mentioned previously. 'ne gaides sliown in FT.GS. 31@34 are fastened to the traction pad by nuts and bolts 254 engaging with angle suppor,ts 248 welded to the pad. The guides are preferably of steel and includ-- a pair of sep@irable olates 750 sandwiched together. Extendiiig from each of thm plates is a shield 2,098,043, 253 having its lower margin tumed in@vard and welded to the lower margin of the plate. An additional brace 252 is pr6vided near the upper margin of the shield. Since the guide should be in contact with both tires to -prevent unnecessary movement of the pad it is desirable that the guides be adjustable according to the amount of space between the tires. Different manufacturers produce dual wheels with variations in space and similarly tires or different size w-ill also vary the space between 10 sidewalls. To compensate for these factors we provide a guide that is adjustable to fit whatever set of tires on which it may be used. FIG. 32 shows a guide set at minimum width, while FIG. 34 shows the guide in extended position. To 1,5 achieve the extensicyn the plates 250 are bolted over the outside faces of the supports 248 and a pair of spacers 258 are inserted befweeil the supports. One or two struts 260 are then added to strengthen the guide. For intermediate sizes we fashion the guides as shown in FIG. 33. 0( Here the shield 255 and braces 252 are applied to a plate 255 which in turn is m6unted to a spacer 256 bolted between the supports. By combining these elements iii different ways as suggested by these tnree examples the guides may be set for any set of tires. Should it become 25 necessary to increase traction or to provide additional r,-straint aaainst skewing, the shoe may be enlarged as suggested in FIG. 39, and supplementary guide segments 261 may be fastened to either or both extremities of the shoe. The shields of these segments face inwardly to 30- engage the outer walls of the tires and firmly orient the shoe with respect to the tires. The trartion devices that we have provided by this invention of@ler many advantages o-ver those presently avail15 able. For insta-nce, the shoe is free to pivot about its radial connecting member at a point adjacent the shoe. This feature compensates for all normal flexing of the tires. Also the connecting member is pivotally engaged Nvith its anchoring pi--ce, no matter wbich anchoring arrangement is used. In cases where a rigid connecting 40 member is used we have provided means for either the shoe to ride radially in and out along the member, or the meniber to move likewise in reference to the anchoringmembers. Orinsomecasesboth motionsareallowed. By this combination of movements we have ach@@eved 45 a full-floatin-. action for the traction shoe so that it will stay in position against the tire tread despite even the most vigorous of tire motions. In- addition, this feature facilitates instoation of the devices ' For instance, when engaging a hobk type con50 nector, the shoe and conner-tor may be moved angularly about the tire to the extent necessary. The rad,ial adjusting features of the invention are both cuickar@d pos:tive. The length -,ind tension of the connectors may b, easily set without disconnecting the shoe. -55 While we have described in detail a number ofmodifications of our invention we are aware that many elements may be combined in a manner different from that shown and other inodifications will appear to those skilled in the art and may be niade without departing from the 60 scope Of our invention. Having thus disclosed our invention and described in detail preferred embodiments thereof we claim and desire to secure by

Как компенсировать расходы
на инновационную разработку
Похожие патенты