заявка
№ US 0002973643
МПК G01P3/62

Номер заявки
3649992
Дата подачи заявки
01.04.1957
Опубликовано
07.03.1961
Страна
US
Как управлять
интеллектуальной собственностью
Чертежи 
4
Реферат

Формула изобретения

claims: 45 We claim: 1. Aii instrument for indicating vertical speed of a carrier vehicle comprising means responsive to the atmospheric @res@ure gradient to afford a first pneumatic signal representing vertical speed at a preceding instant ' 50 a mass movable relatively to the carrier vehicle in response to acceleration forces attendant vertical movenient thereof, means responsive to movement of the mass to afford second pneumatic signals, pneumatic combining me@ns to receive concurrently both the first and see55 ond pneumatic signals to d6velop a common pneumatic otitput signal indicative of substantially instantaneous vertical speed of the carrier vehicle, an output means responsive to the pneumatic output signal of the combining means to indicate instantaneous vertical speed of the car60 rier vehicle. 2. An instrument for indicating vertical speed of a camer vehicle compnsing pressure-sensing means including a portion movable iii response to the atmos65 pheric pressure gradient to afford an output riiotion representing vertical speed, pneumatic resistance means connected to said pressure-sensing means to introduce a time lag into the response thereof to the atmosphen'c gradient, a mass movably mounted relatively to the carrier ve70 biele in resdonse to acceleration forces atten,dant vertical movement thereof, means responsive to movement of the mass to afford pneumatic pressures and pneumatic conduit means to couple the pneumatic pressures to said pressure sensing means to modulate the response motion of 75 said movable portion, and output means driven by the

419vable portion to indicate substantially instantaneous verticE.-I speed of thQ carrier vewcle. 3. An instrument for indicating vertical speed of a carrier vehicle comprisiiig a member movable in response to pneumatic pressure differentials thereacross, wall ineans defining a closed volume cvpable of sustaining p.notimatic pressure differin.- from atmospheric, conduit iiieans includin.- a pneumatic resislance connecting the volume to the atmosphere, means to expose one side of the movable member to the,,pressure within the wall iiieans and means to expose the other side of the member to atmospheric pressures, the last said means having substantially less p@ieumatic resistance than said conduit ii-,eans, a mass yieldably supported relative to said cari-i-.r vel,iiele for movement in response to vertical acceleration forces, ptieutnal,ic means responsive to moveine,it of the mass t(y create a pneumatic pressure differential and pneuri-tat-ic conduit means connecting a pneumatic otillout ol. the pneumitic means to exert its effect on one s'de of said movable member, and means responsive to. t'iie moverfient of said movable member as a fuiiction of inst-,).nt,-.neous vertical speed of the carrier vebicle. 4. An instrument for indicati-@ig vertical speed of a c,,rrier vehicle comprising a member movable in response to pneumatic pressure differentials thereacross, wall meaiis defini-@i.- a closed volume capable of sustaining pneumatic press,,ire differin.- from atmospheric, conduit mearis including a prietmiatic resistance connecting the A,olLime to the atniosphere, means to expose one side of the movable member to the pressure within the wall means and rpeans to expose the otber side of the memL,cr to atmospheric pressures. the last said means having stibstantially less pneumatic resistance than said conduit nieans, a mass yieldably supported relative to said carrier vehicle j'.or movement in response to vertical acceleration forces, dash pot means connected to said mass to create a pressure clifferential upon movement of the mass, pneuma','c coiduit meaiis coniiectin,- the pneumatic output of the das'-t pot means to thc,.movable member to actuate the rn-ovable member ,,s a ftinction of direction of oscillation, and n-l,--,ins responsive to the movement of said inovable m,-mber as a function of inst,,intancotis vertical speed of the carrier vehicle. 5. Aii instrumetit for indicatin.- vertical speed of a carrier vebiele comprising a member movable in response to pne,,ir@iatic pr,-ssure differentials thereacross, wall means definin- a closed volume capable of sustaining plictimatic presslire differing from atmospheric, means to expose on side of the movable member to the pressure with;n the wall means and meatis ;ncluding a first pneaiiiat;cresi.@tance connecting the otlier side of the movable i,nember to the atmosp'@iere, a pneumatic cylinder, a mass resiliently supported in the cylinder as a piston a-.idi-r.ovable in response to v.-rtical acceleration forces of the carrier vehicle, and pneumatic copduit means coilnecting o-ic end of the cylinder to exert the pneumatic pressures 'herein on said movable member to actuat e the movable member as a function of direction of accelera2,973,643 12 tion, and indicator means, driven by said movable membqr. 6. Ari instrument as set forth in claim 5, said means coxinecting the cylinder to the movable member including @i second pneumatic resistance. 7. An instrunient as set forlh in claim 5, said first p-.ie,-amatiQ resistance including pneumatic diffuser means. 8. An instrument as set forth in claim 5, including a s.-cond cylinder and a mass yieldably supported therein lo as a pistor@ ard means including a third pneumatic resistzip@ce coiinecting one end of the second cylinder to the correspotiding end of the first cylind@-r. 9. An instrument as set forth in claim 5, including a pqeumatic resistance connecting said one end of the 15 cylinder to the atmosphere. 10. An iiistrument as, set forth in claim 5, including @-neans connecting the other end of the cyiiiider to the -, itrnosph@-re. 11. A,n instruroent as set forth in claim 5, including a 20 pne@,Tmatic capacitance connected across said cylinder. 12. An instrument as set forth in clain-i 5, said mov@ible member comprising a vane, a chamber surrounding '@@he vane and divided thereby into two parts, and resilient @@-iieans urging the vane to a central position. 25 13. An instrument, as set forth in claim 5, said mov-.ble nember comprising an expansible member resiliently biis@-d to a neutral position, said expansible member being r,-lounted in the closed volume. 14. An instrument as, set, forth in claim 2, including 30 -yroscop,- means aflording an ou,tput signal rep resentin.changes in altitude of the carrier, and mea-.is responsive to the output of the gyroscope means to modify the outpi,,t of said pneumatic cylinder. 15. An instrument as set forth in claim 14, said means 35 respoiisive to the output of tl-ie gyroscope means comprising an electromagnetic forcer operative on said movible mass. 16. A-@i instrqment as set forth in claim 14, said m-,ans respo,-is;ve to the output of the gyroscope means com40 prising m-.ars to vary sai-d pneumatic resistance means. 17. An insllrument as set forth ih claim 14, said mearts connectiiig the cylinder to the, movable member includi-i.- a second pneumatic resistance, said rrcans responsive to the outptit of the gyro@eope meanscomprisin- means 45 to vary tho second pn", matiq resisiance. 18. An instrument according to claim 5, including a housin- for th,- movable ra qmber, fixed volume, m-,ss, cyli@nder -,i,ndp-iaeumatic, restrict@on, means to mount the ho@usin for turn@ir g movement in the carrier veliiele, 50 gyroscope means ziffordit!g @n out ut representin@ the p ttirning rnoveme@nt Qf the carrier about a horizontal ,zxis. and means respqnsive, to the output of the gyroscor-c means to turii the housing rel-,itive to the carrier to irdicate altitude azigles of the carrier vehiclr@. 55 References Cited in th file of this patent UNI E STATES PATENTS I T D 2,751,785 Fowler et al - ----------- June 26, 1956

Описание

[1]

2 t 9 7 3 @ 6 4 3 Uni'ted States Patent Office Patented Mar. 7, 1961 2, 973,643 AIRCRAFT RATE OF CLIMB INDICATING INSTRUMENTS 5 Robert L. Roderick, Gardena, Calif., and Edward S. Gwathmey, Earlysville, Va., assignors to Specialti6s, Inc., Syosset, N.Y., a corpo,ration of- New York Filed Apr. 1, 1957, Ser. No. 649,992 10 .18 Claims. (Cl. 73-7-179) This invention relates to aircraft instrtiments and more 15 parti cularly to rate of climb or vertical speed indicators affor ding substantially instantaneous readings. This application is a continuation-in-part of co-pending appli cation, Serial No. 494,678, filed January 28, 1955, r.ow abandoned. 20 Con vent-ional rate of climb indicators operate on a prin ciple of pressure measurement across a pneumatic resista nce betwee,n a fixed volunle and static pressure. Such instr uments, due to the damping required to minimize spiirious indications in the presence of atmospheric tur- 25 bulei ice, have an inhcrently long time constant which resuits in the instrument indication lagging the true vertical spee d. When an airplane departs from or enters level flight an interval as long as five to ten seconds can elapse befo re the pointer is within 10 percent of the correct 30 valu e. Moreover, the lag, long at best, is not necessarily cons tant but differs depending upon the altitude of operation . In high speed airplanes and in blind flying operations these lags and variations seriously limit the - useful- 35 ness of the conveiitional instrument. It is therefore one object of the present invention to prov ide an improved instrument for indicating rate of clim b or vertical speed which overcomes the several disadva nt.iges of prior instruments by aflording - relatively 40 accu rate and timely output indications. Anot her object of the in@ve-.ition is to provide an instrument for affording indications of rate of climb for - aircraft or the like in which those values which are at a frequency too rapid to be used in the control of the aircraft are 45 elimi nated. Anot her object of the inventi6n is to provide an instrument for use iii aircraft or the like for indicating rate of clim b in which overshoot is closely controlled. Anot her object of the invention is t .0 o provide various 5 com p,-nsations in 6 rate of climb indicating instrument. In accordance with the invention, a rate of climb or verti cal speed indicator is provided including both means resp onsive to pressure ch@inge such as the atmospheric pres sure gradient and means responsive to accelleratiion 55 norr nal, in most cases, to the fore and aft axis of the airpl.an e, the two responses being controlled . and'combiiied to afford an output indication which is accurately te@resent ative of vertical speed at any given instant. A representative embodiment of the invention utilizes 60 a vertically-movable mass, operatively conne6ted either to or as part of a signal generator preferably - pneum@atic -.ind taking the form of a s@ring loaded dash pot affordina a first output signal which is a function of an acceleration, To provide a second output @ignal, als 1 6 pieferably pn I eu- 65 matic , is a static ptessure source and a fixed volume vent ed to the@ static source through a pneumatic re,sistance, acro ss which appeeirs a signal in the form of a pressure diffe rential representative of chbnging atmospheric pres@ ie 70 sure. The,two output signals are combined in comp @ ment ary fashion, preferably by combining the pneumatic outpiit deriving from the itiovable s to the pneu ii; pressure differential across the pneumatic resistance to produce a resultant output which can be translated into motion of a pointer on either side of a zero s6tting t I o indicate instaiitaneous vertical speed up or down. In order to minimize the effects of pitch, the mass can be pendul6usly supported and to minimize the effects of bank and turn the effect of the icceleration signal developed by the mass can be made to fade 6ut with time. Alternatively, compensations for bank and turn cin be introduced by means of a gyroscope, which can be part of other aircraft instrumentat-@-on and which is provided with kickoffs providing signals which are functions 'of bailk angles. The signals are applied to modulate the out@. put of the instrument either by controlling the-movable mass through an electromagnetic forcer or by'tontrolfixig the pneumatic signals generated thereby. To -providd'@on accurate flight path control instrument indicating vertical speed as well as bank angles, the entire indicator assembly can be turned relative to the aircraft, as by a servo amplifier for bank angle under the control of a remote gyroscope. In certain cases, particularly at relatively low frequencies, the phasing of the signals from the vertically movable mass and the pressure-responsive member is such, using the equipmeiit described above, that readings are obtained which cause the pilot to overcontrol the aircraft. Also, rate of climb indications can be derived which are at a higher frequency than the pilot can use. Both of these factors can be corrected in accordance with the present invention by placing in tandem with the pneuriiatic output of the vertically-movable mass a pneumatic filter, the values of which can be so chosen as to eliminate entirely the dip in frequency response and, at the sime time, to act as a low pass filter on the output of th.e ver-, tically-movable mass. So that the pilot can readily correct small errois in flight arising as a result of vertical movement of the aircraft, a predetermined amount of phase advance can be introduced in a particular freqiiency range, say between 0.1 and 1.0 cycles per second. Such cozitrolled phase Ekdvance or anticipation can be provided in accordance witli the present invention by intkoducing additional movablq mass means into the system to compensate for the delay@s inherent in the pneiimatic resistanc es. In order that the invention will be more fully un@derstood and readily carried into effect, the fol,lowing, detailed description is given with reference to the accom'panying drawings in Which: Figure I is a diagrammqtic rqpresentation 6f a rafe o'f climb indicating iiistrument; Figure 2 is a diagrammatic representation 6f a modiffed form of a rate of climb indicating instrument in Whi6h the efiect of sustained acceleration fades away with ti,ffiell Fikure 3 is a diagralmmatic representation of a modifi@d form of rate of climb indicating instrum6nt com@ensate.d. for pitch and b;ink errors; Figure 4 is a diagrammatic representation of anoth-ei forni of rate of tllmb indicatbr arranged as, p art of A flight path control instrument; Figiire 5 is a diagrammatic representation of another form of rate of climv indicating instrument in whi6h the@ transient response is nearly critically damped to prevent over.s.hoot of the indicator; Figur6 6 is a diagrammatic representation of another form of rate of climb indicating instrument in wwch controlled anticipatory indications of the rate of climb pr are ovided; Figure 7 is a diagranimatic representation 6f a rate of climb indicating instrument which affords an anticipatory' mdication of rate of clinb using a different arrangement' of parts from those of Figure 6; and Figure@ 8 is a diagranimatic representation of a, rate of

[2]

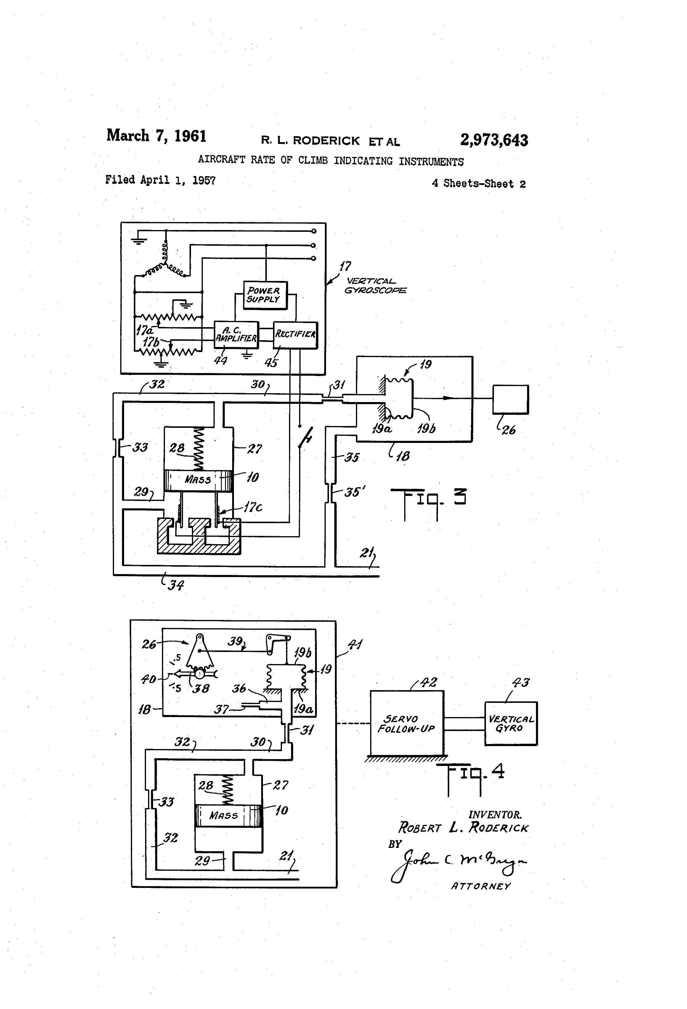
climb indicating instrument which embodies a compensation for spurious readings arising from pitch and bank and turn and which affords cdnsistently accurat.- readings over a wide range of altitudes (>f operation. Referring first to Figure I of the drawing, the iilvention is illustrated as embodied in a basic rate of climb indicating i-iistrument. The instrument includes a mass 10 mounted as by a spring 11 for ver-tical movement with respect to a support 12, the support also carryin- a dash pot or pump assembly 13 which can take the form of a plunger 14 fixedly mounted on the support and received within a cylinder 15, the latter being coupled by link mechanism 16 to move with the mass 10. Wall means 18 define a closed volume or container within which pressure-re-sponsive means such as a bellowstype diaphragm or a capsule 19 is mounted. The capsule 19 is prefqrably mounted so that one surface 19a is fixed with respect to the container 18 and the other surface 19b is free to move. It will be understood that the capsule or movable member comprises an expansible member which is resiliently biased to a neutral position by virtue of its inherent spring rate derivin,-, for example, f.-om the resilience of the flexible walls. Thus, the container becomes in effect a pneumatic capacitance. The c,apsule 19 is coupled by a conduit 20 to a static pressure source such, for example, as a static line 21 of the type normally provided in airplanes to reflect surroi.inding air pressure conditions. The static line 21 :Is also connected to the inside of the closed volume defined by the container 18 by means of a pneumatic resistance 22 or restriction, preferably taking the form of a capillary or of an orifice. Various combinations of capillaries, orifices and diffusers can als6 be used. The movable portion 19b of the capsule 19 is colipled as by an input linkage 23, for example, to an addin means 24 which can be mechanical, electrical or . 9 pneumatic and to which the mass 10 can also be coupled as by an input linkage 25, for example. The two inputs 23 and 25 to the add@ng means 24 result in a single output signal appearing in an output indicator 2.6. In operation, assuming the carrier vehicle to be an airplane going into a climb and the instrument to be mounted so that the mass 10 can partake of motion with at least a vertical component normal to the fore and aft axis, the mass 10 will be caused by the acceleration forces normal to the flight path of the airplane to move downwardly against the force of the spring 11 and the dash pot assemblv 13. This results in an almost immediate sig4al in the adding means 24 which results iminediately in an instrument reading. Because the effect of the mass 10 is a transient in that it endures only so long 4s the accelerat;on forces are present, its signal to the addin-, means 24 tends to disappear quickly. Meantime, however, the airplane will have moved uowardly into relativ,ely less d,ense atmosphere and the pressure will have fallen in the static line 21 causin- the capsule i9 to reflect the decreased pressure by @;eans of compressing action in which its movable surface 1.9b furnishes an output signal to the adding means 24. This signal, if the componen" parlts of the instrument are properly coordinated, will complement the decaying signal from the mass 10 and continue to induce an output signal which represents the rate of climb of the airplane. A steady state condition of the capsule 19 will endure as long as the airplane continues a constant climb. A steady state condition will exist due to the leakage through the pneumatic resistance 22 through which air will flow from the fixed volume to the static line until such time as. the airplane levels off and static air pressure no longer changes. However, because of the time lag which inheres in the capsule action, the capsule will not resum-. its initial configuration instantaneously when the airplane levels off. Rather, it will slowly recover its initial coni'lgura. tion o @lly in pKqpQi:Cioxi to. the, ability of the pneiunatic resistance 22 to equalize the static pressure and the pressure within the fixed volume. At the instant of leveling off, however, a negative acceleration will be present in the mass 10 whirh will reverse its signal to the adding means 24 and thus cancel out the enduring and erroneous signal from the capsule. In this fashion the output indicator 26 will instantaneously indicate to the pilot that he is no longer in a state of climb. Referring to Figure 2, there is shown a modified forni 10 of rate of climb indicating instrument in which the coupling betwe-,n the movable mass 10 and the pressureresponsive means or capsule 19 is pneumatic and iii which means is provided whereby the effect of sustainedacceleration such as is experienced in turns will fade 15 away with time. In this arrangement, in which parts i-nore or less identical to those of Figure I are identified by like re.lerence characters, the mass 10 is movably mounted within a cylinder 27, with the mass and cylinder constituting a dash pot assembly. The mass l@ is 20 resiliently positioned within the cylinder as by a spri-I.- 28. Th-. dash pot assembly, including the cylinder 27 and piston mass 10 is mounted in a fixed manner along that axis of the carrier which is normally vertical. One end of the cylinder 27 is connected by means ol. 25 a conduit 34 to a static pressure source such, for example, as the static line 21, and the other end is connected by a conduit 30 to the inside of the capsule 19. Mounted in the conduit 30 i.s a pneumatic resistance such as a capillary 31. The two ends of the cylinder 27 30 of the dash pot assembly are pneumatically joined by m eans of a conduit 32 in which is motinted a second pneur@i-,tic resistance such as a capi'ilary 33. The lovver end of the cylinder 27 is connected to the conduits 32 and 34 by a conduit 29. Also connected to the static 35 line, by a condii;t 35 havin.- a third pt.-i.-um@tt@c resistanc@@ such as a capillary 35', which can take the form of a compensating diffuser, is the fixed volume defir.@@d by the wall means 13. In the arrangement of Fi@ure 2 the i-notion of the 40 mass 10 withi-@i the cylinder 27 under the infiuc-ice of acceleration of the carrier vehicle re.-t,.Its either in an iiicrease in or decrease in pressure within tiie capsli@'c 19. Assuming the vehicle to b-. an airplane bcgiining a climb, the mass 10 will teid to move downa,ardly under the influence of the initial tum into the climb creat:ng 45 a decreased pressure i-,i the upper end of the cylinder '27. This results in a flow of air through the condu-it 3t, aiij the capillary 31, causing the capsule 19 to be compressed and resulting in motion of the novabie po,.-tioii 19b which is re-flected in an output s;gnal in th-@ iidir)O cator 26, certain details of which are described b.--Iow. Meantime, the static pressure will begiii to fall as a i-,suit of the movement of the iirplane into a more rarefied atmosphere, and air will flow throu.-Ii the coiidliit 35 and the cap'llary 35a at a slow rate. There will also 55 b, a flow of air from the capsule 19 through the conduit 30 with its capillary 31, the conduit 32 with it,@ capillary 33, and the conduit 34 to the static line 21. The mass 10 will during tllis interval have assumed its initial position of balance witbin the cylinder 27 under 60 the influence of the spring 28. The sizes of the capillaries 31 and 33 are so arran,,,eLl relative to the size of the capillary 35a that a differential pressure condition will be pi-eserit as Ion,, as the airplane climbs. This will result in a deforpiation of the 65 capsule 19 in which the, movable portion 19b will maintain substantially the same position which it assu-@iwd as a result of the pumping action of the mass 10 caused by the initial acceleration of the airplane. When the airplane levels off and during the ;nterval which it would 70 normally take the pressure in the fixed vol,,ime to assuiiie the pressure in the static line, the m ass 10 will niov.- upward to create a positive pressure in the conduit 30 which will result in a flow of air into the capsule 19, causing it to expand to its initial configuration. If tl)e 76 aircraft is banked in a level turn, the acceleration Loice

[3]

2,978,643 initially causes the mass 10 to move dowiiward, resulting in a decrease in pressure aboive the mass 10 and so, through the conduit 30, a decrease in the pressure in the capsule 19. Consequently, the capsule 19 starts to deflect to indicate a v@-rtical speed upward. - However, 5 the leakage through the capiliary 33, via the conduits 34 and 32 diminishes the effect, as does the spring 28 working to return the mass 10 to its initial position. Hence the initial erroneous indication fades away. Referring to Figure 3, the indicator described in Fig- 10 tire 2 is @modified to introduce compensation against movement of the. mass 10 caused by bank and turn of the carrier vehicle. To this end there is provided a vertical gyroscope 17 (which can be a remote gyroscope belonging, for example, to another'instrument) having 15 pickoffs 17a and 17b to furnish, via a suitable amplifier 44 and rectifier 45, signals which are a function of bank angles to energize an electromagnetic forcer 17c coupled to the mass 10. The mass is thereby constrained against movement which would result from acceleration forces 20 due to bank and turn. Should there be a failure in the. gyroscope system, including failure of electrical power, the instrument will nevertheless continue to operate satisfactorily for tums with bank angles as high as 30' to 40' 25 ieferring to Figure 4, anolher modified arrangement of the vertical speed indicator is shown in which components corresponding to those of Figures I and 2 are ideiitified by like reference numerals. The conduit 35 and its capillary 35a, which appear in Figure 2, are 30 eliminated and a bypass condtiit 36 and a capillary 37 substituted, the latter discharging within the pneumatic cap4citance or sealed volume defined by@ the wall means 18. ln the operation of this arrangernent, assuming a 35 vertical climb for an airplane, the mass 10 will move downwardly in piston fashion witwn the cylinder 27 initially creating a low pressure in the conduit 30 which will be felt by the capsule to the extent,detennined by the size of the capiflary 31. This will establish an initial 40 conipression in the capsule 19 which wiR in. turn be reflected in the output indicator 26. If the airplane continues to rise in a steady climb, the mass 10 will, under the influence of the spring 28, slowly assume its initial equihbrium position within the cylinder 27 while' the 45 static pressure, co-@itinuously decreasing, serves as the pumping sourc@, to create a rarefied atmosphere within the capsule to cbntinue the state of equilibrium achieved as a result of the initial pumping action of the mass 10. Ibis condition of. equilibritim, as in the p@eceding - arrange- 50 monts, is controlled by the capillary 37 whi@-h - communicates with the closed voluine. A representative design for the indicator 26 is shown di@agrammaticalli, in Figure 4. f@n this atrangement, the capsule 19 operatles a pointer 38 through a linkage 39, the pointer preferably being hori- 55 zont@l for reasons described below and adapted to work in conjunction with a calibrated, zero-center scale 40,. In each of -the arrangements described above, it wiU be tinderstood that the press,ure-sensitive portions of the indicatok can incorporate heavy damping as a moans of 60 turb ' couiiteractin- the effects @of . ulent air. . - Whereas, heavy dari-lpink iiormdlly introduces even greater time lags into instruments of this type, the present invention utilizing a@ movable mass @rovides for full correction notwithst-anding extreme damping. Generally speaking, 65 it is preferdble that the movable mass be used in - conjunction With a systeni having a long time constant - fade-out so that steady state errors do not arise, @ If desir6d, @afiy of the indicating devices of the type described herein can be utilized as part of an alitomatic To airctaft flig@t @ath control instrliment@ This can be done as illusfrated diagiammdtically in Figure 4, by - mounting the indicat6r ufiit, including both thd pressu re-responsive portion and' the vertic@lly-movable mass responsive to vdrtical accelerations, in a unitary housing 41 for - stabili- 75 zation. under the control of a servo motor and follow-tip unit 42 in accordance with bank signals received from- a gyroscope 43, which can be remotely mounted. Preferably, the servo motor and follow-up unit is fixed to the instrument panel of the airplane and arranged to define a casing in which the indicator unit is rotatably mounted. By reference to a pointer on the instrument, relative to suitable indices on the fixed casing or on the instrument panel, the pilot will be able to ascertain readily the bank attitude of the airplane. By reference to the pointer relative to the calibrated scale 40, the instantaneous vertical speed can be read, not as a function of the bank angle of the airplane, but as a direct reading of vertical motion of the airplane. If correction for pitch attitude changes is required, the vertically-movable mass assembly in the inner unit is supported in pendulous fashion in a vertical longitudinal pjane, although it will be understood that for small pitch attitude changes a nonpendulous mounting is sufficiently accurate for most purposes. Referring to Figure 5, there is illustrated an embodiment of the invention which is capable of affording an accurate indication of the vertical rate of motion of the airplane over a wide range of frequencies. In addition, however, the.system of Figure 5 is so arranged that it affords no response at frequencies higher than those that can be used by the pilot. . The system of Figure 5 includes, Lor -Durposes of illustration, the basic system of Figure 2 described above and like parts are ideiitified by like, primed reference numerals@ Connected across the niovable mass 10' and cylinder 27' is a pneumatic resistance such as a capillary 44 and a pneumatic capacitance assembly 45 including a static chamber 46 vented by a conduit 47 to the static pressure source 21' via the conduit 34'. Suspended within the chamber 46 is a pressure-sensitive unit such as an expansible bellows or capsule 48 connected by a conduit 49 to the capillary 44 in the conduit 30'. As in the arrangement of Figure 2, the conduit 30' is connected to th,- diaphragm 19' through a capillary 31'. In operation, assuming for example that the airplane moves into a chmb, there will be an initial vertical acceleration tending to drive -the mass 10' downwardly in its cyender 27' against the force of the positioning spring 74'. At this instant a pressure differential will be established across the capillary 33' due to the decrease in pressure at the upper end of the cylinder 27'. This decrease in pressure will also make itself felt across the capillary 44 to the inside of the expansible unit or diaphragm 48 which will, due to the differential in internal and external pressures occasioned by the connection of the closed chamber 46 to the static pressure source 21', compress slightly to relieve to a certain degree the decreased pressure in the conduit 30' betwden the capillaries 44 and 31'. In this ph-ase, the effect of the downward motion of the mass 10' on the pressuresensitive output diaphragm 19' is reduced. As the aiiplane continues to move upwardly in its climb, the static pres,5ure component of the signal to the output diaphragm 19, will begin to make itself felt; the mass 10' meantime, being freed of acceleration forces, will begin to, return to its neutral position at, a: rate determined by the resilient forces of the spring 24' and the air p s res ure equilizing circuits which are connected across the cylinder. The decrease in static pressure as ' the airplane MOves into more rarefied atmosphere will make itself felt inside the output portion 19 through a circuit including the static pressure source 211, the conduit 34', the capillary 33' the conduit 32', the top of the cylinder 27' and the c@nduit 30' including the series connected capillaries 44 and 31'. At a relatively slower rate the decrease in static pressure will be felt in thd closed volume defined by the walls 18' through the relatively higher pneumatic resistance defined by the diffuser or capillary 3511., While this is occurring, the diaphragm 48 in the static chamber 46 WiU likewise be feeli'ng directly th6 decreasd in static pressure via the conduit - 47. This

[4]

7 decrease in pressure coupled with the inherent resilience of the partially compressed diaphragm 48 will supplement t'@ic sign4l to the inside of the diaphragm 19' tbrough the conduit 30 and the capillary 3'-,,. By the proper choice of parameters and values for the several component pirts, it is possible in accordance with the invention to make the phasiilg of the static pressure signals and tie signals from the veriically-movable mass nearly exact a-@id so eliminate the dip in the frequency respons@- which is characteristic of conventional instruments. Moreover, the diaphragm 48 and add;tional capillary 44 s-,rve to absorb higii frequency sigpals which derive primarily from the movable mass 10', thereby serving as a low pass filter which admits to the output diaphragm 19' on.ly those sif.,nals which the pilot is able to use. As the airplane leaves it s climb or, alternatively, as it departs from level flight irito descent or negative climb, 'the direction of motion of the mass 10' of course reverses and the static pressure at the source 21 eventually increases and the sanic general -'Lunctiors described above occur in reverse with the dikdhragm 19' e,- ,panding to indicate the negative rate of climb. Referring now to Fi.-Ure 6, there is shown a rate of climb indicating instrument which, for pur@oses of illustration, likewise embodies the basic comdonents of Figure 2 whiell are again iden@ifi@@d by like, primed reference ,numerals. The instrumelit of Fi.-ure 6 is arran-.ed to afford the advantages as to frequency response and phasing of the modifications of Figure 5 a-@id, in additio@i, to introduce a predetermined amount of phase advance or anticipation in a given frequency range, say 0.1 to 1.0 cycles per second, enabling the pilot to more easily correct small errors. Connected across the cylinder 27' containin.- the mass 10' and its positioning spring 24' is a shunt loop incltiding a pr@eumatic resistance such as a capillary 49, a verticallydisposed (with respect to the carrier vehicle) cylinder 50, a mass 51 movable therein agairist a positioning spring 52, and a conduit 53 leading to the static pressure source 21' via the conduit 34'. The upper end of the cylinder 50 is connected to th-. output diaphragm 19' tlirough the conduit 30' including the capillary 31'. In operation, the first movable mass 10' and its cylinder 27' and the pneumatic capacity of the second cylind@,r 50 tend to compensate f-or the delay inherent in the capillary 35". Moreover, the second cylinder 50 and its movable mass 51 comp--nsate for the delay introduc,-d by the diaptiragm 19' and its capillaries 33', 49 and 31'. Th.- comp.nsations irfroduc.-d by th-. arrangem@rt of Figure 6 can be made to overcompensate by a predeterined amount for the delay introduced by the diaphragm 19' and its capillaries, in this fash-lon providing a phase advance wh@@'ch is usei'ul to the pilot of the airplan-- in correctin.- errors in flight. The operation of the syslem of Figure 6 is such that both the delay of the capillvry 35" and of tlae diaphragm 19' and its capillaries afford fliterin.- of the static pr--ssure inp,,it so that transient chaiiges in static pressure, which do not necessarily represent rate of climb, Lre filtered out. A representative working instrument based oii the arrangement of Figure 6 included components of t'ne following values: Pneumatic resistance 31': Capillary diameter ------------ ------ inch-- .014 Capillary length ------------ ------- do---- .375 Pneumatic resistance 33': Capillary diameter ----------------- do---- .016 Capillary len,-th ------------------- do---- .480 Pneumatic resistance 49: Capillary diameter --------------- -- do---- .018 Capillary length --------------- ---- do---- .436 Mass 10': weight -------------------- grams-- 12.1 Spring 24': spring rate -------- grams per inch-- 7.6 Mass 51': wei-ht --------- .,gram -- 3.1 Spring 52: s pring rate ---------- grams per inch-- 6.5 2,973,6113 Piieumatic resistance 35" preferably takes the form of a compensating diffus-@r conventional to rate of climb instrur@ients. its pneumatic resistanc,- value should be appropriate to the ran.ae of the instrument, being generally coriparable to the values of resistances 31', 33' and 49. The respo@-ise ol' this particular instrument is such t at t pointer of the indicator 26 tends to follow closely the actual movement of the controls of the ziirplane by the pilot, that is to say, the respoise incorporates a phase 10 advance. tc) Figure 7, 'here ;s ilILstrated a modified system for affording generally the same functional results as the system of Figure 6; that is, adequate damping of transient responses is effected and a predetermined phase 1 @5 ,idvance or anticipatioii as betweeii ihe static pressure signals ard the s-ignals froi-@i the movable mass is provided. The basic diaphragm and closed volume assembly as well as the vertically-movable mass and its cylinder assembly are essentially the sam-- as t@.ose of Fi.-ure 2 and are "@'O again identified by like, pr;med reference iiumerals. Connected across t c ey ir, er I are a piir o series-connected pneumatic resistances such ,is capillaries 54a aiid 54b in a conduit 55, aid connecting the top of the cylinder 27' to the inside of the diaphragin 19' are pnelmatic 25 res;stances such as series-coiliiected capillaries 56 and 57, bov@i in the conduit 33'. PressLiro-respoiisive ineaD,-, stich as adiaphra.-m or capsulz 58 arc@ connected by a conduit 59 to the conduit 30 between the capillaries 56 and 57. The diaphra.-m 58 is in turn suspfnded within '-O a static chamber 60 connected by conduits 61 ard 34' to the static pressure source 21'. The inside of the capsule '@9' is connectcd by a co@iduit C-2, includinq a cop;jlqry 63, to the condu-t 55 between the capillaries 54a and 54b. iii operation, assuming the airplane goes into a climb, 35 the mass 10' will move downwardly relative to the cylinder 27' creati@-ig a rarefication at the top of the cylinder which establishes momentarily a pressure differential across the two series-connected capillaries 54a and 54b aiid ,i pressure dif,erential across the two capillaries 56 iL) and 57 !eading to the inside of the diaphragm 19'. The d;apjira.-r.-i 58, beir.- connected b.-tween the capillaries 56 aiid 57 will respond more readily to this rarefication and @,N,ill compress sli.-htly, serving in the manner of a pneurcatic capacitance. Meantime, as the airplane rises in t 43 @ c atmosphere the static pressure will drop at the sourc,2;-', which drop will be felt first in the static chamber 60 arourid t-he diaphragm 58 allowing the latter to expand both to maintain the decreased pressure in the capsule 19' to preserv.- the rate of climb reading in the indicator 26' GU ,ir-d to absorb a certain portion of the pressure which (,,ccurs as the spri-,ig 24' returiis the mass 10' to its initiz-,l position. The decreased static pressure at tIlC SOLirce '1' will also make itself felt directly inside the capsule 19' throu.-h the c,@ipillary 54b in the conduit 55 and t;5 the capillary 63 in the conduit 62. Meantime, the closed volum-, defined by th.- walls 18' will be.-in venting at a slower rate tbrough the capillary 35". The relationship betwee@-i the sizes of the several capillaries and the constar@ts of the diaphragms 19' and 58 as well as the mass 60 xO' and the cylitider 27' are so arranged that the desired phase advance or anticipation occurs together with the des;red damping of unwanted signals. As the airplane leaves its climb or alternatively as it departs from level flight into a negative climb or descent, the direction of C5 motion of the mass 10' of course reverses and the static pressure at the source 21' eventually increases and the same general functions described above occur in reverse m,ith the capsule 19' expanding to indicate the neoative rate of climb. 70 Refcrring to Figure 8, there is iliustrated diagrammatically a rate of climb indicator embodying broadly features of the instruments described above but including a different bank and turn compensation and a different pressure,-selising co nstruction. The pressure7sensingassembly 75 64 iiieludes a cylindrical chamber 65 within which a mov-

[5]

able member 66 is mounte@d@for rotation on an axis 67 which corresponds to the axig of the eylindrical chamber. The movable member is jiormally urged by resilient means, such as a hairspring 68, to a position in the chamber 65 midway between limit stops 69 and 70. The movable member 66 is closely fitted within the chamber 65 so as to present a relatively high resistance to the flow of air around its four edges. In this fashion, the movable member divides the chamber into two relatively variable parts. The instrument includes an indicator or pointer 71 which works in conjunction with a calibrated dial 72 and which is linked through drive shaft means 73 to turn with the movable member 66. The movable member turns in response to air @pressure differentials on its two sides. The chamber 65 on one side of the movable member is connected by a conduit 74 to a source of static pressure 75, normally the static Hne of the airplane, and on its other side by a conduit 76 to a pneumatic capacitance in the form of a closed voltime 77. The closed volume 77 is also connected to the static pressure source 75 through a ciretiit including a pneumatic resistance 78, normally taking the form of a capillary, and a second pneumatic resistance 79, also nornially taking the form of a capillary. Co.inected across the pneumatic resistance 79 is a movable mass assembly indicated generally by the numeral 80 and including a cylinder 81 having its axis normally aligned with the vertical axis of the airplane and within which is mounted a piston-mass 82 yieldably supported approximately midway between the ends of the cylinder by a spring 33. The upper end of the cylinder 81 is connected directly to the static pressure source 75, and the lower eild is connected between the pneumatic resistances 78 and 79. In operation, assuming the airplane goes into a climb from level flight, the forces of acceleration will initial][Y drive the piston-mass 82 downwardly in the cylinder St to introduce pneumatic pressure to one side of the movable member 66 through a circuit including thi-, pneumatic resistance 78 and the conduit 76. The other side of the movable member being subjected to static pressl,res, the member will assume a new position of balance in the chamber 65 by swinging upwardly carrying Witli it the pointer 71 which will immediately indicate upward veiocity on the dial 72. As the airplane continues in it-S climb, the acceleration forces of its initial turn into the climb will decay an d the mass 82 will,@under the forces of the spring 33, begin to relturn to its initial p6sition in the cylinder 81. Meantime, the static pressure will be dropping to introduce a rarefied atmosphere or suction to the other side oi the movable member 66 via theconduit 74. This force will be c . ountdrqctdd by the controlled lealcage of air from the clos . ed voluine 77 and also from the lower side of the chambdr 65 through a circuit including the two pneumatic resi8tances,78. and 79 in series to the static pressure source 75. Depending on the values and parameters of the various components of the system, a certain amount of this, leakage will be taken up momentarily by the ca@acity of the cylinder 81 and the mass 82 therein moving upwardly to its neutral position under the force of the spring 83. With steady climb conditions, a balance of pneumatic forces will obtain across the movable member 66 which will hold the pointer 71 in position to indicate the vertical speed. it will be understood that the values of the pneumatic resistances 78 a-@id 79 are selected to take into account the leakage, representing pneumatic resistance, across the four ed.-es of the movable member. In the event it is desired to introduce compensations for the forces attendant a bank and turn of the airplane, which would normally introduce spurious readings into the instrument, the pneumatid resistances 78 and 79 can be made variable as illustrated diagrammatically in Figure 8 as by the use, for example, of needle valve controls. The needle valve 10 portions of the, variable pneumatic resistances are coupled through linkage means 84 and 85 to a bank angle servo 86 driven. from a remote gyroscope (not shown). The bank angle servo is energized to turn in oine direction or the other depending on the direction of banking of the airplane, witli the variable pneumatic resistances 78 and 79 being closed and opened respectively to shield the movable member from the effects of movement of the mass 82 and to bypass the cylinder 91 containing 10 the movable mass. It will be, understood that compensati6ns for bank and turn can als,o be introduced into the system of Figtire 8 in the manner of the irrangement of 1-igure 3. Generally speaking, the pressure.-sensing assembly 64, 15 as opposed to the pressure-sensing assemblies of thepreced@.ng figures, is indifferent to the altitude of operation of th.- airplane so that this form of instrument is particularly useful over a wide range of altitudes. Also, the pressure-sensing assembly tends to be more sensitive to 20 pneumatic pressure differentials and can be operatedeffectively froni weaker pneumatic signals. W]7@ile the invention has been described above as embodied in r.-presentative rate of climb indicating instrunients, it is to be understood that the description is illus25 trative of liow the invention can be carried out and is not limiting as to how the iilvention can be practiced. For exa,-iple, the movable mass has been described generally as being yieldably mounted for movement vertically with respect to the carrier vehicle. In the case of 3o aii airplane t'he mass would normally be mounted so that at least a component of its vertical movement occurs normal to the direction of ffight. In this fashion the mass is made to respond to the accelerations attendant the chaiige in direction of ffight path projected in a ver35 tical plane. For those carriers such as helicopters in which the axis 6f the carrier does not necessarily change direction,@vith a change in flight direction, the mass would be also mounted for movement vertically with respect to the dxis of the carrier but would respond directly to ver40 tical accelerations. The use of the term acceleration herein is iit6nded to cover both positive acceleration and negative acceleration, i.e. deceleration. The invention should not therefore be regarded as limited except as defined in the following

Как компенсировать расходы
на инновационную разработку
Похожие патенты