заявка
№ US 0002878859
МПК A47B3/14

Номер заявки
3670215
Дата подачи заявки
05.07.1957
Опубликовано
24.03.1959
Страна
US
Как управлять
интеллектуальной собственностью
Чертежи 
4
Реферат

Формула изобретения

claim is: 1. A folding table and benches structure comprising, 8 two top parts hinged together along a transverse line of fold, and two bench parts parallel with the top parts and hinged together along atransverse line of fold which is aligned with the line of fold of the top parts, a center support means having portions on which the hinged to.-ether ends of the top parts and the hinged together ends of the bench parts respectively rest when the structure is unfolded, swing arms pivoted at one end to the center support means and at their other ends to said top parts 10 respectively, leg means for supporting the outer ends of the structure in its unfolded position including support means pivotally mounted on said bench parts adjacent their outer ends respectively, link means rigidly connected at one end to the said support means and I @) pivotally connected at their other ends to the top parts adjacent their outer ends respectively, and brace4inks pivotally connected at one end to said support means respectively and pivotally connected at the other end to said swing arms respectively. 20 2. The structure claimed in claim I including balancing arms pivotary connected at their upper ends to the swing arms respectively, a guide member disposed vertically under the hinge line of the structure, and collar means mounted for sliding movement on said guide 25 means, the lower ends of said arms being pivotally connected to said sliding collar means. 3. The structure claimed in claim 1 in which the pivot points for the brace-links are selected to cause the end support means to swing somewhat inwardly upon the 30 initiation of folding movement, and stop means are provided by the center support limiting the inward swinging movement of said support means and mc>difying their angular disposition relative to the bench parts respectively, whereby a past center type of lock is achieved 35 resisting unfolding of the structure. 4. The structure claimed in claim I including means acting through the support means and brace4inks for mov ng the bench parts respectively from a plane spaced vertically from the plane of the top parts in unfolded posi40 tion into substantially the same planes as the top parts in folded position. S. A folding table and bench structure comprising, two top parts hinged together along a transverse line of fold, and two pair of bench parts disposed on opposite sides 45 of the top. parts with the parts of each pair hinged to-gether along a transverse line of fold which is aligned with the line of fold of the top parts, so that each top part has a bench part extending along each of its lateral edges, a center support means having portions on which the 50 hinged together ends of the top parts and the hinged together ends of both pair of bench parts respectively rest when the structure is unfolded, link4ever arms pivoted at one end to the center support means and pivotauy connected at the other end to the top parts respectively 5ti position including end support means co-acting with the link-lever arms to support the structure in its unfolded means extending under each top part adjacent its outer end and pivotally mounted on the bench parts which are disposed on opposite sides of the top part, link means 6o rigidly connected at one end to the end support means respectively and pivotally connected at their other ends to the top parts respectively, and brace-links pivotally connected at one end to said support means respectively and pivotally connected at the other end to said linkr,5 lever arms respectively. 6. The structure claimed in claim 5 including lost motion means inter-connecting the top parts and the pairs of bench parts respectively along their lines of fold. 7. The structure claimed in claim 5 including means 70 extending from the pairs of bench parts respectively and coacting with means carried by the top parts providing an inter-connection between the bench and top parts acting to prevent relative movement between the top parts and the bench parts when the structure is in folded poai75 tion.

9, 8- Thc@ structure claiiiied in claim 5, characterized@ by@ the fact that the link-lpver arms," the support means for t,hp out!@r ends of the patt& o@@' the structuii,@ and said linkbra;e, means, are, so relat4d as to, move the bench parts upwardly, during folding relative to the. top par I ts, and means, co:-acting with the said means by which ibe bench parts are elevated, to guide and steady t-hc, upper ends of th.e bench parts during, their M(>tiGn r@3lative to the, top parts. 9. The structure claimed in claim 5 in which said end support means comprise upper portions which are angulaii y t related to lower por ions re@pectively and said upper ,p,ortions are pivotally spaced@ from the top halves respectively by brackets wbich project, from the top halves@ a distance such that in fold@d p@osition the lower portions of said end support means lie substantially- parallel with, said top halves respectively. 10. A folding table and benches structure comprising; a- top and two benches dispolsed on oppos@te sides of the top, the structure being divided transversely into ti@o hingpd tog@ether par.ts,, e'acii, part comprising a top part aiid@ a part of each of the be@nches, said' bench, parts b6ing disposed on opposite sides of the top part, a center pedestal, link-lever means pivotally connected between the center i)edestal and thp tQp puts respectively Qn which the two parts of the structure @re swiing from an abutting relation in a horizontal plane into a plurality of substantially vertical planes, said center pedestal, includi,ng a. vertic@l member, means slidable vertically c.-n said m@mber spring means resisting downward moveini@nt of; the slida@le, me@ans, and arms pivotally. inter-connected between s4i4, means and the linklever means@ for, each top part respectively, said arms serving to balance the structure in folded position and during folding, and to prevent teetering of the top and bench parts on said center pedestal, leg means pivotally connected to the top parts adjacent their outer ends respectively and to the bench parts which are on opposite sides of said top parts respectively, and means interconnecting the leg means to the link4ever means. 11. The structure claimed in claim 10 in which abutment means are provided against which said arms abut when the structure is in fully folded position, said abutment means co-acting with said arms to positio@n and aid them in preventing teetering of the top and bench parts while the structure is in folded position. 12. A foldin.- table and benches structure comprising, a table top divided transversely into two parts hinged together along their abutting inner ends and two benches disposed on opposite sides of the table top, each bench being divided transversely into two parts hinged together along their abutting inner ends, the hinge lines of the top and of the benches being aligned transversely of the structure, a pedestal for supportin.- the top and bench parts both in folded and in unfolded position, swing arms pivotally mounted at one end to the pedestal and at their other ends to said top parts respectively, and adapted to elevate the hinged together inner ends of the top parts as the table is folded and to lower the inner ends of the top parts as the table is unfolded, slotted guide means supported by the top adjacent the line of fold of the top and extending down below the level of the benches in their unfolded position, pin means carried by each bench and extending through the slot in said guideway, whereby the hinged together ends of either pair of benches may be elevated freely until the pin means carried by the bench reaches the upper end of the guideway slot in which said pin means travels, whereupon further folding force exerted on the bench parts will be transmittld to the hinged together inner ends of the top parts, leg means pivotally connected to the top and bench parts adjacent their outer ends respectively, and link-brace means pivotally interconnected respectively between said leg means and said swing arms intermediate their ends. 113. A folding table and benches structure comprising, 2-)87-8i869 n opposite sides ot. the transversely into two comprising a top part and a part of each of the benches, said bench parts being disposqd on opposite sides of the top part, a pedestal, link-lever means pivotally connected between the. pedestal and the top parts respectively on which the two parts of the structure are swung from an abutting relation in a horizontal plane into a plurality of substantially verticat lo planes,, said pedestal including, a vertical member, means slidable vertically on said member, spring means resisting downward movement of said slidable means, a d arms n pivotally interconnected between. said slidable means a nd the link-lever means for each top part respectively, said 15 arms serving to balance the structure in folded position and during folding and : to prevent teetering of the top and bench, parts on said pedestal, log means pivotally connected to the top parts adjacent their outer ends respectively and to the bench parts which are on opposite sides, 20 of said top parts respectively and meaas interconnecting the leg, means to the, linklever means, whereby folding and unfolding action of the top parts is communicated to said leg means respectively@ 14. A folding table and benches structure comprising 25 two top parts hinged together alon@ a transverse line of fold, and two bench parts parallel with the t,op parts and hinged together alona a traiisverse line of fold which is aligned with the line of fold of the top parts a pedestal, swing arms pivoted at one end, to the pedestal and@ at their 30 other ends to said top parts respectively and adapted to elevate thQ hinged together iinner ends of the top parts as the table is folded and to lower the inner ends of @ the top, parts as the table is unfolded, means interconnecting the top parts and the bench parts and adapted to transmit 35 folding action from the benches to the top parts after the inner ends of the benches have been elevated a predetermined amount and to transmit unfolding action from the top parts to the bench parts respectively after the top parts have been unfolded a predetermined amount, 40 leg means pivotally connected to the top parts and to the bench parts parallel therewith respcctively, and means interconnecting said leg means and said swing arms respectively whereby folding and unfoldin.- action of the top parts is communicated to said leg means respectively. 45 15. The structure claimed in claim 14 including means slidable vertically on the pedestal, and arms pivotallyinterconnected between said means and link-lever means for the top parts respectively. 16. The structure claimed in claim 14, including means 5o slidable vertically on the pedestal a pair of arms connected between said means and said swing arms, said pedestal including means against which said arms abut when the structure is in fully folded position, the abutment means co-acting with said arms in preventing teetering of the top C)5 parts while the structure is in folded position. 17. The structure claimed in claim 14, including spring means tending to initiate folding of the structure by elevating the inner ends of the top parts, and means carried by one of the top parts and engageable under a portion of 60 said pedestal for overcoming the force of said spring means and maintaining the structure in fully unfolded position. 18. The structure claimed in claim 14, in which the pedestal comprises a plurality of inverted U-shaped mem65 bers on the intermediate portions of which the inner ends of said top parts respectively rest when the structure is in unfolded position. 19. The structure claimed in claim 14, in which the pedestal comprises an inverted U-shaped member, collars 70 are slidably mounted on the respective upright outer portions of said member, a pair of arms are pivotally connected between each collar and the respective members of a pair of link-levers, and means are provided against which the arms independently abut when the structure 7r, is completely folded.

20. A folding table and benches structure comprising, a table top divided transversely into two parts hinged together along their abutting inner ends, and two benches disposed on opposite sides of the table top each bench being divided transversely into two parts hinged together along their abutting inner ends, the hinge lines of the top and the benches being aligned transversely of the structure, means for supporting the structure including, a pedestal having portions at different levels on which the inner ends of the top and bench parts respectively rest when the structure is unfolded, swing arms mounted for rotation on the upper level of the pedestal and pivotally connected to the top parts respectively nearer the inner ends than the outer ends of the top parts, end support means pivoted to the top and bench parts respectively adjacent their outer ends, and means interrelating the end support means, the swing arms, the top parts, and the bench parts for simultaneous movement of the structure from unfolded position, in which the top parts lie in one horizontal plane and the bench parts lie in a lower plane parallel to the plane of the top, to a folded position in which the hinged together parts of the structure lie in substantially parahel vertical planes with two bench parts disposed on opposite sides of each top.part and substantially in the same vertical plane as the top part. 21. A foldable table and benches structure comprising, a table top divided transversely into two parts hinged together along their abutting inner ends and two benches disposed on opposite sides of. the table top, each bench being divided transversely into two parts hinged together along their abutting inner ends, the hinge lines of the top and of the benches being aligned transversely of the structure, means for supporting the structure including, a 2.,878,859 12 center support having portiong on -which the top and bench parts re,spectively rest When the structure is iinfolded, end s@' ort means pivoted to the top and bench pp parts respectively, and means inter-relating the top and bench parts for movement of the benches from 'Unfolded position, in which the top parts lie in one horizontal plani and the bench parts lie in a lower plane parallel to the plane of the top, to a folded position in which the hinge4 together inner ends of the top and bench parts are ele-.' 10 vated and each top part and the bench parts which are disposed on either side of a top part lie in substantially the same vertical plane, the end support means each comprising a bell crank rigidly mounted on a cross rod Nvhich is pivotally mounted on, and extends between, the bench 15 parts which are disposed on opp6site sides of a top pa rt, each bell crank assembly comprising leg means extendini downwardly from the cross rod to the floor and arm means extending from the cross rod at an angle inwardly and upwardly to the top part, link-lever means pivotally 20 connected to the top parts respectively and rotatable on said center support means for controlling the movement of the top parts between folded and unfolded posidon, and brace-link means pivotally c6nnecting the end support means to the link-lever means respectively. 25 Refennees ated in the file of this patea UNITED STATES PATENTS 2,721,778 Wilson ---------------- Oct. 25, 1955 30 2,723,890 Erickson -------------- Nov. 15, 1955 2,747,958 Wilson ---------------- May 29, 1956 2,788,059 Mackintosh ------------- Apr. 9, 1957 2,811,400 James ----------------- Oct. 29, 1957

UNITED STATES PATENT OFFICE CERTIFICATE OF' CORRECTION Patent No. 2,878,859 March 24, 1959 Harold Howe et al. It is hereb@ certified that error appears in the-printed specification of the above numbered patent requiring correction and that the said Letters Patent should read as corrected below. Colunm 3, line 43, for ,and portions" read -- end portions --; column 4, line 12, for the numeral 1159t, read -- 50 --; column 8, line 54, after "respectively" insert a comma- line 55, strike out "position including" and insert the same after "unfolded" in line 56, sajire column. Signed and sealed this 28th day of July 1959. (SEA-L) Attest: KARL H. AXLINE ROBERT C. WATSON Attesting Officer Commissioner of Patents

Описание

[1]

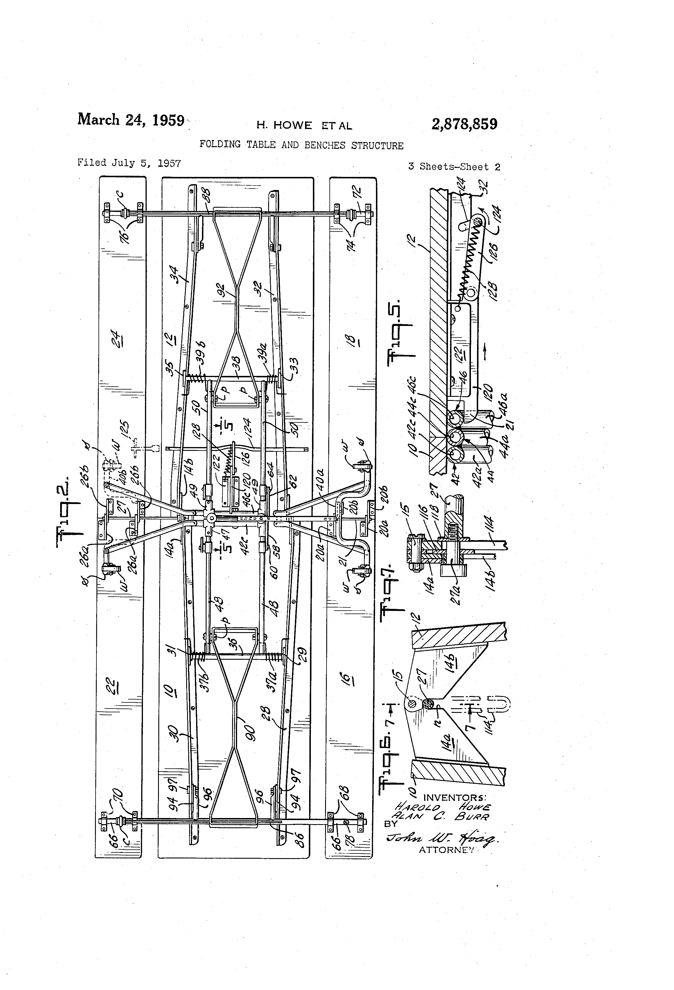
2 @ 8 7 8 , 8 5 9 United St,,-,ites Patetit Office 2,878,859 FOLDING TABLE AND BENCHES STRUCTURE 5 I-larold flowe, Rowayton, and Alan C. Burr, E2st Norwalk, Con.a., assignors to Howe Folding Furniture, Inc., Nevv Y rlr, N.Y., a corporation of New York 0 Application July 5, 1957, Serial No. 670,215 1 0 21 Claims. (Cl. 155-124) This invention relates to a folding table and benches 15 combination characterized in that th.- whole structure is automatically foldable along hinged transverse lines of fold from a horizontal operative position to a folde vertical position. Heretofore table and benches combinations have been 20 provided in which the table top has been either tiltable for converting a table top into a backrest for a bench; or the benches have been swingingly related to the top so that they can be swung up over the lateral edges of the top; or the structure has been divided into several sections 25 collapsible manually into several accordion-like folds, leaving some unexposed top surfaces when folded, making cleaning difficult. Previous attempts to provide a table and benches combination such that the whole structure may be automatically folded in un:lson along a transverse 3 0 hinge line, elevating the sa;d hinge line and drawing in the outer ends of the structure to a collapsed substantially vertical position, have failed. An object of this invention is to overcome the deficiencies of the prior art and provide a ftilly aiitomatic 3 15 table and benches folding structure. Another object of the invention is to provide support, brace and link m.-ans so interrelated that the heig4t of the structure when folded exceeds by a minimum the lengtli of one-half of the top, to facilitate moving the structure 4 0 through doorways. Another object of the invertion is to provide support .neans and link means cog@cting to provide leverage liftin-, t@,e bench parts as tic structure ipproaches coi-nplet.-ly folded position and raisiag ,heir lower ends. Anoth-,r object of the invention is to provide a table 45 aild benches combinaloia, having a lengtli on the order of 12' to 16' which is autlomatically fo-Idable as a unit along the hinged transverse mid-line of the structu're. Another object -of the invention is to provide s@uch a 50 structure in which the inner ends of the bench parts and the inner ends of the table top parts are interenga.-ed when in elevat@-d folded positio@i and thereby steadied against latern.1 or rotary i-,,ioveme,-lt. Another object of the invelition is to pro,vide a struc- 1 ttire of the kind described which may be either folded 55 upwardly along its hinged transverse mid-line or iinfolded with ease, due to unique balancing and spring and lever arrangements. Ano-ther object of the invention is to provide a structure of the kind descr;bed which Nvhen f Ided has a past 60 0 center frictional type of look resisting openi-,ig by a pull on a bench part, and thus preventin.- inaivertent and unauthorized unfolding, as by cliildren. Another object of the itiventio@,l is to provide - structure Of the kind described haviti.a ce-nter anci end support 65 means and interconnecting meaiis such that the structure can bo unf@ided by a force exerted downwardly from the transverse hinged line of fold. Another object of the invention is to provide a strticture of th.- kind described in which the, end support 70 means share the weight of the structure during the early Patetated M r. 24,,1,95@9 2 part of. the. foldi4g operation and the latter part of the iinfolding oppratipn, thus facilitating t4ese operations, and are raised from the floor during the latter part of the fqlding operation thus lifting their fixed castors clear @f the floor and allowing the u'nit to be moved in an y direction on the large swivelling cen.ter castor.s. Another o@bje@qt of the inv'@@ntion is to provide a stKiip7 ture of the kind described in which the two halves, are supported in folded position by single link mpans ex7 tending from a center support means to said halves speetiyely,. and means are als provi ed in pooiqg@ction with the. hi ge mea interconnectin th top. part , cpii ns g e s actiii.- wi.th extensions Qf tjip hinge, pins o the ;binge means interconnecting the parts of the benchps. r@@spe@@tii@ely @Q steady the s@ructure in,fol Qa po@ition. Another object Qf the invention is to provide means ooei-ative n@@ar the end of a folding qct@Q I n to rot4te tbi@ respective s,,ipport me4ns for the outler eads of t,h@@ gri@,c.tuire relative to the top parts to permit, (z!Qspr fpldinr of the. halves of the structure. and to achieve a past ce ter type of lock efiective until the said support- mi@ans are rotated relative to the top parts in the oppq@ite direction, Another object of the invention is to provide a stru tur-- of the above described type such that it may conipletely folded or unfolded by an operator standilng at one central point, on either side of th(@ unit, withollt requirin- hiin to go from end to end of the. unit, as I in the case of all, previous units of this gqneral type. Another objpct of the invention, is to proiide a, folding structur.e of the kind described which i,s simplo, dqrablg and efficient and may be easily moved when in folded position,. and which; then occupies a m . imum of floor space. @D The invention will best be understood if the,fQl@ow@ilgde.scription is read in connection with the di-awi4gs. i,n which: Fig. I is a side elevation of a structlir,e emb@odying t@he invention, in tinfoldfd position: Fig. 2 is a bottom plin view of the said. sttuctpre;, Fig. 3 is a perspective view showing the structura bqing folLIed; Fig. 4 is a side elevation showing the structure in full.ly folded position; Fig. 5 is a detail view partly in cross section of mea,ns by vihich the structure may be locked in unfolded i3osit,'@ o n; Fig. 6 is -- detail view partly in cross sectiqn sbo,,vi,ng a pin extei-ision of the bench hinge pin means rece@ived in a notch in hinge means joining the top parts thus interengaging and mutually steadying the ends of the top and bench parts which are, most elevated when thp structure is in folded position; Fig. 7 is a detail side vi w partly in section ta@pir p;l e the line 7-7 of Fig. 6; Fig. 8 is a detail view similar to Fig. 6 showing@ the hinge pin for the hinges joining the inner ends of a pailr of benches, which in the folded position of the strlucture is elevated approximately six feet or more, being grasped at a point which is between the, said bench 1-@nge@ and a pair of table top hinges to initiate, unfolding, of- tb@a structure; Fig. 9 is a schematic view indicating the corre(zt way to unfold the structure by a forc@e exerted downwardl 'Y from adjacent the elevated transverse hi ge line of thestrue,ttire, and showing unlocked position of the outer end support means achieved by rotating the outer end slipport m=s relative to the top and bench parts suppprtea thereby, at the start of the unl'olding action, and resultiii- from coactioii between said Lorce and means which liniits rotary movement of the support means in one direction and forces them to swing in a manner to move the bench parts apart; and

[2]

3 Fig. 10 is a schematic view indicating the position of the outer end support means relative to the top and bench parts supported thereby which produce automatic past center locking and occurs, resisting further unfolding, wben it is attempted to unfold the structure in the incorrect way by pulling outwardly on one or both halves of the benches. As shown herein the structure comprises the table top parts 10, 12 and benches disposed on either side of the table top and spaced laterally from the table top and comprising the parts 16, 18 and 22, 24 respectively. The table top parts 10 and 12 are joined together by hinge means each comprising leaves 14a and 14b and the pin 15. The bench parts 16 and 18 are joined together by hinge means each comprising leaves 20a and 20b and the pin 21. The bench parts 22 and 24 are joined together by hinge means each comprising leaves 26a and 26b and the pin 27. On the under surface of table top 10 the angle members 28 and 30 are provided, spaced apart and slightly converging from their inner to their outer ends. On the under surface of table top 12 the angle members 32 and 34 are similarly disposed. Depending from the angle members 28 and 30 in alignmenttransversely of the table top part 10, nearly half way from the inner end to the outer end of part 10, are the brackets 29 and 31 which serve as bearings for rotatably mounting the cross rod 36 spaced from the inner surface of table part 10. Depending from the angle members 32 and 34, in alignment transversely of the table top part 12, nearly half way from the inner end to the outer end of table top part 12, are the brackets 33 and 35 wbich serve as bearings for rotatably mounting the cross rod 38 spaced from the under surface of table top part 12. From cross rods 36 and 38 link4evers 48 and 50 respectively extend to a central support on which they are pivotally mounted as will be described. The central support comprises an I base member having the end portions 40a and 40b disposed under, and parallel to, the outer lateral edges of the benebes respectively, and the cross bar 40c extending transversely of the table top betv@een the mid-points of and portions 40a and 40b. Ile I member is supported on wheels or casters W mounted on the ends of members 40a and 40b by swivel mounts S. It wM be noted that end portions 40a and 40b each include the inwardly extending offset portions f, against which the lower ends of support means for the outer ends of halves of the structure abut during the last part of folding the structure and the first part of unfolding the structure, effecting itnportant results including a past center type of lock, as will be described. Projecting up from the I member of the center support means are three inverted Umembers 42, 44 and 46, the intermediate portions 42c, 44c and 46c of which are disposed in side by side relation in the same horizontal plane and provide a support surface on which the inner ends of the table top parts 10 and 12 rest when in unfolded posftion. The intermediate portions of the members 42, 44 and 46 may be bolted or welded together (Fig. 5). The middle member 44 comprises the arms 44a and 44b rising vertically from the cross bar portion 40c of the X-shaped base member, and the intermediate portion 44c which is disposed directly under the interface of the abutting ends of the table top parts 10 and 12 when the latter are in unfolded position. The members 42 and 46 are substantially U-shaped but have horizontal offset portions in their vertically extending arms. Their arms 42a and 46a and 42b and 46b rise from opposite ends of the end portions 40a and 40b respectively of the I-shaped base member and their intermediate portions 42c and 46c are disposed on opposite sides of 44c. Intermediate their ends the arms 42a, 42b 2,878,859 4 and 46a and 46b have the offset horizontal portions h, the portions h of 42a and 46a, and the portions h of 42b and 46b respectively being angled away from one another and providing stipport surfaces for the inner ends of the bench parts when they are unfolded. The offset portions It of portions 42a and 46a of the members 42 and 46 support the inner ends 6f bench parts 16 and 18 respectively, and the offset portions 42c and 46c of members 42 and 46 support the inner ends of bench parts 22 and 10 24 respectively. It will be noted that portions h are at a lower level than portions 42c and 46c. Link-levers 48 and 59 are provided interconnecting the top parts respectively to the center support means. It will be understood that one link-lever 48 and one link15 lever 50 may be used. As shown herein two similar members 43 and two similar members 50 are shown spaced apart laterally of the top parts respectively but the members of each pair are duplicates of one another and lie in the same plane and move together and connect 20 the center support to the top part along the same transverse line. The duplicate link means 48 are each welded at one end to rotatable cross member 36, and at the other end are received in collars 47 which are mounted for rotation around the central support portion 42c. 25 Around the ends of cross member 36 the torsion springs 37a and 37b are wound. Spring 37a is wound around the portion of member 36 which is between angle member 28 and a link 48 and one end of said spring is anchored to all,-I,- member 28 and the oth-,r end is anchored 30 to said link. Similarly spring 37b is wound around the portion of member 36 which is between angle member 30 and a link 48, and one end of said spring is anchored to angle member 30 and the other end is anchored to said link. 35 The duplicate link means 50 are welded at one end to rotatable cross member 38, and at the other end are received in collars 49 which are mounted for rotatioii around the central support portion 46c. Around the ends of cross member 38 the torsion springs 40 39a and 39b are wound, the ends of spring 39a being anchored to angle member 32 and link 50 respectively and the ends of spring 39b being anchored to angle member 34 and a link 50 respectively. The springs 37a, 37b and 39a and 39b exert force 45 tending to rotate the top parts relative to link4evers 48 and 50 respectively aiid thus aid in folding the structure substantially throughout the folding step. These springs also coact with springs provided around the vertical arms 44a and 44b as will be described to initiate folding of the 50 table top parts and the bench parts when the latch 120, by which the structure is locked in iinfolded position, is moved to inoperative position. Fixed collars 52 (Figs. 3 and 4) are provided at the lower ends of arms 44a and 44b of the center support 55 and above said fixed collars are the sliding collars 54 spaced from the fixed collars by the compression coil springs 56. ]Between each slidin.- collar 54 and the linklevers 48 and 50 respectively the arms 58 and 62 are provided through which the force of said springs 56 co is transmitted simultaneously to the table top parts 10 and 12 tending to raise the inner ends of said top parts from resting on the center support, and doing so whenever the latch means 120 is in inoperative position. Arm 58 is connected to collar 54 by pivot 59, and to link 48 (si by pivot 60. Arm 62 is connected to collar 54 by pivot 59 and to link 50 by pivot 64. When unfolding force is applied as illustrated in Figure 8, it is transmitted through the bench parts to the cross bars 66 and 72 causing the end support means to rotate (see F gure 9) and trans70 mitting the unfolding action of the bench parts to the top parts through the arms 96 and 100, and the brace link members 90 and 92 and the link-lever means 48 and 50. All six springs shown act to help fold the table and T5 also act as shock absorbers when opening it.

[3]

.The stpportl means @'or the outer ends of the structure halves comprise ihe cross bars 66 and 72 which, extend transversely under table top I)arts 10 and 12 respectively, between the bench parts 16 and 22 and IS and 24 respectively@ and are mounted for rotation around their longitudinal axes,,within brackets 68 and 70 on thelinder surface of beiich parts 16 a-nd 22 respectively, and brackets 74 and 76 on the Linder surface of bench parts 18 and 24 respectively. Dejoending from cross bar 66 are the legs 78 and 80 and dependin- from the cross bar 72 are the legs 82 and 84. Wheels or castors c are provided on the lower ends of said legs and are desirably each fixed in positi6n on axes at right an.-les to the length @f the structure to preventinadvertent or unaiithorized sidewise movin.- of the unfolded structure as by children, but allowing longitudinal movement. Extending between legs 78 and 80 is the cross brace member 86 and extending betiveen the legs 82 and 84 is the cross braqe member 88. Cross brace member 86 is connected to the link-lever means 48 by the Ion.-itudinal brace@-link member 90, and cross brace member 88 is connected to the link-lever means 50 by the longitudinal brace-link member 92. Members 90 and 92 are pi-votally connected to cross members 86 and 38 for movement with said cross members and tlleir leg means respectively. The connection of members 90 and 92 to link-lbver means 48 and 50 respectively is by pivots p, located a short distance from the ends of said links which are respectively connected to the rotatable cross rods 36 and 38. Since cross rods 36 and 38 are spaced from the under stirface of table top parts 10 and 12 the pivots p are also. spaced from the under surface of the table toD parts respectivel y and this location coiltributes bgth to the provision, of automatic past center frictional locking,means, resisting unfol@ing of the structure from substantially folded posiiion by a force applied as illustrated in Fi-. 10 for unfbl@ding the s,riicture, but rendered ineffective when a forpe is applied as illustrated in Fi 9 for unfolding t4e 9- structure, and also to control of the folded height of the structure. Depending from the an.-le members 28 and 30, and 32 and 34. near the outer ends of top parts 10 and 12 respecti ely, but spaced inwardly of th @v e said top. parts t,o,ward the eenter support means relative to the cross bars 46, and 72 of the end siipport mleans respectivcly, are, the bracke,ts 94, 98 to which the said cross bars are conTiected by arms 96 and I 00 respectively Nvhich@ are angled outwardly from said brackets to said cross bars respeetively. Arms 96 and 100 are fixed to. cross bars 66 and 72. respectively. for rotation with them and are pivotall y coniiected. to the brackets 94 and 93 respectively by pi,v.ots,, 97 and 101 respectively and their length and angular relationship. to legs 78, 80 and 82, 84 togpther with the lqcation of pivots p, and pivots 97 and 101, deterrnine, the:height of the structure in folded position and togptker with the stops f provided by the center support means- provide th@- folded structure with a safety lock r.esisting unfolding by pulls on the bench parts such as by childr@en. Arms 96 and end legs 78, 80 and arms 100 and legs 82, 84 are iii c@ffect bell cranks pivoted intermediate their .e,nds zespectively cii the cross bars 86 and 83. When swung inwardly the bell cranks also swing inwardly- the outer ends of brace-links 90 and 92 re.spectivialy@ In folded position, the end legs 80 and 84 (which are the. lowe I r portions of the bell cranks 96, 78, 80 and @ 100, 82, 84 which rotate around. the ax@@s 66 and 72 respectively) :are suspended above the floor and abut against the off et portions f of. the ends 40a and 40b of the I base, member comprising part of the center support. When an uni'olding force is exerted from th@B Wnged ends of a pai@ of bench part5, pr from the. extension of the hinge-pins for the hinaes of these Parts, as indicated in tlie, bench parts to the cross: bars 661 and 72 @nd thq$@@ to the legs 80 and 84 respectively. With the structure in fully fblded position leg mer,,ibers 80@ and 84 respectively are slightly inclined inwardly from top to bottom and adjacent their lower ends they abut against the inwardly extending offset portions f of said portions 40a and 40b, of the I base member. These offset portions f thus act as stops preventing the lower ends of said.legs from inov@ ing inward toward one another. Therefore the force 10 exerted downwirdly through the b.-nch parts causes the lower ends of these bench jai@ts and the to_p parts to move apart, with the cross bars 66 and 72 rotating in their bearin.-s, viith th@- restilt that the bell cranks 9680 and 100-84 move from th-. position illustrated. in jr) Fig. 4 to the position illiistrated scheriiatically in Fio, 9. It will be noted from referenc@- to these two figures that in this: initial un,foldinjz mo@vement the brace m,-mber,s 90 and 92 have moved inwat-dly across the pivots 97 and 101 respectively, which are, the "centers" beyond which 20 the braces 90 and 92 mi-7st move in order to prevent the locking effect which is o@tained as illustrated schematically in Fig' 10 when it is attempted to unfold the structure -.s by ptilling out on one or more bench parts. Force applied in t'iiat ma@iner does not effect initial rotation of 25 the bell cranks 96-78,, 80 and 100-82, 84 to cause the brace-links 90 and 92 to move inwardly across the ,.Centers" 97 and 101 respectively. This folded position locking action is bro iight about in part by providin.- an angular relatio-n between arms 96 and l@gs 80 and be30 tween arnis 10a aiid l,egs and the fact ti-@at brace links 90 and 92 rc@late around centers other than the centers around which the liyik levers, 43 and 50 rotate. This restilts in a situ,ation req.uiring the stretebing of members 90, 92,, or the, bending, of the, cross bars 86 or 35 88 respectively, in order,for. the braces to move in,@vardly across the pivots, 97 or 101. respectively from the complete]Y foided positibn illustrated in Fig. 4 or the position illustrated in Fig. 10 which results from attem I pting to unfold the structure, improperly by pulling outwardly 40 on one, or more, bench parts. The angular relation betwcen arms 96 and leg@ 78, 80 and betwe@en arms 100, and legs 82, 84 together ivith the proyision of the. sto s. formed by th inwardly p e offset portions of members, 40a@ and 40b prov;de leverage, 45 ca@using t,he b-ench parts to be. elevated as they approach ftijly folded position, ther'eby bringin the ouier ends 9 of the bench parts substant ally pp to the outer ends of the table part when the structure is fully folded and li-.-nitii3 and substantially avoiding longitudinal overg 50 lapping pf the table and bench parts of each half, which would have the effect of increasing the length of each half, and@ thus keeping the height of the structure in fglded position to a minimum,, only sligb@ly areater than the length of one-half o,f the table top. 55 Anp'ther important feature@ of. the invention is the provision of slotted guides 112 and 114, depending respectively from the hinge pins 15 of the two, pairs of hin e: means 14a-14b joining the table top parts. Th@e g hinge pins 21 and 27 respec@tively for the two sets of co bench part@hinges, 2Ga7--20b and 26a-26b are extended inwardly, across the spaces between the lateral edges of the table and the nearer lateral edges of the benches i-c,spectively, and ftough the slots in the respective gpides 112 and 114. As foldiniz of the structure is com65 mpiice@d by lifting force exerted on a pair of bench parts near the line of fold between their abutting ends.; as @llustrated in Figi 3, the hin e pin of the bench parts 9 travels vpwardly in its relatizd slot@ guide and when it 70 reaches the top of its movement@ it transmits a lifting and foldin.- force to the; ta@le top parts@@ adjacent. their 4butting ends,. Folding of the struc@ure has, already been initiated by retracting the@ latch plunger 120, thus allowing spring 56 and 37a-37b and 39a-39b to act, Figs. 8 and 9, force is transmitted downwardly throvgh 7r, and. is@ completed remarkably easily by continuing to

[4]

7 apply lifting force to a pair of bench parts, as illustrated in Fig. 3. When unfolding force is applied as illustrated in Figure 8 it is transmitted through the bench parts to the cross bars 66 and 72 causiiig the end support means to rotate (see Figure 9) and the resulting unfolding action of the bench parts is transmitted to the top parts through the arms 96 and 100. Preferably the pairs of table top hinge leaves 14a and 14b are shaped to form between them a slot or notch n open at the bottom to receive the extended inner ends of the bench hinge pins 21 and 27 respectively as they move upwardly in the slotted guides 112 and 114 (see Fig. 6). The headed screws 21a and 27a are screwed into the inner ends of pins 21 and 27 respectively and members 21a and 27a extend through the slotted guides 112 and 114 respectively and the washers 116 and 118, provided on opposite sides of each of said slotted guides, and through the notches n provided by the two pair of table top hinges 14a14b respectively. Thus the elevated inner ends of the top parts and the pairs of bench parts are inter-engaged when the structure is in folded position by means interconnecting their hinge means respectively, and lateral or rotativeoscillatory movement of the elevated ends of said parts is inhibited. To prevent the spring means from initiating folding of the unfolded structure, latch means is provided which comprises angle members 122 depending from the underside of top part 12, adjacent and at right angles to the cross portions 42c, 44c and 46c of the center support means. Mounted for rotation under the top part, in bearing apertures provided in the vertical arms of angle members 32 and 34, is a control rod 124, the outer end of which extends to a convenient location near a lateral edge of the top part and may terminate in a handle or an outer end fitted to receive and be rotated by a control key 125 (Fig. 2). The portion of the control rod between angle members 32 and 34 is bowed so that as it is rotated it will, through pivoted link 126, reciprocate the latch plunger 120 which is reciprocable between the angle members 122. The spring 128, between control rod 124 and one of the angle members 122, biases plunger 120 to move inward so that its inner end 121 is projected under one or more of the cross members of the center portion. Thus the structure is automaticahy locked in unfolded position until the latch plunger 120 is retracted by rotation of control rod 124, and when this occurs springs means 37a, 37b and 39a, 39b and springs 56 co-act to spring upwardly the inner ends of the top parts 10 and 12 from their abutting relation, after which the structure may readily be folded by folding force applied as illustrated in Fig. 3. The "past center" means described above for resisting unfolding of the structure due to pulls on the folded bench parts provides an important safety feature which is of particular usefulness in a school, or whereever there are children, to prevent the inadvertent or undesired unfolding of the table. It is natural for children playing where there are one or more folded structures of this kind to grasp the ends of the bench parts or the ends of the top parts and pull outwardly. The table and benches structure described above is usefuuy embodied in a large structure of considerable weight and the provision of means resisting unfolding of the structure by children is both a convenience and a valuable safety feature. It will be understood that although the whole structure is divided in two parts, these parts do not necessarily have to be of equal length. T'here has thus been provided a structure in which the above mentioned objects are embodied together with many practical advantages. What we

Как компенсировать расходы
на инновационную разработку
Похожие патенты