заявка
№ US 0002849569
МПК H01H71/62

Номер заявки
3445123
Дата подачи заявки
22.07.1954
Опубликовано
26.08.1958
Страна
US
Как управлять
интеллектуальной собственностью
Чертежи 
5
Реферат

Формула изобретения

claim: 40 1. In a circuit breaker having a pair of cooperating: c6ntacts with an initially engaged, a final engaged and a@ disengaged position, overcurrent trip means operatively@connected to said circuit breaker to move said cooperating contacts from said engaged position to said disengaged 45 position; said overcurrent trip means being comprised@ of a time delay armature,and an instantaneous armature, said instantaneous armature effective to cause tripping operation of said circuit breaker when said circuit breaker is being closed on a fault line and said circuit breaker 50 is in said initially engaged position, said tiine delay armature effective to cai-ise automatic tripping operation of said circuit breaker when said circuit breaker contacts are in said final engaged position and a fault current flows through said contacts; means operatively connected and 55 controlled bythe movement of said interrupter to render said instantaneous armature operative to cause tripping operation of said circuit breaker without time delay when said circuit breaker is in said initially engaged position; said means comprising an energy storage device in which energy is stored while said circuit breaker is moved from 60 said disenga.-ed position to said initially engaged position and released when said circuit breaker is MGVed from said initially engaged position to said final engaged position. 65 2. In a circuit breaker having a pair of cooperating contacts with an initially engaged, a final engaged and a disengaged position, overcurrent trip means operatively connecled to said circuit breaker to automatically move said cooperating contacts from either of said engaged 70 positions to said disengaged position; said overcurrent trip means being comprised of a time delay armature aiid an instantaneous armature, a blocking means interposed in the path of movement of said instantaneous armature when said circuit breaker contacts are in said the upward movement of the link 540 tends to re@l-ax by 75 final engaged position, means operatively connected to

said circuit breaker to control and coordinate the movement of said blocking means with the operation of said circuit breaker, said means being comprised of a mass member which delays the movement of said blocking member to the path of said instantaneous armature until after said circuit breaker contacts have been moved from said initial en.- aged position to said final engaged position. 3. In a circuit breaker having a pair of cooperating contacts havin.a an initially closed position, a latched closed position and an open position, a tripping means operatively connected to said circuit breaker, said trip means being comprised of an instantaneous trip member and a time delay trip member; a mechanical blocking member for said instatitancous trip member, control means operatively connected to said blocking n-leans, said control m,-ans connected to and operated by said circuit breaker to move said blocking means out of and into the path of movement of said instantaneous trip member when said circuit breaker contacts are moved from sa;d latched closed position to said open position a-@id when circuit breaker contacts are moviiig from said open po-qition to said latched closed position; said control means includin- a spring means energized when said circuit breaker is moved from said op@n nosition to said initially closed position; said blocking mear@s bein.- moved into the path of movement of said instantaneous trip member by said sprin.- means when said circuit breaker is moved from said initially closed position to said latched closed pos, 'tion. 4. In a circuit interrupter having an initial closed positioti, a latched closed position ai-id an open position, trip means operatively conneeted to said circuit interrupter and beiiig comprised of a time delay member and an instantaneous member, a mechanical b'iocking means operatively connected with said instantareous member, a control mechanism conpected to said circuit interrupter and said blocking member, said control mechanism beilig comprised of a heavy mass member suspe@ided from a spring which is controlled by the operation of said circuit interrupter, said mass member being operatively connected to said blocking means to move said blocking means into the path of mov,-ment of said instantaneous mer-riber after said circuit interrupter has been moved past said i-,iitially closed position to said latched closed position; ,said mass member being operatively connected to said blocking means to maintain said blockin.- means out of the of movemetit of said instantancoiis member while @aid circu;t interrupter is being moved from said open position to said initially closed position Fnd encrgy is being stored in said spring. 5. In a circuit interrupter having an initially engaged 2,849,569 position, a finally engaged, a latched position and an opened position; said circuit iriterrupter having an instantaneous trip means; a blbcki-@imember operativ-@ly connected witli said ilista-@ita@-icous trip mears to selectively render said iiistanta-iieous trip member operative and inoperative; a first bia--ling member connected aiid positioned to be energized by the movem@ ent of said circuit interrupter from @said finally eiiga.-ed position to said open position, said first biasi-@i.- member connected to said 10 blockin.- means to move said blocking means to said op@@,r,,itive position; a second biasin.- member connected and operated by the movement of said circuit interrupter from said open position to said initially enga.-ed position, said @second biasing member connected and posi15 tioned to move said blocking men-iber to said inoperative rosition wheii said circuit interrupter has moved from said initial enga.-ed -t)osition to said iinally engaged position. 6. A circiiit interrupter having an initially closed, a 20 latched closed and an open position; a trip means operatively coniiected to said circuit iiiterrupter to automatically trip spid circuitinterr-upter from either said latched closed position or said initially closed position to said open posit-on; said trip means includin- a time delay trip member 25 and an instantaneous trip meml,)er; a blockin- rneans, a linkage i-neans and a biasin.- means; said linkage means including said biasing mea-iis aiid being oi)eratively coniiected to said blockitig means; said linl@age means being operatinely connected to said circi-iit interrupter to selec30 tively interpose s,-,id blockin- mepns in the Dath of movei-@ient of said instpntaneotis trip member; said linkage means operative to remove said blocking means from the path of moveme-@it of said instant@nTi--ous armature when said circuit interrupter is moved from s,-tid latched 35 closed to said open posit;on: said biasing means storinenergy Nvhen said circuit interriipter is rnoved from said open position to said initi,@@113, closed position; said blocking means remainin.- removed from the path of movement of said instaiitaneous trip memb@--r ivhile said circuit in40 terrupter is in sai@ initially closed nosition; saidbiasinmeans releasing its ener.-y through a portion of sail linkage means when said circuit ititerrupter is moved from said initially closed position to said latched closed position to thc-reby move said blocking means in the 4,@5 path of movement of said instantaneous -trip member. Cited in the of this patetit UNITED STATES PATENTS 2,393,736 Bennett et al - ----------- Jan. 29, 1946 50 2 483,602 Wallice et al - ----------- Oct. 4, 1949 2:696,536 C,,@g,,hall (@t al - -------- Dec. 7, 1954 2,709,731 MacNeill -------------- May 31, 1955

Описание

[1]

0 278492569, United States Patent Office 2,849,569 SELEC'RIVE TRIP CIRCUIT BREAKER WITH 5 INSTANTANE, OUS TRIP'DURLNG:CLOSING William M. Scott, Jr., Bryn. Mawr, Pa., assignor to I-T-E Circuit Breaker Company, Phil@delphia, Pa., a corporation of Pennsylvania Application July 22, 1954,@ Serial' No. 445 123 10 6 Claims. (Cl.@200-108), My invention relates to selective trip, circuit breakers 15 and is more particularly -directed to a novel arrangement to permit instantaneous trip-free operation@ of the interrupter when it is rlosed on a fault. My invention. is related to iiovel mears to render an instantaneous trip armature operati ve to enable a time delay circuit breaker used in a 20 selectiv e trip system to instantaneously trip open only when it is manually or automatically closing @on a fault and is an improvement of the arrangement, showni in Pate,nt No 2,536,775 assigned to the assignee of the instant app-lication. 25 Selectiv e trip systems such as describedlin Patent Nu. 2,648;8 03, assigned to the@assignee of the instant@applica@ tion, - Patent No. 2,486,602 assigned to the assi.-nee @ of the instant application, are @rovided with circuit-breakers of the type shown in Patent, No. 21439,165, assignedi@to 30 the assignee of the instant application@, have time, delay charact eristics for all currelit values.up to the interrupting capacit y of the circuit breaker. Thus except: for severe short, circuit currents, the circuit bre@ker always opens with either long or short@ time @ delay characteristics. 35 When the circuit breaker is latched in the@closed position the short and long time delay tripping will;,not harm the interrupter or the: system during the period' of the tirne delay. However, if a fault @ exists on the line at the tim& when an attempt is made to automatically or manually 40 close the circuit breaker, the circuit b,reaker may ble severe- 1 ly damaged. I That is, the magnetic,forces set up in the@ loop@ consist@ ing of the movable contact will tend to force: the,- contacts to partially open@ position@ and since this force@ may be 45 larger than the force tending to close the@ breaker, the mechan isms will. not be permitted to latch' closed. : Thus, if the@. circuit breaker is provided with time delay, charact eristics, the trip@frea latch is not disen.-aged during closin@ and hence, the eircuit@ breaker is not trip-free. 50 That is, if the! r-losing force is not sufficient to close and latch the contacts against the fault current, then.the opening of the breaker will not be trip-free until a lapse.. of relativel y long2 time. T'hig may result in either, injiiry to the person attenipt- 55 iiig@,to % manually close the breakeror in a pumping operation of the,breaker if it is being automatically closed. It is also noted that if the contacts do not latch closed when, the circuit breaker is closed. on.a fault@currenti the arcing - contacts may remain in partial engagement, and 60 clia.tter; tlius, causing excessive arcing damage: @ to the contact components of the circuit.breaker.. That@is, since the arcing, contacts,may remain in engaged@ position ttntil the time delay for the, overcurrent@ armature has elapsed, the, arcipg contacts will be damaged since they: are ex- 6,5 posed to excessive areing conditions aiid are:not, designed to carry current for any appreciable length of time @with the existir,.g poor contact, engagement. This undesirable condition cannc)t be overcome by 70 merely providing more cl6sing force, to overcome the magnetic opening for&es. The' reason, for, this @ is that the Patented Aug. 26, 1958 2 same closing forces are applied whether. or not a fault exists on the line. If sufficient closing forces are provided to close and latch the circuit breaker against the fault, then a closing operation with this same force, in the abseiiec of opposition f6rces established by a fault, would cause,. undue mechanical strain on the breaker. It is further noted even if the selective trip circuit breaker could be latched closedon.a,fault line, it would not be desirable to have time delay, tripping.: That.is, is not necessary to have a circuit breaker. which. has,been opened- as a result of a fault current operate with time dejay characteristics if it is closing on the same fault since the fault on the line will either exist. close to this @ circuit breaker or cause a fault current @to flow with a magnitude which only the interrupting capacity of the opened circuit breaker can handle. Hence, it is doubly desirable to provide, tripped circuit breakers with ibstantaneous trip characteristics during, the closing operation so that it will trip open without, time delay in case it is reclosed on the same fault which caused it to trip op-,n originally. In order to overcome the dangers associated with closing a.eircuit breaker against fault current under delaye(I conditions, I liave provided an instantaneous armature ill addition to the long. and short time delay- trip armature. Th& instantaneous trip.armature is effective only during the closing operatioi@ of the circuit breaker to trip same without time delay; H6wever, after the cooperating contacts are, latched closed, the instantaneous armature: is blocked and hence, the circuit breaker has. either long or short time, trip, characteristics on the occurrence of a fault, curr4@nt when the contacts are latched. closed, . That is, the,eircuit breaker will have high speed trip,characteristics during,the closing period and time delay characteristics after the @ circuit breaker is lat@hed, closed.. With this arranL_,cmeut, if an attempt is made to close the interrupter.on a fault current,.the trip latch will be released as immediat6ly after a fault:curr&nt commences to flbw even though the,prop -latch is not moved to.latch position. Thus, trip-free operation will occurias a result of the instantaneous tripping., Hence, -with this arrangernent, there will be no sustained f6rces in opposition to the manual closing means or to the automatic closing means causing dainage to the, arcing contacts as a. result of: an attempted closing on a faulted line.. it Will be noted that there: are several other: novel methods to achieve the above noted desired results@@ For example, co-pending application Serial No. 445,094i filed July 22, 1954, assigned to the assignee of the instant ap,@ plication, provided an @arrangement, whereby the timer arm of the escapement, time delay mechanism, is rotated out of the path of its armature.:during, the opening, of the, circuit breaker and is not returned to its @ operative position until the circuit, breaker is latched closed@@ Hence, the - circuii brealcer will, have, instantaneous trip if the, circuit breaker is closed on a f-ault@ Iiiie but will@ have time delay characteristics, after the circuit @breaker,.is latched closed. Copending application Serial No. 445,122, filed July.22,.1954,-assigned to the assignee of the:inst ant-,app4cation, provides a latch for.the pivot of the tim-Pr hous@ ing which is unlatched during the@ opening operation,so that the circuit brealer will triprfree without time; delay,if closed on a,fault@line. Copending@application;Serial No. 445 .124, filedJ61y., 22,.@ 1954,- assigned to, the, as@4 signee I of the instant- application, @ provides @ an.'arrangement wherein- the entire escapement timer- housing is rotated during@@the opening,. operation to xender the time delay means ineffectivc.when,thecircuit brealcer is closed on a f4ult.

[2]

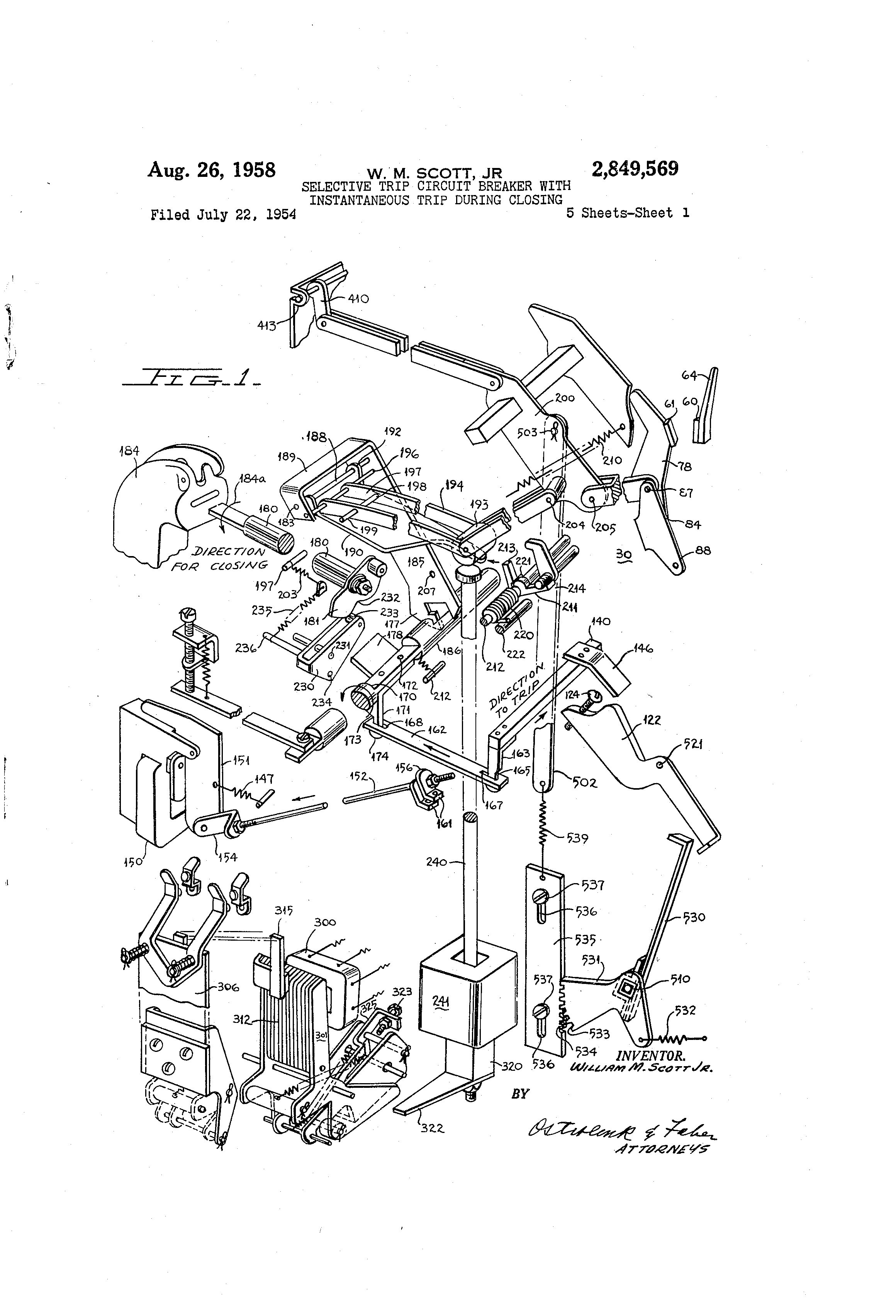
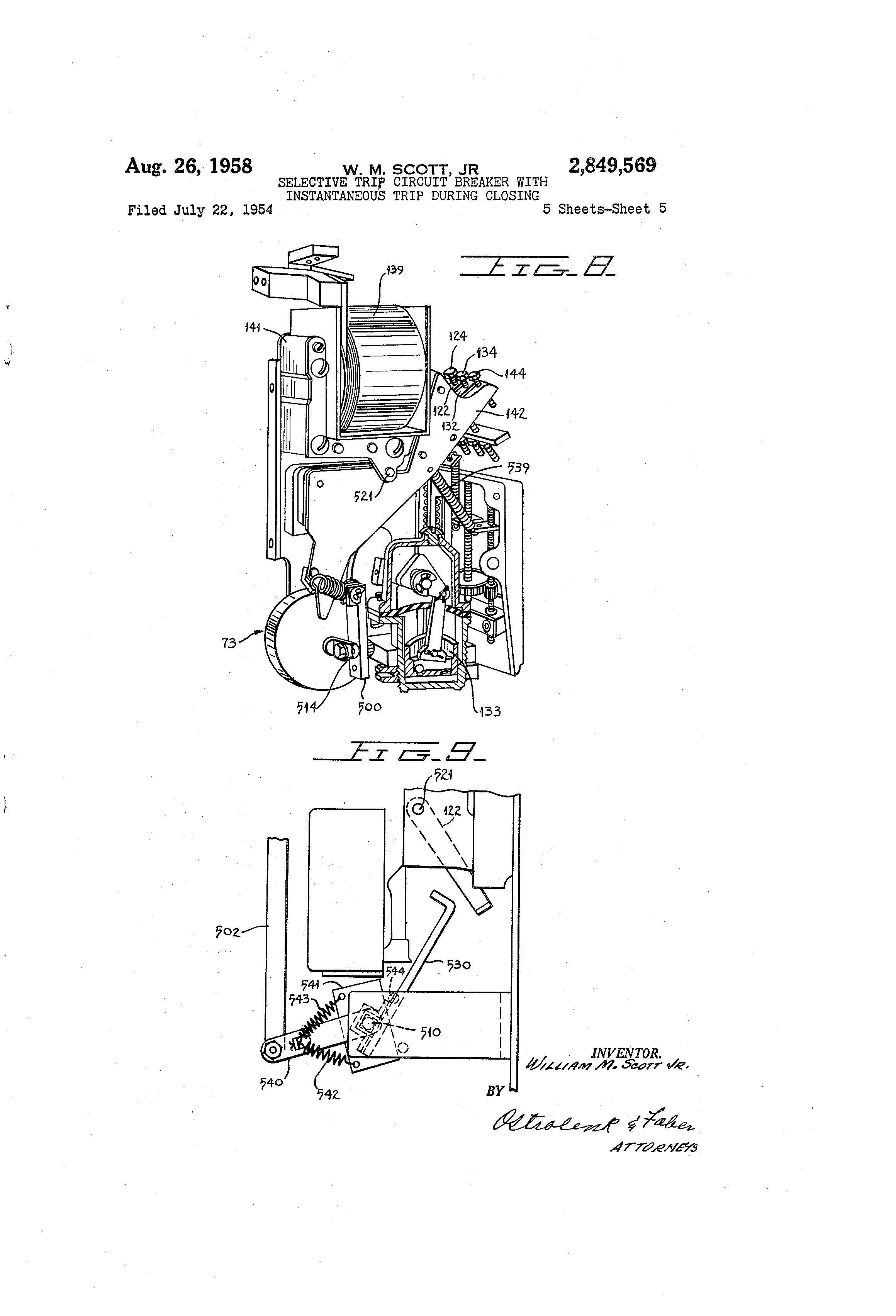
3 Accordingly, a primary object of my invention is to provide a novel arrangement for selective trip circuit breakers wherein high speed or instantaneous tripping occurs for any magnitude of overcurrent only during the closin-. operation of the circuit breaker due to the unblocking of an instantaneous armattire durin,- the opening operation and thereafter when the circuit breaker main contacts are latched engaged has time delay chardcteristics, at which time the iistantaneous armature is blocked. Another object of my invention is to provide a novel arrangement in which the instantaneous tripping mechanism is rendered operatiiie during the cpening operatioii of the circuit breaker by removing a blocking means for an instantaneous armature and is rendered inoperative after the contacts are latched closed by placing the bloct,ing means in the path of the instantaneous armature. A still further object of my invention is to provide novel means to remove a blockin.- means from an instantaneous trip armature when the circuit breaker is being opened and to maintain said blockilig removed from said instantaneous armature until the contacts are fully latched closed. These and other objects of my invention will be apparent from the followin- description when taken iii connection with the drawings in which: , Figure I is an exploded perspective vi,-w of an operating mechanism of a circuit brealcer and shows the cooperating contacts in la disengaged fully open position. This figure illustrates my novel arrangement wherein an instantaneous trip armature is rendered operative when the circuit breaker is moved to open position by unblocking same and remains unblocked until after the contacts have latched closed. Fi-ure 2 is a side view of the circuit breaker of Figure I and illustrates the position of the various components when the cooperating contacts are in a fully closed posilion. This figure also illustrates the manner in which the instantaneous armature is blocked after the contacts liave latched closed so that subsequent @automatic tripping of the circuit breaker will occur with time delay by movement of either the long or short time delay armature. Figure 3 is a schematic view of the circuit breaker of Figures I and 2 and illustrates the position of the various components when the circuit breaker is in the fully closed position of Figure 2. This figure illustrates the latched position of the trip latch and prop latch. Figure 4 is a schematic view of the circuit breaker . of Figures 1 and 2 and illustrates the initial trip position. Figure 5 is a schematic view of Fi-ur,-s I and 2 and iuustrates ti@e position of the - @arious components when the circuit breaker is in the collapsed position, prior to the relatching of the trip latch. Figure 6 is a schematic view of FigLires t and 2 illustrating the position of the compoiients when the circuit breaker is in the fully open position of Figure I with the trip latch re-engaged. Figure 7 is a schematic view of the circuit breaker of Figures I and 2 and illustrates the positioii of the circuit breaker in the trip-free position. This figure also illustrates the latched control relay and closing solenoid which may comprise the automatic closing means for the circuit breaker. This fi,-Ure further illustrates my novel means to render the instantaneous t@-lp armature effective until after the contacts have latched closed. Figure 8 is a view in perspective, partially broken away, of the complete long and short time delayed trip armatures and control means thereof, as well as the instantaneous trip armature. Figure 9 is a side partial view similar to Figure 1 andillustrates a second embodiment of my invention. The circuit breaker is provided with the trip mechanism shown in Figure 8 which has an instantaneous trip armature 122, a long time delay armature 132 controlled by dash pot 133 and a short time delay annature 142 con2,849,569 4 trolled by the escapement mechanism 73. All three armatures 122, 132 and 142 are pivotally mounted on a common pin 521 and are free to operate independently. The speed of the short time delay armature 142 of the overcurrent trip coil 139 is controlled by the timer arm 500 which is pivoted on shaft 514 of the timer mechanism. The timer arm 500 is secured to the short time delay escapment mechanism which is identified by the numeral 73 in Patent 2,769,057 and Re. 24,149, assigned 10 to the assignee of the instant application. The short time delay escapement mechan sm for the timer arm 500 may be identical to that described in the above identified co-pending applications and forms no part of the instant invention. 15 The dash pot 133, which controls the long time delay armature 132 is described in Patent 2,769,057 and Re. 24,149, Serial No. 424,416, filed April 20, 1954, Serial No. 424,369, filed April 20, 1954, all assigned to the assignee of the instant application and forms no part of my pres20 ent invention. For purposes of simplification, I haie not shown either the lonor short time delay armatures 132, 142 or 'Lheir control means in Figures 1, 2 and 7. On the occurrence of an overcurrent condition, coil 139 on the core 141 is energized. Each armature 122, 25 132 and 142 has a screw 124, 134, 144, respectively, threaded at one end thereof which is used to effect an adjustable contact with the initial tripping member 140 as seen in Figures 1, 2 and 7. The head of the screw tends to act to rotate bar 140 upon the energizing of the 3o coil 139 by hitting extension plate 146 which is bolted to the shaft 140. When the screw hits the ends of the extension plate 146, the shaft 140 is calised to rotate in a counterelock-wise manner looking from the right of the circuit brealer 30, which is the view of Figure 1. 35 The instant invention is directed to means to place a blocking means in the path of movement of the instantaneous trip armature 122 following the manual or automatic closing of the circuit breaker and to remove the blocking means therefrom during manual, shunt or auto40 matic tripping of the circuit breaker. Althougft the circ-ait breaker per se with which my novel arrangement may be coordinated, forms no part of the instant invention, a description of the operation of the unit will now be given in order to understand the cooperation of the circuit 45 breaker. It wiR be apparent to those skilled in the art that my invention could be applied either to the circuit breakers shown in Patent 2,754,389 and Patent 2,769,057, assigned to the assignee of the instant application, or to any other type of circuit breaker. 50 The circuit breaker may be tripped by shunt trip coil 150, overcurrent coil 139 or manually by handle 184. The shaft 140 is caused to rotate by means of the shunt trip coil 150 which upon being energized exerts a pull on arinature member 151. The member 151 has a link 55 152 rigidly attached to one end of member 151 by means of an adjustable link member 154. A restoring spring 147 attached to the member 151 resets the armature upon deenergization of the coil 150. The other end of link 152 passes through tripper bar extension 156 which is 6o attached to the shaft 140 by means of bolts passing through hole 161. Thus, the shaft 140 can be caused to rotate by two methods: (1) due to the energization of the overcurrent trip coil 139 and (2) due to the e-.iergizing of the shunt 65 trip coil 150. The rotation of shaft 140 causes a link 162 to be moved by means of an an,ale 163 which is bolted to the shaft 140. The link 162 has two slots 168 and 167. The slot 167 engages the identation 165 of angle 163. The translatory movement of link 162 cai-,ses the rota70 tion of a milled shaft 170. The milled shaft 170 has another angle 171 rigidly attached to it by means of two bolts 172. This angle has an indentation 173 which engages the slot 168 of link 162. Thus, the rotation of shaft 140 causes the rotation of 75 milled shaft 170. When milled shaft 170 rotates to

[3]

5 f-elease a latch 177, as is hereinafter described;. the::clr.4 cuit breaker movable contacts 61 are disengaged froin the stationary contacts 60. The angle 171 described above has an abutment 178. This abutment 178: is engaged by a roller 179 which is rotated mantially by means of the closing handle 184 attached to the shaft 180. Shaft 180 has a crank 181 rigidly attached thereto by means of a screw 182. When the roller 179 is rotated by the closing handle 184 it engages abutment 178 of angle 171 and rotated milled shaft 170. Thus, milled shaft 170 can be made to rotate by a plurality of methods to open the circuit breaker 30. It can be made to rotate manually by means of closing handle 184; it can be made to rotate by means of an overcurrent condition in trip coil 139 and it can be made to rotate by means of an excitation of shunt trip coil 150, as described above. The latch 177 is an integral part of the trip arm 185. The latch 177 engages the milled shaft 170 so that a small revoltition of shaft 170 releases the latch 177. The shaft 170 is milled slightly past center at 186. The trip arm 185 is pivoted at 187 on a long pin 188; The pin 188 is also enaaged on the trip arm extension 189 at poiiit 183. The movable arm 190 is pivoted on pin 188 and extends beneath a roller 193. The roller 193 is the pivot point of a toggle mechanism consisting of two links 194 and 195 and is carried by a pin 202 which pivots the meeting of links 194 and 195 which are each comprised of two arms. A.rm@, @-9(,,! ;rc-- i3ivoted on floating pin 196 and arms 195 V(',!CLI )I', P;rl The arms 194 support a rod 197 at 198 and 199, respectively. ' 'rhe rod 197 carried one end of a restoring s,pring 203 which is tensed 'by means of a stationary shaft 212. The restoring spring 203 exerts a tension on the Iiiik 1194 which tends to open or break the toggle mechanism 194-195. Link 194 is pivoted on a floating @in 196 ' which is supported by link arm 195 qnd its extension 189, bein.- parallel to the pin 188. The other link 195 of the toggle is pivoted on movable link 200 which is coniiected by rr@eans of an adjustable insulator 201 to the movable contact assembly 61 and pivoted on common bar 406. V/hen the to.-@le mechailisn-i consisting of links 194 and l@'S is straightened out by meaiis hereinaf,er described oressure is put on niovable Iiiik 266 by means of link 195 and bearin.- pin 204. The movable link 200 is pin-@ied to insulatok /"Ol by piii 205 and moves so as to advance the iiisulator 201 aiid the movable contacts 61 towards the statioiiary contacts 60. In the exi@loded view shown in Figure 1, the contacts are open and the "oggle mechanism 19,'-195 is collapsed. The cii-cuit breaker may be cIGsed by a variety of r@iethods such as nianually by handle 194 or automaticaliy bv lci+cbcd rciay 3t5D---241 i-@id cloring coil 321. The circuit can be closed manually by means of shaft 130 rotated by clos@'.ng handle 134, described above. If shaft 1,9,0 is rotated i-ii the dire(,Lion i-@idicated by tile arrow 134a, the rellei- 1;79 will engage the bottoiii of arm 190 and force tiie arm, 190 @igainst the roller 193 -'-iLis straigbtCTI@r@- cut the toggle mechanism and closinthe circu;t break(,,r contacts. Tj-.e movable li-,iks 209 are urider an opening tension by me,,ins of openin- spri-@ig 210 so that f no additional lc,,cl@ing actio@,, ctlic, than (,Icscrib@g(', above fcr suppo.- titig the to-gle c)@ist--d, the circuit breaker would reopen immedilitely upon relensin.- the shaft 180. The locking t4evice is sqpplied by mea-@is of a crank 211 which is located on a shaft 21.2, nientioned above, whose longitudinal axis is parallel to the axis of the milled shaft 170, and the rod 140. The prop 211 has two arms 213 and 214. The latch 213 is located, when the circuit breaker is open@ adjacent the roller 193. When the roller 193 is forced upward, as due to the pre@ssure of prop latch 190, the roller pushes against prop latch 213 of crank 211, r6tating the crank 2 1:1 'slightly - on shaft @ 212.. When the roller 193i @ has cleared the top of prop latch 213, the prop latch 213 snaps underneath the roller 193 due to the biasing action of spring 220. The spring 220 which is wound on the shaft 212 has oile end on an indentation 221 of crank 211, the other eild borne against a shaft 222 which pierces the trip latch 185. The shafts 212 and 222 have been moved out of position in the exploded view for the sake of clarity. Actually, the shaft 222 pierces the trip latch 10 185 at point 207. The longitudinal axis of shaft 222 is essentially parallel to the longitudinal axis of shaft 212 and iiailled shaft 170. When the roller 193 i3 moved, straightenin.- the toggle 194-195, it causes crank 211 to rotate compressing 15 spring 220. The roller 193 clears the top of prop latch 2-@ 3 lettin.- ttic crank rotate in the opposite direction until th.- -,trm 213 is directly beneath and supporting the roller @193. The other arm 214 or crank 211 bears against the shaft 222 preventing further rotation of the crank 211 9@O so that the arm 213 is stopped directly beneath the roller 193. The spring 220 is under compression normally so that the arm 214 is constantly bearing agaifist the shaft 222. lvhen the toggle is straightened, the rotati6n of the crailk 211 moves the arm 214 away from the shaft 2,5 222 until the roller 193 clears the top of prop; latch 2jl3. Then the reverse rotation of the crank 211 occurs until the arm 214 bears againstshaft.212. Thus, when the toggle 194-195 is straightened and the circuit breaker closed, the crank 211 locks the toggle So 194-195 and thus locks the circuit breaker in a closed position. The closing handle 184 by mcans of the shaft 180 after closin.- the circuit breaker by means of the rotation of roller 179 a_Rainst the arm 190, as described above, is 35 returned to its normal position by means of a crank 230. The crank 230 is pivoted on a stationary pin 231. The crank 181 described above has an indentation 232 which meets a roller 233 of crank 230 ' The crank 230 supports a pin 234 @N/hich has a restraining spring 40 235 engaged at one end 236. The restraining spring 235 is attached to an angle 237 and is tensed on the pin 236, causin.- the crank 230 to rotate. The rotation of crank 230 causes the roller 233 to meet the indentation 232 returning the crank 181 to its normal position. Ttie various positions of the operating mechanism are 45 shown in Figures 3 through 6. Figure 3 shows the closed position thereof, with link 195 pushed forward to raise the'crank 200 and close the insujator 201 and contact arm 78 and with the roller 193 on the.prop latch 213. 50 The latch I arm 185 is shown in. appropriate latching engagement viith the milled shaft 170. When the shaft 180 described above, is turned to release the mechanism or on the occurence of tripping conditions, the milled shaft 170. is rotated to permit the 55 latch arm 135 to move into the milled section 186 of the milled shaft 170, as seen in Figure 4. Then as seen in Figure 5, the roller 193 drops off the prop latch abutment 213 to open the circuit breaker. Thereafter, as seen in Figure 61, the latch arm 185 is 60 restored to its initial position so that the circuit breaker may again be manually moved 'from the open position to the closed position of Figure 3 by handle 180@ The circuit breaker may also be automatically clcsed I)v mearis of the control relay havirg co-',I 300 65 and armature 301 and the closing solenoid 241 which controls the closing plunger 240. The circuitry for the automatic closin.- means is shown in Fi.-ure 7 and the details of the latched relay and closing solenoid are seen in Fi.-ures I and 7. A det0ed 70 description of the operation of the closing means shown-in these figures is set forth in co-pending applications Serial No. 254,349, filed November 1, 1951; Serial No ' 383,714, filed October 2, 1953; Serial No. 423,782, filed April 16, 1954-1 Serial No. 428,638, filed May 10, 1954., all of which 75 are assigned to the assignee of the instant application,

[4]

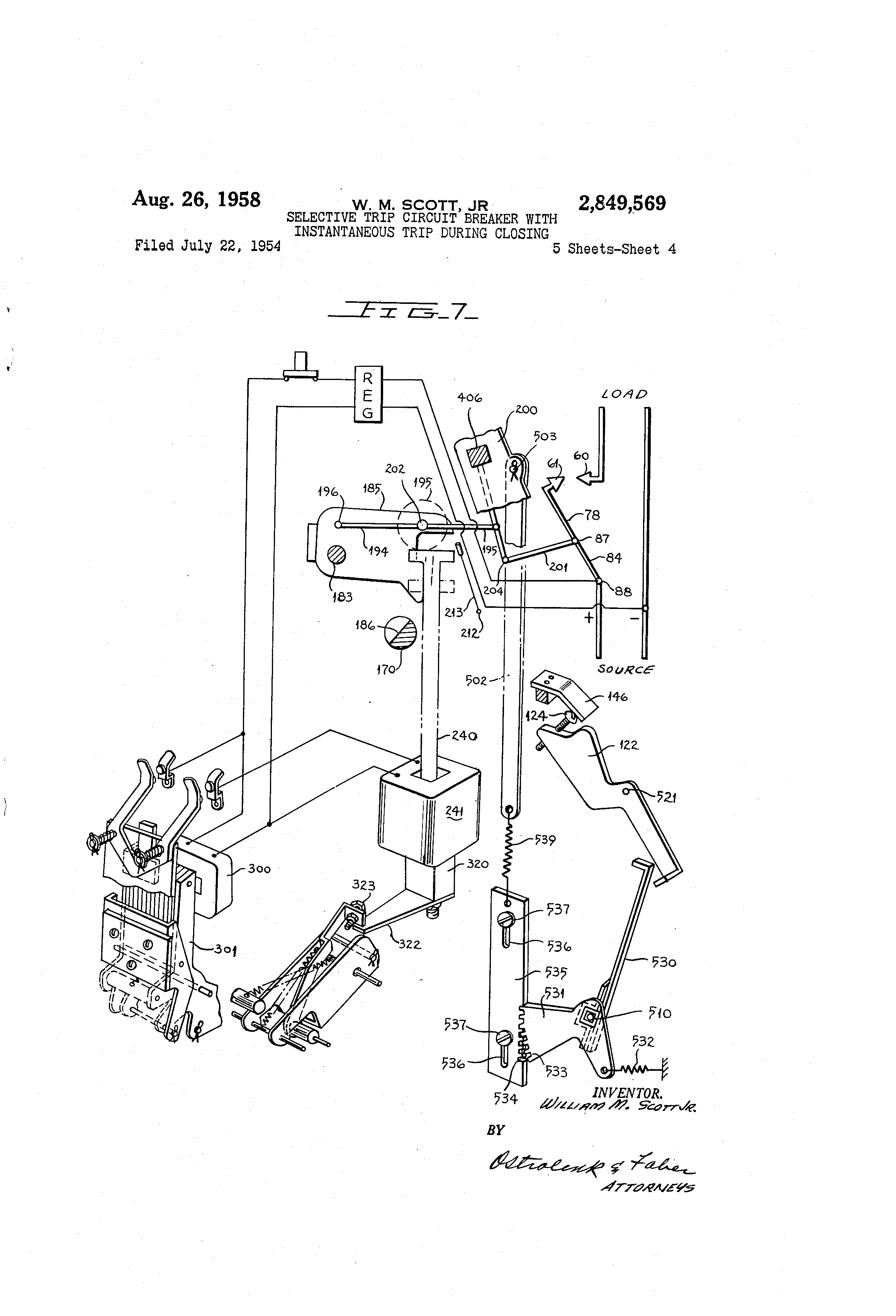
7 Figure 7 algo illustrates the trip-free operation of the circuit breaker. Thus, for e,.amrlc, vvhen the br--al@er is automatically closed by means of the control relay 300-301 and the closing solenoid 240-24-lL, the circuit brea"-er tlieii trip-f@-ce t'@-ic aoovo desc-ribed trip latch 170 is opened as soon as fault current flows through the contacts. That is, even though a continuous closing force may be applied to the breaker from the closing plunger 240 the circuit breaker will nevertheless trip-free, if the trip latch 170 is rotated. Ag heretofore noted, the trip latch 170 m@-,y b-- controlled by the overcurrent short time delay armature 142 or overcurrent long time delay armature 132. However, as heretofore noted my invention provides the breaker with an instantaneous armature 122 which is operative only during the closing operation by means of handle 184 or closin- means 300-301 and 240-24-i. If an attempt is made to either automatically close the breaker by means of the plunger 240 or manually close the breaker by means of the handle 134 on a fault line, the magnetic forces would tend to separate the cooperatin,@ contacts 60, 61. The opening magnetic forces on cooperating coiitacts 60, 61 may be greater than the closin.- force which is derived from the energy flowing in the closing solenoid 241 or may b,- great,-r th,,in the force derived when inaiaually closing by handle 184. I'Vithout my novel instantaneous armature arrangement, the circuit breaker contacts 60, 61 will tend to separate due to the magnetic forces, but the trip latch 170-186 will remain enga-@ed since there is a time do@ay on the armatures IL32 and 142 which controls the position of the trip latch. It is also possible that only the arcing contacts of the circuit breaker will engage, and remain in engagement since -cuit breaker there is an insufficient force to clos@ the cii. against a fault thereby dama-ing these contacts and the circuit breaker. Hence, the components will attempt to assume the positioli in Figure 6. However, since a closing force will be continuously applied, thereby driving the plunger 240 upwardly, a second attempt will be made and the above noted operation will be repeated. Hence, there will be chattering or pumping of th,- cooperating contacts which will result in damage to the circuit breaker and line to be protected thereby. Since the circuit breaker is constantly being made and brok,-n the armature 132 and 142 of the trip coil 139 will always be moved back to their neutral pogition. That is, the current will not be permitted to flow for a sufficient length of time to allow the armatures to move from their energized position agaiiast the time delay created by the timer arm 500 or dash pot 133. it is a primary object of my invention to provide a novel arrangement wherein the circuit breaker has in,stantaneous trip characteristics when it is being closed on a fault current and thereafter when the contacts are latched closed has either long or short time delay trip characteristics. As heretofore noted, I have provided the circuit breaker with an instantaneous trip armature 122 which is seen in Figures 1, 2, 7 and 8. A blocking means 530 is selectively positioned in the path of movement of the instantaneous trip armature 122. Thus, for example, as seen in Figure 1, when the circuit breaker contacts 60, 61 are in the open position the blockin@ means 530 is removed j'rom the pith of movement of the instantaneous trip arma'Ltire 12?. the -rnc.,.iiis 530 is not interposed in the path of thc, armature 122 until after the contacts have latched closed. Thus, as clearly seen in Figure 5, wherein the circuit breaker has tripped free, the instantaneous armature 122 is effective to trip the circuit breaker without delay since the blocking means 530 did not interfere with itsoperation. However, after the circu;t breaker contacts are latched closed, the blockin.- means 530 is interpoged,in the path 8 of movement of the armature 122 as clearly seen in Figure 2. 'T'he manne,@- in wl).ich the b@ockiii.- me-,iiis is ccntrolled and coordinated with the operation of the circuit breaker will now be described in connection with the Figures 1, 2 and 7. The blocking means 530 is rigidly secured to the common shaft 510 and hence rotation therewith. A bell crank- member 531 is also secured to the common shaft 510 and is provided wit'@i an extension arm to v@rhich a biiisid- spring 532 is secured to bias the shaft 510 in a counterclockwise direction. The other arm of the bell crank 531 is provided with a plurality of teeth 533 whicli are in en.-agement with th@- teeth 534 of the member 535. The rack 535 has a considerable mass and is guided iii a vei-tical path by its slots 536, which receive the statioiiary pins 537. Thus, as the heavy rack 535 is moved ul)wardly the ratchet 531 will be rotated in a clockwise 20 direction due to the engagement bet,,veen the teeth 533 and 534. This will cause the common shaft 510 to rotate in a clockwise direction thereby moving the blocking member 530 in a direction of the arrow 538 to a position where it will block the clockwise rotation of the instantaneous trip -armature 122. A helical sprin@- 539 is secured at oiie end to the surplus weight r-,ick 535 and at the opposite end to one end of rod 502. The opposite end of the rod is pivotally mounted on pin 503 to the movable link 200. Thus, wh-,,i the circiiit breaker contacts are in the open position of Figure 1, the rod 502 will be in its lowermost position and hence, the rack 535 will also be in itg lowermost position thereby rotating the ratchet 531 and the blocking means 530 to their clockwise position. In this position the mechanical blockin- means 530 is 0 out of the path of movement of the instantaneous trip armattire 122. It will be noted that both the gear train 535 and the biasing sprin@- 532 will tend to maintain the blocking means 530 in its uiiblocked position of Figure 1 until after the contacts 60, 61 have latched closed. Hence, if an attempted closing operation is made on a faiilt line the instantaneous trip arm@ature 122 will cause a felease of the trip latch 170-185 without time delay so that the circuit breaker will trip-free, as seen 4@, in Figure 7. It will be noted that if the cooperating contacts 60, 61 are moved toward their clos@ng position, the ii@o-vable member 200 will be rotated about the common shaft 406 in a counterclockwise direction, thereby lifting the link r) C, 502 upv;ard. However, the -ear rack 52,5 which has a substantial surplus weight will not be moved -apwardly instantaneously due @to the sprin- connection 539 between the link 502 and the gear train 535. Hence, the iiiitial movement 53 upwardly of the movable link 502, as a result of the closing operation of the circuit breaker will tend to tension the spring 539 @and store energy therein, while the - ear rack 535 remains stationary. I-lowever, in the event the circuit breaker is closed on 60 a normal lin@-, i. c. rated current flowin.- therethrough, the cooperating coiatacts 60, 6i will be latched closed by means of the latch i7O-l85 and 213-193. The stored energy in the sprin.- 539 will lift the gear rack 535 upwardly. 6 Since the teeth 533 of the ratchet 531 are in mesh engagement with the teeth 534 of the gear train 535, ratchet 531 will be rotated in a clockwise direction by the upward movement of e mass memb.-r 535. T'ii-is w-ill result in the clockwise rotation of the cormnon shaft 510 70 thereby interposing the mechanical blocking means 530 in the path of the instaiitancous armature 122. Hence, iii th-, event an overcurrent condition should exist thereafter, the circuit breaker will be opened by either the short time delay trip armature 142 or the long time delay 75 trip armature 132.

[5]

9 It will be i noted that after the conta:cts have latahed closed and the mechanical blocking means 530 is rotated in a clockwise direction by means of the common shaft 510 that the biasing spring 532 will be tensioned and energy thus stored therein. However, the sprin., 5311 dominates over the spring 532 and hence tl-ie biasin.- spring 532 will be ineffective to rotate the ratchet 531 in a counterclockwise direction. I-f the circuit breaker is tripped open by either energization of the overcurrent coil 139 or manually by means of the handle 134 or by means of the shunt trip device 150 the movable member 200 will be moved downwardly. Hence; the link 502 will be moved downwardly due to its being pivotally mounted on the member 200. Accordingly, the mass member 535 will no longer be supported in its upward position and lience, will tend to move down. Furthermore, the stored eneray in the biasing spring 532 can now be released to thereby aid in rotating the ratchet 531 in a counterclockwise direction, which wil@l aid in moving the rack 535 downwardly, The downward inovement Gf the gear rack 535, due to the mesh engagement of its teeth 534 with the teeth 533 of @the ratchet 531, will cause this member to rotate in a counterclockwise direction, thereby rotating the common shaft 510 and the blocking means in the same direction' @l-lence, the bloclcing means for the instantaneous armature 122 will be removed N@hen the circuit breaker is being opera,ted to the open or trip po@sitioii. Thus, the instantaneous armature 122 is iagaiii rendered operative when the circuit breaker is re-closed either manually by the handle 184 or automatically by the closing means 300-301 and 240-241, to thereby provide instantaneous trip operatioii in the event a fault current exists on the line. In the drawings of Figures 1, 2 and 7, 1 have shown my invention in connection with pole of the circiiit breaker. @However, it will be apparent to those skilled in the art that the common shaft 510 can extend past each pole of a multi-pole circuit breaker, so that the instantaneous armature 122 associated with each pole can be rendered operative or inoperative by means of its associated blockin.- means 530 which will be mounted on the 'Common shaft 510. In Figure 9, 1 have shown a seco-nd enibodiment of my invention which provides means to render the instantaneous armature 122 inoperative after the contacts have latched closed. In the second embodiment of Figure 9, the control and coordination of theblocking rneans 530 is achieved by means of a spring @arrangement rather than by a rack and ratchet mesh engagement. ln this embodiment, the rod 502 is moved upwardly whenever the contacts are moved to engaging position and downwardly whenever the contacts are moved to the disen.-a.,,ed position. The link 502 is pivotally connected to the link 540 which, in turn, is rotatively mounted on a cominon shaft 510. A member 541, having stibstantial mass, is rigidly secured to the common shaft 510. Spring members 542 and 543 are secured between the link 540 an@ the .member 541. As heretofore noted, the heavy blocking member 530 is also rigidly mounted on conimon shaft 510. When the circuit breaker contacts 60, 61 are in i disengaged position and the Iiiik 502 thereby in its lowermost position, the biasing springs 542-543 will tend to hold and maintain the member 541, the shaft 510, and the blocking member 530 in their extremely counterclockwise position against the stop member 544. In this position, the instantaneous tri@ armature 122 is rendered operative and free to trip open the circuit breaker. When the circuit breaker contacts 60, 61 -are moved toward their en.@aged position, the link 502 will be rdoved upwardly thereby rotating the Iiiik 540 upwardly. Since the link 540 is free to rc)tate on the common shaft 510, this latter member will not be initially rotated. However, spring 543 and @ tension the ispring 541' tiieteby @ toring energy therein. If the circuit breaker is closed on a fault current the instgntaneous trip armature 122 will be operative to tnp the circuit breaker without tinie delay as heretofore de-. scribed. However, if the circuit breaker shoul.d be closed on a normal line then the stored &nergy in the biasing spring 543 will tend to rotate the member 541@ and the shaft 510 and the blocking means 530 in a 10 clockwise direction after the contacts have latched closed., Rotation of these,mombers in a clockwise direction will@ thereby move the blocking means in the direct@ion @of the. arrow 538 so that the instantaiteous trip armature is rendered inoperative to trip the circuit breaker, in the 15 event an over-current or fault current should exist on@ the line, If the circuit breaker should subsequently be@ tripped or opened either by means of the overcurrent coil 139 or the shunt trip coil 150 or manually by means@ of the handle 184 the rod will then be moved down-@ 20 wardly thereby relaxing the spring 542 and storing energy in the spring 543. Since the link 540 is rotatably mounted on the shaft@ 510 the blocking means 530 and member 541 will not be initally rotated thereby. 25 However, the stored energy in the spring 543 willi subsequently cause the rotation of member 541, shaft@ 510 and blocking means 530 in a counterclockwise direction to thereby remove the blocking membef 530 from th& path of movement of the instantaneous anna30 ture 122 to render the same operative in the event thev circuit breaker is closed on a fault current. In the foregoing, I have described my invention only; in connection with preferred embodiments thereo Many variations and modifications of the principles of 35 iny invention within the scope of the @description herein are obvious; Accordingly, I prefer to be bound iiot by the specific disclosure herein, but only by the appending@ claims. I

Как компенсировать расходы
на инновационную разработку
Похожие патенты