заявка
№ US 0002819913
МПК B61G5/08

Номер заявки
3341049
Дата подачи заявки
09.03.1953
Опубликовано
14.01.1958
Страна
US
Как управлять
интеллектуальной собственностью
Чертежи 
2
Реферат

Формула изобретения

claim: 1. In a mounting arrangement for an air connector unit associated with a coupler of the interlocking type and adapted for interlocking, ei@gagement with a similar unit on another coupler, a bracket ri-idly secured to the coupler head, a trunnion on the bracket, a casting having air connection means thereon, a mounting arm project10 ing from the casting and en-a- able with said trunnion, e spring means compressively interposed directly between the casting and the bracket, said spring means being operative to act on said casting and bring said ann into line engagement with said trunnion, said bracket and 15 mounting arm having substantial length in direction Ion.-itudinally of the mounting arm in mutual engagement, whereby said connection means is maintained in a predetermined plane relative to the coupler and vertical angling between the casting and bracket is restricted, and 20 means to maintain said connection means in another predetermined plane relative to the coupler in response to action of said spring means. 2. In a mount ng arrangement for an a connector unit associated with a coupler of the interlocking type 25 and adapted to cooperatively engage a similar unit on a mating coupler, a mounting bracket having a trunnion, means to connect said bracket to the coupler, a connector member slidably mounted on said bracket and having, air connection means thereon, a moun,ting arm 30 on the connector member having an elongated slot therein, receiving said trunnion in a linearly movable man,neir, and means reactin.- directly between said bracket and casting and urging said slot into line surfaced engagement with said trunnion, said bracket and mounting arm hav35 ing substantial length in direction longitudinally of the mounting arin and in mutual enga,-ement, whereby said casting is maintained in a predetermined plane relative to the coupler and vertical angling between the casting and bracket is restricted. 40 3. A mounting arrangement as described in claim 2, and including means associated with said casting and having portions spacedtransversely of the longitudinal direction of the mounting arm to maintain same in a,nother predeterinined plane relative to the coupler. 45 4. In a mounting arrangement for an air connector unit associated with a coupler of the interlocking type and adapted to cooperatively engage a similarly constructed unit on a mating coupler, a mounting bracket secured to the couplbr, a casting mounted for reciproca.50 tive movement on said bracket and having air connecr tion means thereon, spring means directly engaging and, reacting directly between and yieldably resisting relative movement of the bracket and casting, interengaging means on the casting and bracket operative i,n the uncouple@d. 55 position o.f the unit to maintain said casting in a fixed plane relative to the coupler, and other interen. ' ,aging, means on the casting and the coupler and having portions spaced transversely of the direction of movement between the casting and bracket operative in the uncoupled po.si60 tion of said unit to maintain said casting in a fixed plane relative to the coupler, said last mentioned plane being perpendicular to said first mentioned plane. 5. A mounting, arrangernent as described in claim 3, wherein said second mentioned ihteren.oaging means com(I r, prises lugs on the castin- on opposite sides of said unit, said lugs being received'within slots in the bracket and engageable with edges of the sl,ots. 6. A mounting bracket for use with an air connector mounting arrangement of the type described, comprising 70 a flat main plate, a spring seat plate integral with and normal to the main ptate, a trunnion rigid on and dependiug from the main plate apprqximately centrally thereof, and a shelf integral with the lower end of the trunnion and extendii)@@ toward and terminating adjacent the s pnng 75 seat plate, said shelf being approximately parall@l to

,the main,plate, said _@pring seat,,plate-havin ia@.Put@out ,bjQrizo "W adjacent the terminal end of said,,shQff. 7. In a mountin-, arrangement, for@-,an automatic-, air connector unit usable with a,.railw @- car coppler @and 4y en a- able-.with a corresponding unit.on a matin ;coppler, 9 @C 9 a-,bracket@ attachable to the coupl4@r,is@aid, bracket. having a trunnion projecting therefrom, spring seats integral with and projecting from the bracket in spaced relation to the trunnion, said sprin.- seats being disposed on opposite sides of said trunnion, a casting having a loop section extending from one side thereof slidably engaging said bracket for linear and pivotal movement in a single plane, said loop section having an aperture therein receiving said trunnion, said loop section being substantially equivalent in vertical dimension to the trunnion and engaging the bracket througbout a substantial distance Ion.-itudinaHy of the bracket, sprin.- seats on the casting aligned with the first mentioned spring seats, respectively, and sprin.-s compressively engaging the spring seats of the castin- and bracket, respectively to maintain said trunnion in -line contact with the loop section of the castin,@ to restr,.ct vertical an.-lin.- between the casting and th-@ bracket. 8. An air connector mounting arrangement for a railway car coupler of Lie interlocking type adapted to interlocldn.-ly engage a similar arrangement on a mating coupler to provide an air ti,-ht connection therebetween, a mountin.- lug secured to the coupler, a connector bracket rigidly secured to the lug, spring seats rigidly secured to and depending from the bracket, a trunnion connected to the bracket intermediate said seats, said trunnion having on an extremity a shelf, an air connector casting having a pin and funnel connection means, a mountinarm on the castin.- and slidably supported on said shelf and havin.- an elongated slot receiving said trunnion whereby said casting is supported for linear and pivotal movement in a single plane, spring seats presented by said casting on either side of said arm, said last mentioned sprin.- seats bein.- aligned with said first mentioned sprin.- seats, coiled springs compressively interposed between said sprin@ seats on opposite sides of said trunnion and arm, said springs and pin ard funnel means havin.- coplanar axes, and alignment lugs projecting from said castin.- and received by elon.- ated slots in said connector bracket, said springs bein.- optrative to exert pressure on said casting whereby the slot in said arm is brought into line engagement with said trunnion and the alignment lugs on said casting are brought into enga.-I-ment with the edges of said receiving slots to restrict vertical an.-ling between the bracket and the casting, said mounting arm having a vertical dimension stibstantially equivalent to the distance between the shelf and i-lpper end of the trunnion. 9. An air connector mounting arrangement for a railway car cotipler of the interlocking type adapted to cooperatively en.-age a similar unit on a matin.- coupler, a connector bracket ri.-idly mounted on the coupler, said bracket including a transverse horizontal plate and a vertical plate depending therefrom at a rear edge, said horizontal plate having a depending trunnion with a horizontal shelf at its lower end extending toward said vertical plate, and a casting having air line connection means mounted thereon, said casting having a transverse vertical plate and a mounting arm with an aperture receivin-, said trunnion and resting on said shelf, said mounting arm havin- a vertical dimension substanti ally equivalent to the spacing between said shelf and horizontal plate, and compression springs interposed between said vertical plates. 10. An air connector mounting arran,-Cment for a railway car coupler of the interlocking type adapted to cooperatively enga,-e a similar unit on a mating coupler, a connector bracket rigidly mounted on the coupler, said bracket including a transverse horizontal plate and a vfrtical plate dependin,-, therefrom at a rear ed,-e, said hori@@ntal'sh'elf at its lower end extending towardis vertical plate, said horizontal plate also having frontrear exti@ndirig@: .1gtsoon.,-oppgisite.@-,@ @,s3,of,,fs4idt trunnion, aild a castin connection,means mounted thereon, said ca@ting havina a transverse vertical plate and amountiiig, arm -with @an.,aperture@-receiving-saii, trunnion and resting on said shelf, said mouqting arm having a vertical dimension substantially equivalent to the spac10 ing between said shelf and horizontal plate, and compression springs interposed between said vertical plates, said trensverse vertical plate on the castin- having lugs extending into and riding in said slots. 11. An air connector mounting arrangement for a jr) railway car coupler of the ineirlocking type adapted to cooperatively engage -a similar unit on a mating coupler, a connector bracket rigidly mounted on the coupler, said bracket including a transverse horizontal plate and a vertical plate depending therefrom at a rear edge, said 20 horizontal plate having a depending trunnion with a horizontal shelf at its lower end extending toward said vertical plate, and terminatin- approximately in the plane -of the plate, and a casting having air line connection means mounted thereon, said casting having spring 25 seat means aligned with transversely spaced portions 6f said vertical plate, said ca.sting also having a mounting arm with an aperture receiving said trunnion and resting on said shelf, said vertical plate having a central cutout portion for accommodating said mounting arm when 30 fitting the latter on said shelf, and compression spring means interposed between said vertical plate and said seats on said casting. 12. A mounting arrangement according to claim 14, wherein said abutment means comprises upstanding lugs 35 on the connector member, said lugs being received by slots in the bracket and being engageable with ends of said slots. 13. An air connector member for use with an air connector mounting arrangement of the type described com40 prising forwardly facing connection means, a rearwardly extending mounting loop having a substantial vertical forwardly facing cylindrical surface for engagement with a trunnion of the air connector, rearwardly facing spring seats, and lugs upstanding from the connector member 45 disposed on opposite sides of and normal to the plane of said loop. 14. In a motinting arrangement for an air connector associated with a car coupler adapted to cooperatively engage a similar unit on a mating coupler and provide 50 an air tight connection therebetween, a bracket rigidly secured to the coupler entirely within the confines of the coupler head as seen in plan view, forwardly facing spring seats on the bracket disposed on opposite sides of the longitudinal vertical center plane of said coupler, a con55 nector member mounted for linear and pivotal movement in a single plane on the bracket and having forwardly facing air connection means, spring seats on the connector member aligned longitudinally with the first mentioned spring seats, springs interposed between the 60 spring seats and operative to urge the connector member forwardly from said bracket, means interconnecting the connector member and the bracket operable to maintain the connector member substantially in said plane during linear movement, and abutment means on the connector 65 member engaging the bracket and operable to maintain the,connector member substantially in a fixed plane perpendicular to the first mentioned plane when in the normal position, said interconnecting means comprising a 70 cylindrical trunnion vertically depending from the bracket, and a mounting arm connected to the connector member, said arm embracing said trunnion and operative to engage same in response to action of said springs, and means on said trunnion cooperating with another fixed 75 portion of the connector member fQr maiutaining said

2,819,913 7 connector member substantially in said first mentioned 1,519,184 Barber --------------- Dec. 16, 1924 plane. 1,564,999 Barber ---------------- Dec. 8, 1925 1 ' 643,229 Sullivan -------------- Sept. 20,@ 1927 References Cited in the file of this patent 1,692,657 Ha,eltine ------------- Nov. 20, 1928 UNITED STATES PATENTS 5 2,165,330 Bazeley ---------------- July 11, 1939 846,841 Forsyth --------------- Mar. 12, 1907 2,231,028 Robinson -------------- Feb. 1 1, 1941

Описание

[1]

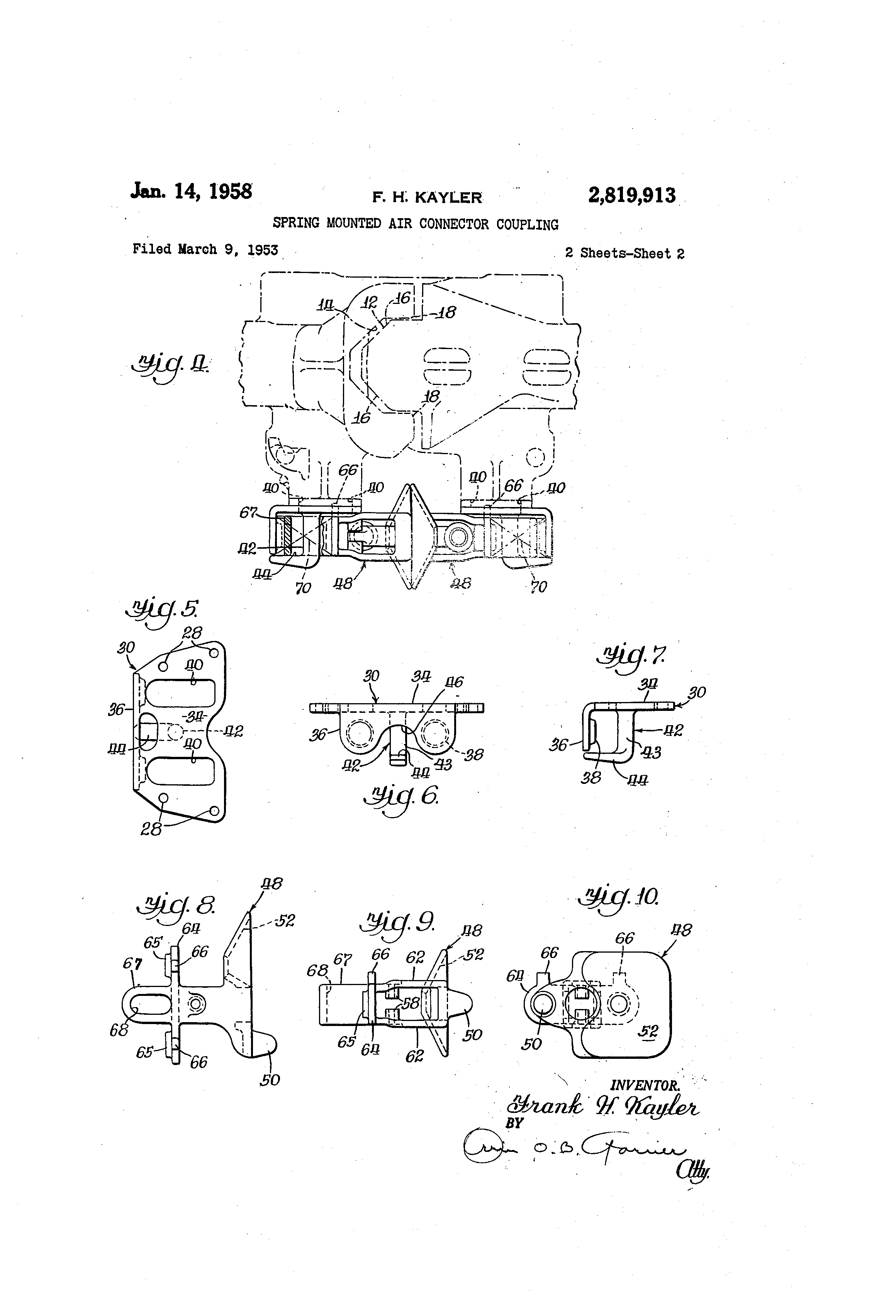
Unioted States Patent Office 29819@913 2,819,913 SPRING MOUNTED AIR CONINECTOR COUPLING 5 Frank H. Kayler, Alliance, Ohio, assignor to American Steel Foundries, Chicago, IB., a corperagon of New Jersey Application March 9, 1953, Serial No. 341,049 10 14 Claims. (Cl. 285-63) This invention relates to vertically interlocking cou15 plers and more particularly to a novel air connector and mounting therefor. As will be understood by those skilled in the art, couplers of the vertically interlocked type are supported from the car by spring type carriers which extend considerably 20 below the cotipler shank immediately rearwardly of the coupler head. Air connector mountin.-s heretofore utilized in the art extend considerably rearwardly of the coupler head, consequently, cannot be applied to couplers having sprin@ type carrier supports. 25 Considering the above, it is an object of my invention to provide a vertically interlockin.- coupler with a novel air connector mountin.- so campact as to offer support for an associated air connector entirely within the plan dimensions of the coupler head. 30 It will also be understood that when automatic air connectors were originally conceived the couplers to which they were applied were of the non-interlocking type and consequently had to be designed to afford great latitude in vertical an-ling in order to permit their move35 ment with their related coupler. However, with the advent of modern v.-rtically interlocking couplers, wherein the vertical shifting between mated couplers is nominal, the freedom for vertical anglin.- between mated air connectors is neither advanta-eous nor desired. On the 40 contrary, it is desired to prevent vertical angling between mated air connectors in order to insur,- more ri.-id connections and lessen the chance of air leakages therebetween. Accordingly, it is another object of this invention to 45 provide an air connector mounting arrangement especially adapted for application to vertically - interlocking couplers, wherein freedom for vertical angling between mated couplers is greatly restricted. It is a fu.-ther object of my invention to provide a 50 mounting of the type described having the advantages of simplicity and rug,-edness with the consequent ease of manufacture and satisfactory service life. These and other objects of my invention will become apparent in the course of the followin- description and '5' from an examination of the concerned drawings, wherein: Figure I is a plan view of the assembled air connector and mounting with a coupler shown in phantom superimposed thereon and with a partial section taken approximately along line 11-1 of Figure 2; 69 Figure 2 is a side elevational view of the showing of Figure 1; Figure 3 is an end clevational view, taken from the right, of the showing of Figure 2; Figure 4 is a side elevational view showing the cou65 plers and air connectors in fully locked operational position; Figures 5, 6 and 7 are respectively plan, rear and side, detail views of the connector bracket employed in my novel mounting; and 70 Fi,aures 8, 9 and 10 are respectively plan, side and. Jan. 14, 1958 2 front detail views of the air connector casting employed in my novel arrangement. Describing the invention in detail, it will be seen that the coupler employed and indicated generally iili phantom lines at 10 is of the conventional type having a tongue 12 (Figure 4) on one portion of the operating coupler received within a recess 14 on the other portion of the operating coupler, thereby limiting vertical movement between said portions and furnishing the vertical interlocked feature mentioned. It will be noted that the tongue 12 has tapered cam surfaces 16, 16 which, during the coupling operation, may engage the forward recess edges 18, 18 and thereby horizontally align the respective coupler portions. Directing attention to Figures I and 2, it will be seen that the coupler head 20 is provided with an integral lug 22 depending from its lower side, said lug having horizontal flanges 24, 24 extending from the opposite sides thereof. Flanges 24 may be provided with holes 26, which in the assembled condition, are aligned with other holes 28 presented by a connector bracket 30, whereby said bracket may be rigidly bolted to the flange by means of bolts 32. It will be noted that though the bolted connection illustrated is preferred, any reasonable means of securing the bracket to the flange may be employed. Refeffing to Figures 5 to 7, it will be seen that the connector bracket 30 comprises a main plate 34 and a spring seat plate 36, said sprina seat plate being integral with and perpendicular to one edge of the main plate 34, and presenting on its inboard surface a pair of spring seat bosses 38, 38 arranged equidistant from and on opposite sides of the center line of the bracket. The main plate 34 presents the elongated slots 40, 40 disposed on opposite sides of the center line of the bracket, each slot having its long axis directionally aligned longitudinally of the bracket. Centrally of the main plate, a trunnion 42 is formed to depend therefrom, said trunnion comprising a main cylindrical segment 43 and a shelf or support arm 44 connected to the lower extremity thereof and directed rearwardly of the bracket. As noted, the shelf 44 extends rearwardly of the bracket and terminates at a point approximately aligned with the spring seat plate 36, said spring plate 36 having a recess 46 in the area of said termination thereby providing clearance from assembly and disassembly of the unit. Attention is now directed to Figures 8 to 10 wherein isillustrated the preferred form of an air cast connector member 48 utilized in my invention. The forward or air connecting head of the casting is a conventional pin and funnel type, the pin being shown at 50 and the funnel at 52. As will be understood by those skilled in the @art, the pin is formed to engage a funnel on an associated head, while a pin on the associated head engages the illustrated funnel, the funnel-pin engagement servijig to ali.-n the respective heads during the connecting or couplin.a operation. Referring to the assembly views of Figures I and 2, it will be seen that an air hose connector 54 is positioned on the casting intermediate the flinnel and pin, said air hose connector being provided with a lug 56 which is received intermediate drilled bosses 58, 58 whereby the air hose connector may be securely bolted to the casting 48 as at 60. Rearwardly of the connection head, the air connector comprises vertically spaced plates 62, 62, the space intermediate said plates affording clearance for the positioning of the air hoseconnector, as described above. The rear extremities of the plates 62 merge integrally with a spring seat plate 64, said plate 64 extending generally transversely of thp plates 62 and parallel to the front facp

[2]

3 of the godnectliig he-ad. The. spring seat plate also presents generally vertical rearwardly facing spring seats havin- positionin- lu,-s 65, 65, said lugs or bosses being e@quidis@ant frorn and on opposite@ sides of the center line of the air connector casting. Atop the sprin.- plate 64 E@re presentf d the upwardly directed alignm@.nt lugs. 66, 66, eacli lug being vertically aligaed with ont@ of the sprin- spats, and t6e spring positioaing bosses 6,5. Projectiii- rearwardly of the spriii- plates 64 an@d ceatrally thereof is a mountin arm or loop 67, said arm present@g ing an ellongated slot 68 h..avin,- its Iong. axis ext6nding lengthwise of the air connector casting and generally perpendicular to the spring plate 64. To assemble the entire unit, the connector bracket 30 is first bolted to the flanges 24 of the coupler. The air connector castiqg 48 with t he air hose cqnnector 54 mounted thereon is then a@@sembled with the mountin .9 arm 67, seated on the sh@,lf 44 and the trunnion 42 received within the elongated slot 68 of said arm. He@iical coil sprin,-s 70, 70 are then compressed and positioned on opposite sides of the longitudinal axis of the unit, each of said springs havin.- its opposite ends seated on the sprin.- seat plates 36 and 64 of the connector bracket and air connector casting, respectively. It will be noted that the positionin-, lu,-s 38 and 65 serve to maintain the associated spring ends in mounted position. Referring to Figure 3, it will be seen that the ali,-mnent lugs 66 of the casting 48 are respectively received within the slots 40 of the connector bracket 30, operatin-, clearanqe being provided therefor in the lug 22 dependilng from the coupler. In the fully assembled and uncoupled position of the unit, as shown in Figures 1 and 2, it will be seen that the rear edge of the slot 68 is seated in vertical surfaced engagement with the cylindrical portion 43 of the trunnion 42, as shown at 72. It will also be seen that the lugs 66 of the connector casting 48 engage the respective forward edges of the slots 40 of said bracket 30, as at 74. It will also be noted that the respective engagements are the result of the pressured action of the springs 70 on the casting 48 and that the vertical surfaced en,-agement between the rear ed ge of the slot 68 and the tr,uniiion 42 serves to mairitain the conmection hc@ad in a given horizontal plane relative to the coupler and that the engagement between the li@gs 66 and t.he forward edge@ of the 8lots 40 serves to maintain the connection head' in a given vertical i-)Iane relative to the coupler. T'hus'in the uncoupled condition, the air connector unit alw,@y-s maintgins a definite pogition relative to the associated coupler. Attention is @now directed to Figure 4, wherein,is illustratled the cpi@pler and ;air connector unit in the coupled or operating posttion. It will be noted that enga-gement of the air connector heads has urged the respective castings 48 rearwardly, moving each mounting arm 67 rearwardly on the assqciated,@uide shelf 44 and disengaging the rear ed.-e 6f the slot 68 from the cvlindrical portion 43 of the trunnion 4Z. tt Vill 415o b-e tioted that the lugs 66 have disengaged and moved re@4rwardly of the forward edge@s of the slots 40. In this positioxi, slight liorizontal angling normall.y incident to the con@nected coupler heads 10 is . readily aecommodated by pivotal movement of the air connector castings 48 about the trunnions 4Z, the springs 70 serving to maintain a :,Oght aix ;sealling connection between the rQs,peg@t@iv,e -,uaits. Because coupjf.-rs of the _geneiml type described are desi.-ned -,to eliminate relative vertical movement, the cennector ,units need onl@y accommckdate limited vertical ang-lin.-,,which is readily acco mpli8hed with the arrangement descr-ibed. :Because of @t-he rearniard -movement of the castings 48 in. -the coi@ple-d -pQgWon, qonsiderabl4z wear in the main coupler -heads NVifl @beaccommodated and the air con4 iiector, u-iider t'iic action. of the respective spriiigs 7.0, will still maintain a tight sealing enga-,ement. I

Как компенсировать расходы
на инновационную разработку
Похожие патенты