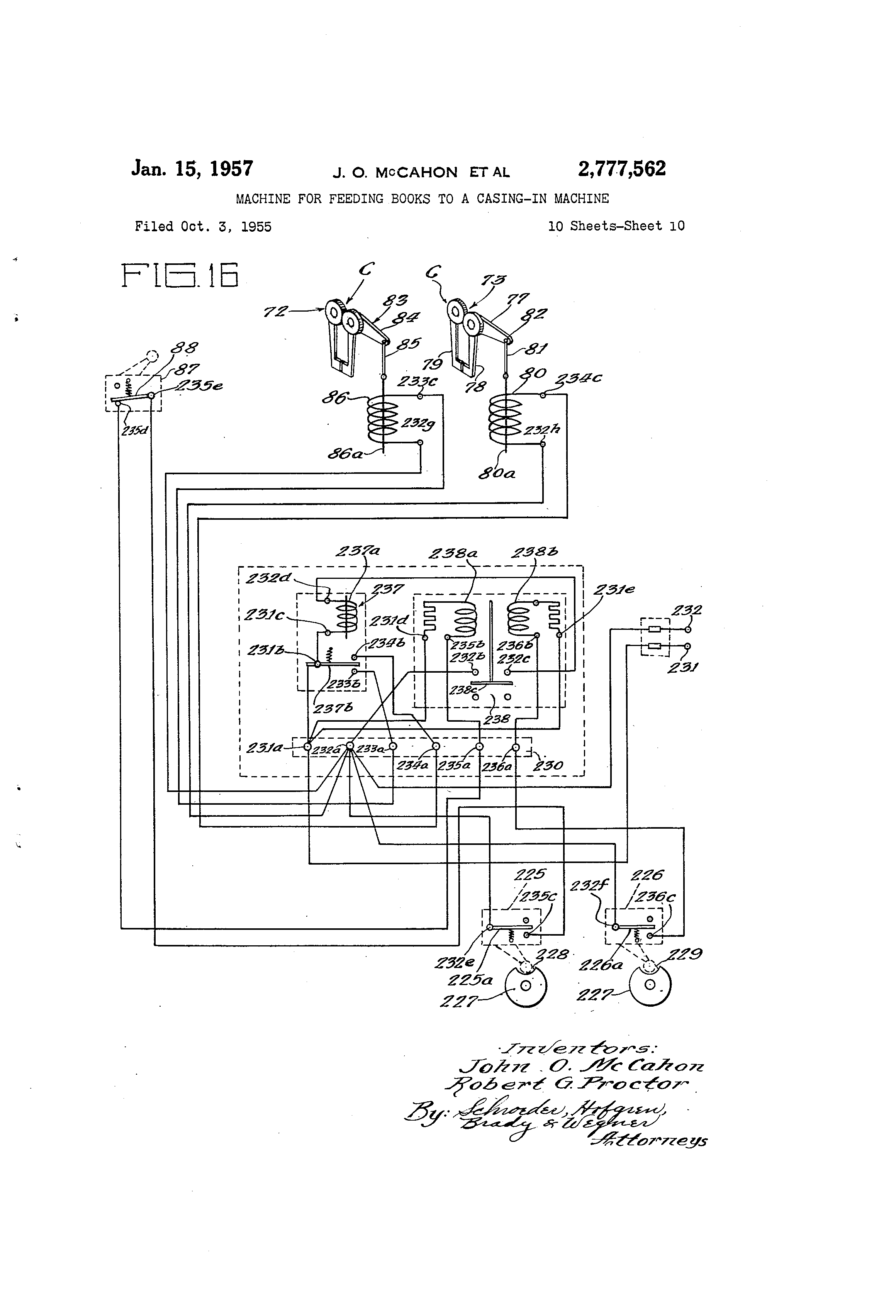
9 erat-.s under pressure in botla directions of movement of the piston for the piston rod 215 in a way that is well known. It has been previously mentioned in connection with theescapements C that each of the escapement members 72 and 73 is operated by a solenoid. Actuation of the solenoid is controlled by a pair of Micros,@vitches 225 and 226 (Fi-s. I and 16) Nvhich are mo@,inted on the side plate 23 adjacent the power input shaft 62, and between th@. be4rin.-s 163 and 161, for said shaft. The Microswitches 225 and 226 have their respectiie arnis 225,t and 226a adjacent the shaft 162 on which is mounted a dc.uble cam member 227 which has a recess 223 in one margin to actuate theMicroswitch arin 225a and a recess 229 in the opposite margin to actuate ffie Microswitch arm 226a. Thus, the opening and closing of t-'ie escapement gates 72 and 73 is controlled directly off the main drive shaft 162, while reciprocation of the bel'L carria.@cs 97 and 133 and the drive of the belts is controlled off the transverse shaft 170 which is driven at a 1:1 ratio with the main power shaft 162. Consequently the timing and control of the macbine is very simple and practically can not get out (>f phase. The wiring diagram, Fig. 16, shows the control arrangement for the escap.-ment gates 72 and 73, through the Microswitches 225 and 226 and the cam 227. Electric circuits for the controls pass through a terminal strip 230 which is provided with terminals 231a, 232a, 233a, 234a, 235a and 236a for correspond:n-jy numbered circuits. The circuits 231 and 232 are the main el'-cti-ic leads, and are connected to a suitable source of cleet.-ical pow,r. The side of the circuit wh-' ch passes throu.-h the terminal 231-a is a'iso connected Nvith a terminal 231b of a switch 237b in a power relay 237, and to one side of 231c of a coil 237a of relay 237. It is also connected to one side 231d of a latching coil 238a for a latching relay 238. The c-@rcuit through the terminal 2-;2a has a lead ivhicli -oes throu,@h terminals 232b and 232c for switch 238a of latching relay 238, and from the term;nal 232c a line goes to one side 232d of power relay cofl 237a. Also from terniinal 232a lines go, respectively, to terminals 232e and 232f for the switch arms 225a and 226a af the Microswitches 225 and 226. There is also a line from terminal 232a to one side 232 of solenoid 85 and a line from 232a to one side 9-32h of solenoid 80. The circuit which includes terminal 233a connects a terminal 233b i'Gr the switch 237b of the power relay 237 to the opposite side 233c of solenoid 86 for the first gate 72; while the circuit which includes the terminal 234a connects a terminal 234b for the switch 237b of the power relay 237 to the opposit.- side 234c of Lhe soleno-.d 80 @Lor the second -ate 73. The circuit which includes the terminal 235a connects the other end 235b of latching coil 238a in latching relay 23Z; w:ith a switc,a terminal 235c Gf Microswitch 225, and tWs connectioii is made through the "no book" M;croswitch 81, which is provided with termina'.s 235d and 235e L@Or the switch arm 88. Finally, the circuit which includes the tern-iinal 236a connects the other end 236b oL' the unlatching coil 238b of the latching relay 238 with a switch contact 236c for !he s,,vitch arm 225a of Microswitch 225. The operation of the escapenient control is as follows: The "no book@' Microswitch arm 98 is sp.=g urged @@o open position, but is normally kept closed by the switch arm bearing a.-ainst the conlinuous line of books coming off the inf@-ed conv--yor. if there is a - .ap in the books 'Lhe switch a,-m 33 automaticary rnoves to open pos;.tion breakin.- the circuit through the contact 235d. The Mit croswi ches 225 and 226 whic,a control operation of theescapement @.ates 72 and 73 have their respective switch arms 2'@l-Sa and 226a spring urged to closed position agaL@-i-st the contacts 235c and 236c respectively, and the switches are normally h@- @ld open by cc;itact oL' their swit,-h a@-ms with the cam 227. The switch arm 237b of relay 237 is s@rrin.@ urged a,-ainst contact 234b so that there is ordinar2,777,562 10 ily a closed circuit to solenoid 80 of the second escapement gate 73, so that gate is open. When Microswitch arm 2'@'5a drops into cam recess 228 on the cam 227 the switch arm 225a moves against contact 235c which closes the circuit 235 provided there is a book in position to keep fne "no book" Microswitch 87 closed against contact 235d. This energizes latching coil 238a of latching relay 238 and closes relay switch 238c a-.ainst contacts 232b and 232c, thus closing circuit 10 232 to the relay coil 237a of relay 237. This, in tum, swings the relay switch arm 237b from contact 234b to coutact 233b thus breaking circuit through contact 234 to close ga'e 73 and making the circuit through the contact 233b so as to energize solenoid 86 and open the first 15 escapement gate 72. If there is no book in position to pass gate 72 in prop,-r tiine the "no book" Microswitch is open at contact 235d to prevent this operation. The first book b an the infeed B passes gate 72 and is stopped by gate 73; b-tit the gates are so close together that the next 20 boo,'&., which is norrpally butted against the first book, has not reached gate 72. Almost imrnediately, Microswitch arm 226a drops into cam recess 229 and closes circuit 236 at contact 236c. This energizes the unlatching relay 238b of latching relay 25 238 and breaks circuit 235 at the contacts 232b and c of latching relay 233. 'Ibis deenergizes coil 237a of relay 237 and permits swi-Leh arm 237b to retim to its norrral position against contact 234b, thus opening gate 73 and reieasing gate 72 which drops against the sides of the 30 first book. This action is timed to take place in coordination with the convergence of the book forwarding belt units 39 and 90 upon a book held by the escapement gate 73 so that this bool, may be moved rapidly away from the r-ext book which has not yet reached the jaws of escape35 ment gate 72. The ja-vvs of gate 72 r-,icrely rest lightly Lpon the front and back pages of a book, and are prefer ed wilh "Teflon" or some otn.-r very smooth plastic so as to ip-terfere as little as possible with free puleng of a book from betvieen the jaws. Thus, when 40 the book is pulled out from between the jaws of gate 72 by th-- book forwarding mechanism D the gate closes by gravity behind that book and in front of '@he next book. The th-n-ing ol' the machine is such that the act,,iation of the air cylinder 214 to close the book forwarding belt 45 units 89 and 90 is irrmediately j'ohcwed by the release of the sin,@le revoltition clutch @o pernlit the belt units to dr,.ve at the insta-.it they contact the boolreleased by the -ate As the belt drive again stops the belts move adart by re-,,rersal o4t the valve for air cylinder 214, 50 and as this occ-jrs the escapement gate cycle starts to repeat by t'@ie clos-.',]2g of gate 73 and the opening of gate 72 to i)lace apolher b@-ok in posit-@on for handling by the book forwarding belt uiiits ivhen they are nex" moved together by operation of the air cylinder. 55 The forego'ing detailed d-,scription is given for clearness of understanding orly and no uniiecessary limitations are to be understood therefrom, as some modifications will be obvious to those s,'Kili,-d in the art. VVe claira: 60 i: A book feed device fcr a casing-in machine comprisin,-: a bas.-; a dri-@,en book infeed at one end of said base to support and feed books seriatim -,vith thelr spines uppermost: a b-@ok s@apport guide on the base @,vhich has a rec@-ivm,@ end adjacent and substantially coplanar with (;5 the inner end of the infeed and a discharga end portio-Ti below its r--ceiv:i'.I-, end; a pair of transversely spaced, laterally movable carriages Ranking the support guide; book forviardin.- means comprisin.- a belt unit on each carriage, said belt units including verl 'ically spindled 70 gooved sheaves and V-belts on said sheaves with facing, paral'iel, book-grippi-@ig runs spaced above the support guide so that said belts ma)r carry borks horizontal.,,y with 'Lhe-ir lower por'Licas free; escapement means betvieen said infeed and said forwarding means adapted to 75 release books seriatim to the forwarding means in spaced 2,777,562 relationship- to one another; recipr6cating meaps for mo@v- - ing said carriagps inwardly to engage the V-belts with d book as it is -releas@d by said cscapem&nt; intermittent: driv6 mea-n-s- -adapted . to drive said belt units only whl'e th6y are -engaged with a book; means for fanning @ttie 5 lower portions of the pages of a book in the for@varding means while the forward ends of the Da@ S are spaced @e ab6ve the discharge end portion -of -the stipport gi-lide-I al@d a longitudinal knife ed2e - on the base midway between the belt units onto which a book Aith its pages 10 fanned is carried by the forwardin.- means. 2. In a b6ok feed device which is adapted to deliver b6oks t6 a casing-in machine s-.riatim in spa,ced relationship with theh- sdines upperrnost, book @lorwardina means comprisimg: a base; a pair of transversely spaced 15 I laterally Teciprocable carriages 6n-said bp,.se; a bel@L Li@iit on.each carriage, each belt unit including,a pair of loiigiffidinal.ly spaced vertically spindled shea@,res, a bc--It trained over each of said pairs of sh-.xves, said belts havin.- parahel, book-gripping rlns bet@veen said sheaves 20 ,so that they may grip books Nvhich have -their spines uppermost and carry @hlem horizontally, and a plurality of closely spaced belt carrier pureys mounted between, said sheaves on laterally resilient mountin.-s; reciprocating'mearis for moving said carria.-es inwardly to enga.- e 2.5 the belts 'with a book; and intermittent dri-;e -means adapted to drive said belt tinits- only while they are engaged with a book. 3. In a book feed device which is adapted to deliver books to a casing-in machine scriatim in spaced relation310 ship with their spines uppermost, book forwatding means comprising: a base; a book support guide on said base which@ has a receiving end and a discharge end portion blelow its receiving end,- a pair of transversely spaced, laterally reciprocable carria.-es flanking said support 35 guide; a belt unit on each carriage, each belt unit including vertically spindled grooved sheaves and a V-belt, said V-b,-Its having facing, parallel book-,-rippin.- runs spaced above the support guide so @that they may grip books which have their spines uppermost and carry them 40 horizo.itally; reciprocating means for movin.- s@id carr@ages inwardly to en age the V-belts wil,h a book; in.9 termittent drive means adapted to drive said belt units only while they are en.-aged with a book; means for fa@-inin.- the lower portions of the pages of a bo6k in the -45 forwarding means wh-'@le the forward end por'Lions of the pages are spaced above the discharge end pprtion of the support guide; and a longitudinal knife edge midway between the belt units onto @vhich a book vv@@'th its pages fanned is carried by the forwarding means I 50 4. In a book feed device whi.-h is adapted to deliver books to a casing-in machine seriatim in spaced relationship with their spines uppermost, bcok -'Lorwarding means comprising: a base; a pair of transversely spaced, lateral-@ ly reciprocable cai-riages on said base" a bel' , -apit on each 55 car,-iage, eaci'l beit Lin@t including a pair of longitudinally spaced vertically spindled sh,-ave - s, a belt trair@ed over: each of said pairs of siieaves, said belts havin.- parallel book-grippin.- runs bet@,veen said sheaves so t.hat they may erit) books ,@,hich have their spines - upperriost and 60 carry them horizontally, and a plurality of closely spa,--,d belt carrier pulleys mounted between said sheaves on laterally resilient mountings; reciprocatin.- m.-ans incltidin.- a cylinder and :ffuid actuated piston for@ mov;.ng. 'd carriages inwardly to engage th.- belts with a book, 6 sa@ 5 said rec@@procating means being adat)ted to produtce equal grippin.- pressures on books ii the forwarding means through a substantial range of different book thicknesses: and intermiltent drive means adapted to drive said belt units only whiie th--y are engaged with a book. 70 5.:In a boo',,- feed device which is adapted to deliver bool,s to a casing-in machine scriatim in spaced relationship -with their spines upp--Emost, book forwarding means, comprising: a -bas-,; a book support gu-'@de on said base which has@@a receiving end and a discharge, end por75 12, tion bel6w its recei-@ing end; a -pair of tra@@ersely s@ac@d, laterally reciprocable carriages flanking said support guide; a belt unit on each carria-e, each belt unii - includin- vertic-.Ily spindled gr6oved sh-eaves and a Vbelt, said V-belts having facing, paralle.1, book-grippinruns spaced above the support guide so ihat they may books which have their ines uppermost and carry Iip SP them horizontally, and a pltiral-ity of closely spaced belt carrier pulleys mounted between said sh6a@es on lat.-rally reslici-it mountin.-s,- reciprocatin.- means for molvin@ said carriages inwardly to en,-age the V-belts with a book; intermittent drive means adapted to drive said belt units only ,r@hile they are engag-,d with a book; means for feniiin- the lower portion,s of the pa@ es of a bolok iii th-- forwarding means while,the forward end portions of the pa.-es are spaced above the discha@ge end portion of the support guide; and a Ion,-itudinal,knif6 ed 'ge mid-,vay between the belt units onto which a book With its pages fanned is carried by the forwarding means 6. In a book 'ebd device which is @d I a@ted to deliver bocks to a casing-in machine seriatim in spaced relationship with their spines uppermosti book forwarding means comprising: a base; a.b6ok support g,,iide on sa;d,base Nvhich has a receiving end and a discharge end portibn belolv its receiving end; a pair of transversely spacedi laterally reciprocable carria 9 ges flanldn said support gu@'de; a belt unit on each carriage, each belt unit includin.- vert@'@cally spindled grooved sheaves and a V-belt, said V-belts havin-, facing, parallel, book-gripping runs spaced above the support 6,uide so -that they may grip books which have their sdines uppermost and carry them horizontally; reciprocating me,@ns@ iiicluding a cylinder and fluid actiiated p'.ston for moving said carriages inwardly I to enga.e the belts wit@, a' book, said reciprocating means being adapted to produ ce equal gripping pressures on books in the forwarding means throu,-'@i a substantial range of different book thicknesses; int@-rmittent @drive means adapted to drive said,belt units only while they are eng@i.-ed with a bookl- means for fanning the lower portio.'Is of the pa,@es of a book,in the forwardin- means while the forward end portions of the pa,-es are spaced above the dischar,-e end portion of the support - uide; and a Ion.-itudinal knife ed.-e midway betnveen the belt units <)nto which a book with its @ages fanned is carriedbytheforward;n,@means. 7. In a book feed device:which is adapt6d to delize'r bodl-s to a casing-in machine seriatir-ri in spaced rela I tion@ ship with their spines uppermost, book forviarding mean comprising: a base; a bobk support guide on said base which has a rcceiving ond and a discharg-- end @ortion below its receiving end; a pair of transversely spac-d laterally reciprocqble carriages flanking said support guide; a belt unit on each car.-iag-,, each belt unit inel-tiding verticolly sp; ndied grooved she@aves an-,' a V-belt, said V-belts havin.- facing, parallel, book@.@ippi--g -ru@-is spaced above the support @uide so that they may grip books -which have their spines upperrnost End carly them horizontally, and a plurality o'L closely spaced belt carrier pulleys mounted between said sheaves oln lat.erally resilient mountings; reciprocating means i-iidluding a cyl-. inder and fluid actuat,-d piston for moving said carnages i,wardly to engage the belt with the book, said cyliiider being adjustably niolinted on the@ base to- adjust the belt unit carria.-es to accommodate b - ooks of different thickn esses; interm'ttent drive M-ea-.is adapte@ to drive said belt units only while they are engnged @kvith a bookmeans for finning the lolver ortions of the pa,- es of a p book in the forwarding means ivhile th-- lorvi ard e-,id portions of the pages are spaced above the discharge end por@on of the s-apport guide-, ar-d a longittidinal knife edge midway beiween the belt units onto 'which a book with its pa.-cs fanned is ca-.ried by the forwardin,@ means. 8. In a book feed device which ig adapted to deliver books 16 a casing-in machine sc@ridtim in spa(@ed @relationship with their spines !uppermost, book forxatdling mearis 13 comprising: a base; means for feeding a Ene of books toward the base in end to end relationhip with their spines uppermost; book fora,arding means on said base including a pair of laterary reciprocable complementary belt units having parallel longitudinal belt portions which may grip books with the-ir spines uppermost and carry them horizontally; escapement means between said infeed and said forwarding means adapted to release books seriatim to the forwarding means in spaced relationship to one another; means for driving said belt units only 2,777,562 14 Nvhile they are engaged with a book; and control means associated with said drive means and operating off of mechanically interconnected elements of said drive means for reciprocating said carriages in timed relationship with the operation of said escapement means and Nvitli the operation of said drive means. References Cited in the fLIe of this patent UNITED. STATES PATENTS 10 2,738,051 Beyer ----------------- Mar. 13, 1956
Uni'ted States Patent Office 217779562 2,777,562 MACEIINE FOR FEEDING BOOKS TO A CASL@TG-LN NUCIIINE John 0. McCahon and Robert G. Proctor, Crawfordsville, Ind., assignors, by mesue assigrmen'ts, to R. R. Donnerey & Sors Company, Chicago, IB., a corporation of Delav.,are Appfication October 3, 1955, Serial No. 537,931 8 Clahm. (Cl. l98-- z4) This invention relates to a machine for feedin,a books to a casingin machine. The principal object of the innention is to provide a machine which will receive books which have been processed for casingin and deliver them to a casing-in machine with the spine or backbone uppermost ready for the casing-in operation, and to perform this function smoothly with a minimum of book damage. A further object of the invention is to provide a book feed in Nvhich a pair of opposed horizontauy runm'ng belt units are mounted on laterally reciprocable carriages so that the belts may be moved toward each other to grip a book and carry it toivard the casing-in machine with its spine up and the lower ed.-es of its pages only lightly in con+,act with a support guide beneath the books so as to minimize marking and bending of the pages. The belt units employ V-belts which are suitably guided so as to provide the majority of the support for the books engaged by the belts. A further object of the invention is to provide a book feeder in which the book grippin- V-belts are carried on a series of closei'y spac-.d guide pulleys which are mounted on laterally yieldable suppoi-ts so as to provide adequate tolerance to acec)mmodate the var;.ations in book thickness which may occur in a single run of boo'--s. This variation may be of the order of IA6 inch due to differences in the thickness of the paper stock in a single lot of paper. A further object of the invention is to provide a book feeder in which the carriages for the belt units are moved laterally by a mechanism including a pneumatic cylinder and piston unit which is adjustably mounted to accommodate the carriages to handle books of different thicknesses. A further object of the invention is to provide a book feeding device in which the support guide beneath the books has a recess at its inner end, and the book is fed between a pair of opposed book fannin.a members which are positioned below the V-belts and above the support guide to fan out the lower portions of the pages below @he belts as the leading edge of the book is over the recess in the support guide, so that the book may be fed onto a fixed splitter blade which enters the space between pages almost exactly at the middle of the book while the book is supported by the V-belts in such a manner that the portion of the book below the belts is hangin.- free of any further oradditional support so that the leading edge of the book fans open freely for entry onto the fixed splitter blade. The invention is iflustrated in a preferred embodiment in the accompanying drawings, in which: Pa-tented Jan. 15, 1957 2 Fig. I is a side elevational view of a machine embodying the invention; - Fig. 2 is a section taken as indicated along the line 2-2 of Fig. 1; 5 -@'@7ig. 3 is a fragmentary section on an enlarged scale taken as indicated along the line 3-3 of Fig. 1; Fig. 4 is a fragmentary section on an enlarged scale taken along the line 4-4 of Fig. 1; Fig' 5 is a fragmentary section on an enlarged scale 10 taken as indicaled along the line 5-5 of Fig. 1; Fig. 6 is a fragmentary section taken as indicated along the line 6-6 of Fig. 4; Fig. 7 is a fragmentary section taken as indicated along the line 7-7 of Fig. 6; 15 Fig. 8 is a fragmentary section taken as indicated along the Ene 8-8 of Fig. 6; Fig. 9 is a fragmentary section on an enlarged scale taken as indicated along the line 9-9 of Fig. 1; Fig. 10 is a fragmentary section on an enlarged scale 20 taken as indicated along the line 10-10 of Fig. 3; Fig . 11 is a fraguaentary section on an enlarged sca le tak en as indicated along the line 11-ILI of Fig. 3; Fig . 12 is a fragmentary section on an enlarged sca le 'La ken as indicated along the line 12-12 of Fif-,. 2: 25 Fig . 13 is a generally diagrammatic view @f t@e device, taken substantially as a section along the line 13-13 of Fig. 2; Fig. 14 is an enlarged fragmentary section taken substantially as indicated along the line 14-14 of Fig. 2; 30 Fig. 15 is a perspective view of a book as it appears when it is delivered from the book forwarding mecha-' nism onto the delivery rail for the casing-in machine; and Fig. 16 is a diagram of the electromechanical controls 35 1 i.Or the device. Referrin.- to the drawings in greater detaff, and referring first to Figs. I and 13, the machine consists generally of a base indicated at A which has at one end an infeed extension portion AiL on which is mounted an 40 infeed B and is adapted to carry books b in abuttin@ end to end relationship with their spines up as the books come from a backin.- or lining operation where they are given proper backbone configuration and provided wilh 45 a backing or linin.- strip s (see Fig. 15). The line of books on the infeed B 4@s stopped by an escapement mechanism indicated generally at C which operates to pass books one at a time in spaced relationship to a book forwarding mechanism D. The book forwar&-ng mecha50 nism D operates 25% faster than the infeed mechanism B so that it pufls a gap between the book last passed by the escapement C and the next succeeding book. At the end of the base A opposite the infeed mechanism B is a book splitting unit indicated generally at E which acts 55 upon the books as they are, carri-.d by the forwarding mechanism D. The entire unit is driven and operated by power distributing and timing mechanism indicated generahy at F. Referring to the dra@vings in greater detail and re60 ferring first to Fi.-s. I to 5, the base A includes a carriage 20 provided with casters 20a and jack screws 20b so that the machine may be readily moved into proper position between a backing aiid lining machine and a casingin machine and then fixed in place by elevaling the jack 65 screws. Extending upwardly from the carriage 20 is a frame 21 wbich includes longitudinally extending side 3 plates 23 and 24 connected by cross members 22a and 22b (F;g. 13) and'surmotinted by a table top 25 which overhangs the side plates on both sides (Fig. 5). The infeed extension portion Al of the base A is formed by the .Lorwardly extending int6gral support arm portions 5 23a an,d 24a of the side plates 23 and 24. I The book carrier bar of a casing-iri machine must be adjustable vertically to accommodate books of d@fferent widths (the d'stance from the spine or backbone to the I - - open fro-,it edge of the book). -Thus, the present bo6"- 10 feed unit must be vertically adjustable t6 align the boo', support of ',his unit viith that of the casing-in book carrier. This is accornplished by mountin- the frair@e 21 so that it is vertically adjustable. As seen in Fia. 13 the frame cross members 27a -and 27b are secured to center 15 tubes -t7 and 18 which are mounted for vertical movement on -ack screws 17a and 18a. An upright hand crank member 19 (Fig. 1) -mounted @on brackets 19a on side plate 23 is connected by a chain and sproc",et mecha-nism, indicated generally -dt 19b, to the Jack screws 17a 20 and 18a for elevating the frame 21. Referrin-, no.,@v particularly to Figs. 1, 2 and 13, the infeed support arras 23a and 24a @are provided with a PI urality of spac.-d coplanar laterally aligned bearing bosses 26 and 27, respectively, in which are mounted 25 roller shafts 23 carrying book feed rollers 29. Each roller shaft 28 alongside the beaiiiig 27 is prdvided with a pinion 30, and engaging the pairs of adjacent pin;ons 30 are drive gears 31 @m,hich are journalled on suitable inwardly extend30 ing stub shafts cn the infeed sur)port arm 24a. @As seen in Fig 13 there are eigl@t roller shafts 28 with seven intermeshi ng -,ears 31, and th-- center gear of the seveii is carried on an elongated rotptable shaft 32a @,,ihich carries a dri-@e sprocket 33 by means of v/hich all the infeed rollers 35 are: driven from thp, drive and timin.- mechanism F as will be described. As seen in Figs. I and 2, there are spaced parallel infeed guide alates 34 and 35 which are secured, respectively, to the infeed arms 23a and 24a by brackets such as the bracket 36 shown in Fig. 1. The guide plates 34 and 35 40 have arcuate clearance slarfaces 37 along their lower r@narg;ns to provide clearance above the rollers 29 and to pr6vent the entan-jement of ttie end she--ts ol' the book belwee,i the roller and guide plates. The guide plates terminate adjacent the last infeed roller 29 as shown at 45 37o in Fig. 1. As best seen in Figs. 1, 2 9 and 13, a longitudinal book suvoort @@uide 38 is mounted on th.- table top 25 in lir@e with th-@ center line ol, the infeed conveyor B and has an arcuate top surface 38a. The stippor@ guide 38 has its 50 L book receiving end between the inner@ ends of the guides 34 and 35 whicli fla-tik the infeed @rollers 29. Flanking the sudport guide 33 is a pair of longitudinal, laterally adii-,stable book side -Uides 39 and 40 which are generally aligned, respectively, with ilie infeed side -.aides 34 and 55 35. As seen i Fi-. 2, the side guides 39 and 40 n . have flared boo!-, receiving end portions 39a and 40a just beyond tj'ae most inward roller 29 of the infeed B. As best s-len in Figs. 2 and 9, the two ends of the book sid@ guides 39 and 40 are mounted on parallel arm Lnechanisms 41- 60 41a and 42-42a, respectively, @.,@,hich, in-tura, are pivoted on upri,-bt lugs 43 3a ar -4 @d 44-44a on rack members 45 !Sci and 46-46a, respcctively. Thus, the side guides 39 snd 40 may- rest Gn the support guide 38, and forcibly follo@@Tz contoiir 38a vvhen adjusted in or oL7t by the diago- 65 naffy disposed tension springs 41c-41d and 42C-429, respectively. Lateral adjiistment of the side guides 39 and 40 is obtaindd by mounting the rack members 45 and 46 slidably in brackets 47 and 48, so that they may be ad- 70 justed by a meenanism ivhich is best seen in Figs. 2 and 12. Mouiated under the table top 25 in a suitable bracket and with its inner end journallidd in a bearing in the side plate 23 is a transverse shaft 49 hav'mg a hand @wheel 50 accessible from outside the edge %of the table top. A 75 2,777,66-0 4 worm 51 on the shaft 49 engages a complementary gear 52 on a longitudinal shaft 53 whicli is journalled under the table top immediately outside the side plate 23. At one end of shaft 53 is a pinion 54 which engages rack 45. At the opposite end of shaft 53 is a pinion 54a which engages racl, 45a. Tli-us, n-tovement of the hand wheel 50 acts to move racks -45 and 45a in coidrdinatioh, thus movin.- the book supportill.- side rail 39 in or out parallel to the Irn.-itudh-lal cen' er line o-f the support -@ ide 38. A @u cimilar shaft 55 is m,-unled coaxially with the shaft 49 on the c-pposite side of the table 25, and has i' s inner end joumalledinthesideplate24. Shaft55hasahand,;vheel 56, and a worm 57 eng@pes a suitable gear 58 on a longitudinal shaft 59 whi-,h in turn has spur gears 60 and 60a ,neshi@i.a with the racl@cs 46 and 46a for the side giiide 40 so that saic@-side gu-ide may be acliusted indep-,ndently of the side -i-lide 39. As best seen in Fi.@s. I and 9, the escapeme-@it mechanism C is mounted on E,. pair of upright supports 61 and 62 which flank- the tabl@e top Z5 at its extreme irfeed ead. The plates 61 and 62 have aligned clamps 63 and 64, respectively, to receive@ a crossbar 65, and at the front of the side plates 61 and 62 are cla@-nps such as the clanp 66 seen in Fig@ 1 for @ crossbar 67 .vh.,ch is c43,Olanar -,Aiitli the crossbar 65. The crossbars 65- and 67 serve, as supporls for clamp brackets 63 and 69,- respectively, which in turn pro7iide sjppor,,S for parallel longitudinal shafts 70 and 71 on wli;ch are journalled "i6e tongs-' ype" esctpement gatps 72 and 73. The tvvo escapement @ates are alike, so Gnly @ate 73, seer. in F 9, will be de cribed in s detail. Gate 73 incliides a pair of c6llars 74 and 75 N@,hich are provided witli inteinieshingear segn-i-,nts 74a and 75a so that the two collars rotate ;n oppcsite diree'Llons w hen either otie is -,ictuated. On the collar 74 is a bell crank 76 1,@@hich has aii actuatili@ arm 77 and a stop arni 78, v,;@Iiil.- on the collar 75 is v, . st6,o arm 79. The stop arms 73 and 79 have GT) osed facin-@stop fiii-6rs 78a aiid -P 79a whicli may close ac'@iacen', ihe upper cild of a book b so as to stop furtlier forwai-d il@oicnllnt of the bock c,.n tile infeed B. Actuation o4l: the escapement -ate 73 is by means of a solenoid 30 i-vhich is moL-.nted on the escapeinent side plate 61 and has a lin',@ 81 secured t6 its plunger 80a and pinned at ',42 tb the ruter end of the bell cran', actuating arm 77. TfiLs, -@vhen sc-l-,iiGid@ 30 is actuat I ed the plun.-er moves up,@vardly, rocl@cin.a the bell crank @,"6 so as to swing the ice to@n-s stop ar-rns 79 and 79 aparl. Similarly, as seen in the dia.-ramn-iatic elc,-tre.-niecha-,i;cal view, Fig. 16, the ic-- tongs element 72 h-as a bell crapl@ 83 with a@i actuatiii,- arm 34 from which a I'Llik 35 e,,- tetids to a plurger 86a of a soleiio.;d 86. As will be explained in more detail in cornectio., the electromechanical controls, the escapement C is so arranged that the ice tongs gates 72 ard 73 c,,o--n alteriia@f.'ly. - Aspreviouslypointedout,thebookforv,,idingTi-epns D is driven 25% fast--r than ihe book in:,!6ed means B. Tlius, initiauy a lipe Oi@ boolcs:b on the in@,f,-ed mei-lis B is stopped by the first gate 72 of the escaoement C, aiid when the gate 72 opens the line moves 61ong uiitil the op first book is sL ped by the closed gate 73. As th;s book is engaged -by the forwarding means D the gate 73 oper's and the hi,@her speed of the Lo rwarding means D pulls the first book away from the second book leaviqf, a gap between the books into wh:ich the firstgate 72 mav close so as @to hold bac@k @ the reme,,ining books. As soon as the book just fed is free of gate 73 the r-riaebine is timed to close gate 73 and a.-ain open gate 72 to let the line of books niove along until the first book in the lip@e is again stopped by gate 73. ThLis, tne escapew-ent meelianism C in combinati6n with the difference in speed be,-@ tween the book infeed B and the book forwardin,@ rpeans D acts to feed the books seriatim in spaced rel;@tions@,ip through the machine. As seen in Figs. I and 2, on the side plate -04 of the infeed is a Microswitch 87 which has a switch arm SR- in position to be contacfed by eacli bool, b as the book 2,777,562 proache s the locati?n of gate 72. The Microswitch 87 acts as a safety device to prevent th-- gate 72 from opening unless there is a book in position to move through to gate 73. The m,-chan,:sm by which this is accomphshed will be described in more detail in conneelion with the r) drive and electromechanical controls. 'ne book forwardin- mechanism D is best seen in Fi.-s. 1, 3, 5, 10 and 11. The book forwarding mechanism includes complementary book fonvarding belt units 89 and 90 which e.-tend along the livo sides of the table top 25. 10 Ref.- rrin.- particularly to Figs. 3, 5, and 10, at the two ends of the table tot) outsid-- the side frame member 23 are brack,-ts 91 and 92 which are apertured to receive a rotatable shaft 93 which has a pinion 94 situated -under the bracket 91 and a pinion 95 situated under the 15 bracket 92 (see Fi.-. 5), and as seen in Figs. 3 a--qd 10 there is a center gaide block 96 positioned intermediate the two ends of the table 25. A carriage, indicated generahy at 97, of the belt unit 39 has a top plate 97a, spacers such as spacer 97c in Fi@-. 5, and a bottom plate 97b 20 which is provided wilh racks 98 and 99 meshin.-, respectivel y, with the pini:cns 94 and 95 and gi-lided for s)iding movement under the bridge-like brackets 91 and 92. The center guide 96 for the carria-.e 97 has an openin.- to slidably receive a .@ulde arm 100 which extends out- 25 wardly from a bracket 102 which is secured to cariiage 97 by bolts 101. As best seen in Fig. 3, the carriage 97 has a fL,-.d shea-;e '403 on an upright shaft 103a betvreen the top and bottom p'lates 97a and b at its book receiving end adjacent the book infeed B, and a sheave 104 at the 50 opposite end which is mounted on a longitudinauy adJU - stable sp;nd'ie 104a bet@veen said plates. As best s.-en in Figs. 10 and 11 each of th.- sheaves 103 and 104 has tvio paral'el grooves in its circumference to accommodate upper and lo-wer V-belts 105 and 106, respectively. The 35 belts 105 and 106 are also guided on a fixed idler guide sheave 107, a belt tensionin- sheave 108 and a drive sheave 109. As best seen in Fig. 10, the mountin.- for the fixed idler sheave 107 consists of a post 110 with an overhanginbracket III b.-neath which the sheave 107 is A( Supported on an upri,-ht s@Dindle 112. As best seen in Fig11, the tensioning sheaic 108 is mounted on an upright spindle 113 hi,-ng beneath an inwardly extending lever arm 114 whien is pivotally sLppo@-Led on an Lip.-i,-ht rod 115 on a bracket 116 which is mounted on the outside of 45 the escapemenl frame m,-mber 61. The I.-ver arm 1-1@4 extends cut,@vardly frem the pivot 115 so as to accom_ modate a coil tension spri:n,- 117 by means of which the tensionIng sheave 103 bears inwardly agains', the V-belts 185 and IC,6 to keep them in tens;on. As best seen in 50 Fig. 1, the dr;ve sheave 109 is mounted on a long, Upright shaft 113 v,,hich is joi-irnalled in suitable bearings 119 and '020 which are position,-d, respectively, in the table top 25 and on a bracket 121 mounted on the side Dlate 23 of the frame. As best seen in Fig. 4, the bearing 120 55 is laterally adjustable with respect to the frame side pla'e 23 to obtain pro-oer a'Agnment of 'Lhe shait 118. The driving connections for the drive sheave 109 wiU be cyplained in more d,-tail later. As best se,-n in Fig. 3, the book i'Orwarding belts 105 Co and 106 have a long book gripping r-un which extends parallel to the support guide 48 between the sheaves 103 aiad 104. In order that the book forwarding belts 105 and 106 may have approp.-iate gri_Dping act@ 'o.n with on-, side of a book b, the belts 105 and 106 are supported and 65 resilientl y guided between the sheaves 103 and 104 by m@-ans of a series o' L resiliently siiloported -Uide pullevs. As bes'L se@-n in Fi- 3, the -Uide pulleys, all of which are identl'ied by the r'e'ferenco numeral 122, are mounte@i in groups of two or three betvieen the top plate 97a and t'he 7( bottom plate 97b of the carriage. -Lhe carriage plates 97a and 97b are provided with a series of aligned laterally extendin. @ slots 123 through vihich extend uprig'@it spindles 122a for the -,Uide pulleys 122. As seen in Figs. 3 and 10, betive--n a pair of adjacent slots 123 the top and bot7,5 6 tom plates 97 and 97a of the carriage are provided, respectively, viith sprin.- brackets 124 and 124a by means of which longitudinal puhey supporting sprin.- arms 125 and 125a are mounted so that they may extend through registering holes in the upper and lower ends of the puuey shafts 122a. Thus, each pulley is resiliently held in place with respect to the belts 105 and 1-06 so that as the belts engage a side of a book the -,Uide pulleys 122 may move res:lliently and laterally. The book forwarding belt unit 90 is exactly like the book forwarding belt unit 89. As best seen in Fig. 3, bridge-like brackets 126 and 127 at the two ends of the tabl.- top 25 are positioned directly opposite the bridgelike brackets 91 and 92 prev-iously descr.bed, and support a longitudinal shaft 128 which has pinions 129 and 130 mounted under the brackets 126 and 127, respectively. Rack members 1311 and 132 are en.-ag,-d, respectively, -vvith the pinions i29 and 130 and are sl:.dably moiinted under the bridgelike brackets 126 and 127 so that a carriage 133 having a top plate 133a, a bottom plate 133b and spacers 133c (see 1-ig. 5) is 'laterally reciprocable with respect to the table top 25. A center guide block 134 has an opening to receive a plunger 135 mounted in a depending bracket 137 which is secured to the lower carriage plate 133b by bolts 136. A fixed sheave 133 is supported on an upright sha-.L@t 138a at the infeed end of the carria,@e 133 while a longitudinally adjustable sheave 139 is mounted on a slidable shaft 139a at the opposite end of the carria.-e 133. V-bel@Ls 140 and 141 are trained around the sheaves 138 and 139 and also enga.ae a fixed idler sl@eave 142, a belt tensionin.- sheave 143 which is mounted on a swingin@ lever arm 144 and spring urged by a t.- usion spring 145, and a drive sheave 146 mounted on an upright shaft 147 which is journalled in a &- ed bearing 148 in the table top 25 and in an adjustable bearing 149 on a bracket 150 on the sid-. plate 24 of the frame (see Figs. 4 and 5). Guide pulleys 151 for the belts 140 and 141 are the counterparts of the guide pulleys IZ2 for the belts 105 and 106, and have their j-ori,@ht shafts 151a extending through slots 152 in the top and bottom plates 133a and 13'-4b of the carriage 133, and said shafts 151a are impaled by sprin.- arms 1,53 and 153a mounted in suilable brackets 154 on the top plate 133a and i-,l corresponding brackets (not shown) on the bottom plate 133b of the carriage 133. From the foregoing description of the book forwardl:ng belt units 89 and 90 it is apparent that the carriages 97 and 133 may be moved in,@vardl@y simaltancously on their racks by suitable reciprocat-.ng mechanism, so that as a book b is released by the second set of arms 73 of the escapement C it may be firmly grioped betvic.-n the book forwarding belts 105 and 106 on o-ne side and the book forwardin.- belts 140 and 141 on the other s;dc for movement along the guide rail 38. The resilier-t mounting of the guide pulleys 122 and TL51 is very important in order that the bogk forwardin.- mechanism D may accommodate itsel-f to minor variations in the thickness of succeeding books in a s-ingle run. As previously pointed out, books in one r-an may vary iii- thickness by an amounl ot tlle order Of 116 inch due to variations in thickness of the paper in a single pap.- r rlin. As best seen in Figs. 2, 13 and 14, the machine of the present inven'tion ;@s prov-' ded with the book splitting mechanism E which includes the inr-ermost end portion of the book support guide 33. As seen in Fig. 2, mounted respectively upon the book s:ide @- ilides 39 and 40 abo-ve the support guide 38 and b,-Iow @he plane ef the belts IC,6 and 141 is a pa-.r of book fanning fingers 155 and 156. As Fig. 13 clearly shows, the, forwarding belts ' are about halfway belween the spine and the lower margin of a book so that the open lower edge portion oj' the book is han.-ing pendant below the lower belts 106 and 141. As the book is moved by the forwarding belts its forward pprtion is compressed by the fanning fin,-ers 155 and 156 and then, as tne forward portion m--ves free of the 7 fanning fingers the pages fan out so that the book may ride over a splitter blade 157 which has an incliiied forward end 158. The top surface 38a of the book su@port guide 38 has a recess 159 at the base 6f the inclined forward end 158 of the spliter blade 157 so that the fror@t margin-s of the pages of a book b are comtiletely free from aiy co,itact with the support - ide 38 as they u leave the fa-liiing str,'.Ps 155 and 156 and are about to meet the splitt.-r blade 157@ Thus, the pa,@es are free to bend sideways so t hat the litter blad-- iray be flanked SP by two of the sp.-ead apart pagds of Llic book,. The outer cr@d of the spli'Lter blade 157 mer,-es into an inclined leading edge 160 of the case in splitter blade 161 on which the book-s may be pushed . along toward a casin,--in machirie w@th the books si@i)ported on tle carrier bar of the casing-in machiiie as seen in Figs. 13 and 15. Tlit-, driving and tini,,ng meelianism F for the unit is best seen in FILS. 1, 4 to 8 and 13. This mcclianis@n must be so co-@istriieled as to driv-- the intecd B at a predetermir.ed speed, drive 'Lhe book -'Lorwarding mechanisD at 25% faster speed than, the infeed, and coordinate the operation o-'L the escapeme.-it ---ates 72 and 73 wit'i the converging and diverging of the forwardin.- belt units 89 ard eA of Lil-- forwarding mechanistn and also ,vith the startin@ and stoppili- of the dr;ve for the belt iinits. In order to -,ivo;.d damage 1,G t.qe outside pages of the book it is necessary that the belts be in c--ntact with the faces of- the bool, before the belts are moving. Referrir-g first to Figs. 1 atid 4, the drive for the entire mechanism is through a main driie shaft 162 which is joiirna.lied in bea@-ing blocks 163 and 164 on the outside @of the frame s-"de plate 23. The shaft 162 at its outer en'd has a yok6 165 with a pin 166 affording a up-iversal mounting for a drive shaft 167 which is connected to the case-in machine for sotirce of power in order to maintain a titned relationship between the two machines. At the inner end of ',he main shaft 162 is a bevel gear 168 wbich meshes w,@'th a bev-,] -ear 169 on a transverse shaft i-70 which is mounted in beaiin,@ menibers 171 and 172 on tb-I side plates 23 and 24, respectivelv. Just inside the side plate 241 on the sh-,ilt -170 is keyed a @@i)rocket 173 for a roller chain 174 (see Fi@- ' 13) which nieshes with the infeed drive st)rocket .33. Oatside the beari-@ig 172 on the side plate 24 the transverse shaft 170 is pro,,rided with a bevel ri-,ig gear 175 which meshes with a bevel pinion 176 which provides the input for a standard commercially available single revolution clutch 177 sucli, for C,-.e.mple, as a Filliard type 6 clutch. The single revoll.tion clutch is of an cverunning t3lpe in which the input side 178 r,,jns constantly, while movement of the otitput side 179 may be preveiited by any suit@ble latch or brake member. When the latch or brake member is reieased the Loutput side 179 is 'ree to.travel with the inpiit side 173 -antil the latch or brake is again eiga,@ed. In the prese-@it stru--t-Lire,. the olitpiit side 179 of the sin.-le r.-volutic-Ti cluttch 177 is k,-yed to the drive shaft 147 for tfle drive sheave 146 of the bool, forwa-dirg belt mechar@ism 90. Thus, the book forwarding belt mechanism may ooerate for a sin,-le revoltition of clutch 177 under the ch mech, contr6l of a mechanical !at "nism which will be described. The book forwardin.- belt unit 89 is drivensimi-i.Ita-@icotisly witii the unit SIO by reason of the fact that the shaft 147 has a bevel gear 180 at its lower end, b@low the sin@le revclution clu@ch 177, and th;s in -turn mesL,-,s with a bevel gear ISIL on a bottom cross shaft I'@22 v,,hich is I-"c-umalled in bearings -IL83 aild 18ir3 in the, ear s:ide p'lates 23 and 24 respectively, ard has a b@.vel 185 at its oppos;tc enci o-a-Lside the s@de pla", 23. Th-@ be@,7el @ear 185 in tiiyn meshes w@@'th a bevel gear 186 0; t!ie lower end of a'rive sbaft !'MS fer the drive I)Ulley 10 of the belt unit 89. T'he control for the single revolution clutch is bcst shown in Figs. 6 to 8, and coqsists of a bell crank indicated generally at 187 which has all tipright pivot 183 rotatably moii@nted @@ii tli-- b-@arin.- braci@et 150, and in an upper, bracket 189 on tile sid-@ plate 24. The bell crank. has an 2,777,662@ 8 upstand I ing @cont I rol arm 190 1 which is on a I laterally extending bracket 191 Gn the pivot 188, and a rearwardly projecting spring arm 192 which is prgvided iA,ith a stud 193 to ar-t as a giiide for a ceirpress;-04 spi-ing 194. Ex-, tonding laterally from the bracket member 191 is a threaded rod 195 on which a sleeve 196, for@ a lat6h -dog 197 is,mounted, and the dog @leeve 196 is resiliently supported on the rod 195@by n-eans bf a co.-npression spring l@98 which may be adjusted by means oi e, 10 threaded nit 199. On ev.-ry re@;olution of shaft 170 bell crank 187 mzty be rock.ed on its pi-,,ot 138 by means of an actuator fin,@er 200 which is integrally forr@led @Nlth a clamping collar 201 which is clamped onto the conar 175a at the base of t]@e bevel gear 175 on shaft 170. 15 Th.- latch dog 197 on sleeve 196 is iiormaly urged iiite ei-i.@a.acment with a latch shoulder 179a on th6 Doiier takeoiT side '@179 of the single revolution clutch - 177. This enga,@ement ;s maintained by t@ethrust of the compression sprin.- 194 on the bell crank I arm 192. The shaft 20 170 aiad bevel g,-ar 175 rot-,te in the di-r,-@tion indic@t.-d by the arrow in Fig. 6, and on each rotation the cgntrol finger 200 contacts the upstanding actuatip.a -,rm 187 - so as to rock the bell crank about the pivot, 180 in the directioii shown by the arrow in Fig. 7 adjlqcent the sprin95 198. This snvings t@ie latch do.- 197 out from in fron't of the latch shotilder 179a on the sin.-le revolution clutch and per-mits the clutch to r.,iake one revolution which is stopped when t'iie shoulder 179,t again abL7tsagainst:the finger 197. The resilient mounting of the latch dog sleeve 30 196 on the compr ssion spring @, 98 acts s a cushion to - e a ease the shock of stopping the clutch takeoff sleeve, 179 at the end of the single revoluti , on. The sprng adjuster screw 199 perrm,ts ladjustment of this shock absorbineffect of the sleeve 196. 35 Referring now to Figs. 4, -5 and 13, the shaft 170 also carries a control cam 202 for the reciprocation of the forwardin-, belt unit, carriages 97 a@id 133. As seen in Fig. 13 a sleeve 203 on bool@ side plat@- adjusting shaft 49 (see Fig. 12) provides a rocking support for a cam. 40 follower ar@n 204 which has a cam follo,@ver roller 205 riding on cam 202. Pivoted to the loi@,er end of cam follower arm 204 is a I;nk 2.@6 which is pivoted to oLe arm of a bell crank 207 on a shaft 203 v,,hich operates an air valv,-. The opposite arm, 209 of the bell crank 45 receives an upwardly extendiiig: tension spring 210 secured to a stud 210a on the underside of the table toD 25 which acts as a cam follower spring holding the cam follower arm 204 and roll,-r 205 in contact with cani 202. On the center tube 18 for fra-Lne 21 is a clamp block 50 bracket assembly 211 which carries a pin-on 212 by @neans of whi--h it ma be vertically adjusted on a rack 213 on I t u b e 1 8 . N V h e n a d j u s t - , d t h e c l a m d b l o c k m a y b e t i g h t e n e d o n t h e t u b e ' i S t o h o l d i t i n r l a c e . T h e b r a c k e t a s s e m b l y 2 1 1 f u r - . i i s h e s a v e r t i c a l l y a d j u s t a b l - - s u p p o r t 5,5 for a d-ouble actio-ti air cylin'de@.7 214 -vvhich has an upwardly extending pi8t6n rod 215. As best seen in Fig. 51 a plate 216 is secured to the i,-pper end of the piston rod 2 1 5 a i d i s p r o v i d e d w i t h c p p o s e d r a c k s 2 1 7 a n d 2 1 8 w h i c h m e s h , r e s p e c t i v . - l y , w i t h g e a r s e g m e n t s 2 1 9 a n d 60 220 wliich are mounted on longiludinal shafts 221 and 222 on s;de plates 23 and 24. The gear segments 219 and 220 in tum mesh ' respectively, with pinions 223 and 224 on the longiti@dinal shafts 93 ---ind 128, respectively, by means cf which the racks 98 and 132, respectively, 65 for the carriages 97 and 133 ar-- rec@orocated. Tlle rack a-id pi-@iion mountir@g for the clam-o brack-et 211 upon which the air cylinder 214 is motinted permits the cylinder to be vertically adjusted so as 'Lo adjust the s:)ace b,-- tween the belt carriages 97 and 133 to accomm6date 70 books of diit.-rent thicknesses. Thus, a very short thr6w air cylind-.r may be used, and in a commercial embodi-1 inch throx ment of the device it has been fc-und that a /2 is, adequate for proper reciprocatio-n of the belt carriages 97 and 133. Th-, air v@ilve ar@d the -Lir cylinder 214 are 7.5 constructed for two-way action go t.iat the cylinder op-