заявка
№ US 0002764799
МПК H01J9/46

Страна
US
Как управлять
интеллектуальной собственностью
Чертежи 
4
Реферат

Формула изобретения

claim: 1. A machine for transferring ferrules to and inserting them in sealed-beam reflectors comprising meails for 5( holding as groups said ferrules spaced apart on a conveyor.distances corresponding with the spacing desired on said reflectors, and means for lifting and swinging said groups of ferrules and lowering them to and releasing them on said reflectors, while the latter are mounted 5r) on an inserting machine for subsequent insertion there2. Mechanism for transferring ferrules to reflectors on a sealed-beam ferrule-inserting machine comprising a chain conveyor, a senes of plates adapted to support C)o ferrules in positions spaced to correspond N4,ith that desired on said reflectors and secured to sqid conveyor, supports -Lipon which said plates ride, means for intermittently driving said conveyor, a shaft vertically positioned between said inserting machine and conveyor, a C),5 sleeve mounted on said shaft having an angular slot, a roller pivoted to said shaft and received in said slot for oausing reciprocation of said sleeve upon rotation of said shaft, a spring acting between said shaft and sleeve to urge the later to uppermost position, an oscillating 70 arm carried by said sleeve, a suction head on the free end of said arm and adapted to fit over a group of ferrules on one of said plates, stops for limiting oscillation of said arm, means for opera-ting said shaft with attendant reciprocation of said sleeve to cause oscillation of 75 said arm between said stops, vacuum supplying means

7 associated with said head, and means for connecting said vacuum supplying means to and disconnecting it from said head, whereby said arm is operable to move down over a group of ferrules on a plate, pick up and raise said ferrules, swing them over a reflector on said inserting machine, move them down over said reflector, and release them thereon for subsequent insertion therein. 3. Mechanism for transferring ferrules to reflectors on a sealed-beam ferruleinserting macliine comprising a chain conveyor, a series of plates adapted to support ferrules in positions spaced to correspond with that desired on said reflectors and secured to said conveyor, a shaft vertically positioned between said insertin@ machine and conveyor, a sleeve mounted on said shaft having an angular slot, a roller pivoted to said shaft and received in said slot for causing reciprocation of said sleeve upon oscillatory rotation of said shaft, a spring acting between said shaft and sleeve to urge the latter to uppermost position, an oscillating arm carried by said sleeve, a suction head on said arm and adapted to fit over a group of ferrules on one of said plates, means for limiting oscillation of said arm, means for operating said shaft with attendant reciprocation of said sleeve to cause oscillation of said arm between said limiting weans, and vacuum supplying means associated with said head, whereby said @arm is operable to move down over a group of ferrules on a pla-te, pick tip and raise said ferrules, swing them over a reffector on said insertin-. machine, move them down over said reflector, and release them thereon. 4. Mechanism for transferring ferrules to reflectors 2,764)799 8 on a sealed-bea,m inserting machine comprising a chain conveyor formed of a series of links, a series of plates, each of which is secured to one of said liulcs, supports upon which said plates ride, sprocket wheels over which said links pass, means for intermittently driving one of said wheels, a shaft vertically positioned between said inserting machine and conveyor, a sleeve mounted on said shaft having a V-shaped slat receiving a roller pivoted to said shaft for causing xeciprocation of said lo sleeve upon rotation of said shaft, a spring acting between said shaft and said sleeve to urge the latter to uppermost position, an arn-i carried by said sleeve, a suction head on the free end of said arm and adapted to fit over a pair of ferrules on one of said r-hain conveyor 15 plates, means 14or oscillating said shaft with attendant reciprocation of said sleeve to cause moveme@it of said arm between stops, vacuum-supplying means associated with said suction head, and means for connecting said vacuumsupplying means to and disconnectin.- it from 20 said suction head, whereby said arm n-loves down over a pair of ferrules on a conveyor plate, picks up and raises said ferrules, swings them over an indexed reflector, moves them down over said reflector, and releases them thereon. 25 References Cited in the file of this patent UNITED STATES PATENTS 2,069,086 Donovan et al ----------- Jan. 26, 1937 30 2,317,031 Cotman et al - ---------- Apr. 20, 1943

Описание

[1]

2,764,799 MACH-INE FOR FEEDING FERRULES TO SEALED- 5 BEAM @RFFLFCTORS@ Mchael E. McGowaii @nd 14eniy P. 14aselI, Bloomfield, J., agg'gnors to Westihghotis6 Electric Coirpoiration, F,U$t Pitts6i@rgh, Pa., a ct)rpdration of Penn Ylvania 10 Application August 23, 1951# Sexial No' 243 312 4 Claidi . (C]. 29--@.10) 2 1 7 6 4 @ 7 9 9 Un'ited States Pateftt Office Patented Oct. 2, 1956 2 Othet- objedts ahd advaiita'gd@ of thd iiii@6nii6ii, f6latiiig to th @e partitul@it arrailgeihdiit ah@d dijh ttucti@bh bf t@6 vatiw ous parts, '111 bedoti& aPpar'en''t a's the' d'e's,c'ri@ti0fi Or& cded . 1 ihd sc'ale d'raWi'n'g-. Fig. 1 is a pi@n 6f a 8ealed@ bba@ ifi f@titile-itisj @tifik ffidchine and asso@iated ahijd@dtu@ eriib6d@in'g otii lh'v6iitii)fi. Fig.. 2 is a front elevational view of thb app@ratij.@ shown ill Fig. 1. Fi@&, 3 is a vertital sd@tio'iidl View thibii@.h the dhain conveyd@ for ttah i)ottihig! fetitil6 t@o- th'@@ iii @itiiig ffi@chin' el the sdcti(sn being takeiiiii thd lih@e@ @6f Vig@ 4, looking in the diiection 6f the qrrows. Fig. 4 ig a fragi-nefit@ty plafl, '- ditospo 'ndi @n'g to Figiii6 I b-ut oii a larg@r @cale, A @o@tibii teiilk shbw'n i'n horiz@biii@l sdcti6n oii the liiid IV@IV , of Figili@ 3. Fig. 5 is a ff@a@rneiiihty @,ettid@l sectidn@il @ vib'w dh the line V-V of Figure 3, in. the, difeciibn 6f the Eirrdwg. pig. 6 is a fragtndiitdry horiz6ntal e@fioiidl @vidw on the line I l@Vi of Figtire @, i'n the dit6ctibh 6f the At@6Ws. rig. 7 is a fkagiiidiitary votti@@al @ecti6hdl vidw dh the line Vil@Vil cif the Pigur6 3, in thd dittttidh (if the arrows@ Fig. 8 i@ d fiagrii,entdry V61qicdi &dtioiidi vi'&* dii ifie line VIII-Vill of Vi@g'iifd 4, iti the dir'ec@tibii 6f the arro s@ Fit. 9 i@ @t fiagmdiitafy@ 6!evation@ di v'io* cii the fe @r'r-tile l@i'ck-iio head, shdtvii @a'ttl@ iii@ 'ddff6li- as iii tig. 9, oxc6pt that s@gid @ hdad is' hdt6 ifi 0,6@it'td'ff' fO'r dep'O'git'i@fig f6rr;iil@' @ bit @d reflddfot thefdbdrc@affi. Pig. IO @ is@ h fLi'n@i@ildiiai diagikfti,@6-te'lating' the' o"Ire'r'ati6n, 6f fhd Iv,@ridffg O@tt@ df th'd dOdritLis@ Fig'. II ig@ Ei Witing diagra fii 6f the @p@a fatiis. ih 6iirl Eipplicaii0ii S6f., No. 211,056, fii@d feb. @6, 19@ll and ciltitled "Metho@d aiid Mq6hiiie @of Pioceg@iiik thd Refleef0ts df Sealod-,ge',@@ Lqih@s," We fi@ive, diselos6d ajoa@atu@ fdf pt6c6 @ing 8iich reffec@tdr@ p@6itions t hdfdbf f6i 'rtil6@ c 6gtiiigs ApOtioLd- th@drdt6.@ Ili@ th@,@ &e 6hf e @,r(y 6 @on0 6Y d ith tlie, e (iti dc t@r@iiies W t o'f(5 iti(Jii ort t'hl&@9tqls reftedi6f 06if &@ f(5r'beiiig'!@@,dl6d theidf6, s6' th@at tfiey@ fti@ay th6reaft6t bd Ptbdd'ss@d dg" disc,16si@d, in s@@id eArli6r go@l'ication. OtiT@ aPp@A tatti c&nsis is: g6ii&i @tily, 6f @Y te@rtti !6 iti@@ @,c4.@) tion, repair and loading table 21 af bild end- cif dch@in nleans at said positidids fbr loading, said refl@ttbf@ oii6 by ecfnvoyo k, 21, to cd'fky thd c'6zita,-'et f@ery'b @f(@s iS in, - to@ips one oii said heads, heatiiig Sqid rdffecidr@, po8itxohing ferof two cir@ thtd,@, fdr ek,@nip l@ d@p6nd ing oii the iiiirtiber rules oift said h6ated reflector- -S, iii8ertin'g th6ih thdteiii, posi- I tt@ o f f6@tiile@s edch of th6 Idih'ps b6iiig Maiiiif@@i@tbd, bes Oii afid gdaling. thdih tb: dfd. rdfleetbrg, and iinlozidin@ said ieflectdrs (in6 by (5iid qft6t apply- to@ the vicinity of @t ferftiie iii 6riinlg rhdc@in'e 14 aiid a 50 transfe @rddvia @ 25 @ f(5 Iiii the' fettiil6 IJ ft6i* t)@e c@dnTbi@ invention relates to the insertion or sealing f on- 15 tact ferrules to "sealed-beam" rdflectors and@ more particiiiarl y, t6 appatatus for automeiticall@ transf6rring such ferrdl es from a conveyor to sealed-beam reflectors while car,rie d on an inserting machine. The principal object , of our invention, generally con- 20 sidere d, is to provide, in conibinaation with a seal-bearia feirule-ihserting machine, a conveyor Oil which such ferrliles are moved to the vicinity of said inserting machine, and transfer mechahism to pick up said ferrules, swing thein over an inde'x6d refl6ctor &n said insertihg rfiachihe 25 move them down to said reflector, and releage then-i thereo 'n. Anotli er object of our inv6ntion is to provide an impfove d iiiethod of feeding f@,itul6s to sedled-beam reff@ctorg, domprising pladiilg said fdrrtilds spaced as gfoups, at 30@ dfst@r ices c-orre-spondin'g with the spacing desired on said refiect (irg, oti. a coiiveyor, lifting zind swiidging said grouped ferrules ffon! said conveydr, aiid lo'we'ring them to and releasi ng thein oii sa-id r-of'lectors, while rnbunted on an ijftgetti ng Aiadhitio, g6 th@tt they ihay siibseq:dently be in- 35 serti@ d ther@,in. A ftirthdi- object 4it oiir invdntidn is@ tb @t6Vide, in combinatio n with a sealed-beam ferrule-inserting mdchiiie, coil8i @tjiig- 'o'f' a conveyor spider, @with a- p,mr--ality (if heads 4 arrain ged in' a citcle abotit a VerticAl dkis, ebch@ of said heads being coilstrticte'd- fbt holding 6ne of di . d r6flectors While c-'ttain opetatioiis ai-O p(@rfotmed thdte'6iii, ittaiis for rot@iti nlg gaid goid6t, step by step abciit 9,qid axi's' And indexin. - gaid heads@ thoreon' throtigh a Plutality 6f po@'siti6hs, ing 9.qid fotriileg and exhau@t tijbes theret6' A. still fiitther obiect of' dijt iiiveiitidn is td pf6Niide veyor@ 22@ gfid'd6oo it ttieih ih the r e f i 6 e f o l l , Oil' kl'ASS seal@ed,-@cea,m r 16, orhdtim@ &s @ tdr' 'm@e-d' ""retrdns,fer mean's for moviiig f6rrtiles ft;(jih A chdin co,nveyor ffdctots" fdr shottj@ &d@fidd bY th6 iiis6ttib@g r@nat:@fiy6 j4. to a fetrul@-iiisetting ri-ieichine f6r sealed-beain reffectbrs, Refefriiig@ f6 the dfdwiilg i'n (f@fdit, fik6 1@'@it said machine, cornprisi@n,9' a shaft nibunt@d vdrtica'lly and b@@iig 5,ry d@signated by like@ rdfeto&'b' ch,@ciac@t'6 )rrs; thd fratsfdt @edisposed near sai(i insertilig machine@ and cbnveyor, a vice@ 25; has, vaciititi cti#, rh'dd@ds 27 o'n I the dn' if of dTi arm 28 whlich is moVe@d,@ to cgus& @@id cup' M"(@'a' 'n's" fo re'o'ipfc6@te uj@ward@ly, @fidr pic@k-ing: fig d gtdul@ df fer'r-1116s@ li@ from the end #oiltio-n,. @ of, thb@ conveydr 2,2@ n@6'Eir th@e iifts6fting machine 24. The@ arm@ 28, is@ tllel, a ockwise t h , u as vi6,ked froin@ a@bove tifttil (iiiectly ovbr a@ refledor 26 ind--xod@ of,, th@@, ffla@h'iiie'24, Wher6UPon it is@ lowerod to, @lac-e tbe7 d 'afried@fbft@til'eg'6ft @said, rdffe@for in positioa for insertirrg an'd 8eaH hg.@th6i6f&.- The vabutitii cdxinectidly to the: dup@ lifi4eaiis@ is @tfie'n@ ctiscon,nectdd,4 le@,vinlg th@ ferrule's oli. the feffeeior, alid fhe arffi@ 28 f@fltu@tns@ to@ pick. up, th6 ni@@t@ gf&iii@ of ferfule@8 carried by t@h@ next @Pl@,te@ Of tlid 61fg;iii@ cbiiV@y6r, for deposit on tho reflectbr neit t,6 b@@,@ iiide,@6d iii Pdsiti6ii for ferrule rdceptibn@. M This means t-h@at@ Whilf, the transf6r Eit-ni 29 @i ' 6,@ing a group of ferrulos t6 thd@ inset-lt',Mg machin'e' ; thd edifve)@or sleeve motinted (jiq said' shafil ft,&Zins fok 6scillating and reciprocating said sleeve, the litttet flor fliat pui-pose having a. V-ghbped slot and the shafi car-ryirig a@ rbiler rec6ived in said slot, a spting actiiig befwdeii said shaft a 6 0@ sleeve for raisin''g th'e' lhttet, aii-ArrA canied by said'- sleeve, a suctioil head' on the ftee dnd of sdi , d afm, and ada@ted to fit o,ver a, group, of fettul'6@ dii @ai , d, convdybr, means fot osdilfdting said sh'aft fo rii6vd said@ arm betw6en stops, vacuum-supplying means associated, With said suction head, r)5 and means for connecting said vacuw-n-supplying means to and (fisco'nnecting it@ ft6m sa'fd sudtioii, head, wherbby the arm is, M(jVabfe d@owil to Place it@ sacti'oti' head o@'ver a group; ol ferruleg 6ii said coiiveyor to pick up ajid. raise them, s'w' ing them ovdr tb a @6@ition above ari indexed 70- regector,t move tfiem@ dow'n, over said, refl@ctor, and release them thereon.

[2]

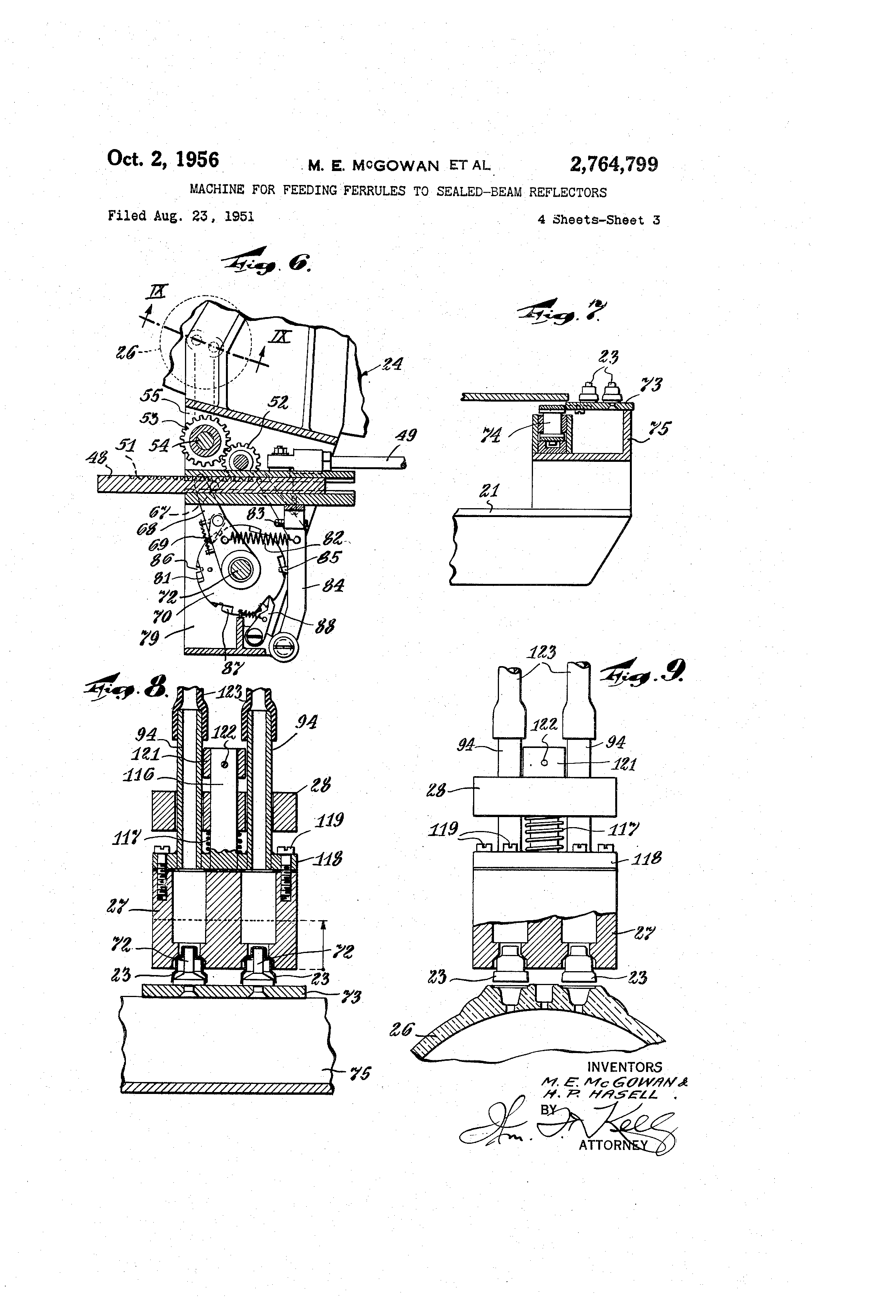
2,764,799 3 22 being driven from the shaft 32 that drives the f erruleinserting machine 24 and the transfer device 25, is moviiig another group of (in this embodiment two) ferrules 23 to the pick-up position. The use of our invention is a sitnplification of operations, combining inspection, repair, and loading of the ferrules. It involves a moving of the ope,fator who loads the reflectors 26 to the baclc of the inserting machine, thus giving her more room than previously. It also involves the placing of the ferrule loading o,perator in a cooler position @than heretofore. The inserting machine and drive mechanism AR the apparatus, heretofore generally described is, in the embodiment illu-strated, dllv@,,n from a single source of power, isuoh as the motor 29, so that the parts operate in the desired synchronism. The motor 29 is coiinect--d through redliction gearing 31 to drive shaft 32 as b3t mealis of a chain 33 passing over a sprocket wheel 34 mounted on a shaft 35 projecting from the box of the reduction gearing 31 and a sprocket wheel 36 oii the end of- said drive shaft. Turning of the shaft 32 causes the step by step or indexing rotation of the spider 37 of the inserting mach@ine 24 carrying heads 38, to which during processing are secured the reflectors 26, throiigh mechai-iism in gear box 39. Such dneltides a cam wlieel (not shown) with axially offset por@tions sequentially engaging rollers (not shown) bi.it fixed to the spider for drivin.- the same. Such mechanism being standard in such equipment (see, for example, the drive for the spider 106 through its vertical shaft 108 by 1112 carried thereon and formed by a series of rollers 1,13; with which the present mechanism corresponds, driven by wheel @1,14 formed with a trough portion which joins axially offset trough por@tions 120 and 130; w-ith which the uni-Ilustrated present cam wheel may correspond; forniing a cam device for drivin.a the spider step-by-step, as disclosed in the Green application Ser. No. 62,343, filed November 27, 1948, now Patent No. 2,569,852, dated Oct. 2, 1956) is not illu@strated in dettil. The shaft 32 carries on its forward end, as viewed in Figure 2, a cam 41 for operating the ferrule transfer dev.ice 25. A roller 4,2 riding within this cam is att@ached to an arm 43 of a bell crank lever 44 pivoted to -a standard 45 extending to the base 46 of the machine. The other arm 47 of said bell crank lever is connected to a slide bar 48 by means of a link 49, opposite ends of which are resp,-cti,vely pivoted t6 the arm 47 and the right hand end of the slide bar 48. The slide bar 48 is provided on a side with teeth, viewed in Fig. 4, forming a rack 51 engaging an idler pinion 52, in ttirn meshing with a gear wheel 53 attached to a vertical transfer shaft 54, pivoted in a bearing 55 mounte,d onthe frame 56 of the machine. Said transfer shaft is provided with an anti-frietion thrust beating 60 and carries a roller 57 adjacent its upper end pivoted on a screw 58 secured thereto, as viewed in Fig. 5. Disposed over said shaft 54 is a sleeve member 59 provided with an angular slot 61, viewed in Fig. 3. Said slot has two branches projecting upward from its central portion, mak,ing it generally V-shaped in elevation. The upper end of the vertical sha-ft 54 is reduced in section, as indicated at 62, and encircled by a coiled compression spring 63 @acting between the shoulder 64 at its bottorn port@ion and a cap or plate 65 receiving the u,pper end of said reduced portion 62. The cap 65 is sec,ured to the upper end of the sleeve 59, as by means of screws 66, thereby closing the annular space between the reduced portion 62 and the sleeve 59. By virtue of the coiled spring 63, positioned as illustrated in Fig. 5, the roller 57 normally tends to remain in the bottom of the slot 61, with the sleeve 59 clevated to maximiim extent above the shaft 54, and thereby holding the transfer arm 28 in its upper@most p@osition. The conveyor is driven from the shaft 32 through cani 41 by means of a pin 67 secure,d to the slide bar 48, projecting downwardly there4 from, and engaging a lever 68 which serves to intermittently advance the chain conveyor 22 one p e 73 at a time by its pawl 69 engaging a drive ratchet 70 on the coiiveyor drive shaft 72. Iiispectioiz, i-epair, loading, and conveyor mecha?tism The ferrule-charging operator 71, inspects, repairs if necessary, and loads ferrules 23 on pins 72 of the conveyor 22. The pins 72 upon which t@he ferrules are placed 10 by the operator 7;1 are secured in groups (inthe embodim---,it, pairs,) to plates 73 which, in turn, are secured to lirilcs of 'Lhe chain 74. Said plates 73 ride upon stationary supports 75, as seen from Figure 7, and travel in counterclockwise direction, as evident from. Figure 1. The cha@in 15 74 rides over two sprocket wheels, 76 and 77, the former of whic-h is fixed on drive shaft 72' and driven intermittenily by tiie slide bar 48 which also forms part of the transfer device 25. The sprocket wheel 76 and transfer device 25 are partially housed between upper plate or 2o bracket 7@8 and lower plate or bracket 79 secured to the frame 56 of the ferr,,ileinserLip@g machine. The lower end of the drive shaft 72' has two disks, secured thereto. The Lipper disk is the drive ratchet 70 and has six teeth formed by indentations 81 equally spaced along its cir25 cumference, to receive the pawl 69 of the lever 68. A spr@iag 82 fastened to said lever tends to hold i@t in enga.-ement with an adjustible stop 83. The other end of said spring is fastened to a second lever 84 (see Figures 4 and 6). 30 Said lever 84 bas a lock@ing tooth 85, which etigages one of a seri-,s of cavities 36 in the lower disk 87 on said vertical shaft Ahen the next set of ferrules are advciiieed pivota:lly beneath the vacuum cup. The latter lever is pivotally attached to the lower plate 79, as shown. @' 5 A segond spring-a--tiiated pawl 88 engages the ratchet and its shaft, during the return travel of the lever 68 and its pawl 69. The pin 67 secured to the lower face of the !aforementioned sliding bar 48, also on return movement of the bar engages the locking lever 84, keep40 ing its tooth 85 disengaged from the lower disk, as shown in Figure 4. A cam designated 89, see Figure 2, is attached to the main drive shaft 32. A roller 91 atta d to t outer end of a lever 92 from a pivoted vacuum valve 93, shown 45 in Figiires 2 and II, rides upon said cam. Said vacuum valve 93 connects and disconnects through pipe 94 the vacuum cup means 27, shown in Figures 8 an 9, wi respect to a pipe 95 connected to a source of vaciium. The armature 96 of a solenoid 97 connected by a link 50 98 to said lever serves, when the solenoid is energized from soLTrce of power 99 through the c;rcuit 101 shown in Fig. II, to shut off the pipe 95 from and release the vacuum in the piekup head 27, in the event that no sealed-beam reflector 26 has traveled to the fernile charg55 ing position on the inserting machine, shown in Fig. 11, and opened the normallyclosed switch 102 in the circuit 101, by engaging the swit.-h operating arm 103 and acting in opposition to the switch closing spring 104. Another cam on said main drive shaft operates a switch 108 6o to open or close the solenoid circuit. The shaft 32 also carries a cam 105 engaged by a roller 106 on the end of operating arm 107 of switch 108 in order to open the circuit 101 and prevent energization of the solenoid during the indexing cycle of (;5 the inserting machine, the movement of a reflector 26 from the arm 103 allowing the switch 102 to close, Transfer mechanism The mechanism for transferring sets of ferrules 23, 70 one set at a time, from the plates 73 to position onreflectors held by the inserting machine 24, comprises the rack-and-,-ear-driven transfer shaft 54, over which ig dispc)sed the sleeve 59 carrying the vacuum-pick -up-meansbearing arm 28. Oscillation of the arm 28, moving 75 piclced-up ferrules 7@3 from over conveyor to over

[3]

@o, j764@199 5 a reflector 26 and retiirli aftet ferrtile d6pc@,.Iit i@ 7 effdct&d by the rack 51, pinibn 52@ goar Wheel@ 53' aiid@ shaf@t 54 driving sleeve@ 59 throiikh! i;ollet 57 @ eilgagitig iii glot 61 therein. Vertical reciprocation of the sldeve 59 @ ahd patt8 darried thereby is effected by adjustablei giops 109 and 1-10 attached to the bracket 78, sectired@by boltg tD thelf6rrwd, insertin.- marhine@ These stops serve tt)l stbp jsdi'llatdry movement and cause the applied' fbrce td@ effe@-,t Verti@g up or down movement of the trafl@fet @rTh 28, as, it reaches its outermogt position over. the chain convey6r and its innermost position over the ferrulo ingerting inachine@ Each stop 109 and 110 doftiprises, Eis Vi6wed'in Figs. 3 and 41 a roller Ill pivonlly inbunted@ adjdtejit the end of aia L-shapod ]6ver 1,12, conntetod to the bracket 78 by means of pivot pi'ns 113. Adjustineht of .the stopg 109@ and 110 toward. and away from the bracket 78 is effected by set screws 114 and 115, the forilier engaging the levers 112 near tho pivot points, and the latter enga.-ing said levers near: the roller-moutiting i)ortions' In order to effect a resilient engagement@ between the vacuum pick-tip liead 27 and the ferrules. 23, sttid, head 27 has an upward extension 116 from its top plate 118 rec,iprocable in the end portion of the arm 28, ag viewed in Figs. 8 and 9. Said extensit)n catri@s a C'oiled compre,ssion spring, 117 acting between the arm 28 and the top of the. plate 118, formifig, the iipper closure of the vacuum meaiis 27, and conner-ted, to the4 body thereof'by screws 119. Undesired removal of the vacilum cup means 27 from the arm 28 is prevented by a collar 121 over the end of the extension 116, and held thereon by a cotter pin or other desired means 122. The pipes 94 which effec@t vacuum connection with the device 27 algo pass throtighcorresponding apertures in the arm 28 and are connected through the valve 93 to a source of vacuuni (not shown) by flexible tubes 123. Operation We will now trace the operation o-f the heretofore@ described mechanism on a reflector 26 from its loading at position 1 on the ingerting machine 24, as viowed in Fig. 1, to its removal after passing through pogition 16 on said machine. The operator at position I places reflectors one by one on the heads 38 of the machine, as indexed at position 1, taking the completed reffectors Off af,ter passing through positibn 16. At the same time, the operator 71 at right hand end of chain conveyor, inspects, repairs if necessary, and applies groups of ferrules to the pins 72 on the plates 73 of the conveyor. After all normally filled positions on the inserting machines and conveyor are occupied in normal operation, as diagramnied in Fig. 10, we will consider thr. pick-up head 27 as connected to the vacuum supply by having the solenoid 97 rendered inoperative by at least one of the switches 102 and 108 in open pogition. Sa d head is considered to start by reciprocating down over a set of ferrules on an indexed plate 73 of the conveyor, resiliently engaging said plate, then reciproca@ting back to the upper position. It then oscillates over to a position over an indexed reflegtor on the inserting machine, and reciprocates down to place the said ferruleg in position on said refleetc)r. The vacuum connection is then released by closure of the vaculim valve 93, indicated by the section of line of Fi- 10 leading from "vacuum valve" and marked "closed.,, This reciprocation and oscillation is of course effected by the rack, pinion, gear, slotted sleeve, and stop arrangement, hereto:fore degcribed, the roller 57 pivoted to the nowtumin., vertical shaft 54 permitting, after ferrules are picked up@ first, a vertically ul3ward movement of the sleeve 59, due to the spring therowithin, until the roller reaches the lowermost position of Vshaped slot 61, when the suction cup is swung until the arm 28 engaaes the second adjustable gtop, 110, placing the carried@ ferrules@ directly above the indoxed gealed@ beam riDfleotor.,. The vertical shaft@ 54 coiitiftuing to, turn now@ fotm the sleeve 59, the transfer arm 28, and its@ suction head 27, , verticall@, downward, due to the V-Shaped slot 61,@ unt@'d the head 27 reacheg the position@ as shomrn in@ Figure 9@ at which time the@ cam an the rnain drive shaft is about to close the valve: 93 @ and @shut off th-e vacuum to the suction head, thereby releasing the@ ferrules into their respective 1( circular cavities on@ the scaled@beam reflector. During this transf6r interval,;@the conveyor indexes, ag seen frorh Figure: 10 placing another set of fertule@ in position to, be tt@@sferred@ This isaccomplished@ b'y the veitical pin 67 on said slide@ bar 48 engaging the aforenientioned 15 ratchet I-eVer 68@ which advances the drive ratchet 70 until the next set of ferrules: s exactly b,elow the pickup position. Switch 102 is opened -again by a new sealed@beam re@ ilector as it comes, into position 4 on the inserting ma20 chine. Switch 108 is opeii only ditring the indexing cycle of the ferrule insetting machine, to prevent the solenoid operating when switch 102 is closed. When the ferrules, are deposited upon the sealed beamreflector in their respective cavities, the suction head 25 agaiii nioves, first vertically upward, and then swings in a clockwise arc, until the transfer arm again strikes the ftst adjustable stop. Before the sliction head again reaches its 16*ermost pickup position over a new set of ferrules, the vacuum @ valve@ is opened again@ providi'ng 30 there is a new reflector in position 4 on t-he ferrule iiisertinglrnachine, t(y, keep switch.102 open@ Should there be no sealed beam reflector in posi-tion 4, switch 102 remains closed and the suction head 27 is not operative to pick up a set of ferrules. 35 After application of a set of ferrules to a reflector at position 4 on the inserting machine, said reflector then continues to pass under the inserting fires acting conventionally between positions 3 and 11, which effect reflector preheating and actual sealing of the ferrules to 40 said reflector. At position 12 an exhaust tube is conveiitionally applied and sealed in place, and at positions 13, 14 and 15 annealing fires act conventionally on said exhaust tube. Although a preferred embodiment has been disclosed, 45 it will be understood that modifications may be made within the spirit and scope of the invention. We

Как компенсировать расходы
на инновационную разработку
Похожие патенты