заявка
№ US 0002669679
МПК B60L7/04

Номер заявки
3323046
Дата подачи заявки
28.11.1952
Опубликовано
16.02.1954
Страна
US
Как управлять
интеллектуальной собственностью
Чертежи 
2
Реферат

Формула изобретения

6 -719, 20 6h @ac,6 rized by'aetid 6,Vd@@ hob ing.@pr ven ivom(@,qlis @e lil;igiie - t'-c ' oil ype e shol#ii-i.n'-]@i@.-l. --iii-Fig. 5,-tli@e pi-otarnia (-d) :bei-@ng olietelii'v'e tipon 't-h'@-- 'f-irs't-6p6tatii g PYL-I il@i8trAted,asbeirgi@erm aiientlyenertiire:- -"s@;1' p-i6ais@of@ilie 15rakingQontrbllin-g:r4eans,(,Y). ,,$i@-@d rbm @hb @p6sitive @traii-i-line wire 3. The itiveiition as de.L-i-ne,d'in claim --l, -chat1 n s -thr ifth two tesist@ne -@@,3'1 an'd 232. The pilot'b acterized by,-said o@- ho ting DreVeiit'Ve 0 es ver0 @iii6t6i -s piovided with ti;@o oppositely.conneefed @(g) @bein"g operativb tb,i-nterpose@a delaylin@ilie -fi6f(is F@LA/1-@SP:a@@d Pld-irF,@w'hich are energiz 'hr@t e ing -lie ed opel_,atibn of the s - op rat' rneans -of t 'fibffi'the,@iei,ibiasly des6iibed cond:uctors 39 and braking-cbntrolling means (f). @Vii6n@eitl@er i@@,ne'of'tli6se conductors 4. The'inv"ontion'gs defined@in@claim,l, 6haror -9@ol is e-n@orgized,' e pilot m wil rized ive means iii oior i@Y@ I @io @a&te by!said ov6@sh6o'ting-p@ev&nt@ t urn @ir- th'e 'dir'ection@for troving the field-con(9) be@ing operatl,v-e to colitrol :tl-ie progressive ovV a r slio - ition SF, or adi on r6iiii-i 6116@ @Fb t d its rt field pbs, Listiiieiit of tho@field@c g- mehns -(cl). -tb@ii.@d ifs@full--fi6ld @o@ition F.V@, as the case may '5. The fnVeriti6n E@s d6f!ned in '619,irn o ers o ing eve iv '6e' "VTheia'a d@iiiaffii6-b@dking operatioxi is called acter@ized by sa6d' @ho t' @@i nt@ e aiis 7.. . , . I " .I I @for:d'utin-@'a 'shott-fi-eld o'peratihg-c6nd-ition, the '15 (g) beink 6 erative@tt) change the r p ate 6f @ij'ro-ield @'dukiiiar,y-,co'ii@@acto-l" C I, in Fig. 5, ol3ens its back -gressive adiii@tment; of-the f .;conttollirig riieans cor@tqct, gnd @thus'r6iiio@ies a short-eiretit Which ;(d) .5;d beeli lAc-.d, @ by @ this c6ntact, @ a 6 The inV61itibn @:i im , c ar@h" 'p cros@s the res deflhed in cla@ 'l ' h' is ur c en t ahce'331. Th@ reduce,@tlaearmat e- -arr t ae erized Vy sdfd 6v:ershootingpreventive ns -ih-th'e---I--Ilot-'fnot6r'PVt, and reduces 1 s speed of 20 (0) being@b'pereuive to delay the time'of 'a-dj@ustoperation, long enoiigh to prevent-the i)reviously 'meiit of the fi6ld-c6ntrollihg ineans @ (d). Id @c air esd@ir,@i% &,, e@si-iooting d @iffi culties. 7. 'fhe inV6r@tibn as 'defjn-d'iii' I'@ @i 'l, char ! ' I I a l l -v@,@h-ii@--'I'ha@e@'d6scribed mv'inveiiibn, and e,xadte,.,iz,,d by's'aid bia,kiiig-66hiroll"@ng I e s (f) er 'o operatio;n, i.n coiiii6ction i c udi g, @iid d6i@the 66ntrol of,@-9, b kits 'mann- f n'l n n ra -t@itb.-,sOV6ial s'i -mplif-!,-,d @ illustr@ti@,7e f o@il'is bf em- 25 -i-@ige'6ntr6ilin@g'lihit-'relay means,'havilig an op--bddiiife-nt@ @@I 'it 'to be iinderstood that 'the e a t,'@-f 1 g 'v@'-' . r@, h i s e r. P- i z d o : 'r; e 1 6 n. rg - esp iisive c t;@ - !6h ace a y @@a loi@Vbr iliaii@-6@7 t-@fe irventioii ivo@ilil iiot belafi'ectp-d @t6 @ 6 d,' 6ns v@llil bmp n zed -by-'the @'additi'o@h'of d6sii@ed E@dditional featutes@ 6r cic-si c,,irreht @in the d@n mic brakirig 7, @h c aracterized- y said o-@er6r by the o ssioii of i@ndes're'd or 6ircuit; @'a,,-c',. furth b ie@attt6s, or by th6 7Substitti@uion.6f 30 mm.at s (g) b--ing'opera ve @'e'q-idiv;ale'nt @or"'a'lte'r'nati-@e forms 6f-various'r-qeAns prod@ice ai,, .nimediate surge @bf @l@iaking@cur'-6i @ i-e- rfbtm renl- suf@ici-ent t-b p-ei@ up said braking-coiitr e ii,6tits for@i)6 @hg the es@el-itial 61elp-entOI"fun6t,@@)ns which'h@ive;b6en d&scribed and @oxling liniit---eela3i - ieai@s. 8. --$'be - 1,@iv er@ti on"'as @'defi ied@iil 'clairi'l ,'@ch a-rE@O a ng-c 0ns im 35 acter,z -by @@did @br ki 6ntr iling m6a' @(f) 1. the ilacludii-ig, and lieiiig iind6i@ the cohtrol:@ o- f @a b' r@Lk6 6'M i 5i i yc-@ t i ii, vi i t a s e r,'- 6 s - i n 6 t 6 r i i oq n s t o " b e ing-conti@olling lirait-@elay in6.aris, 'h@ving -an @op@serlos-motor'7neans incitding a erating-coil which is eh6rgiz6d-to be-r6sponsive -h ' corn,3any a l@o@ver-thdnrYo,';o i@ a f-ri-@i ii 11,Lire'@.nd-a g(@ries-field w-lhding c-on- tO conditons '@@h,@.c. @ac' a nntCtO-d 'ih 'th@@&viith, of: @(@a) a sup@- 40 desir-ld br ' ki gcuirent: iii -the ml ing Od by said-overrotlit 'for "the @iser.,es-mo or rieans; (Li) a r t - eireiiit; and @fu tvi6r chafdb@tle'riz ibr 6@@tEiblishing a pow@r- shobting-p-keveiitive'rheaiis (g) @being oper@tiv@e 't L-htiie iate y'str@,,,rcui -ior the "@efi@,s-m6" r m,,@ians 0 d I '' engthen@the@motbr field of'the -ff,Nin 'the -,@i@ipt)ly-citetiit - braking.;Swlfch -gerids'-rh'ot6re ra&giis. -b ng--' - 45 f6r 6,sf,@-bi-ishin.- a yna-;--o,.craki eir 9. The -inientioii 1 a- s -d6,fified in @claim I ;.iv6ly a:djli@t- d @'o'e'ln'g under 'fhe o " I o@f, a 'd diilg! ov,,ard fiill-- @161d 6" i@olilng@linii'-rel@'y@iiiea'ns, P-g sai, ger,.es t a ,-c nt having-'ah -t@ond'ttibr. -ft@-,id tb,,@lp--rd@o, sh6@t:fteld c6hdii-ion,@re- @ol>er@'Li,-ig-c6il @'wh','ch 'is "en'e"rgizeci -to"-be'r-e-siroo-nich 'accompany a: owereti-v -ely;@ (e) a@ @abori -ratiori@-ec)iitr6llihg r@i-aiis @-@o -sive @ to 66ifdit@ions 'wh' ra ing@curreat i ffiio -fbr'tbii+.:-rolling !'the said i)o*er-@@@witch -tlia--n"desir@d 'b '""k' 'n'the @'dyna ing ,Yfteans 'ati'd @cbnt-"hgeht:Lll@oii such el6stire, ro- @bkgk"@ c-ircuit; -andlf'u'- 'rth'Or,@chara;cter'i'z"6d',,by p b 'dc @- said bV6rsh6oiiii re '-ie - s6,@l- en ive@means (.g) eing-opg' 581vely @ &oT-iti-olli--,ig t@ c@l@@a@ion of I-, t --g@@ties-fti0iiar d,,iring power-circuit @ -o@e@- 'e@dtive'u'u6n',thb'field, cbntr6l,!'-iig -indaiis @(,d) --to 61 Y - 6- ,f,:i ct -dh -dtiilg,-c6rdit'ohs, @aid @o"cceleration-coi-ittolliii@ "65 im' hie@dliftt adi,ii@tiii6iit of t4e@.6tl'os (@dii Li I n @ o field-wiilding;ih - the -dii'6cti6n @f6w'ard@its'7fiilli@i s@l-riel dii,- a f!2@k?,Ily-operAtir-g'niea s f r - n @to@@@6gresfield eoiidit' @,zaid flel---'-Po?-itrolli -; - rneans ion. 4: ilp, 1, i s -10. The' inVerit-6 9 =ad,ust'@a;id. @erie7. j@ield ivlp-dlng Ow'ar'd'-t n@'a's"dei-h(5d; in cla ch'ir t 1 -ifi aiis' ,short field &oiidi ion; (j') ; a bral@:ingcoiitr6ililig acteii@6d by ga@Yd bf.@kihgco'hti6ll@iig e "@'E! iis.'for tfie closiire of said biak@jo inclii:diiig, an - oeing un e e cohiro o a i a d"-"' - d r' t@h -f I 6idkch @av'- '6 @,iii,g--gwitch e a n s. n,-, , contingent @i@on: Su 9 is h 'Ing an' p @oiitrollihg the b@@ikihg-:@d- eratirl-g-,toil @@ihi6h 15ei;e@poiisi Ve 9 - coiiditiohs"Which'ade 6:iiy @a ilistineht 6f ti,@e dynpriir,-bral,@in circuit during to OMP lo-W,-r-thaii@-'dd"d@nb.!Af6-bro[k' g c'bi-id@it@oiis, "sdid braking-c;o'n- -sired btaking@@&ii@rent -i-ii the -d'yna"mic'-bra'ki-n@g @i,@oll,ihg - nleans i-,iclticli-n-g a fitst-operafing m-ep@iis @-@dr, circuit; and further! dharacte@ized- by @@aid',overshootling-preventive @ineaiis (,g) being operative upon the aforesaid braizingconl.,rolling limit@reMP lay means to te orarily reduc,e its.'eurrent @seto w a tilig bel w h t i 't woul d-be with out saidover II. 7@A - iil'ot6 r'66iit r6i@liti g a s s e m b 7 i y , , i n 6 i u d - i n ' g the'conibiiii aiidn,",,vith' a'' s e r i e s - m o t o r , m e a n s t o @'l l d -- "d 't-' be ''dontro e , sai series-mo or r.-6@iis 'ihel4dr m - @ t ' @ a n d a e r i e s - L i e "ilig 7a a ure ' ; ' 'r@@g @ @' @ @'@: @6 f td) ""d iibt h" ' ing-controllitig me'a)os, -.and. j@esp6nsiiie@ also to a @'jo ih6otirig-i@i-e -v'e-n- tive'--m-j@- -an- s. (d) @a v@iri@ble acterized by @aid brakii &s 'iiiel@ldibg ;an for causing sb,@@d f@eld-cbhtrolling riiearis to :adiii@t,,iaid sotie,s'fibl@dvr,"ildin,-'t(jward '@ts fiill@f!611-1 iti6n; -A@i@d '(a) g pleii '6oi@d an b,@brshbotin - entive nieahs,@ r6spoiis" ve to an applidati6i,i Of 'Said bt@,!-,- cohdition of said field-6ontio-Iling 'ni6aris,'for effe,-ting a d--Iay7in the r6@torition '.0 - f - @@ill-hold @ot)erat@i-,ig co@bdi-tiohs diiring the @inic- r kill @ p '-tig,17@e-r-icid '6f the dyndnii b d g o '@2.,Th-'e'iiivoiiti6n@@'as7'@d6fi'n@d''1'n---cl-ai'm@- ,l,.@@"ch@At--,'1-5 ng rno-ans c n,,ro

21 PIY-eircuit for the series-motor means; (b) a power-switch means, for establishing a powercircuit for energizing the series-motor means from the supply-circuit; (e) a brakingswitch means, for establish-ing a dynamic-braking circuit for @@he series-motor means; (d) a brakingcontrollinl-, limit-relay means, having anoperating-coil i@ihich is energized to be responsive to conditions which accompany a lower-than-desired braking-current in the dynamic-braking circuit; (e) a variable field-controlling means, for pro.aressively adjusting said series field winding toward a full-field condition and toward a short-field condition, respectively; (f) an acceleration-cotitrolling means, for controlling the closure oi. said power-switch means, and, contingent upo-- such closure, progress4ively controlli.ng the accel@ei-ation of said series-motor means durin.u power-circuit operating-conditions, said acceleratioy-i-controlli-ng means ineluding a finally-ope@-atin,v means for causing said field-coiitrolling mea-iis to progressively adjust said series field wiiidin.a toward its short-field condition; (g) a braking-controlling means, for controlling the closure of sa-,'-d broki-ng-sditch means, and oper*,tive progressively, only whenever a low-curreiit condition eyists in said limit-relay means, to orogressively control the braking-adjustment of @he dynamic-brak4ing circuit di-iring dynarnicbraking cond-',-tions, said brakingcontrolling means including a first-operating rqeans for causing said field-controlling means to adjust said series field winding toward its full-field condition; (7i) a dynamicbraking recalibratingmeans, responsive only in a closedcondl:tion of said. br,,iking-switch means and also responsive to the degree of brake-application of said braking-controlling means, for iiicreasing the currelat-settiiig of the liynit-relay means, as the degree of brakea,,opl,' Cation is increased; and (i) an overshooti ng-prevel@itive means, for lim,'@tino-- the rate of response of the dynamic-braking recalibrating-means to a heavy-brake application of said braking-controlling means. 12. The inventi-On as defined in claini 11, characterized by said brakingcontrolling rneans (g) also -iiicluding a retrogressively operative means, oP,-,rative only whenever a high-current condit4lon ex-'.s@ts in said limit-relay means (d), for causing tlae feld-controlling means (e) to acijust sa'-,d series field winding toward its shoii-field condition. 13. T-he invention as defined in claiin 11, characterized by said brakingcontrolling means (g) being a -oart of an air-brake equipment and illeluding a brakevalve which provides a supply of air at a variable pressure dependent upon the degree of brake-application; said recalibratingmea,-qs (h) including a dynamic-brake actuator and a variable-pressure air-pipe connection between said brake-valve and said actuator; and said overshooting-preventing means (i) includIng a choke-valve in said variable-pressure airpipe conr-ection. 14. A railway-motor control-assembly, including the combination; with two series-motor traction-means, each series-motor traction-means including a motorarmature or armatures, and a series field winding or windings connected in series therewith; of: (a) a supply-circuit for the two series-motor traction-means; (b) a powerswi'uch means, for establishing a power-circuit for energizing the two seriesmotor tractionmeans from the supply-circuit; (c) a brakingswitch means, for establishing two dynamic2)669,879 22 braking circuits wherein the armature or armatures of each of said series-motor traction-means are loaded by the field winding or windings of the other one of said series-motor tractionmeans, respectively, said two dynamic-braking circuits having a common dynamic-braking circuit-portion which is not a part of a power-circuit; (d) a liinitrelay means having an operating-coil circuit which is energized to be respon10 sive to current flowing in a power-circuit for a series-motor traction-means; (e) a dynani@lebraking recalibrating-means, responsive only to dynamic-braking conditions, for changing the current-setting of said limit-relay means; (f) a 15 variable.,Iield-controlling means, for progressively adjusting said series field windings toward a fullfield condition and toward a short-field conditioh, respectively; (g) an acceleration-controlling means, for controlling the closure of said 20 power-switch means, said acceleration-controlling means having a first-operating means, operative orily whenever a low-current condition exists in said limit-relay means, for progressively coiitrolling the acceleration of said series-motor 25 traction-means during power-,circuit operatingconditions, said accelerationcontrolling means further having a finally-operating means for causing said fieldcontrolling means to progressively adjust said series field windings toward 30 their short-field conditions; (h) a braking-controlling means, for controlling the closure of said braking-switch means, and operative progressi-vely, only whenever a low-current condition exists in said limit-relay means, to progressively 35 coritrol the braking-adjustment of the dynamicbraking circuits during dynamicbraking conditions, said braking-controlling means including a first-operating means for causing said fieldcontrolling means to adjust said series field wind40 ings toward their full-field conditions; and (i) an overshooting-preventive means, operative only whenever said field-controlling means is in a shortened-field condition, for modifying the action of said dynamic-braking recalibrating45 means in such a direction as to reduce the current-setting of the limit-relay means below what it would be without said overshooting-preventive means. 15. The invention as defined iii claim 14, char50 acterized by said braking-controlling means (h) also including a retrogressively operating means, operative only whenever a high-current condition exists in said limit-relay means (d), for causing the field-controlling means (f) to adjust 55 said series field windings toward their shortfield conditions. 16. The invention as defined in claim 14, characterized by said recalibrating-means (e) comprising an operating-coil circuit of said limit60 relay means (d), which is energized to be responsive to current flowing in said common dynamicbraking circuit-portion, and said recalibratingmeans (e) also comprising an operating-coil circuit of said limit-relay means (d), which is energized independently of the braking current but 65 only whenever the braking-switch meam is closed. 17. The invention as defined in claim 16, characterized by said overshooting-preventive means 70 (i) being operative upon said operating-coil circuit which is energized to be responsive to current-flowing in said common dynamic braking circuit-portion. 18. The invention as defined in claim 16, char75 acterized by said overshooting-preventive meam

b 6 r -6p (i) elfig@, i - @-fin' y ' @Lrqtirig for, -ebu'si'-n'g id '-ff&idOontrolling "means -to @--progr68@iVely, @dd,@u@t -- sdfd - 6 n -i@ng, curr6iit. @lleriOsfieldwindiilgstoWard:'tl-ieir@shoirt-:fi,@ilde - @d or i n'i, -e- s 6&fi-n6&-irf,@tlaifti 14; chat- itio@is; (g) : a brbkirig-cbntrolling --@eans, "f ing--- ,.,q6te-ri2ad-by"8aid-f6i3a@libf-at@.ikei@ris@(e)--beiiig 5 contrdllilig the 'elbsure'of :' soid 1 br@Cr,ing 8ti -h @an iliqty@opor,a,ti@n 'Of- aid' - ni, IV only -,@&,h aiix' g@ooil,'eireUit - @,t, Iiiliit- ea@ns, and'opLr.@tive pr6gte8s' ely,@@ en-reIgY Means ever-la low@-current, c6ndition,.exists in @aid -lim4@t--euit includiiig---a @br-akin.&;.dbrittolhiigr-ho6stst;gfid @-i,elay@rneans,@to progressively'contrbl the@.brdkwhi-c'h@-'Is'cl6sed@oi-ily@-diir-,_ ifig@- adjustineiit of-tlie dynamic-b ral,-irig'cirGuits @a p .-ing -.'dy,-iamic-;,brak-ing@o-ti6,tio-n. -- .20.@Theinverition-@as-,d&fitied-in,-'cl;@Cikn.' I@9,,"C-hgracterized',by ..sgid-. oVOr8h-66tifig-preventive"%me-ans z) being,op'eratiVe.@iLip6i@,i3a;idbtqliirig@-@coiiti.!olliiig rheostat-;to'pkoVide @a'b'-y-pa@ssing, elk4@u-it'@.th4@tearoiiiid. @@l. A-tailWay-@n!Otbr.cl6iltt6l .;,g8s'6m-bry,-,ii-iclud@tlie @ confaiiia-ti6n; -@-N-iyith @'@'wo mo or ,-itact!6n-Meo,iis, @"'eaeh @@kieg@@iftbto-r 'tracti6nmoaiis inoltid'mg @a@,-motor--, gk-ifi5@ttitei -,arid-'@v@sOri6s --fi eld.,Vrinding - in'. series there* -8- U-1iolyL@oirdilit@f br 'the two @8i@ries-@@Oto- r (b) '@a %power-switchmeel@ns"@f6r:@6@ttLbli,,,,hing'a--@PbW6re 08-@inbtoi@--ttAcoite- @uit for@ eiiekgi'zing, ili&@ ti@b@-8 ri --tibn-@iiiea;ns @ing-switch me@Lfis, @f6i@,-68tkbh@ hi7n-g@'tVi-odYri6,fflic@@brakiiig@cirduit@,,Wh6reift@t,lie drridO:ttLi!e, or@--a;.rma-- (@a-ch-6f," ::iiko lbaded:Uy-'the@.t'eld--,"-w-,in -d'm-g-or@-lviindiilgs'-bf tra 'the 't)th@r @@olie @6f '8.1,id an- 'iig @-m6 s, p IV zsal wo@aynAfni@b@vi7al.,@i 6irduits hE@v-liig, a- c6rfifno:tl--.-dy.-*iAmic--bi-aking @ eir'dui p 't-; - dktibi@i-"Whibh@ is rfot-@a@@ -P @a' 'rt-'Ol@ -0" @.-p@ ow-er-e, r4OUit; (d) -a -means - @-h'al@ril-ig -On @ op6r'I(r@dilring.--dynamic-brilking ebnditions, 8a;,d btaking;-Oontrolling rlieans:includihg a first-oDerati'Ag 0 ineans f6r eausing said ' field con@6@ @ !ling @rleqiis"toa@djust said::8eriesfield@Win@dings toward their full@field , cond-Ltions; (h) dyi-ia,.Ilic-,braking recalibrating-means, rOsp6nsive @ only- in - a'-GI686d condition of said b-raking-s,@iitch. and 6@lso- responsive to, the @degree of @ brake-ftppl ida-tion@of'said btaking.@coiitrolliiig@:meafis, @or-'increasing the current-settingf:of the limit-relqy 20 means, as tha;,degree of br@ike-tipplication @is-;i-ncrea8dd; and (i) an overg.'L@ooting@-pi,6-vi@fttiVe means, for liraiting! the rate of respdnse'@bf @-tb-e dyn,@tmic-braking :.recalibratirig-m-@-,ans to a heavy.@brake appli-cat; -bt on o.f said -aking-edn trolling means. 22. The invention -as defined -in @clalin @21, charac@tlerized by said braking-controlli.ng@rD-egiis '@(g) 'also including@a retrogressively Opi3ative means, operative only i whonover- a: high-currefit @'30 -'c6riditioii exists in said liinit-j:elgy @-w-ebfis! (d), for causi-ng the field -contpolling iaeans@ (eY-to,dd4u@t said series field v,,indiiigs toivard:,their.:sh6ttfield ognditions. 23. The irvention @ as --d--fined in @ claitn @ 21, - oil eircui 'i2ed-'tolie@:ie- @35'ehariii@ter@zed-by said braking-eoii-trolling ini3ans --a:tiilg d bh !--is t IP sponsive- '-pijw t (0) @ being a p,%rt of an airbrake equ' inent Atid incl@udipg a brake@-v@lve which pkovidos a@ -supply field-c6Atrdllifig.-'ftle@.Lhs,'--fo- r'pro@'g-r@ -e's-s'iv"dY,@@djtlst- of air -@Lt a variable pressure dopendep--t; upbii, the fli.1 9 t OW4.-d' in' .@@id -fi6ld',W-i-ndifigs d--gi,ee of brake-application; said-,recalibrating'40 means (h) i-neluding @ dyiiamic-brak-eactiibtor '@and a variable.-pressure air-pipe conn,.ctionbeng e,- @for,@ ei)tti7bl1i th t ween said brake-valve and @ said. actuettor;' and M-e@anS@haVmeans, aid 9 said ovetshooting@prevent'@ng raeans @(i) - l@ncludihg@-d--lUst@-6@eriti e-an'si'6ij6rafi'V(@-orily uth7c-n- ing a. chokevalve in said 'Variable-@ptes8ure:-@@a-.irist, @ st@ conneetion@ eVbr"la@,46W'-Ciikr6fit'--'do,iiditidn'-@ex- s-@in Id--,Iililit@rel@iY"me,@insi@, o gressitel GEORCTD, R. PURIFOY. during power-circuit operating-conditioyis,@,'@.@Cicl No references cited. mg-;means. 'iiithbr-,--!iAviiig a f

Описание

[1]

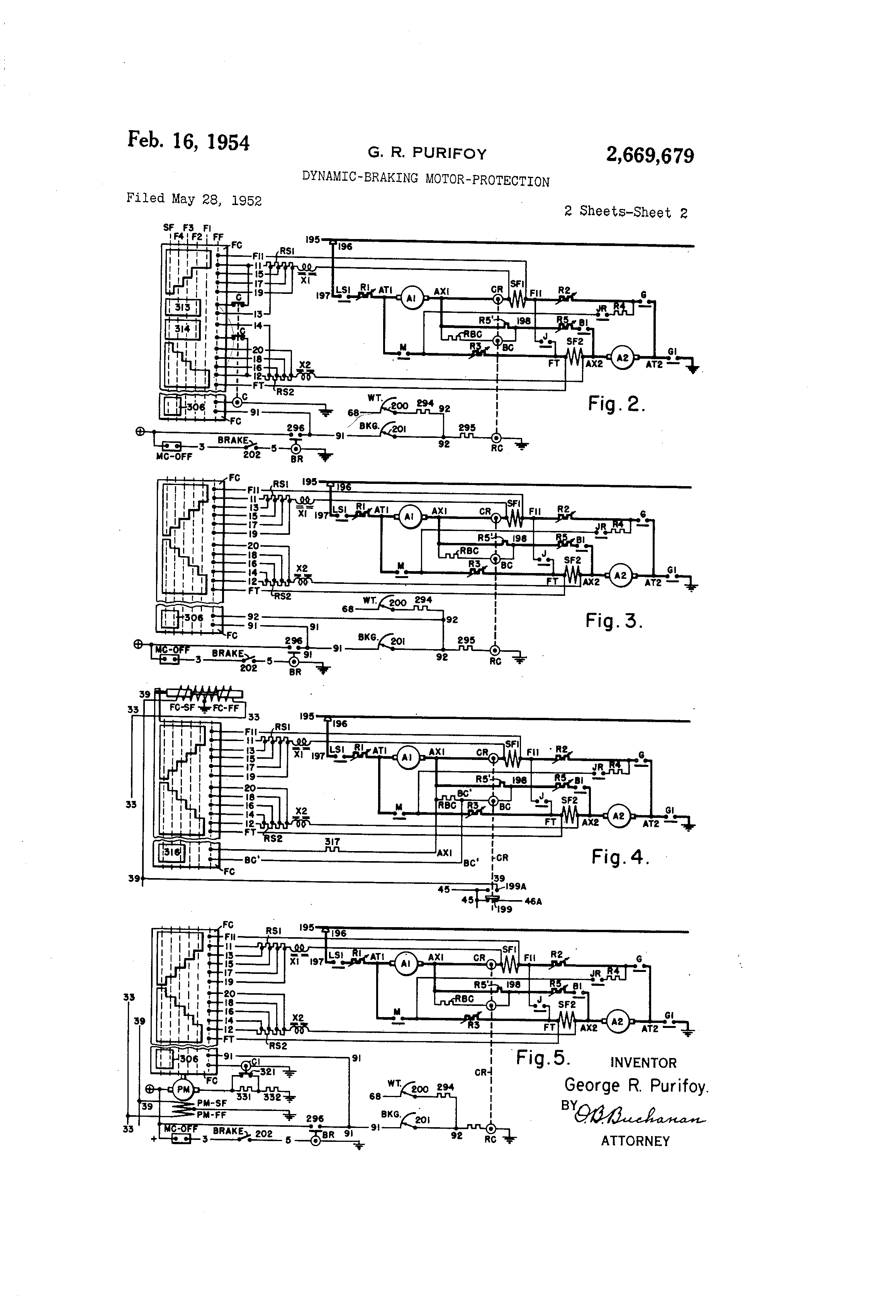
Patented Feb. 16, 1954 2 @ 6 6 9 , 6 7 9 UNITED STATES PATENT OFFICE 2,669,679 DYNAil-IIC-BRAKINTG MOTOR-PROTECTION George R. Purifoy, Pittsbtirgh, Pa., assignor to Westinghouse Electric Corporation, East Pittsburgh, Pa., a corporation of Pennsylvania AppHeation November 28, 1952, Serial No. 323,046 23 Claims. (Cl. 318-56) 2 My invention relates to direct-current electrically propelled railway-vehicles, and it has particular relation to electrical control-systems therefor, in which provi@.ion is made for d,,,namic braking. The principal L)Ijject of -my invention is 5 to providae a ii-ev.@ r,,ieans or i,,istrumen'tality for reducing the high buildup-rate and overshooting of the motor-current and the motor-volta@e when the dynamic-brakin.@ circuits are est@blished while the motors are being operated at high 1( speeds. Excessive motor-current and excessive motorvoltage result not only in a rough brakeapplicati on, but also in motor-flashing. My invention is an improvement over the controlequipriie nt which is shown in an applicati-On of 1.5 William L. Barclay, Jr. and myself, Oerial No. 295,794, filed June 26, 1952, in wliich other means were provided in order to mitigate overshooting when dynamic braking is applied. I have provided a novel means, responsive to 20 the establishment of dynamic braking during a shortfield condition of the traction motor, for reducing overshooting during the initial second of the dynamic-braking operation. I am showing several forms of embodiment of my invention, 2.5 all of them having the general effect of preventing a too-rapid restoration of full-fleld operatingconditions in the traction motors, during the initial period of the dynamic-braking operation. In what is perhaps the least expensive, and " 0 therefor e preferred, form of embodim-ent of my invention , a choke-valve is interposed in the connection between the pneumatically operated dynamic -brake actuator and the so-called "straight "-air pipe of the air-brake system, so 35 that., when the brake-handle of the brake-valve is moved to any adjusted braking-position, the resulting air - pressure adiustment in the straightair pipe will not be communicated too rapidly to the dynamic-brake actuator, so that 40 the dynamic-brake actuator will not instantly adjust itself to its ful-l-brake position, even though a fullbrake application is called for, by the brake valve, while the train is running fast with a shunted condition of the field-windings of the 45 traction motors. As is common in railway control systems to which my present invention is applicabl e, the brake-actuator controls a braking rheostat which is included in series with the ratecoil of the overcurrent limit-relay when dynamic- 50 braking conditions are established, so that, according to the amount of braking which is called for by the brake-valve, more and more resistance wiR be inserted by this rheostat, thereby decreasing the energization of the rate-coil, and thus 5:,) increasin g the current-setting of the limit relay. In accordance with -Tny present invention, this curreiitsetting of the limit-relay is momentarily held at is minimum value, when a full-brake application is called for during a short-field op- f'@, erating-condition, and this causes the limit relay to open its back-contact and thus prevent a rapid or uninterrupted adjustment of 'the field-controlling means from itqshort-fleld condition to its full-field condition. In this way, I prevent the too-rapid building-up, and overshooting, of the dynamic-braking current of the traction motors. In qn alternati.ve foi-m of embodiment of my invention, an auxiliary contactor is energized whenever the dynamic-braking circuits are estabI lislied during a short-f,-eld operating-condition, rc).nd th-Ls contactor is used to immediately reinsert sonie of the previously cutout resistance of the field-shunting circuit, thus quickly strengthening the @-i-otor-Lields, thereby producing an immediate surge of brakinp,,-cLirrent sufficient to pick up the li@rit ielay and thus interrupt the movement or adjustinent of the fieldcontrolling means from its short-,.-ield condition to its full-field condition. is enough to prevent the immediate fullscale adjustment of the field-shunting circuit. Hen,-e, the field-shunting circuit is not completely out dui,ing the first second, more or less, of the dynamic-brakin.- operation, even though a fullbrake application is called for, while the train is run--ing fast with a short-field condition of its riiotors. A second alternative form of embodiment of my invention uses a short-field condition of the fieldcontrolling apparatus to by-pass the previously mentioned braking rheostat which is in series with the rate-coil of the limit-relay, so that, even though this bra-kingrheostat should be too quickly adjusted to its maxi niilm-resistance condition, as a result of higli air-pressure in the dynamic-brake actuator, the res-istance cannot be inserted in the rate-coil circuit because of the presence of the shunting or by-passing circuit which I thus provide. A third alternative form of embodiment of my invention utilizes a short-field condition of the field-controlling apparatus to by-pass a resistance which is in series with the common,@y employed brake-coil of the limit relay, thus increasing the energization of this brake-coil, vthich results in reducing the current-setting of the limit relay, with the results which I have already described. Since this bra-ke-coil, as it has been known, for some time, is energized across a resistance which is included in the dynamic-braking circuit, this shunting or by-passing of the resistance, which is included i-n the brake-coil circuit in response to a short-fleld condition of t.@iefield-controller, becomes effective, in controlling the rerating of the I.imit relay, only when the dynamic-braking motorcircuit is established. A fourth altemative form of embodiment of niy invention uses the previously described auxiliary contactor, or one like it, to delay the ad-

[2]

2,669,679 ii,istment o:, move,-,ient of the field-con@urolliii@g means fro-rii its short-.L-aeld ;ond@itio@,i toward itE; full-fleld condition, as by reducirig ihe speed of the f@eld-controller motive-means, or by sl-',,hlly delaying the actuation of the means which L, moves the field-controller in the direction tov7ard its full-field pos-Ltion or otherwise delay- 1 ing this movement. With the foregoing and ouher objects in view, my invention consists in the eirclits, systems, 16 apparatus, combinations, parts, and r@iethods of design and operation, hereinafter deser".bed and illustrated in the ac,,@o@mpanying drawiiig, wherein Figure 1 is a simplified circuit-diagrani of the 1.5 Spaits of one car, Nvhich are necessary to illa trate niy present -Lnvent-lon, omitting iiiany parts which are known to be needed in a s-accessfiil iailway-control equipment of the -type to v,7hich MY invention is applied, biit which 9;re -.iot iiec6ssary to be diseassed in settina forth the iiature and op&rat;on of -r@ay present iir@@rbVe.,nent, and Figs. 2 to 5 are simplified diagrammatic vi6ws @6f pa@ts of the eq-aipireia@t, which is shown in Fig. -1, illuslrating the previously described four alter- '25 native forriis of enibbdiment of niy invention, respectively. Fig. I represeiits some of the equip-,iient which is carried by a si_ngle electricaily propelled zailwa@-car embodying rhy inv@-nti.oii. Direct-cur- 30 rei-it poiXTer is gupi3lied to the car from a third @ail 195, or a irolley,xvire, which is engaged by a third-rail shoe 100, or a trolley pole, panto@g@a;ph, or -other current-collecting eauii3rlent, ciarried by the car. 'Ihe third-rail shoe I 96 eiier- 35 ,glz'es a line 10',' thich constitutes a supply-eircuit f or the car. The tractioii-rqbtc)rs for the car are seri-es moto@s, which are ind4@eated, by way of shgwing a ,'ii@iple exan-iple in Fig. 1, as comprising 'Lwo mo- jo tbr-armatures Al and A2, each being associated with its 6wn series field winding SFI E@nd SF2, respectively, the ordinary reversing-sw-itches befn'g oiiitt.ed for the sake of s,mplicity. Two seri , e@-motor means, or circuits, are shown. The 45 first series@-motor r-qeans cor@iprises, iii ser;.es, an armatul-ie-terminal AT , a motor-arr@,iature or @,ri-natutes Al, an iiit-.rr-ilediate connection-point AXI, a series feld winding or w4@ndings SFI, for supply,ing the field-excitation for qaid ariiiature -50 or 'armatures, and a fi-eld-terminal Fit. The corresponding parts for the second series-r@iotor ,means are indicated at AT2, A2, AX2, SF2, and FT. A series-parallel motor-control arrange--aioht 5 is sho,,in in the dr@twing, in vjhich a line-s@vitch or relay L,91 and a ground-switch GI are used as power-switch means for establishing n@ powercircuit for energizing 'the riotors, by connecting the first arrr-p-ture-terpiinal -,kTI to the sup- Go ply-circuit 197, alid connecting the s-.cond armature-terminal AT2 to ground. F-or toinpleting the series-circuit connections, a switch Jl-.? is closed in -addition to the power-switches LSI and GI. For parallel-motor oper,-ltio-7i, two 6- smiitches M and G are closed in addition to the .3 power-switches LSI and GI. The paraillel-riotor switch 1,1 prbvides a circuit-connectioli between the armatiire-te'rr@linal ATI of one series,motor rdeans and the field@-ter---i-nal i,@.t o@' the 70 other series-motor means; whi.le the -.ther paial!el-inotor switch G pro-vides a circuit-connection between the other arinature-teril@iiial AT2 ard the other field-terminal Ff 1. During -an iiitei,- mediate transiti-on-period, a @switch J @is closed. 7,3 4 These motor-controlling connections are all in accordance with a -well-known awitching-system. Dynami6-braking cikeuit@ a@e establi6hed by opening the tvio power-snvitches L-9 I and G i and clos4@rig a braking-switch Bi in addition to the t'wo parallel-coiinection switches 1\/@ and G, also in aecordance witl-i a wel@l-knonvn system or arrangement. The braking-switch Bi provides a co@nn-ion dynarnic-brakir-,- c4rcLiitconnection 198 be'zwe6.h the ko@@ective intermediate connectionpoints AXI and AX2 of the two series-motor nieans, thus providing two dynamic-braking circu"Lts wherein the motor-armature or arrnatures (if each 6f said series-motor nieans are loaded by the field winding or windings o'@@ the other one of said series-in6l.-of Ilea;ns, 'respecti@l,&iy-. A suitabie nunbe@ of s,-@ries@.cop-,iected @'aocelerating resistan6es @Lr@e used, @ts ind!cE@t'ed @,t j?.I, A2, R3 and R-4. T-h-- resistancia %I @i@ d-i@@ etnve pgs-d o en the su@pl@-line i 9 7 and til@e @fltgt a rmature-teiii-ii-@ial AT 1, ahd i.s - sho@rted 'diit, by nieans of a secoiid l.-@ie-sv,7itch LS2. Vcie a I nce R2 is in serie@ @Vith the L-irst f,.eld-@terynii@@l PI II aiid is @rogresslvc- I ly shol-ted out@by i@ieahs of switch-contacts Si, SS a,@id ISO. Th-e re'sl:st@ I arice R3 is i-n sekies @7ith the secbnd Lleld-t&t-iiii@. nol PT, aiid is pro@ress@ively sho@ted @out @by is@vitch@-coiitgets S2, S4 qnd SID. The r-@i@@ta i-v4 i-S @in the series'-Motor 6ohnec@tibn which "is made b'y th6 s@,iitch J@l, and thi@ reE@f@tan6@@ @,l@ idnally @hort&d 6,dt by the trbn@ition-Sv@it6h j, for obtaih,'.ng the full-s6i!es powerdirduit cdii@I :,lecti6n oi. the riotofs. During parallel mdtor @blie@e,,ion, @thi@ Cbntacts Sa, S4 'and SO, @S-1 0 ar@ i@udd6s@i:v,@@ly -or progressively closed, di&iiig the acbe!6kP@tidn 6@ the rnotor, @,iid a:ftbr all 6f the accel6ta@tii--lg@ rbsistances R2 @nd P.Z hav6 been @6tit di-i , t, th6 Lield @trengths of the @motok@ are reduced, to pro@ide 'shorlb--,qeld @oi3erb@,tin g@'co'nditions. In @Lccbrd@iide -with@d ugub@l arr6ngeiii@int, tl-i6 nioto@-rields ar6 @edti,-ed @by 6q-uiplji-@ig 6@;ch df the @serie8 L-ieId windi-.1gs Spi biid SF2 @*fth @@a fl6ldshiiii@t, c6mp@isino; an iiiductive reaotor 'Yi or 'X2, iis the ca@e riay be, I and: tL V'arie@ble:resistbr R-S'l @ot RSZ, @te@@ectively. The field@shuht@ ' XI@RSI :@rid . X2-@.-RS2 are fi-rst @6onnect6d-'iii p@Lr'allel -relbtion tb their egp--ctiv& - 'fi@-ld.@,vviiidiiigs SF@ 'arid SFZ, @by 'in6alis oO co-ntact-terminal,@ and 112, tespeetifely, of a -pro,-5ressivel'y or sequeiitially operotin@a @field@controlliri. @means, ,i@,hich:'is hoi@oin illiistrated@-as:@an-e lectrioally-op-erated drum-@type field-controller FC. After the respective field-;ghu,.its,,haVe been connect;ea. into oper.q'.Lon, the fi@-ld-shutit @regigtarices Rai -,aiid RS2 are then -piagressively - shorted out, @ @by@ suc-cossive conlroller-Pi)ints 12 il.@ 'II and '1,0, for RSI, and i4 l@g, tO and ig iok -RS2, as -thL, field-controll@r FG @i-S indved f;tom it:,@ initial @full@. field position -,FF, through its interi-nediatebositions"Pi, F2, F3 and P4 tb its s@iort--field@-pbsi@ ti6n -SP, @at which poin@u the, f!eid@windiiig i3urrents , gre teduded to 1 about. fifty @: per - c6n-t . @of thei-r,un@liunted values. During dynaniie braking, the @two @motors@-.,are co iinected,by,the @com-mon dynamic-braking@circuit-connection 198,, ,which-contaL4s-the:brak-ingswitch Bi and i), braking,-resistance--P.S. Thisl@r@esistance,R5 is used, in addition to' the - previously menti(ined acideleratiiig-resistances ?@2 ;@,nd. -.,R$, iti 'establishing the coinpletbi ;dynamic-braking c,.rcuit. The braking-resistani@e R5 is @ progressively'sh6rti2d out.by meeins of -brtking--Switohes B2, BS @and- BB, duriiig'dynamia-:braking -oper-T@

[3]

5 tions, after which the acceleration resistances R2 and R3, or portions thereof, are progressively shorted out, as by the switch-contacts S3, S4, and S9, SIC. (The switch contacts Si and S2 are permanently closed during the dynamic-braking operations, in the illustrated system.) The progressive operation of the various resistance-shorting switches, during both motoring operation and dynain,@c bral,,ing, is under the automatic control of a suitable limit-relay or relays, which are energized to be responsive to conditions which accompany excessive torque in the motors. Such a limit-relay is illustrated in the form of a current-relay CR, having an actuating-coil CR which is connected in series-circuit relation between the terminal AY. I and the series fleld winding SF 1. This currentrelay CR also has a back-contact 199 (also marked CR), which is normally closed, that i-S, which is closed in the non-actuated or low-current position of the relay. The current-relay CR is also provided with certaiii recalibrating-means. In accordance with previous practice, this relay is provided with a cumulatively operating rate-coil RC, which is energized through a weight-responsive rheostat 200, during accelerating operations, and which is energized through a braking-responsive rheostat 201 during dynamic-braking conditions. The weight-responsive rheostat 200 is automatically adjusted according to the variable weight or live load carried by the car,-so that the rate-coil RC is the most strongly excited during light-load conditibns, thus reducing the inininiuin-currerit setting at which the limit-relay CR picks up and opens its backcontact 199. The braking-responsive rheostat 201 is autoraatically chaiiged in response to the position of a brake-valve BV, which will be subsequently described, so that the rate-coil RC has its maximum excitation when a low braking-rate is called for thus providing a low minimum-current settin@ at which the limit-relay CR picks up and opens its back contact 199, and also providing limit-relay calibration which is different for braking and poweroperating conditions. The brake-valve BV carries a contact 202 which will be subsequently referred to. All of the electrically controlled relays and switches which are shown in the drawing are diagrammatically indicated as having vertical switch-stems (indicated by dotted lines), which are biased by gravity toward their lowermost positions, and all of these switches and relays are shown in their deenergized or non-actuated Positions. All of the relays and switches are electrically controlled, and they are illustrated as being electrically or magnetically operated, by means of an appropriately numbered or lettered coil or solenoid, represented by a circle, acting inagnetically to lift an armature which is represented diagrammatically by a small circle Inside of the coil-circle. In general, the same switchdesignation is applied to any particular switch, its toil, and its contacts, by way of identifleation of t,he parts beloilging to a given switch or relay. The various electrical control-circuits for a train are under the cbntrol of a nurnber of trainline Wires, whielh ext,end from car to car, throughout the entire length of the train (not shown). In the sirnplified circuit-diagram of the drawing, eight of these train-line wires are used, being g.iven their usual designations, namely 3, 41 5, 61 7, i 2' and GS. Eiiergy for the various relay-circuits or 6 switch-circuits is provided by means of a battery B on each car. Th,e negative terminal (-) of each battery is permanently grounded, while the positive terminal of each battery is connected, through a switch 203, to the positive train-line wire (+). Each end of each car is provided with a motorman's master controller MC, only one of which is indicated in the drawing. The illustrated master lo controller MC is indicated as being an accelerating-controller having an off-position and three on-positions 1, 2 and 3. In each of the three onpositions of the master-controller, MC, the positive contro.1-wire (+) is connected to the train15 line wires 12', GS and 6. The trairi-line wire 12' is the energizing-wire for the operating-coil LS I of the line-switch LS I; while the train-line wire GS is the energizing-wire for the operating-coil GI of the ground-switch GI, as will be subse20 quently described. In the second and third on-positions of the accelerating-drum of the master controller MC, the train-line wire 4 is energized from the posltive bus (+); while in the third on-position of 25 this controller, the train-line wire 7 is energized f roni the positive bus (+) - In the off -positioii of the accelerating druni or master controller MC, a connection is made from the positive control-wire (+) to the train30 line wire 3. In the master controller MC, in ac@ cordance with a kiiown practice, there is an overlap between the off-position contact which ener,&izes this condiictor 3, and the on-position contacts which energize the conductors 12' and GS, 35 so that, during the notching-off of the mastercontroller MC, the contact at 3 is made before the contacts at 12' and GS are broken. This overlappin-. construction is particularly necessary in properly controlling a braking-operation 40 protective-relay BP which will be subsequently described, and which also constitutes the subject matter of a Riley Patent 2,597,183, May 20, 1952. The flrst on-position of the accelerating-con43 troller MC, in Fig. 1, is a switching position, In which the control-wires 12', GS, and 6 are all energized. The control-wire 12' energizes a control-eircuit vjire I 0, throu.-h iiaterlocks which are provided, by the braking-switches B I and B5, in 50 the form of baclz,-contacts 204 and 205, respe-ctively; and the control-circuit wire IC is used to energize the operating-coil LS I of the line-switch LS 1. In accordance v,7ith a usual practice, the ex55 citing-circuit for the line-switch operating-coil LSI also contains a make-contact 206 of a linerelay LR, which is a voltage-responsive relay which drops out upon a voltgge-failure of the sup@ ply-line i97. This line-relay LR is shown as aii 60 undervoltage relay v;hich has an operating-coil LR which is connected between the supply-line 197 and ground, through a back-contact 207 of the line-switch LS2, said back-contact 207 being paralleled by a make-contact' 208 of the line65 relay LR. As set forth in al-i applicat,on of R. E. Burkhart and. myself, Serial No. 269,752, T-iled Pebruary 4, 1952 -the control-wire @4 0 energizes a control-wire 120 il,- rough a back-contac'u 209 of thc- line-relay 70 L.R. This line-relay back-contact 209 thus closes in the event of a power-line voltage-failure, @vhich might,result from either a third-rail -ap or from any other cause; and if the naster-controller MC is, at the time, on any on-position, the conductors -4 5i 2' and IC will be energized, and hence the lipe@

[4]

7 8 kdw.trgtk-66ii,t&dt 20 'witi 'e'n'er'git-e@-the bohtr6l-@. dii,&-ft '41. Thb bikd t 45@ is ieciiiri&&t&d. thr6il@@h W i@ire 12 0, u.@le 'aii AukiliaYY h6l@d.!"ng-,dir- th-o 'bR 1, tr6l@,y,badk-- boiit@a6t t-'b a -dirdiiit tuit'ibr@'the pr6t,@-oti@ve -tdlay -dr btake-:PoW-e'r 4'6-,Al and'@hd - nb-@-, throtig'h ;a BP dtit b 9p" I will tiibseau&ntly desd4!ibe iii Inori) to A 40, @vhibh onstitut@@t the main@limitdkail. 6 ri@lay @th6 t6ntkbl-64tiD-- T.he train-line wire GS energizes the opei,atihi@r- ment. 'rhit limi @re ay progteg@ibn@: citeiiit 48 @is thts -ndt,,biil L'@ii ' -th@e bbiit bi of @th - If iit 6bil@ i@@l -bf -thO -9@rbuiid- itch t-1, @ht@@@ lik6r 3@ aer t 6 ]@ -felay ,is ve ex.;. lbeks -,@@6h 'ai-e i@i-bvid@d @by -211, c@-r &uf-teiit@r-eli@-Y C-A whi6h:'- 6spdiigi'- -to 2-@il@ -t@iid @a-re 'ca'rkibd -b-ST--th"e -br-aki--n'- g'@ 66ssfV-6 but it is -al@6 iihdb@k th6 s@,vit-ch,e@3 131 -a@nd BB, a-n(i;by coiiti@bi di tli;Lb@kak@-.mg@operati'bn 13rdt-ectiVi@--iiili@Y gvvitleh 4G, i,Lspod,ti@,LlSr. : T-hb @ bbok-edii-tiiit 11'2 @is BP, vthibh l@e eloged @(With the ])f6t@ctEvia 0 I&lt-d @'bs@ a 'MakbF-t@ontact @'2 -14 oi th6 @g-Tb@ldnd- r&lasr - ii@i -it@ -aettatiad t)ositi6il-), befdi'6 t . h6l@6 @bb;il I. b,4 aiiy brog-tession du-rl'ng -bi't-h6r 'thb motbriiig -Th,e ttb,@-ft-- line -Wire @t i@ connebt@,d, : th-idti,&h @iih o "',- tl' - th peiq - .on@or@ e lirakiiig oio@ratidii. '-This lim'itrL@lay - i@rdg@e'ssi6ir-@di-- rcul 4 @is @coii!AI @iiiaka-,3oii@utLe' -21B, to A i@ela cir &t @:60@114 whith 'i@ i3-oniir--ettd, -thr6ugli -A 01 -r-q,;ikre.;@conthet iib6tbd@, @@&,hibil@-h @in -!,Si i'tt, th 6, ell,&,,iit 62 Wtlich ddn@stituti@s alhold-dik- ii 47, - Which i@ bbi-i-.nebtt!d etift ior @,he. gnitch-@pr-ogrbssibn fbt@,thb abLel6rb:t- thrbugh an L.S2 @ffihke@doritixct 232 to;a tontt-blilig6tt,@istai):ce short--c , irduiti@ng -s*itdheszsi tb si@6 WiiYe -5-0. 'Ehe 66ntrol,-Wire tO 6n6rgiz@j@ -the and J. This hold-circuit 62 is tb '64c-r-9-- fz@ to ooeratfng-coil @;t@2 6f A L4 bcofid iesi@ tcii!@th6irt fh6 di)er@ t'ing 'ebit JR bf the -@eri-es@@dt6t@6ir6uit progression-switch 1-2, which carries the tWo ibek@ bn theb@Vit6hi@t -J em .,witch JR, @hr6iigh iiitei:' li@iain conta@cts Si @ @Llid:S2, thi@ ener,- ;ivation b' '@ g ai-id 01 @ it thb f ot-,n of .'oack-c@'oiittLet@ @2'1 7 @ @kild Zf I8L@,ffteted throlgh a Va@ck-6ontadt 2n of -this.gal-,n6 r&sp(@etA-'.Vel-y. -I hi@ qaid -hoi@d,-ci@rcuit is al@o utb'd st-.itch :1@2. Thus, this energizing-eircult.ftbm t-b diti@bt , ly enert)L7,@ ithe bl6si3-c-o-ii dt Adtiib:ti-hg@ 20@ the.-coiidubtdr @30 ineludes th6,sivitch@:otit inter@ coil 13P-Clb8e of the 1- ock@2,3@3, a,'Co-nductor.,51,.and,the aoil;i@2. '-P,,Iig fiv@@r@elb;y BP. second @i-@rogressibn-switch 1,@-2 pick-.@ tup@ Ai',ld The -'re8ii1t of thL, 1-hast-cot'tl-61 i@ii@6tgii@itioii -M c-los-,s -A hGldin.-@eircuit::make@cbntact @',2 3-4, 'which tT,O@ @ .6f N<)-. I @6n@potitloh --ihe ffast6rcF6iitr,61!6r energizes@the.eircuit-54 frbm.the,hold@eireiiit-'ul. gd,-is-th'tLs blv,6t- @o Thi@ @ actiiation bi .,the - ,secoiid -t6sistah;ce-@',@h(irt-@ eirbu@it -contbdt@ of the -tradt-ibf@-@ti6thr s@7,7itch@@ ir-,& switch .1@2 4!8o closi@s a m@,ke@wcontact. 235-, _.-q,nd Jl:t, energizes a circuit; I.-3 fto-,P- the -pro@ares.- Ion iftbtor-bir&uit for causl@ig -b, @sldixi ;@i-on-circuit -47, thr(iagh.@a 'ap;Ck@e6ntAct 236 bf a riiett df tho tj?ain, f'o-i!.,.z@-.6alled third r7c-sistq@nc@e@shorting.Lsw-itGh.3@4, whioh @is 0686s, 147ith al-I df +@he 14@3c@ @li@ratitig-:fogis-Laiity@4@ fn th-e - r,@Fitr;h which @ear-ries '@the @main s@vitchihg@ sbr . it@8, v@it . h -T- his'eirciiit- cali b@e@ tiabed c6ntact8 :SS and S4. Thie energizing.-cii-cuit. for this V-;itch extends from the conductor troni the @3413ply@eircLfit tilroup-f-, th6 LS'l ebnt8Lct, the re@sistor'Ri, the i3 i@t, tlii@ through the operatingcoil,.S@4, and a back@coii@ .r biirr@--ilt,-relay 'c6il CR, - the,'@&fle@ field SP@t, @ tlle ta-@t 2-3,7 of a @forth resista@nce-shorting, switch te@si@@taiir,,- 'A2, th,@-, re@!8t@iheO 'R4, -th . - p @e b iftaiii j; @ 40 0.@1: 0,,thence thro-ag-h a ontrol-ei-rctiit condue,@.',or tont'lact, the -rO@i8tbnciB RS, tho @8eri'b@ fli@'@'d :SF2, ljB9, and a J@sivitch batkcontact 2-3-8. to @the fh@a m- otoi- Armature A2 ',qhd@ @h6 main GI c-ont@,ot, grotinded negative battery-terminal (--). The to ground. actuation of @ the third - -resistanceshorting, -s@,vitch At fhe -saihe t@@e,@thb-ehergi.@,iitiofLi (yf:the@bkqk- 3-- 4 closes. a @make-contact -239, Nvhich establish ep ihg-bp otiitiop. Dtbtoctiv-e-rialay BP th a holding-ci-rcuit,@for the@conductor,53 from the e WaY 45 for th(@ sub@equ6nt eilerp.,,itb@tioh of - the hold -*ire -67. -Theactuation of the third. progression-swite@h btaking citcuits of the mot6r@, a-nd 'also @fai.,the Autciin 3-4 also closes a make-coitact 24i, whi(,h cor-i@ - gltic -progrOs@;ibn-contkbl, uiid(@ithe@control - @jDf ti-io iiiiiit-relay ot dtitrent-telbL.-k CR, both foi. pletes a --eircu-it f-rom- the;progr ssion@wii@e 47 to t a th'e iiiatoriiig @)@togr&8sibn d,,i-i7irig a-nd 50 a cgnductor 59,. which energlzes -the ae u ting il @-- @ -, - " - - - - for the -c7tyriamic-l@t:iking progressioll diiring ah co ig@f of the -fourth resi st',ance,-sho@-tin@, 4p@lic@ition of -the bra:',ce@-VaIv6 BVi- iis Wi@ll. bLi,giib-- switch 9-10, which car-r-ies the n,.ain switchcontacts S9 a sequently dp-scribed. xi e StD,-th -negative ter-ininal,of '-@ioltd-cirouit@62, @vihi,@h i8 6nokgizt-d in the aid:coil 9-1@O@b ,,Ong connected to.the previousli desptibed @vire 100. The@--t--tua on tli@ X6; 1 on@,,@o5itiotic@f th@ mastet-cohttoll6f-, i8@.il-so 66 61 @- ti of is@ f-ourtl-l s@i,@itdh @-- lb diso o es a makecoritact @@4@2 edtffiected, through i@n LS I make-@6iitact 22 2@,@ tb 61@ ei ufor th.- coniiriiich establishes a,h ding- 're it a@hold-6ircuit S7, which is -used in the silb,@equent 1 s ductor 59 -from- the hold-wire t7@ ,)rbgll,,.s idn-bontrol. Ti f e es'stanceihbr - @The ilb. 2 positibia of the accel ie @ctu ' btioii o @.Ilifourth r ,w,i ch a-IC also closes a rqakecon',Ia@t @43, !L-t@BAC is th6 fir-@t of tw(i tunniilg positidiis'2 an7d 66 14 @ I g 4 -s @vhich i8 connecti@d betweefl the ,bro.aressioii7w@re ,3. It iiiitibtes the bcdelerating Orbgr'essi6n of th6 4-i @,nd. circu'it S., th"Z s'@rie@@rr.<jtot@tot'hectibn,-z, LSr e nergi2iiig,'the traift@ a otigh a back@cori-ta,et 244 Iiiie a,ito 4, Whi6h is ebtiiecti@d, thrbugh aii LS'l e I @hor@.ing .-sv@iibh of th thrd resistahceT @his: di-teiii't @5 -eiai@rgiz6s th@,, operatin- coil i of @2'@4i to tt ooiidu@tor 410. th6@ @4e tra@nsfti-o'-n-switch J, th,tougil a G-switch ductor f@D is connected, tlirough an LS2 backedr.@ (;S tl." - @ It - I'@.; @ : biick-ediitadt 24C,. the t-kiiii@ ion-swi cn J th6ii tadt;226, ai@d a JR iiakt,-6(intAct 226.1:tci a conI plogo@ its @6wet,-cirOilft@ 66nta6t,j. v'@hi@ii dudtor'42,-wh'i6h energizes the op6ratih,,-i-@ooii - LS2 coxistitiiies @ihe i@st @t@D in -seri6@ iiiolor-conof th@3 sedond linL,-sv@litth LS2, which 1,qcts As@ thL, nection@fbr the ItrActioii-motors, cutting out,the rn'st acceli@tAti6n-pr6,,@,fo@,,si(in switr-,h, iby ghoit@ citcuitiilg the fifst a6deli@ratin,-jresi@;tot RI;. Thi8 70 last, accelerating-resistance -R4. -Thi8 'tr@ansitio-iiLS2 switdh ha8 a make-ecii@it@,et 22'd: which l@i:cks s@,iit-eh J @has a rii -@contact 247 -,vhich estab@ uli and servos as a holding-oit6uft @cbiita6t belishes a,,4olOi4g-,Circuit -frolm the @,conductor 15 t'ween the bfrduit@ 60 and.42. back to the hold--line- 82. The preirliol,,sly deThis lihe-switch LS2 a-l@so htis a ftio,,ke@ scribed J-switch backcontacts,@2',17-,,a@nd @238 At@,- c6f-iti@C6t .228 Whibh cbfthettt@ the@ dltduit 40@-.to td opent@d@,r ulion@ the energization. @bf the ti-aiititi-o-n-

[5]

9 switch J, thus dropping out tho initial seriesconnection switch JR, and the third and @Lourth accelerating-switches 3-4 and 9-10. The next step in the acceleration of the traction-motors is accoinplished by a @-qovei@ie,@it 6f the master-controller MC to its No. 3 position, which is a parallel-motor running-position. Tli;,s position 3 of the mq-ster-controIlLr energizes the train-line wire 7, which is connected, through a back-contact 249 of the fourth accelerating or resistance-shorting switch 9-10, and a makecontact 250 of the transition-switch J, so as to energize a control-circuit 3 1, which is in turn connected, through a JR back-contact 251, to a control-circuit 66 which energizes the operatingcoils M and G of the parallelinotor-connection switches M and G. These switches M and G thereupon connect the traction-motors in parallel, between the supply-circuit 197 all-d ground, 'with only the first two oi'the resistance-shorting switches energized, in the illustrated form of - embodiment of my invention, namely the second line-switch (or first progressionswitch) LS2, and the second progression-switch 1-2 @,@7hi-ch carries the main switching-contacts Si and S2. The energization of the parallel-connection switch G opens the previously described backcontact 24.6, which drops out the transitionswitch J. The energization of the parallel-connection switch M closes a make-contact 252, which establishes a holding-circuit for the conductor 66 from the line 60. Responsive to the dropping-out of the transition-switch J, the back-contact 2SO o-' this switch recloses, and re-initiates the s-@Tvitchprogression of the resistance-shorting contacts S3 to SIO, under the control of the sTTiitches 3-4 and 9- IC, through the circuits which have been ,previously described. This establish,-s the maximum armature-voltage conditions on the r,-Iotors, and it completes the connections for the full-field parallel-connection operation of the tractionmotors. As soon as the resistance-shorting switch 9@ 1 0 closes, it closes an additional contact 254, which .energizes a field-controller actuating-c4 cuit from the progress-wire 47, said circuit extending from the wire 47 through the previously mentioned make-contact 254 of the resistanceshorting switch 9-10, a back-contact 256 of the tliird progressionswitch 3-4, a make-contac'u 251 of the parallel-connection switch M, and a make-contact 258 of the line-switch LS2, and 'thenc,-e to the sho@t-,-leld vtire 39 of the fie'.dcontroller FC. The short-field wire 39 of the field-controller FC energizes the short-field coil FC-SF, or other means which may be used to move the fieldcontroller from its full-field position F@v to its short-field Po-gition SF. This starts the progressive operation of I the fieldcontroller, and it may be brought about in any one of several ivays. In the illustrated form of embodimenlu, since the power for the short-field wire 39 is obtailled from the progress-wire 47, which is under the control of the Iiirqit-relay CR, the field weakening progression of the field-controller FC pro.-resses under the control of the limit-reiay CR, until the short-fi-eld position SF is reached. coiiipl@etes the connections for the short-field parallel-connection operation of the tractionmotors, thus completing the accelerat4lonprogression. @ If, now, the master-controller MC is retumed to its off-position, t@e. car or train bping now running at some c'onsiderable speed, the mastercontroller will energize the train-line wire 3, which MaY be described as the brake-wire 3, because it i-s used to set up the dyna-(n,'@c-braking circuits for the motors during the coas'uing operation. When the brakingprotective relay BP is used, as sho@,,vn, the bral@:e-wire 3 is al,-@.Ilo used to directly energize a hold-coil BP-Hol@d of the braxing-protective relay BP, and this hold-coil 10 r@-iay be regarded as representative of any holding-means which is effective only after the protective relay 33P has previously been moved to its actuated position. VIhen a separate holding-coil, BP--"iol-d, is used as such a holding-means for 15 the BP relay, said coil will be made so as to be too weak to pick up the BP relay if thi@ relay is in its non-actuoted p-osition when the hold-coil is energized, but the hold-coil BP-Hold has enough energy to hold the relpy actuated or closed, once 20 it has been actuated. As set forth in the previously rnentioned app'iicat,on of Burkhart and myself, the BP-I-T-old coil @iso prov @d energizing-circuit, i., a ided with a secor which is independent of the brake-Nvire 3, and 25 thus operative in any of the three on-positions of the master-controller I%/IC. This second holdcoil energizing-circuit includes a make-contact 259 of this brakeprotective relay BP, and this make-contact 2SO is used to energize the brake30 wire 3 from the previously described control-eircuit 120, which is under the control of the linerelay LR,,so that the control-circuit 120 is energized @vhenever there is a failure of the linevoltage, at a tipe when the trqain-line wire 12' 35 is er-ergized, that is, at a time when the mastercor.trollp-r is on any one of its three on-positions, as prel,@iously -described. In this wp@y, I not o,.ily inaintain the energization of the BP-Hold coil under the no-voltage conditions jus@u de40 scribed,'thus mo@king sure theit the brake- . protective rela@7 BP reniains in its actuated cond-ition, but i also immediately energize the brake-line 3, withoulb waiting for the master-controller MC to be returned to its off -position, which estab45 lishes the coasting braking-eireliit connections, as Ivi -11 now be described. The brake-wire 3 is connected, through an LS I back-contact 260 and a BP make-contact 26 1, to a cbntrol-eircuit 31B. This control-circuit 31B is connected, through a GI back-contact 252, to 50 the previously described control-circuit wire 31, vihich energizes the previously described parallel-rqoto-@it-ig switches M and G throtigh the J.R back-contact 251 and the control-wire 66. The 55 coiit-rol-coii-ductor 3 ID is also connected, throtigh a GI back-contact 263, to a control-wire 31C, and tier-ce to the positive terminal of the br,,ikinq-switch coil Bi, the negative terminal of whi-ch is connected in a circuit which includes a B@g back-contgct 265, n@ condi-ictor 102, a:nother 60 D5 back-contact 268, a conductor 1114, and a JR back-'contact 267, and thence to the gro7Linded n6gative bE,,tl.-ery-termjilal (-). The closure of the sv,7i-tches M, G end 131 completes the estab65 lishment of a weak doasting-operat;on dynamicbrakinp, circuit-connection for th-, tractioni@ibtors with all of the available dynamic-braicfng resistances R5, R2 and P.3 in cir,-uit, this 4-iy.-iamic-brE),kiiig re,-istance beii)-g large enough 7o so that the braking tractive-effort is usually quite vreak, at moderate motor-speeds, thus permittirg the train to coast, v.,rith little or no sensible or percep'tible brakingeffect, as long as the field-controller PC remains in its short-field 75 position.

[6]

A, connection is also, provided,, for controlling t he,!,field-conti-oller FC dnci,ng the coasting-OPeration. In accordaiice with a known practice, I pro@iide a eircui-t extending from@ the cor@troliv,ire,.41C, through a back-contact 268 of a, b-iakerelay BP,, to a control-circuit 32, and. thence through the back-contact 2.69 of 9, spobtingrelay SR, to. the full-i-ield wire 33 of @',he field-controller FC. . The brake-relay BR was shown. Fnd described.@ in a Ril@ey-Purifoy Patent 2,523,143, gr,anted September 19, 1950. Tb-e spotting relay SR is@ a previously used rel-ay,@ having an operbt@ ing-coil SP@ Nvhich 4s included in the egmmon brake-circuit connection 198, as by being connected- in shunt across a portion RS' of t-@ie bral@cing-resistp,@ice in the dynamic-braking eircuit-connee@uioii 198. Thus, the. spotting relay SR is responsive. to the bra-ki,-lg-eircuit etirrent. T-his sp ottin,?,,-relay SP. is adliusted to have a 16N@,current pi-ckup-value, so that it can hold- the brakin,g-eirellit current to@ P. small value suitable for spotting purpp,@,-.s during the clla,,sting operation of the traction-@iotors, as is weR understoofl@ in the art. The- full.-field wire 33 of the field-cor.Ltroller 2@') F FC energizes@ a. full-field coil@ PC-'.P , or other means@ for causing the flel,-! controller "C to n. ove or progress from its, short-@field position SF ta its f,ull-field. position FF. This energizationr of tlie ful-l-field coil FC-FF under '.be control of thp "1) spotting relay ','R thus prog-ressively ad4lists the field-controlling means FC towt),rd its full.7!field positio.n@, as spotting@co-nditions may ie,@luire. - in accordance @vith-, a---known contr,ol-r-aefbod, the;@spotting-relay SR has a makecontact-'70 ,,vhich connects the, eireli-it 32@. to a ei-rouit. $6, 7@hich goes@ to a fieldcontroller@ coTitp-et-seg@n@ent. 27@ti, which is closed@ only dur-ing - certpiii early points, in the progressiiie movement of the: fieldcontr,oller FC from its.-full-fieldposition. ET@ tbw,ar.d its short-field position SP., T-his feld-coiitroller segment 271 is preferably opened at a cer@ to,in poi-rit@ near th(- short-field position SF, pref.erabl@y before 1 ttie, field-contr4DIler reachesi@ this short-field position. 2--F. P,@s show-n ". I 1)refer to have this field-controller segment 271 cloqeld at the ;positions F.V, thro@igh F3 of tha, field-controller FC. This :ff@ld-controller segrient 271 is used to@conn,,-ct the v7i,- e, 36 to the,short-,-,9.eld wire 39 of the field-co,.nt-roller P(.. in, this way, w@hen the: spotting: current is too large,. thaf, i.s, large enougb- to p-,ck up@ the-; spotting-relay@ SR, the spot.ting ctirrertt is reduced.@ by ladjusting- the mot,or-flelrl',,3 a weaker cotidition, by @mak.- ing@ the fielO:-co@ntroller 'h7C- progress@ in- the, cureetion tow,,Lrds its short-ffeld position, but:this progress-A'on is usually arfr@,-,ted beforethe fleldcontroller retiii-ns all of, tt-ie way back to its. origino.1 short-fleld posit-ion. SP, which, it oectipied. befor.e: the spottiner@conti-ol comwenced to operate. A service, broking-a@)plica,',ion is ma-de- by@ the closure- of the brake-v,,ilve (,@ontact 202,, which energize.s@ the full-br.%-ke wire 5 from@ the b-rakewlre 3. This full-bralce wire S@ is connected directly to the coil BR of the brn @ke-@relay BR,.. The bra;ke-rela-y i3R, has a,make-contgct 272,. which connp-cts @th6 fullbi@akf.- line I.,@ to th,-@ conductor @45 ir,hich le-ads up to ithe- Iimit-relay progressioncircuit 46, thus putting- tbe@ braking pro,.-ression under the zontrol. of. the back-contact 199 of the limit--relay or current-relay cR, @as well: as under the control of- the 13P make-contact 230, both of which are in circuitbetween the conductor 6Faiid the limit-relay progression-circuit 46. At@ the 10 t5o 12 same. @time, the. opening, of, the- @bacl@@contact 2f.8 of the now-actlated. brake.- relay- BR ,.akes, the braking progression out of the control of the spo'+-ing relay SR. -@Viienever a braking-appl-ication is callea for, the, energization of the brakerelay,BR,@ closes@ a BR. make-contact 2@73i, which is used in t.he initi.ation of the . dynamic-braking progression. Thus, the BR make-contact 2-7 3 is used,to make: a connection from the limit-relay progreBsion-;circuit@ 46 to the full-field viire 33 of ,Iihe f-leld;.controller FC. This causes a progression of the'fieldcontroller FC@ uiitil it reaches its full-f;.eld posttion FF,, under the control of the. limit-relay C.R. I The closure of the brake-relay BR also closes a@ make-contact 27-4 v,,rhich ir@akes a conriection from the@ control-v,,ire@ 3 [G to a b raking-operation hold-wire@ 7 l@, in ret@dinebs for, use in the subsea-u--nt brake-progression o,-,erations. When the braking@controlling- pro,@ression-'has proe-eeded tG the point at v7hi-Cli fuu-field conditiods are restored. @iD- the tractioil-m(ytors, the field-controlier FC, cl@Oses a full-field. contactmember 276, -knrhich closes a cirfuit from the fun-p eld ivire 33 to a conductor 49, and thence tlirough a BR make.-contact 277 to o@ brakiiig@ progression circuit 48. . The energization of, the bra@king@eircuit proression-wire 48 i?nmediately serves, through a 91 ipake-colitact 2gO, which i's already closed, to energize a, circuit 12, which is connected, througli a B2 back-contact 27,q,@ to@ a circuit 82' which is connected to the positive% terminal of th6 B2 aetuating-coill the negative terminal ofwhich Is c6rinected to the previo-asiy@ described conductor l@02. The B2 switch thu8 pi-eks@ up and el6sex its main coritact B2 whi@3h shorts out a part of the braking-resist@xilee R6 in the common: dynamicbrak@iig eirelait' I Cu@ of the tractibn-motors. The actuation of thb: B2: si@; -itch als6 closes a makecoiitact 280 which establishes a holding-circuit for t-he wire 8Z from the: hold-wite 7@l'. A circuit is next established from the lower end of theprbgressibn-wire 48, through a@ BO badk-contact 28 1, to@ 6, conductor 75" and thence through a B2@ make-contact 282, which has just been closed to a 6ondtictor 85 v-@-hich is connected to the posit'ive t--rm-,'nal of the B-5 actuating-doil, the nbgE@ti-,,e termiiial of which i's connected to the, previ6u@l@, inen,',ioned wze fU4 The B5 Switch eroses its maiheircuit contact B!F, which sho@ts out more of the brakingre@istanc6 R5 in the coiximon dynainic-braking, circuit 198 of the trEictioii-ir-dtors. At'thesametimetheBSswitch closes a make-contact 283 which establish "es@ a holdir@g-circuit from the condilctor 85 back to thd@hoid-wire 71. The enetgl@,ation of the braking-progression @wit6h B5 opens its PreviouslY mentioned back@ contadts 265 and 266, thus dropping out th . e swi+@ches B I and B2 @ the r@iain contacts of which are. both short-eir6ui-ted, now, by the main contact B5. The drop]@ing-out of the El switch closes its lowermost ba--,k-contact 2841. which om,,Iete" a circuit from the conductor 75 t6 a ma B 'le-contact 285, a, d thence to a wire $6, which is connected to the positive terminal of + ,he B.9 c6il, the negative terr@iinal of ivhich is connected to the wire 104. The BO switch thut closes, and cidses its rpain contact 136 vihich further shorts out sone of the braking:@resistor Rn., thus still further reducing the effective brakingresistance in the dynamic-braking circuits. At the , sarile time, the@ aettiation of the B6 @witch ol6se@ its make-contact 28Z-, which establishes a

[7]

2,069,6vo 13 holding-circuit for the wire 86 from the wire 7 1. The actuation of the B6 switch also closes.& make-contact 287, which connects the progression-wire 48 to the previously described conductor 72, thereby reenergizing the B2 switch, the negative circuit of which is now completed from the wire 102, through a B6 make-contact 288, to the wire 104. It will be un' derstood that all of these brakingprogression operations are under the control of the limit-relay progression-circuit 46, which interrupts the progression whenever an excessive motor-current causes an opening of the currentrelay back-contact 199, which is connected in the energizing circuit for said wire 46, thus interlupting the progression until the motor-current subsides to a desirable value. The braking-circuit progression-wire 48 is also connected, through a Czl out-contact or backcontact 289, to the accelerating-resistance progression wire 47. After the second closure or actuation of the B2 switch, so that the B2 and B6 switches are now both closed, a circuit is made, from the accelerating - resistance progression-wire 47, through a B2 make-contact 290 and a B6 makecontact 291, to the previously described conduetor 50, thus re-initiating the progression of the switches 1- 2, 3-4, and 9-10, which progressively close the accelerating-resistor switches SI to SIO, thereby cutting out the accelerating resistors R2 and R3 which are in the individual portions of the respect],Ve dynamic-braking circuits of the tractionmotors, this progression being also under the same limit-relay control. Ever since the ac@luation of the B5 switch, a B5 make-contact 292 has been energizing the accelerating-resista,nce hold-circuit 67 from the braking-operatioii hold-Nvire 71, i.n readiness for this progression of the accelerating-resistor switches SI to SIO. The braking-progression thus continues ui-itil st@bstantially all of the braking-resistance is removed from the dynamicbraking circuit, thus resulting in the completion of the dynamicbraking operatior@, during which the speed of the car or train has been reduced from tlie initial speed at which the dynamic brake was applied, down to a low speed at which the dynamic brake fades out. If a bral@ing-operation is to be discontinued ' after once having been started, the braking-eircuit six7itches are released by an opening of the brake-cor,tact 202, without requiring the establishme,.it of a, (perhaps momentary) powereircuit (or oi,-position), in order to deenergize the braki,-o,@ hold-wi.re 7 1. This is accomplished by the BR-contact 274, which is in series with the hold-wire 7 1. The opening of the brakecotitact 202 deenergizes the brake-relay BR and opens its contact 274, without requiring an onpositior- of the master controller MC to release the brake-wire 3, in order to deenergize the conductor 3 i C and hence the hold-wire 7 1. Tt has long been customary to automatically adjust the c@-libration or setting of the limitrelay CR, @@n order to cause this relay to drop out in response 'tlo various accurately co-n.trolled de sirable minimum motor-currept values, during , both the c,4cceleration-progression and the dynai.ni-c-'oral@irg progression. This is convenient@_ ly done by va-rious controls for the energiza'uion of a broke-coil BC and a rate-coil RC, both of which act cumulatively with respect to the main over-current-coil CR of the limit-relay CR. In Fig. 1, I have shown that the brake-coil BC 14 is energized hi shurit across the previously mentioned resistance-portion R5' which is a part, of the dynamic-braking circuit 198. This is the sarie resistance-portion R5' across which the spottiiig-relay coil SR is energized. In the case of the brake-coil, it is customary to,include a brake-coil resistenee RBC in series @vith said brake-coil BC. In Fi@-. 1, I have shown two previously known 10 c4@rcuits for the rate-coil control or calibration. One such rate-coil circuit involves the weightresponsive rheostat 200, and is traceable from the positive control-poiver line (+) through an LS2 2aake-col-itact 29.1, a conductor 68, the aforesaid 15 weight-responsive rheostat 200, n- resistance 294, a conductor 92, a resistance 295, and the rate-coil wire95. Asecondoldorknovir@ratecoilenergizipg-circuit in,.,olves the braking-responsive resistance 20 1, and is traceable from the positive 20 bus (d-) through P. BR i-,i,,ike-contact 296, a con@ ductor 9 1, and the aforesaid braking-responsive rl-leostat 201 to the conductor 92. In accordance -..iith a known for--i of construction, the rate-coil rheostats 200 aiid 201 are both preumaticary 2.-, .ictuated. The weight-responsive rheos-@.at 200 is actuated to ad-ustable positions in accordance with the weight o-,-- passenger-load on the car, by welll@nown means (not sho,,@Tn), which are not necessp..ry to an ui-iderstanding of my present invent-loii. The lien,kin,--responsive rheostat 201 is - comr@ionly actuated ',)y nieans of a dynamic-brake :t,-tuator BA ,,,,,hich is energized from the so3.-) called "straightair" pipe SA of the air-brake e,@iuipment. This straight-air pipe contains,air at a variable pressure, which is under the control of the brake-valve EV, according to the degree of brak-e-application which is called for by the 40 on-position adjustment of the brake-handle of this brake-valve. 'IA7hen a heavy - braking-operation is called for, the brake-handle is moved to its full-on service-position, thus applying a maximum air-pressure i-,i the straight-air pipe SA. 4--i At intermediate on-positions or braking-positions of the brake-handle of the brake-valve BV, the air-i3ressure is less. During all onpositions, or brake-application positions of the brake-valve BV, the previoiisly mentioned brake-valve con.5o tact 202 is closed, which connects the train-line wire 5 to the train-line wire 3. In . accordance wi-th the form of embodiment of my invention wlaich i,@, shown in Fig. 1, I intefpose, in the straight-air connection to the brake55 actuator BA, a choke-valve CV, which admits air only slowly from the straight-air pipe SA. If a mild brake-adplication is called for by the brakevalve BV, the airpressure in the straight-air pipe SA is sma,li enough so that the braking60 rheostat 201 is operated at a reasonably slow rate, by the I)rake-actuator BA, thus Dnly gradually i-i'lereasin.- the rec@-,Ii.bratin.- resistenee of the rheostat 201 in the energizing-eircu,.t of the ratecoil RC. C@5 When, howaver, @ fi-ill-brake o@ a heavy-brake application is called for by the brake-valve BV, 'hp- air-pressiire in the strqight-air pipe SA is high enc-ugh so that, pre@jious to my incorporatioyi of 'Llhe choke-va3ve CV, the bralze.-actliator 7@) B,", ,,,,ould be moved ven, rapidly @uo its full limit of operation., thus inferting all of the resistance of 'Lhe broking-rheostf,,t 201 in the energizing-eircuit of the rate-coil RC, a,-qd doing this in a matter of a second, or less. Thus, before the limit7,5 rela:y CR had a chance to pick up its back-con-

[8]

2,660,1079 '15 tact:@@l SS- in the cii-cuit@.46A, the @dec@eased, excita .tioii,of the ral@-@coil RC v;oul.d ,,o fnr ir-er--ase@ the curren,@ seeting ol@' I.-hplimi.t-rel@ty CR, thi@t this @r6lay vrou'--d. nct picb-..up Pt all, until the Lieldcoi,ii,roller F-C w-,s adjusted to its fuHfle.'@d posi- 5 -tior@ IFT,, as a res-art, o@' the contiltied energization bf the c-irc,,u't 4OA-230-46-,273--@P,3, a,,id thence to the full--t-i-lid opp-rating-coil FC@-FF of the .,,.eld-@coia@,-xo.'Ller FC. This reslilted in setting up a full-field cor@dik'ion -in the mouors very ral,)idly, 10 a:,-. the veiy of the dynamic-br-aking c.@eration. TI@is condition would occur during t'.Iie hi,@hspeed bperation of the train, and hence during a. high-speed operati.on of the mo't,,Ors, vih;.ch are 15 iiow OP--r,,iti-@ig as generators for supplyin,- the d-ynatn4.c-@b@,aki-iig currc-nt. The speed is hi.ah, be@cause the -i@ield-cor-trol-ler FC is n,,ver aditisted, in the first place, to i-ts short--field position, until the last stages of the acceleration-notching of 20 the ihotor-control durinlg e motor-operation. If@the motorriian ha-ek coasted for a ronsiderable time, in tne position of his niaster@controll,er 'MCI after havin.- reached the - f7Lill-parallel shunted-fl.eld po,@lier-eircuit motoringcondition, 2-5 6n @a level or an uphill treekl the train wo,,ild coast dbwn t6 6, sufficieiitly low speed, so that the spotting-relay SR would gradually notch back th,e field-controller fr6ni its short-field posi.'ion SY until it fina]Jy reached its full-field position 00 FF. But if the field-controller FC is in or near it,s short--.Lqeld position SF, the train will be opbr,@ting at a fast sp-led. With the- traction-motors ope-t-@otin.- a,,3 geiiera.- tbis- at a. f@st speed, urder spol@-t4@ngconditions, 3.3 ii a full@brake application is called fbr by the @ra-ke-valv@- BV, and if the bral,.e-,-@ettiator BA is permitted t6. practically instantly operate the bkblking-rheostat 1,01 to i-ts flill-kesistance position th6n the calib@atioii of the Iii-nit-rela,v CR will be @o, high thbt t-his liiDit-r6l6,y canhot pick iip ahd ddenergize tl--ie full-field doil FC,-FF of the field-cbntroller, v7ith the re@ult that the:Cleldcoritroller moves very @uickly t6 its full-field liositibii, thus cau@ing overshboting of the d3,- namidbraking coiltrol. In bcebrdap--Ie -,vitli my inventioll, as shown in FiL-. 1, the added chbke-valv6: CV, in the air-irilet o4@7 th6 brake-a-.tuatot EA, t)revents this brake@.ctitfitbr f@o-ril -noviiig tdo fast, in response to a 50 high-pressure conditibn n thb @traight-Air pibe E@!A,. ds a restilt of a, flill-brake applica-tion of the brAlc@-val-4.le BV. iii this vTaY, the !4init-relay CTz ts@ left @@t its rninih@ uxii qett,,i-ig long 6n6ugh to ehable tlis relay t6 rick up, in r6spoT-i@e to the 1-, dy-iiamip--braking current, thereb3r opehing the liriiit"relay back-contact 199 *hich - dei@n---rgiz@s t,he circuit 40P.@-33, v7hi,,h iriirredidtely deenergi2ip-s the full--field coil FC-FF oi the fleld controller PC. Tnis arrests the moliement of the 66 t,eld-controller in the direction toward its fullfl,bld posit,-on FF. A,Lter that, this field-controlle.r -,novc.,-nent is resurned, in a step-by-step fashion, under the control of the limit-relay CR, thus . Tra-king the -fi-Ild-c6ntroller FC r6ach its fullfield 6;3 150sition P7,- only after a time ivhich is long t,noiigh to avoid the overshooting troubles vihich hal'Te Previougl.,, been inent@ioned. L-1 the, event of opl@T ,t sriall braking-applica@cibn of the brake-valve BV, the air-pre,-su-,,e Of 70 the st@a@ight-air pipe SA is applied only gradual1,Y to thb bra@-e-actu@,tor BA, even without the choke-valve, CV, so that the addition of this choke-valve dces not produce any sensible alter,i,tiori in, the rnild-brake. operation of the appara@. 75 @16 tus,- ii@i ivhich, tbere@ has ne-@,er been aliy trouble du-a t6 ovei:@shooting. Aiay added delay due to the presence of t'-qe choke-valve CV during a mild-brali-I appL-'.cation, would r-,ot b,,'no+.iced at all in the operation of the 'train; I In the ,,,'Lternative form of embod-'Lmer@t of my inveraion whi-ch is showii in Fig. 2, - inst,-ad Gf ivorki,.ig on the brakin.@-.-cheostat 2'ulf, to preve-nt it frorn upwardly calibratiii.- the curren-@-settin.of the lir-qit---Pelay CR too rapidly, i halie -,oro-,iided an auxiliar@ contactor C, which I use to give t-lie n,:oto,@-fields P, or a sudden i.-Tiere-,@rient in excitation, enough tb cause the mo'6o,7-current to practically instantly rip--e to a valtie which correspre@)pns to the cur--P,--nt-setting of '@helimit-reln-y CR, even thou.,h this curreiit-setting Is recalibrated to its Tr-a@xiTfIL,,m valiie by the speedy operati- of the braice-r'-,aeostat 20:1. Th.-IS au%iliary cont,actor c-@, in F,,ig. 2, is provided with an operatin@-5-coil C, and t:wo back-co-@itacts @-1, whj'ch are norma.Ily closed, as by graN,7ity, I)eing opened vih,,-ii tl-,ie operatii-ig-co'.1 C i.-s cnergize,,,. The o73eratiag-.coil C is energized froL,-- the r&@. 1!-@,Y-circtiit 91, Ln s,@r4.-es with @t field-controller cbnt,,4,ct7segmeTit S@M, whicli cliergi_zes the. eoil C v7h-pne'ver the cir@3iii+, b'i is ene.,gized, and whenever, at the sarc-,e tiie field-controller FC is on or n-e,,ir its short-.field liositiov- SF, as, for exarn-ple, i@ihen the f eld-controller is o--,i eitl:,er one o-@ its positioils F4 or sF. It vill be recqlled that the c,-iitrol-eirpuit 81 is energi,@,ed froni the pos-itive bus in series -@,vi-th the rpal,@:e-contaot 2L9.@ of t'-ie brake i-elay BR. l@u will also be, recalled that this irake-re'-,P-y BR is energized@ in respoiue to tl,,e train-line wire jr, which is, energl,'Zed tlirou.@ll 'Lhe bl-,ake-valve conlact 2112, the traiy.,- IiD-e -vvire and the "off " positi-on of tli6 m@.ster confroller B./IC, as ir-dicated at MCOFF in Fig. 2,. he two back-cor@tacts C of th-- auxil-Aary coii@-actor C in Fig. 2, are coiinected in series with il,,,7o i-ield-controller segments '.' f, no and 314, @ .espectively, which are resp,,ctively connected between the circuits I I and 13, and between the circuits 1,2 and 14. Thes-, contact-segments 313 and Si 4 of the field-controller F,,C effect a circuit-closure @n the field-controller postions between F2 q-nd SP. Thus, even tho,,igh the field-controller FC i,9 in one of these posit4or@s, f.-om F2 to SP, dliring which tlie@ field-shuaiting resistai-ices RSI and RS2 would nor-(nally be partia'@ly -@h-ort-circuited, between the circuits I I @and 13, and between the circuits 1,1 and iC,, respectively, if the auxiliary contactor C is energized, th-,se portion,,3. of 'the field-Shunt-ing. resi@@tors R'S I and P.S.9 will be cut bock again into cii@cuit, bhus increasing the resistance of the fieldshunts, a,-id ineie,,),sing the current through the L-),Gtor-fields SF-I and SP2. The@ operation of this ar-,paratus, as sho@,,,n in r@ig. 2, will therefcre b.3 obviou3. Whenever g, dynamic-brat@:hig operation ;@,s called for during a sliort-L-ield operatingcondition, the brake-relay contact 296 will be closed, and a contac@'. v,,.ill b@completed at the contact-segm@ ent 306 of the field-controller FC, thus energizing the auxiliary contactor C, and iiiere@ising the current-strength in the motor-felds I-zF I and SP2. -fhls increases the braking-cur-ent enou,@h to pick up the li!nitrelay SR, thus i-P-staiatly iiiterrtipting the adjustment of the field-co--,,ltroller FC toward its full--@qeld position, in the manner ,which was described in conlae&L,--,I)n with Uig. 1. In Fig. 2, as the fieldcontroller is moving froni its short-field position SP toward i-ts fuu-field position FF, in a 8tep-by-step faslidon ascontrolled by the lim-

[9]

17 it-relay CR, when the fleld-controller FC leaves its F4 position and moves.to its F3 position, the auxiliary contactor C will become deenergized at 306, thereby increasing the shunting current and decreasing the field-current, causing the field- 5 controller to pause, at this position, long enough to prevent the previously described overshooting difficulties. In the form of my invention which is shown in Fig. 3, the field-controller c ontact-segment 10 306 is retained, but the contact-segirents 313 and 314 of Flg. 2 are not used. in Fig. 3, the conta,ct-segment 306 of the field-controller FC is used to connect the control-wires 91 and 92. This has the effect of using field-controller seg- 15 ment 306 to by-pass the braking-rheostat 201 whenever the field-controller FC is in either its position F4 or SF, or otherwise in a position at or close to its shunt-field position SF. In this manner, the field-controller segment 306, dur- 20 ing short-field operation, shorts out, or nullifies, the braking-rheostat 2 0 1, so that it does not matter if a full-brake application of the brakevalve B@T cauqes a too-rapid actuation of this braking-rheostat 201. In this manner, the lim- 25 it-relay CR is Ieft at its minimum-current adjustment, during the first second (more or less) of a dynamic-braking operation which is instituted while the field-controller FC is at or near its short-field position SF. This prevents over- 30 shooting in the manner which has already been described. In the form of my ilivention which is showl-i in Fig. 4, the field-contactor se,@ment 306 of Fig. 3 is replaced b@T a segment 316, which is shown 35 as making a closed c-ircuit whenever the fieldcontroller FC is in any one of -its positions F3, F4 or SF, although this is intended to be representative of any field-controller adjustment Nvhich is at or close to its short-fleld position SF. @10 In llig. 4, this contact-segment 316 of the fieldcontroller FC is used to connect a parallel resistance 317 in shunt ac-ross the brake-coil resistor RBC, so as to give the brake-,coil a stronger response to the braking-current which flows 41 throu.-h the braking-circuit resistor R5'. In Fig. 4, the brake-coil resistor RBC is shown as being connected between the intermediate connection-point AXI of the motor circuit, and a conductor EC', from which a circuit contin- .50 ues through the brake-coil BC to the braking circuit 198, so that the brake-coil BC, with its serially connected resistance RBC, is - connected across the braking-circuit resistance R5'. The circuits AX! and BC' are connected to the field- r)5 controller contacts for the segment 316, preferably through the previously mentioned resistance 317, by which the degree of strengthening of the brake-oil response can be - predetermined at whatever value is necessary to increase 60 the current-setting of the limit-relay CR to the point where it is able to pick up on the first inrush of the braking current, when dynamic- . braking conditions are established during a short-field operating-condition. o5 Since the brake-coil BC is energized in response to the current in the braking-circuit 198, and since this braking-circuit is not energized except when dynamic-braking conditions are es70 tablished by the,closure of the contactor Bi, the field-controller contact-segment 316 of Flg. 4 has no effect upon the operation of my motorcontrol system except when the dynamic-braking circuit, 198-Bi is established, and also ex- 75 2,669,679 is cept when, at the same time, the fleld-controller FC is on or near its short-field position SF. In Mg. 4, I also show a modification of the limit-relay CR so as to make the fieldcontroller FC vibrate, as a voltage-regulator, under the control of this limit-relay CR. ThL@ saii,7,e operation could be provided for in any of the other forms of et-nbodiment of my invention, although it is shown only i-n Fig. 4. In accordance with this feature of my invention, the lirnit-relay CR, in addition to having the previously described backcontact 199, which is connected between the eircliits 45 and 40A, is provided with a makecontact 199A, v,7hich is connected between the ei-rcuits 45 ond 39. This circuit 39 is the circuit which energizes the short-field coil FC-SF of the field-controlier FC, whereas the circuit 46A, as shown in Fig. 1, is the circuit which energizes the circuit 33 of the full-field coil FC-FF of the field-controller FC, as @,ias explained in connee@tlion @with Fig. 1. Thus, ivhen the limit-relay CR picks up, in Fig. 4, it energizes the short-field coil FC-SP and starts moving the field-controller FC further toward its short-field position SF. This weakens the riaotor-fields and thus reduces the braking-current, causing the limit-relay C.-L:@ to drop out and close its back-contact 199 which energizes the circuit 4BA-33, which energi,es the fullfield coil FC-FF, thus starting the -field-controller FC moving further toward its full-field position FF. In this way, the field-controller FC oscillates back and forth, after the manner of a voltage-regulator, resulting in a gradual reduction of the shunting-currenlu- until the fieldshunts are entirely -cut out, which happens in the full-field position FF of the fleld-controller I,'C. It may happen, under certa-in adjustments of the apparatus, that the fi-eld-controller FC of Mg. 4 will not reverse its movement toward the full-field position FF, and start back toward its short-field position SF unti-I the recalibrating circuit-contact is broken a't, the contact-segment 316 of the field-controller, so that the L-ield-controller FC will oscillate between the positions F2 and P3 under this voltage-regulator operation, under the control of the make and brakecontacts 199A and 199 of the limit-relay CR. In the forin of embodiment of i--ay iilvention which is shown in Fig. 5, instead of using the limit-relay CR to prevent the too-rapid movement or progression of the field-controller FC to its full-field position FF, wheii dynamic braking is called for durinw short-field conditions, i provide a means which may be broadly defined as a means for changing the rate of movement of the field-controller FC, or sl,@ghtly delaying the time of that movement. Any means to that end is contemplated, within the broad purview of Fig. 5. I use an auxiliary contactor Cl, which is similar to th,- contactor C of lilig. 2, except that it has only one back-contact 32 1, @vbich is somewhat differently usod. The operatingcoil C I in Fig. 5 is energized, as in Fig. 2, from the circuit 91 and the field-controller contact 306 which has already been described. The backcontact 321 of the auxiliary contactor C@' is used, in Fig. 5, to delay the starting or the rate of th-. field-controller r@iovement in the direc'uiod toword its full-field position FC. Any P-ieans, which will accoral,)Iish this pu@pose, may be used, in Fig. 5. The particular means which is chosen for illust-@ation i_n Fig. 5 includes a field-controller FC which is actuated by an electric pilot-motor PM, as distinguished

Как компенсировать расходы
на инновационную разработку
Похожие патенты