заявка
№ US 0002537420
МПК H04L9/22

Номер заявки
2681444
Дата подачи заявки
05.07.1946
Опубликовано
09.01.1951
Страна
US
Как управлять
интеллектуальной собственностью
Чертежи 
6
Реферат

Формула изобретения

claims, What is, claimed is:: 1. A ciphering selector for a transmitter., com-@ prising, a plurality of slidable perriutation, bars operable according to, original. code combinat'ons, an equal nuniber. of selecting: levers 'controlled bk said permutation bars,, a, like number, of. key signal responsive code magnets, a series ot &Iid,able ciphering Lars@ controlled- by said, coding magnets,, a plurality of ciphering levers iiadivkdttally associated with said ciphering bars, aL -zet of transmitter levers: operable uiider the joint control, exercised thereover by said se:iectirlg fin@ gers and sadd ciphering levers and means coatrolled during, the@ transmiss,,'Dn of one- resultant signal cqde combi-nation by said, tran,mitting levers for energizing said code magnets, in aecordance. with. the next key code combination for thereby setting said, ciphering bars for- th-e next operation. - 2,.@ In a ciphering selector, f or a printer,. a selector magnet for receiving incoming. signals- inr eluding a set of swords- controlled- by said. mag@ net, an equal nlmber of levers controlled by said swords and having interfering, m@embers carried thereby,, a. set of, key signal controlled. coding rnagnets,, a plur-ality. of ciphering slides operable by said coding magnets. and having interfering members, a set of printer selector vanes, means controlled by the joint positioning of said interfering members for determining: the uitiniate@position of said. printer vanes: and, means operable during the utilization, of a signal code combination provided by said printer selector vanes for a printing, function for,- energizing. said, code., mag@ nets i@n,.- ac@aordance- with the next key signal code com. bination for thereby, setting said ciphering slicles for: th6 next operation. 3; In-,-a, ciphering transmitter,, in- combination, a plu-rality of slidable permutation bars, operable aecord-ing to original-code corqbinations,,an equal number of selectiv@g. fliagers control-led by said permutation bars,, a hke number of ley signal re" sponsive@code magliets@ a series of slidable ciphering. bars controlled by said.coding-- magnets, & pluralit_v , of ciphering leveis- individ-aally associated with. said ciphering bars, and, a rireuit arrangement operable during the utilization, of, a: key code combination for one operation --,'or, erasing the previous key code combination eetablished by said second mentioned members and. preparing a;, new key code combination therefor- for the next operation. 4-., ln a teleg-raph receiver., in combination a se@'ectiar including a selector magnet for -rece'rvln@ ineoming @--i.@nals and a set-of swords controlledby' said: magnet, an@ equal number of levers having interferilig. mem-bers carriedtherelly and controlled by said swords a. set of key code combina-tion Qontrolled codi@@ riagnets, a pluality of cipheriiig slides. operable by said cod-ing magnets an&, having interfering members, a set of pi@inter seiector vanes, and a. circuit arrang-,ment oper-@ able during the utilization of -a code combination established by said printer selector vanes for a printing, operatiori for erasing the previous@ key

2,537,420 13 code combination existing in siiid code magnets and pirei@aiihi'a new key code c6 bination therefor for tl@e @6xt i)rinting oper@ii6ii. g - a'@'d 5. A combi-ned transmittin n receiving apparatus,i, Lgnets the 5 .a@@set of code mc transmitting api)@i'@tlis, a set of cod6 i6iia@ nets for the 9 receiving",ap-Dai,atus, a single k ding device for contr6iiiiig both of said 6e magnets, a series of t@aiismitting levers, 'iriechanical means controlled bk@'said first mentioned.set of magnets 10 for varyirik t ' he normal operaiion@ of said transmitting l@vers accordin- to ke@ c6dd combinations furnished by said key @oding@,d641@e for producing resuliiiht@enciphered signall@, , '@d;,selector magnet for receiiiing said resultant.enciphered sig- 15 nals, s6lector members controlle'd.,.-by said selector eries of printer -s@iii @tor vanes, and said second mentio d s6t of magnets and-cooperating with said se! - e ' 6ior@ members ior Varyiilg the norrnal 20 operation- of said pi,inter sele'e..t-o'r' vanes according to,-id&nti@al key code combiii@iions for producine, res@ltant deciphered signals. 6. A 66inbined transmitting @And receiving apparatiis@ d,set bf cbde magnets'fo'r" the transrnit- 5 ting app@ratus, a se@t of c6d@- iiiagnets for the receiving apparatusi a single--key.. coding device for coiitrolling both of said s@t-s'of magnets, a series - of transmitting levers, @ "Mechanical means 6ontrolled by said first mentioned set of magnets for varying the normal operation of said transmitting levers according to @@Dode combination@' furnished by said key 6oding device@ for producing resultarit en(, @iphered@@@igiials, a series of print6r selector vanes, and.meenanicai means 35 controlled by said second mentioned set of magnets for varying the noriiie@i@;1.6ii.@ration of said printer selector vanes according to identical key code .'combinatioiis for pr6dUcing. resultant deciphered signal@ and a circuit arrangement for 40 controlling said key coding device. 7. A combined transmittirig and receivin@ apParatus, a set of coide mag@iets for the transmitting apparatus, a set of . @.code"'magnets for the receiving apparal@us, a ke@ 66ding device for contrblling both of saic'l setsbf..i@agnets, said transmitter inciiidi'ng EiL set of levers, meaii@@ under the control of first mentioned set of inagnets for altering t@6'ii@rmal operation of - said transmitting ievers, a@-receiver including go a set of priiiter seiector means under the control of sbid secon,d m@lifi6ried,@set of magnets for alteriiid the normal o@ei@iii6ii'of said printer selector vanes, and a eirci@t a@-r'@;rangement for said magnet, @ s mechanical -@ineans controll6d 14 key coding device for providing key code combinations for each of said sets of magnets and prior thereto erasing key code combinations previously existing in said sets of rnagnets 8. in a conibined telegraph trammitting_ and receiving apparatus a transmitter including a set of transmitting levers, a receiver including a set of printer selector vanes, a key coding device for altering the normal operation of said levers and vanes and a circuit arrangement for providing key code combinations for,,@aid key, coding device including a set of primary relays for storing key 4Zode combinations, a set of code magnets for said transmitter, a set of code magriets for said receiver, means to transfer key code combinations from said primary relays to each of said set of code magnets, ,tnd means to erase previously existing key code combinations in said primary relays and both of said sets of code magnets, said transfer means and said erasing means being properly timed to enable the use of identical key code conbinations by said transrnitter and said receiver for any given signal code cor,,ibination transmitted by said transw-itter. 9. A telegraph apparatus including an eneiphering and a deciphering means, a single key coding device for providing key code combinations for both of said means, a set of primary relays for storing key code combinations, a ser, of key codpmagnets for said enciphering means, a set of key code magnets for said deciphering means, means to transfer signal cod6 combinati.ons from said primary relays to each set of said key code magnets and means to erase previously existing key cbde combinations in said primary relays and both of said sets of code magnets, said transfer means and said erasing means being properly timed to enable the iise of identical key code combinations by said enciphering and said deciphering means for any given code combination. MARTHA W. C. POTTS. Executrix Under the Last Will and Testament'of Louis M. Potts, Deceased. REFERENCES C]ITED The followin 'g ref erences are of record in the : file of this patent, UNrrED STATES PATENTS Number Name Date 2,317,995 Krum ---------------- May 4, @1943 2,406,829 Haglund et al - ------ Sept.3,1946 2,449,789 Reiber ------------ Sept. 21, 1.948

Описание

[1]

Patented Jan. 9, 1951 21537@420 UNITED STATES PATENT OFFICE 2,537,420 MECHANI[CAL CI[PHERING UNITS Louis M. Potts, deceased, late of Evanston; M., by Martha W. C. Potts, executrix, Evanston, ][II., assignor to Teletype Corporation, Chicago, 111.1 a corporation of Delaware Origirial application July 5 ' 1946, Serial No 681,444, now Patent No. 2,504,044, dated Aprii 11, 1950. Divided and this application November 51 1948, Serial No. 58,504 9 Claims. (Cl. 178-22) 2 This invention relates to secret printing telegraph systems and particuiarly to mechanical ciphering units for accomplishing the enciphering and deciphering of telegraph messages. .This application is a division of copending application, Serial No. 681,444, filed July 5, 1946 and which issued as Patent No. 2,504,044 on April 11, 1950. A chief object of the inv6ntion is the pr6vision of mechanical ciphering units for secret telegraph mes@age communi6atiori. @ Another object of the invention is the provision of mechanisms for use with standard printing telegradh apparatus for performing ciphering operations. 1.5 A further object of the invention is th6 provision of circuit arrangements which can be conveniently used with the ciphering,mechanisms in standard printing teleg'raph apparqtus. Otl,er objects,,features and advantages of the 20 invention will appear as the description of the invention progresses. The inventibn features the employment of key tape controlled coding magnets for use with a@ combined telegraph transmitting and printing apparatus of the type disclosed in the patent of 8. Morton et al., 1,904,164, dated April 18, 1933. One set of magnets is used t.,) furnish kev signal code combinations which combine with original or plain English signal code combinations to encipher outgoing signals in a transmitter of the type disclosed in the Morton et al. patent, in which.the well known Daudot start-stop system is utilized. In the type of ciphering employed in the instant invention a like condition of individual e'ements of the original signal code permutations and the individual elements of the key signal code permutations result in a spacing signal. On the other hand, unlike conditions of the elements result in a marking signal. For a more detailed 40 description of such a system, reference should be had to the copending application Serial No. 462,522, filed October 19, 19,'-21 in the name of Louis M. Potts and which issued as Patent 2,403,679 on July 9, 1946. The set of coding 4 magnets used with the transmitter operate mechanical elements which combine with mechanical elements controlled from the printer keyboard to ultimately determine the position of the transmitting levers' For the printing operation 56 a second set of coding magnets are provided which control mechanical elements which combine with tl,e swords controlled from a selector magnet to ultimately determine the position of the selector vanes of the printer. 55 The code magnets for the transmitter and the receiver are controlled by suitable circuit arrangements. For particular use with this type of printing telegraph apparatus an additional circuit is provided whereby enciphered signals transmitted over an outgoing line are deciphered by the printer to print a plain Engisli- home record at the transmitting station and in which the same key tape is used for b6th enciphering and deciphering purposes. The invention may be more readily comprehended by reference to the detailed description wh,'Ch follows when read with reference to the drawings in which: Fig' 1 is a front sectional view', taken along line I-I' of Fig. 4, in section, of a keyboard con@@trolled transmitter particularly illustrating the transmitter used in the invention; Fig. 2 is a detail view of a portion of the ciphering mechanism; Fig. 3 is a schematic circuit particularly designed for use with the ciphering mechanism illustrated in Fig. 1; Fig. 4 is an end view of the keyboard controlled transmitter taken along the 14;ne 4-4' of Fig. 1; Figs' 5 and 6 are detail views of the ciphering mechanism; Pig. 7 is a chart illustrating the four possible conditions of the ciphering mechanism during an enciphering operation; Fig.@ 8 is an end,elevation of a telegraph printer with parts broken away and partly in section to illustrate the main features of the invention; Fig. 9 is a detail view of the printer ciphering mechanisms, mg. 10 is a detail view of the coding magnets and armature levers used for the printing ciphering operation taken on the line I 0- IO' of Fig. 8; Figs. 11, 12, and 13 illustrate different positions of the selector swords and ciphering bars for the printing operation; Fig. 14 is an illustration of the circuit used to control t@-e coding magnets; and Flg. 15 is a modifled form of the circuit designed for use with the inven,tion., Referringparticularly to F-igs. l@ to 6, inclusive, the portion of the first embodimert of the invention dealing with the k@eyboard controlled transmitter will be described. At the outset it will be assumed that for complete details of operation of the type of pr3nting telegraph apDaratus about to be described, reference should be had to the liatent of S. lklorton et al., already referred to, and for specific d-atails of operation of the keyboard controlled transmitter per se, ref

[2]

2,537,420 3 erence should be had to the United States patent of H. L. Krum, No. 1,595,472, dated August 10, 1926. In T@lig. I @of tt-ie zdra,,wings a icast metal base is indica@Led.,qt 2'1 upon which@-is @niounted b6th ry the keyboard transiritter and the printing apparatus with which the pres.-nt invention is concerned. The keyboard transmitter is controlled from a k-eybgard, not showii, @,*her@,ein.diepression of a key lever 22 gover-ns the position- 10 ing of the five permutation bars -Z3 housed w-fthin 'Lhe base casting 2 1, either to;the right or lef-t position. As shonvn in Fig. I the foremost @permutation bar 23 is in its leftward or marking position with the dotted line or spu4m,& "Positim @15 of permutat on bar 23 being diidica@ted @at @24. - Each permutation bar 23,carries a pair of i@i.-D-s 25 bet@@veen whic'@i is positioned a depending arm 2 6 of a selecti@-ig finger 2 7 which is pivoted -abblit the rod 23. Pivotally ffounted to. each finger 27 20 -t'2 9,,;,is a .1ink 361 wh'ch @carri-p :- -pin 3 id s-ig -,d a a 2 pif to -rid-e in @an,arcifate;si@ot 33 -for@med -.on -a transr)@itting lever 34. Each - trammittin.- 16ver -,3e, @is pivoted ion @a a@o'd 35 gnd -is @,.Of the i6onven'tional ty,pb @wherein.itcloses @an associated --cont-act --Pair 25 36 -wheii 'its !Iii-g @37 is permitted to @en-t6r a --not -ell 93 df on,assoi@igte-dt.-a-h-siritt-irig dalb 3 9. - -I-n @a-ddition to,th'o five troot-ismilti@ilg leam8 t--Ize usuo sik,th start @stop co,-ni ;IC l(@F-ig. -4) .@a-i,,id contact op@- erating lever I 9 are provided. @It miay xiow bi@ 30 see-n that,,v@ hen a tkey lev6r,2-,2 TDoves'a,,p6Tmzits,- tioii:bar to thia @right or spacir@g lposition seledt'ng finger -2.7 will pivot at 28 in @ a @couriter-clockwise direction and when a 'p@- qmutation ba-r 2@3 i8 :mov--d to ,tl-, -, -left xLn bpposite I-effzc@t lwi-11 be .95 prordur,ed. AlFo @moun'ted vVith.-n the bas-- rcastiiig 2,., :below permutation bars 21a, aTe @f-i@ve @ciphering -bats 4,1 @th,ich :ar-e .un@der the @cor@ltrdl -Z)f five @todiqg magnets 42, as will now be descrted. T-he - @cod- 40 i.ng mb;gnets.,42 cot-itrjal tb@e -posi@tion of ;as@beiqt-td ar-mati,ires -C3 -v@hidh 'are -pil@oted @at 44. Up-per exter@sions 45 of arinatures 43 tng8@@- e@'ncti2:hes;46 (if -.bars :@1,1. Zpl-ings 49 -@attached @to ai@maturos -are n-orr@'ally @effectiv-a to T-i@tain rei- 4;-) pher bats 411 in their ldft@xiard or gpac'ng P'OS'Ition. When a particular coding magnet 42 is ener,gized it v,,ill atttact :its -arme@ture 143 a;bolit i,,ts pivot @'44 @to force Its -asso@libted:-ci?phering baT 4 i to the r'ght, as shown in .1, to the tdotted lino irn@arkip-.- p@hqition indicated l@at @4,7. .@Woulited -(in each 'ci-rhering bar -4@f are @,,a pair of Pirs,48 lever 49 pivote7d,.et,-51 the free @end of vjhich i-s ne@.ted 'in -the biftircated end 52 of a. c'phering le-,7,er 53. Each -eiDh8kng le,ve-r 53 i-s piovided 0@t it-s'iX,,DgeT --end vrith a @la@t@ex-te3ldiig ;ar@r -54 @havin,@ a notch 55 aesigned to c@ooprrate Nvitlli tr@e -pin 'Z2 icarne@d -by aTm S@ @of solectirg It %s no-w s,-en, Fl-igs. 5 lalid @@6, that -,I@r cip'.h-ef inr,, btur S@l -ds ni-ove'd tto its ri.ght, in response to a rr, arkin.& -.inil),tilse ree-ai@ved b-y lt8 as@@o6ia;t@ed cod@e -rna,,,n6t @4'@). @lever 4,Q 'will pivot in a clon-kw'sg dir@ttign @thiE@,eby pi7dting dipheri@-ilg le@vp-r 33 ii-i - 9, 'cotititerol-ockwise -position. If, howev,-r, its as,.,o@c@ia@todcoae,-Magnet 4-2 reueive-s @e, spacing or non-6nergi.@i@,ig impulse, eipheriil,g 16ver 153,kvill be @,.- eitaiii:ed in a clockwise Po@gitiotl,-Fig.@2. P,r-oYn!the -.-foregoing,descriptic,-@i it'is @evicl.ent by an ingP,66ticfn of F g. 7 'that unlike conditi-ons Of 70 PiM 32 Oatrilld b5, selecting 'fingers @27 -With@regper,t tto @tli-, 'notches @55 ;of 'arms Z4:of ciphering levers :53 Per'@rdt associ@ited t i@ca-q8rn-itt-in,@ lovars @',44 -to pivot at 35 vzhen its lug 37 -is allowed to@onter@nutch'@'38 of @.qn assoe'ate@d:4@arn "&a -as -cain 75 4 sleeve 56 is released for rotation, as will be explained. This results in a transmission of a marking or current impulse. On the other hand, it is ev,@deiit -that -like conditions o-f - sel@ec@',ing fingers 27 and tipheri@ng levers'53 ellable Prrn 54 to ',-lock upward movement of pin 32, thereby resulting in transmission of a spaciilg or no current imPulse. @W-ith pa-rticiiiar reference to F.'g. 3, the circuit for operation of coding magnets 42 willnow be deseffbed. W..hen -it is des-ired to perform a %c,ipherdng operatio--,i manual switch 61 is moved 'to the left inits c--phering position as illustrated in Fig. 3. This Gperation causes extinguishment of gmen slglla;l @lamp,62 and illui.-ination of red sio@@ffal lamp OS bver obvious circuits to indicate tha:t -a,cipher@ing operation is taking place. The code magnets -4@2 are controlled by means of a ke-Y ta'pe "64, which is sensed by sensing levers 65 which control transmitting levers 66 to thereby roparate @associated cont-9,@@t-pa'rs .67 in trie usual manner. Si-nee -then is no @codiiag perrnut-atio-Ti sat up by the mag.,@iets '42 at -the corrimencew-elit of :a ciphering @operation, the -first signal -transmitted will!be aplain,r,,- liglish signq@l which forms no'-part of:th@e,me,,sage and,.is transm'tted sblely to condition the ciphering mechailisms far subs@,o-aent oparations. W-hen this signal is - serit, r--',T-crenca to,-F@ig. 7 v@i-11 tshow tl-iect -selecll@ng finger 27 and pin 32 thereon will.,perform its nor-Tiial;.funct'or si-nee as sho,@dn - at A @a:nd B @in Fig. 7, aill ciphering levers will ibe in tho,-,r spacing positions as no code ma;gnets are ("nergized. In other words, a plain Engl'sh sig-.,nal will be transmitted. Wlien the f-irst -sigml :is 'selit -by -@operat-ion of the keyboard, -s-leeve 56 is released by a sirlgle revoliition elutch @in -t-he conventional r@ianner. When this:oc'curs, locking lever -96 will -pivot -at 97'under influence cif -spring 89 in a @counterclo:ckwise'direct-ion:and by,..means -of:its blade -.98 block movement of selecting fingers:.27 ar@d cipheri@.ig levers 5'3 through cgo-peration with lugs 60 -carried "by selectingfingers 27 and with lugs 69 carried!by -arms 54,of ciphetip.@ levers '63. At this time:a-pex 57 df cain,5-8 ino@@s in a countei,--Ic)ck@ miise @diredti(in, as -,viewed in P,ig. 1, and fbnower 69 - carried by lockino, -lelver @(,16 drops to ti-le low par-t Gf the @cam. Th-us, during tran@,1,r.,iss4.on :of the.signal by the -geque-ntial'operation o'l 'co@-,itact pairs 36, t@@electing fingers @ZT @8und cil@'.qering levers 53 ar, e -Ilgld I stauionelry. It ghould be -.re:,aeriabered that -in -a 'k-eyboard transrr , itter of the'type d-isel-asad in -the present:invention the permutation bars i 3 @,qre @et inin@ ediately upon detiresfion bf @2 a,'Iwy:prior to the opeTE@tion of lockina levor @96 gnd:.q 8indle revoluticrn clutch ncit sho.@vn is opereued which r46leases C.@m sleeve 50 for a siiigle riLlIvointion. Sirnultaneovsly with the op,,ration of loc',@:in.lever @O'S, -coiita;ct @pair 71 rqounted with an insulating .portion @7u2 of blade -@3 theredf resting on lockin.- lever 98, are closed and in so closing ass@-st locking levier 06 -in its couyiterclockviise @i-votal.,.nlovei.qent, 8ince normaliy in the l@est position of m-,7i 53 the 'Ioxfger blade 73 :of th,- :colltact pa;ir I'l -Is -undior Unsioii. '@ciositre df;contact pair 71 pro,,,ides an ob-violis citeiidt ifor cliftch nia;gnet 7'4 -vvhich becom-es epar-gized and whloh coiitr-ols a cotiventional -,ingle r-evolution, 01,Lit'ch,no-t 'shovtn, and thereby relea,,es mrn -sl456,ve T5 for a giiigle rotation. Five cams 76 fi'- Xe@d to 'mm -81:e@e'v-. 7Z -'Dre each Out @@Tith a -notoh 7-,7'at.,apo:gition timedapproxiirately with the -No. 3 impulse of the keyboard transrnitter. Asixth

[3]

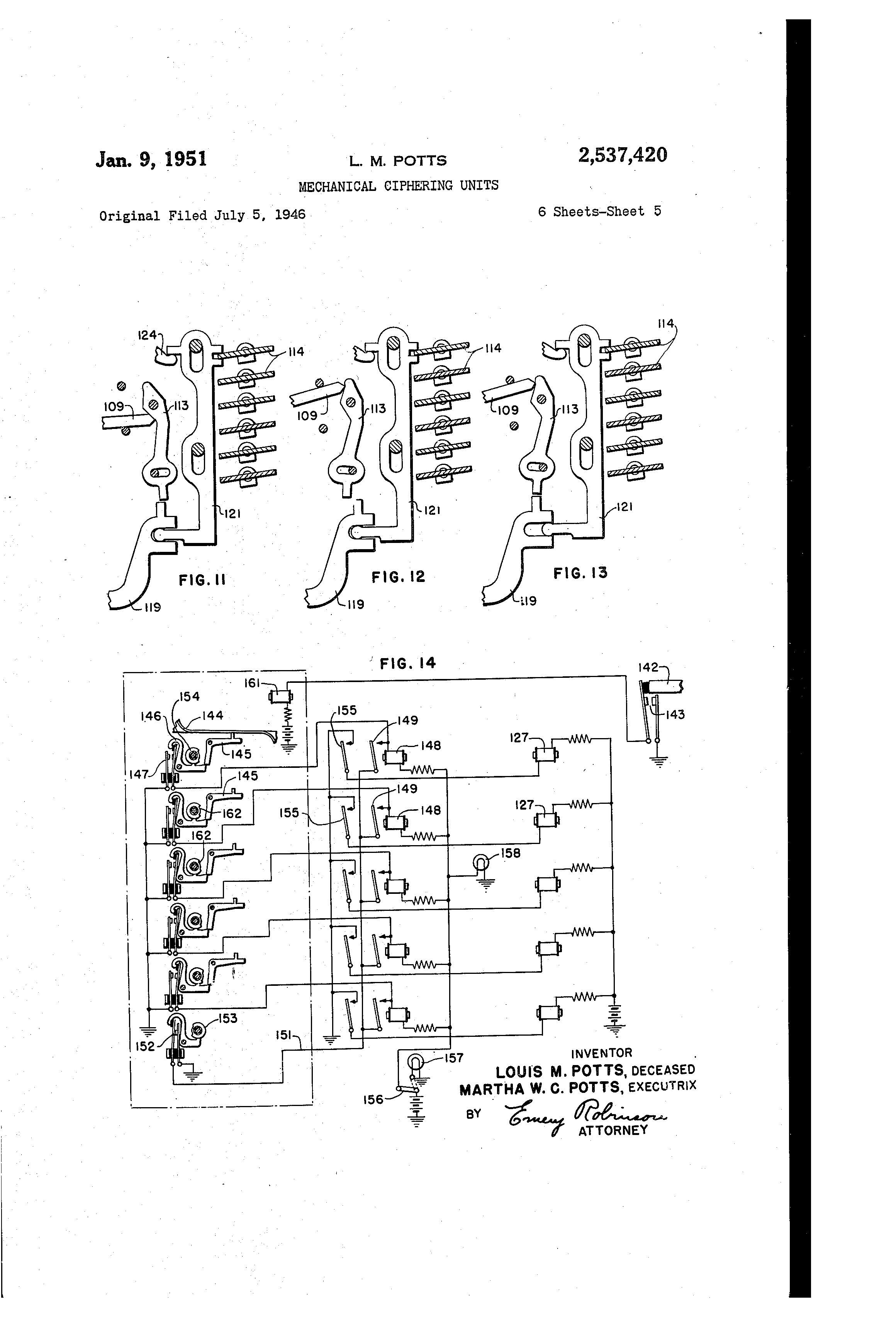
cam 78 is also provided vthich is cut with a notch 79a corresponding approximately to the No' @ 2 inipulse of the.keyboard transmitter. The function of the sixth cam 78 is to control the locking circuit for the transfer relays 79 which initially become energized by closure of selected c6ntact Pairs 67 depending on the key signals afforded by key tape 64. This iiiitial circuit extends froi-.i battery, through switch 6 1, through the winding of relay 79, over conductor 81, through closed contact pair 67 and over conductor 82 to ground@ When front armatlre 83 is pulled up by @elay 79 an obvious locking eircr@it is provided eytending over conductor 84 and through closed contact pqir 85. Operation of back armature 86 of a particular relay 79 is effective to provide an obvious eiro,uit over conductor 87 for energizing coding magnets 42. I When cam sleeve 75 is released for rotation upon energization of clu.-tch ma,-net 74, cam 78 will futictibn approximately during the No. 2 irnpulc,e of the keyboard tiansmitter to opeii contact pair 85, de-energizing transfer r.-lays 79 by breaking the above described locking circuits and causing therev7ith de-e-nergiza@tion of coding magnets 42 and erasure of key signals 'stored thereiii. However, as a-Iready pointed out, no coding magnets 42 are energized during the@transmission of the first signal but for subqequent signals opeiling of contact pair 85,will produce the desired result,s. Immediately followin.,- the opening and closing of contact pair 85, selected sensing.levers 65 which are senqing perforations in tape 64 allow their associated transrnitting levers 66 to close contact pairs 67. This enables the ene-rgization of coding magnets 42 according t6 tl-e first key signal. Ciphering bar@ 41 may move t6 their selected positions as locking lever 9(i is raived by the follower 59 when the rest positi.on 6f sleeve 56 isapproached. When the opera+,or depresses a key t6 send the first enciphered signal, a key signal will have been stored in coding niagnets 42 and cipheri @ n. bars 41 will have been set accordingly. I The depres@ion of tl-ie key Nvill immediately shift perinu-tation bars 23 in accordance with the original signal. The locking lever 96 will now lock the selecting fingers 27 and the ciphering levers 53 during transmission of an enciphered signal to an o'Litgoins,- line' The operatioln of 'Gransmitting levers 34 will of course be determined by the j,oint control exercised byselec@'@ing fingers 27 and. eiphering levers 53, as graphically represented in Fig. 7, hi).s ensuring the transmission of an enciphered code signal. With particular reference to Figs. 8 to 14, inclusive' the printer ciphering mecl-.anism used for d-,Clphering ircoming signals trans-@ni-tted by a keyboard trans@-nitter, such as disel6sed in Fig. 1, will now be described. Numeral IO 1 indicates generally the printing 'portion of a combined printing tele-.raph apparatus similar to 'tlie apparatus disclosed in the ratent of S. Morton et al. referred to above. , In this type Gf printing apparatus, inconling signal!z.,are received by a selector magnet 102 which opera-tes an armature I 03 ir@). accordance with recei@ed signal,-, which in the instant case are enciphered signals being received from a distant station, CoT-inect6d -,vith arryiature 103 is an armature extension 104 whose arips 105 and 106 are designed to c6operate re,-pectively ivith arms . 1.07 and I 08 bf fiie swords 109. In eacho-oeration of the swords they are moved back and arms 107 or. 108 resdectively en2,537,420 6 104 accofding to incoming signals, r@esiilting in th6 ghifting of the swords 'to either their,rn-arking or spacing position so that on@ the fgrward irovement thereof the pointed end of the svi6rd will engage eitl-ier surf ace . I I I or I 1 2 of levers II S. The reciprocation Of tlio swords 109 is accomplished by means of a cam sleeve, not shown, which is controlled by a conventi-onal single revolution clutch. This type of selector@ is well lo known in the art and its operatio-Ti is con-ipletely disclosed in-the Morton et al. patent. Ordinarily swords 109 cbntrol the operation of the printer select6r vanes 114 by means of a series of T-levers not shown in the present inven15 tion since the type of printing telegraph appar.@itus herein disclosed is designed for performing deciphering ope@rations in addition to operating to receive plain English signals. Levers I i 3 which are pivoted at I I 0,.. and have a lim20 ited movement afforded by the pin I I 5 al'id slots 116, have a projecti-rig end 117 designed to cooperate with a projectilng end II 8 of ciphering slides 119. Therelativepositionsoftheprojectingends @i 17 and 11 8 will determine whether a vertical 2.5 slide J21 which has a rounded arm 122 in e-,igagement with slot 123 6f cipherin slides fig will be permitted t6 move up, when the v , anes II 4 are not locked, by bell cranks 12 4 plv6ted at 125 and normally urged in a counterclockwise di30 rection by s@rings 126. The positi6rs of slides I I I 9 are governed by 6perati6n of armatures 12 Gd of key coding magnets 127 to which they are piv6tally attachi@d at 128. Armatures 128a are-normally urged in a clockwise direction as viewed .15 in -Mg. 8 about shaft 129 by springs 150. Articulated to each vertical slide 121 by bifvreation 120 are the vanes 114 which are normally in their spacing position but Divot t6 @a el6ekwise or marking position vjhen an associated slide 121 is per io mitted to move upward. it should be mentioned at this time for the sake of clarity that the normal,positi6n of the slides 119 to the left is the spacing position while the p6sition to the right is I the marking condiuion. Likewise, the position of ,5 levers 113 to the right is the niarkipg position *hile the position to the left is the spacing position@ When a nonblocking or marking condition exists with respect to prbjectiops I 1 7 and I I 3, slides 121 will be enabled to move up, thereby acttiating - associated vanes II 4 to their marl@:ing positions. If like or.-blocking conditi6ns exist, betw-,en projections I 1 7 and I I 8 it is a-oparent that slides 121 will not be able to move up and the associated vanes 1 f4 will remain in their '@5 spacin g positio n. These blocki ng and nonblo cking conditi ons are illustra ted in Figs. 8 and 11 to 13. For controlling the ciphering 6peration the printing ca-m 131 mounted 6n sleeve 132 (Fig@ 9) fz( is Litilized@ Printing cam 131 isa stqr@dard part of printipg telegraph appgratus of this type and controls the operation of the pririting bail, not shown, which operates a selected pull bar also not shown, the selection of which is controlled c5 bY the printing vanes II 4. In the path of the high part of printing earn 131 is normally positioned-a follower 133 carried by lever 134 which is pivoted near its rear-extremi-ty ot 135. The front end of lever 134 is slotted at 136 whereat 70 it is engaged by a pin 137 supi3orted on a Tshaped lever I SB ivhich includes a bail 141 whiel-i overlies arms 122 of the vertical slides 121. Tshaped lever 138 is normally urged in a clockwise direction as viewed in Fig. @8 by means of spring gage either arm 105 or 106@of armature extension 75 163. The T-shaped lever 138 is pivotally con-

[4]

7 nected at @l@4 la to a rearwaxcuy lexte nding lever 1.42, the rearward extremity of - .which norma@lly holds -a -coiitact @pair 1 43 in its open position. The circuit @shown in Fig. 14 ;for controlling the operation of coding magnets -1@27 wUl now be described. For deciphering incoming signals, a key tape 144 is provided which is ident-ical with the key tape at the transmitting -stationand occ,,Lipies the same relative position. T@o senseperforations in tape 144 a series of tape tsensing levers 145 are provided which control the-operation @of transmitting levers 146 in the - usualmanner to -permit coiitact pairs @147 to close orremai-n open-de.pending - uponthe -permutatiGn@afforded@in key -tape @144. W,hen -a pattioula-r -sensing lever -@l 4 5 -.-moves. into a per-foration Olow-ing closure @of a contact :pair 147 a --circuit is;made for an @assoeia-ted trarisfer relay 148. Attraction -of front :armatu-re 149 prov.,ides an @obvious locking @citcuit for transf-er magnet 9-48 -ex-tending over common conductor 1,51 @and through contactpair !I 52 -which is ;under the,Acontrol of a @sixth icam --I 53 notched 2apprommately for operation du-ring receipt of the No. 2 element or impulse by -the receiving@ selector magnet 102. The five -transmitting carns 1-.54 -which control contact pairs 1.47 are notched app-roximately for o per-ation;during -Tecet-pt -of the No. 4 el,-rp--.nt or impulse by selector -inagnet 127. Wheii @armature iIB5,of transfer - relay :148 @is attracted an obvious circuit is -,provided for its associated -coding mag@net 12.7. In order that the inventi.on May @be -@properly understood a ty-pical deciphering - opera-tion,wi.11 now be described. At -the commencement Of the deciphering - operation by -prearrangement With the transmitting station, manual switch 156 w.il,l be -moved to -the left -which extinguishes the green @signal lamp 1,57 -and illuminates the red signal.lamp .1 58 indicating @a -deciphering OPerRtion is taking place. ,It will be -recalled that @to @start the -,keyboard tra,-ismitter disclosed ,in -Fig. I into Gperation a plain English signal -forming no,part,,ofthemessage is transmitted @over the line. This plain ,Engl.ish @signal -has @the addi-tional -f-unct-ion of conditio.,iing the -printer foT subsequent @deciphering operations. W@hen this -iirst @signa@l -is Teceived by -selector magnet l@0,2, swords I 09 w-ill @be positioned according to -the -sig-nal @code 't@@ombination received. Towards the end of the Te@volution of the cam -sleeve, not shown, controlli-ng the swords 1109, ca-m sleeve 132 will be -- released by @operatio-T@i of its -clilteh -.t-hrowoUt @levbr ;J,&o which is under the - control of the sword cam sleeve. Upon the first release eof @cam .-sleeve f@3,2, printing bail cam 131 rotates and its high,,Iaart engages follower 133 of lever -f34 which,..now:pivots about its pivot I 3 5 -in -a clookwise @ditedtion, a@nd @+)hrough the -,engagement @(yf -its -slot ;ISO with Pil-I l@87 carried :by T-l-,ver -138, @pivots 'T-lever 1.38 in a counterclockwise direction, @iifting the bc,.-i,l i.Z-1 -from holding@engagement with arms rIZ2 of vertical shdes il@2-1. Seleoted vertical Tslides 71;2@l vvil-1 iiow@move up through operatioa of -bell cranks 12-4 by their @springs 1,2-G.and c!perate vanes -14@4 accordiligly. Inthis@connectionitshouldbe-.- reInembered that at -the commencement of @a diphering operation all ciphering - slides .f la -.are @in t-.ieir leftward or spacing -,position, in -which positioii levers -i 13 will be set to permit plain English signal code @combinations to be transferred-.to the vanes I 1 4. Shortly after the vanes l@l@4 la-re set -f-or,the -signal code -combi,@ii.ation, the - fundtion 'bail, -not 9,5S7i4'20 8 shdwn, locks the Tanes during th-e printing operntion. -The function bail is fgontrolled by a funct-io-n bail -cam 1:53 (Fig.:9.) which is rnouiited upon the cam @sleeve 132. In the lotter part,of r the xevoiiition of cam sleeve 132, after theprint,- ing operation is performed, vanes 11:4 are again uhlocked, but at this time bail 141 of T@lever I 38 is prepared to assume 'a position resting on arms 122 bf vertical slides 121 holding the vertical l@o slides 12@i in their downward position. This is due to the fact that in the latter Part of the revolution of printing @bail -cam 131, a low part tliereof is presented to the follower 133 of arm 134 @and spring 163 therefore functions to pivot @, 5 T-lever 138 in -a clockwise direction. It should be remembered that v7hile cam sleeve @132 is rotating, a new signal or the first enciphered signal is being received by selector magnet 102 and the swords 109 are being set to anew 20 POSitiOn. At -tliis time '.evers 113 may not be able 'to move to their new Pcsitioli d-Lie to the fact that the vanes may be locked and bail .1;41 of T-lever 138 is i-n -its upw,@ird -positio-ii, permitting some projections !I 17 and I;I-B to biock each 25 other. However, since swords @109 reciproca-fe and pi7vot in each cycle of the operation, i.n their backward stroke theywill acquire their new setting and in their for;ward move,-nent rest against either :surf ace ii I I -or @surf ace I 1 2 of levers I I 3. 30 When vanes 1.1 4 @are unlocked and bail @ 41 rno-@ies to its downviald position upon the second release of,cam sleeve 432 the swords -109 may now position levers 1:1:3 in accordance with the first enciphered sigrial. Therefore, by reason of the 35 locking of the vanes 114 @and operatio-n of bail @141 a new character may be selected while -the previous character:is being printed, thus providiilg a signal -c,.verlap arrangerrent as is usuq..! this type of printing telegraph app,@iratus. 40 As cam sleeve 132 started to rotate, towords the -end of the -reception of the first or pla-'ji English signal by selector magnet 102, T-lever 138 was pivoted in a counterelockviise di,-ection thereby moving the rearwardly extending lever -1 42 to the right permitting elrsure of contact pair 143. This,providesanobviouscircuitforaclutch magnet 161 (Fig. 14) which causes opem, tion i.)f a, single revolution clutch, not s-@-iown, releasing cam sleeve 162 for operation. It should be borne 50 in m-ind that at this time the second signal ')r first enciphered signal code is being set up by swords 109 as explained. Approxirnately during reception of the No. -2 impulse by selector magnet 1-02 cam :1,53 will -open contact pair 1:52 breakin@., 55 the locking circuit extending over conductor ;15,1 for tra-nsfer i,elays 148. However, since none of the -relays 1-48 are energized during reception of the first or plain;English signal iio c-rcuit is actually btoken but on subsequent operat4oiis preoo vious signal -code combinations stored ir. transfer relays 1-48 will Le erased and cause a corresponcling erasure of the signals stored in coding magnets 127. Approximat.Ily duri@ng reception of the No. 4 impulse by selector magnet N'02 sensing 65 levers 145 will feel for -perforat;ons in tl-ie key tape 144:set to the same position on the ident3cal key tape at the transmitting station and accordingly contact pairs i 47 will be permitted by ca.- @is 854 to close in the permutation afforded by the 70 key tape 144 :e@t -this .,time. Selected transfer relays 148 will thus be @energized and immed-lately lock up -since cgntact pair 152 is again closed at this time. As selected code magnets 1-27 are energized at tl-iis tirne they :attract armatu.-e 75 levers @1.2,6a.-in a -,-counterelockwise: direction -about

[5]

2,537.490 9 the rod 129, thereby tending to move associated i3iphering slides I I 9 to the right or marking position. Since the vanes II 4 are unlocked approxiinately during the receipt of the No. 4 impul8e by sel6ctor magnet 102 while the tape gensing op- 5 eration is being perfor-.rned, selected slides 11 19 miiy be temporarilyrestrained@from operation depending on the exact timing if their projections I IO interfere with the proje6tions 117 of levers 113. However, as soorl as the vane@ 114 are unlocked 10 slides 119 may move to the right since coding magnet 127 at this time remains energized. Towards the end of ;the second revolution of the cam sleeve which controls swords 109,@ carq operates against follower 133 of lever 134 to .thereby 'pivot T-lever 13@ in a counterelockwi@e directiorl removing bail 141 from the path of arins 122 of selected vertical slidos 121 permitting them to assume their upward position. Sho-rtly there- 20 after, the vanes 114 are locked and retained in their locking position during the printing operation in which a deciphered plain English signal will be printed. The deci-phering operations will continue in the same manner for the remainiilg 25 PortiG.n of the niessage. In the just described form of the invention for accomplishing key coding bperation two key cod;. ing devices are eiriployed i-n the form of key tape , o,ne being used for enciphering or transmitting 30 purposes and the other being @employed for de-@ cii@nering or r(@ceiving purposes. In a modification of the invention therle is provided a @control cirelii,b whereby a single key ciphering device i-n the form cf a key tape sensing mechanism'may be 35 used for both enciphering, and deciphering operations. With reference particularly to Fig. 15 of the drawings this modi:f@cation will now be described. Numeral 165 tepresents a local station which 40 includes a combined keyboard transrnitter 166 and printing receiver IO 1 while a distant station is represented as numeral 168 and includes a combined keyboard transmitter 169 and printing receiver 170. This type of printing telegraph apparatus is disclosed in the S. Morton et al. patent previously referred to above It is understood tl-iat in addition to the standard printing telegraph equipment @ each station will be equipped Nvith identical key-coding devices. By 6o this modification of the invention a transmitting station will send enciphered signals to an outgoing line which will be repeated in the receiving circuit of the transmitting station and deciphered tb thereby print a plain English home record. ti5 A key ciphering tape is represented by numeral 171 and controls tlie selective operation of s--nSing levers 172 which goverli the operation of tral'ismittin@@ levers 173 and is thereby effective to permutatively regulate the elbsure of asso- 6o ciatcd contact pairs 174 in accordance with key edde signals. For enabling the permi-ssive operation of transraitting levers 173, there are pro'ded tl vi -le us-aal trarismiteing cams 175 which in this instance are all notched at 176 @for approxi- 65 r.iately the No. 5 impulse position and are mounted upon the cam sleeve 177. Cam sleeve- 177 is under the cbntrol of clutch magnet 178 which releases a conventional single revolution clutch, .not shown, upon closure of contact pair 1,60 when 70 clutch throwout lever 130 which releases cam sleeve 13 2 (TIigs. 8 and 9) -is operated. The closure of selected contact pairs 174 enables the selective op@ration of primary storage relays 189 according to, key signals under certain,,@eircuit 7,r) 10 condit - ions to be later described. The primary storage relays 180 selectively govern the operation of 'double wound relays 179 and 181, which respectively control the energization of selected transmitter coding magnets 182 and selected receiver coding magnets 183.. In addition to the five transmitting cams 175 there 6re provided on cam sleeve 177, cams 184, 185,@ and 186 which respectively control make before break contacts 187, 188,: and contact, pair 189 by means of levers @191, 192, and 193, respeetively. Cam 184. is liotched at 194 to correspond aijproximately with the start impulse position of the cam sleeve 177@@ cam 185 is siinilarly notched 196 is similarly iiotched at 196 for the No. 3 im@pulse PO sitio.-i. These so called impulse positions 'represent @ positions in the kotation of the cam sleeve 177 which correspond t6 the Lisual five posi@ tions and start-stop positions of the Baudot code., Wheii sensing levers 172 sense perforations in the key tape 171, selected contact pairs 174 will be closed energizing selected primary relays 180 over conductors 194 under certain operating conditions which will later appear. When a pri. mary relay 180 is energized a locking circuit therefor is provided through attracted armature 495, OVer coriductor 496 and through contact pair 189 controlled by cam 186. ALtraction of armature 197 by a primary relay i80 prepares a circuit, for transferring a selection from a primary relay 180 to double wound relay 179, when the normally open pair of the make before break contacts 187 are closed, over conduct6rs 198, through armature 197, over conductor 199 an'd through the left winding of double wound relay 17 9. Energization of a double wound relay, 179 causes the transfer of the selection to an associated transmitter coding magnet 182 -by attraction of armature 205 while attraction of its armature ;206 provides a locking circuit for double wound relay i 79 extending through its right @ ding, thi ough I armature 2 06, over cond win uctor 207 and through the normally closed contact pair of the make before break contacts 187. Attrlaction of armature 208 by a primary relay 180 prepares a circuit for 'Lransferring a selection from a primary relay -ISO to a double wound relay 18 1, @vhen the normally open pair of the make@ before break contacts i 88 are closed, over a conductor 209, through armature 208, over a conductor 211 and through the right windit-lg of double wound relay 181. Attraction of armatture 212 by a double wound relay 131 transfers a selection to associated printer receiving coding magnets 183 while a I ttraction of its armature 213 ]>rovides a locking circuit for double wound relay 181 extending through its left winding, t,irough armature 213, over conductor 214 and through tne normally closed contact pair of the make before break contacts 188. To facilitate a ready understanding of this modification of'the invention, a descripl-ion of a typic ' al ciphering operation will now be undertaken@ @At the cornmencement of ciphering operations manual switch 214 is mbved to the left extinguishiiig green signal lamp 215 and illuminating red signal lamp 216, over obvious circuits and indicating that a ciphering operation is taking place. In order to condition both the local station 165 and distant station 168 for ciphering operations t,@ro plain English signals chosen at random are first transmitted vthich form no part of the message proper. It is necessdry that these two plain English signals be transmitted in order .sleeve 132 is r,-leased for operation, cam 131 15 at 195 for the No. 2 impulse position, and cam

[6]

91,537.420 that the control circuit. be conditioned to afford key ciphering signal- code combinations for both the transmitter and re@,eiver at a g-iven station. All signals sen-t (Yver the line 213 to distant sta,tion. i,Ua will be repeated by the selector magnet 5 102 at the local station and, printed. after being deci.phered by the receiver I 0@l. Upon the transmission of the first plain. English signal,, cam sleeve t3,Z (Fig. 9) is released as explained by operation of clutch throwout lever l@t) 130 which immed@iately results, in the closure of contact pair 160@, pro-viding; an energizing circuit for cliitch magnet 178. extending over cond!ictor 1!90, thereby releasing cam sleeve 171. When cam sleeve 177 is released, make before- break i contac.t i 8 7 operates to erasei the previous selection existing in code magne-ts,, 182 during. the, start interval. of cam sleeve 1,7T by opening tie locking circuit for double wound relays 1-79, thereby causing de-energizat'@On of the. associated code 20 magnets 182. However, during the first @evolution of cam sleeve 177 no coding magnets, 1.8-2 are yet energized. When make before break contact i87 operates to erase the selection previ@ ously existing in code, magnets 182, it,.also func25 tions to acquire a new selection for the code magr nets 102 from primar-y storage relays C80 but again it must be remembered that at this tme@ no primary relays 180 are yet energized. Make be@ fore break contacts. 188 iunction in the same ,3 0 manner as contacts 187 but during the No. 2 impulse period of cam sleeve 17'.7. During the ITo. 3 impulse period, contact pair 189 opens to erase the selection existing (if one had existed) on primary relays 130 by breaking its locking circuit. 35 When cam sleeve 171 reaches its No. 5 position as the sensing levers 172 operate, the first ciphering selection will now be acquired for primary storage relays 1.80. When the second plain English character is 40 transmitted, contact pair 160 will be closed by clutch throwout lever 130 as described - releasing cam sleeve 177 for its second revol'ution, Dur.- ing the start impulse,, make before break contacts 187 operate as before. but now enable the double 45 wound relays 179 to acquire the selection, existing in, primary, storage, relays. 1.80. and transfer the first key ciphering selection to transmitter coding magnets 182 which IOCI@ up; as. previously described. Make before break coi@tacts 188 wiil 50 Perform a similar function for receiver code magnets 183 duriiig the No. 2 ]@eri6d of opera@ tion of cam sleeve. ITT. During the No., 3 period, contact pair 1.89 will open to erase the - selection existing in the primary relays 180, which will acquire the second ciphering selection from key tape 171 when cams, I 75 reach the No. 5 posi@ tion as tape sensing levers 172, operate. Now when the keyboard, transmitter 166 is operated a third time, ciphering bars 41 (,Fig. 1.) 60 will have been set to the positions representative of the first key ciphering signal and accordingly the first enciphered signal will, be transnuttedi Likewise ciphering sI ides I IS (Fig., 8) wil-lbave been set to positions representative of the fir@t 6.,5 key signal an@d recaiver 101 viill function to decipher the, f-irst enciphered signal repeated, by. selector magnet 102 to print the character in, plain English form. As cam sleeve 177 is released for the third time it should be mentionedthat the make before break cpntact 188, p, time!i to operate after the printing, vanes lock, to- in@., sure that the sa'me key signal used for enciphering will be, used for deciphering. The@ cycles of operation described. will, now be @ repeated, as @,a -12 the remaimng portion, of the ciphering operation proceeds. It is obvious from an inspection Gf th& circuit shown. iii Fig. 15 that the@ciphpring system may- be. operated in, either direction of tr-ansmission, with- the identical key tape at each station, occupying the: same positions, Various changes and modifications ma-y be made. in the above described invention without a- departure from the- spirit and. scope- of, the,@ iixvention as defined in-. the follow-ing

Как компенсировать расходы
на инновационную разработку
Похожие патенты