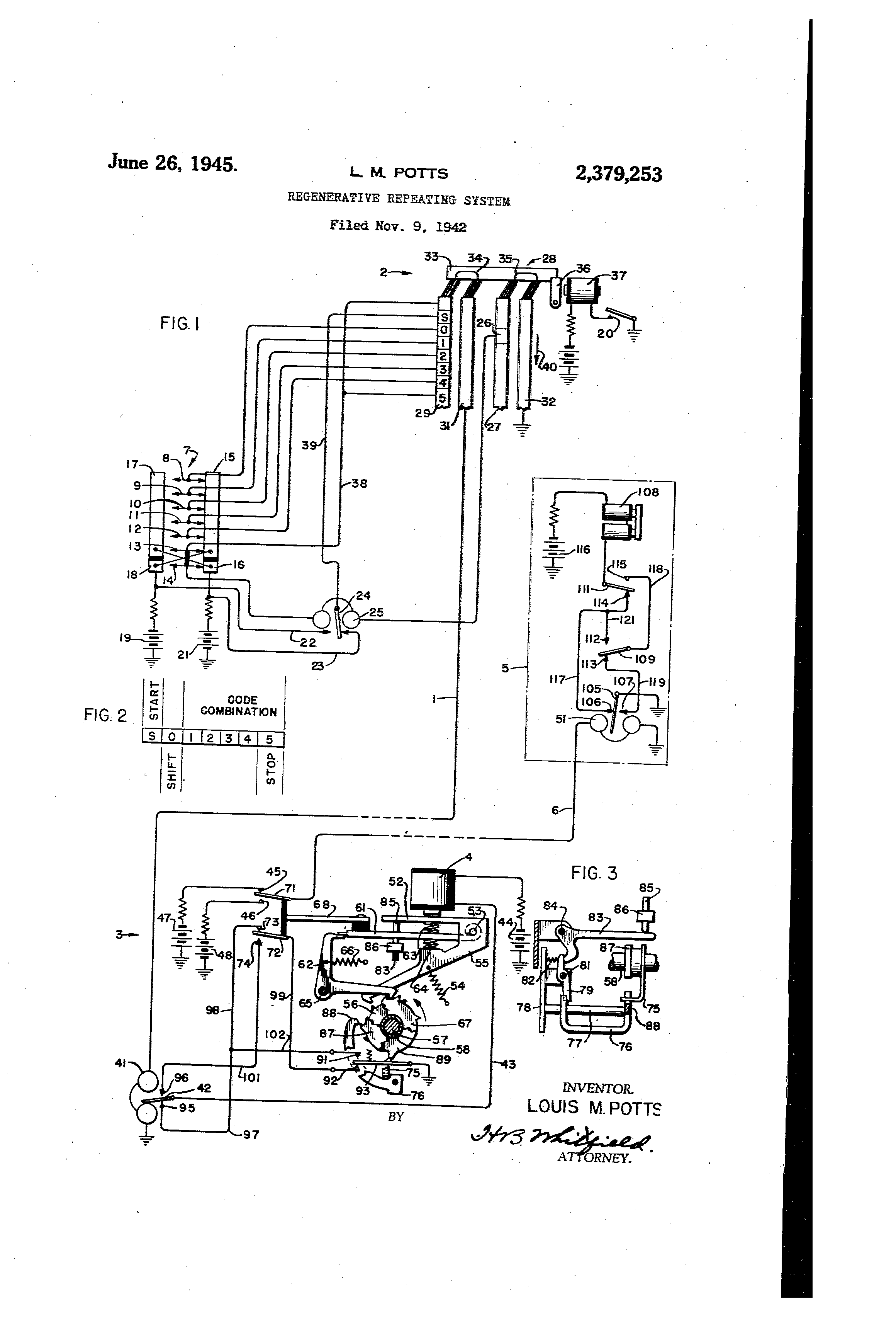
claimed is: 1. In a telegraph repeater, a magnet respon- 30 sive to current impulses for releasing a@ timing cam sleeve for rotation, a contact meinber for retransmitting a received signal, an armature controlled by a received signal, a spring tensioned by said armature and acting to urge said contact 3,5 member to an alternative position, a locking member restraining said contact member, said timing cam sleeve operating said locking member to release said contact membet to control the timing of a retransmitted signal, a receiving line 40 relay having an armature responsive to alternative line current conditions, two electrical circuits including said line relay armature and said magnet, a principal switch effective in response to the final impulse of a series of impulses com- 45 prising a signal to prepare one or the other of said two circuits to said magnet, and a shunting switch effective during certain other intervais only of said series of impulses for shunting one of said circuits. 0 2. In a telegraphic repeating device, a contact rnember for retransmitting a received signal, an armature controlled by a received signal, a spring tensioned by said armature and acting to urge said contact member to an alternative position, 55 a locking r-qember restraining said contact member, a tiriling cam operating said locking member to release said contact member to control timing of a retransmitted signal, a receiving line relay having an armature responsive to a lternative 60 line current conditions, two electrical circuits including said line relay armature and said magnet, a principal switch responsive to the final impulse of a series of impulses comprising a signal to j@repare one or the other of said two circuits 65 to said rnagnet, and a shunting switch effective during certain other intervals only of said series of impulses for shunting one of said circuits. 3. In a telegraph repeating apparatus, a signal controlled magnet, a line relay having an arina- 70 ture responsive altematively in accordance with two different received line signal impulse conditions, a pair of electrical circuits communicable with said line relay armature for establishing Qonnection with said receiving magnet, a con- 7t; 7' tactox effective iin accordance with the @ response@ of said magnet to said line signal impulse @conditions. for selecting one, or the other of said two circuits, means for tiniing the operation,of sa@ld contactor,.and means effective during an initial, period of each signal for shunting. one of said, circuits to render said magnet normally-respon-, sive-to only one of said line signal con(litions, said@ mea ns.effective,during a final period of each signal to render, said magnet responsive to either: line signal condition, wlaereby said magnet -will invar@iably be rendered unenergized, in response to the next contiguous impwse irrespective:of its line condition. 4, In a telegraph repeating, apparatus, a signal co@i;olled magnet, an armature for said mggnet, retransmitting contacts, centralized mear@s associated.with said arniature and responsive thereto f or @operating said, contacts to eff ect the regen-. eration. of repeated signals means. for,assisting said..armature, means for tirning the response of said centralized means to @ the @movements of said armature, a, polar line, relay.. responsive . tQ alterriative line current conditions,. said@, relay., having an armature, two electrical circults@ connecting said line relay armature with said mag7-, net, a principal switch carried by said centrahzed@ meELns.responsive to the final impulse of a,series of @impulses@comprising a signal for preparing. one of said two. circuit paths to- said, magliet, and a shunting switch effective during certain, other@ intervals only of. said series of impulses for. shunting one of said circuits. 5. In a telegraph repeating apparatus, a signa controlled magnet, an armature for said magnet, retransmitting contacts, centrahzed means associated with said armature and responsive thereto for operating said con-tacts to effect the regeneration of repeated signals, a cani assembly, a cam iii said assembly effective for assigting said armatuxe, a further cam in said assem bly for timing ithe response of said centralized means to the movements of said armature, a line relay responsiv6 to alternative line current conditions, said relay having an armature, two electrical circuits connecting said line relay arinature with said magnet, a principal switch carried by said centralized means for selectively pi:eparing said circuit paths to said magnet, and a shunting switch controlled by a cam in said assembly effective during ceitain signaling interval-s for shunting one of said circuits. 6. In a regenerative repeater, signal timing meons quiescent during nonsignalling periods, nieans to ir.Li-tiate said means into operation at the be.-inning of each signal, a magnet to control the initiating means, a plurality of energizing circuits for said magnet, a principal switch for selertively preparing said circuit paths to said magnet, and a shunting switch controlled by so@id signal timing means effective during certain signaling intervals for shunting onp. of said circuits. 7. In a telegraph system, means to itransmit equal length permutation start-stop code signals, timing cams started into rot@,tion at the beginning of each signal, signal retransmitting means timed in operation by said timing cams, means governed by said timing cams to control the spacing or marking nature of each element of the signal by the nature of the corresponding element of said original signals, means to stop the, ma@tion of the timing cams at the end of a signal independent of the nature of the line current,. aiid means controlled by certain of said cams to 2,879,253 restart said tiining cams only when the nature tionary characteristics, 9L magnet to control the of the line current changes. initiating means, a plurality of energizing cir8. In a regenerative repeater, a line relay recuits for said magnet, and switching means consponsive to incoming signals, means to simultrolled by certain of said cams to determine the taneously generate two sets of signals under conenergizing circuit for said magnet. trol of said line relay comprisirig a plurality of zi 11. In a telegraph system, means to transmit pairs of contacts, contact operating means thereequal length permutation start-stop code signals, for, and signal controlled means for controlling each signal comprising at least one impulse elethe operation of said contact operating means, ment having dual functionary characteristics, a and means comprising a shunting switch also 10, cam means started into operation at the begincontrolled by said signal controlled means to invert some only of the elements in one of the sets of signals. 9. In a regenerative repeater, a line relay responsive to incoming signals, means to si-rnultaneously generate two sets of permutation code isignals under control of said hne relay comprising a plurality of pairs of contacts, contact operating means therefor, and signal controlled means fOr controlling the operation of said contact operating means whereby at least one of the elements of one of said sets of signals@ is adapted - to control dual functions, and means comprising a shunting -switch also controlled by said sigrial controlled means for causing said eleinent to control phasing operations of the repeater. 10. In a regenerative repeater, signal timing cams quiescent during nonsignauing periods, means to initiate said cams into operation at the beginning of each signal, each of said signals comprising at least one element having dual funening of each signal, signal retransmitting means timed in opei-ation by said cam means, meam comprising a shunting switch controlled by said cam means to control the functionary character15 istics of said element, means to stop the motion of the cam means at the end Of a signal independent of the characteristic of said element, and means controlled by said switch to restart the cam means only when the characteristic of the 20 line current changes. 12. In a regenerative repeater, a:timing instrumentality, means acting at the beginning of each received signal to start the timing instrumen-tality into oi>eration, means controlled by @the last 23- -impulse of a signal to determine the character of the corresponding impulse in the regenerated signal, a shunting switch, and means acting on said switch subsequently to said determining means to condition the starting means regardless 30 of the character Of the last impulse of the signal received. LOUIS M. POTTS.
Patented June 26, 1945 213799253 UNITED STATES PATENT OFF-ICE 2,379,253 REGF,NERATIVE REPEATING SYSTEM Louis M. Potts, Evanston, Ill., assignor to Teletype Corporation, Chicago, Ill., a corporation of Delaware Application November 9, 1942, Serial No. 464,993 12 Claims. '(Cl. 178-70) This invention relates tc) signal repeaters and give a higher rate in,words per minute, or the partienlarly to a repeater f or regenerating signals in which the final impulse of a permutation code combination also acts as a special control impulse, 5 The primary object of the present invention is to provide a repeater for start-stop systems of automatic telegraphy in wl@ich the rate of transmis,,ion is increased or the line frequency is decreased by utilizing the character of the last 10 character signal impulse for a.dual purpose. Another object of the Present invention is to provide a simple regen.erative repeating apparatus for repeating signals of the s tart-stop variety having no separate iinpulse allotted for a stop im- 15 pulse. The manner of signaling employed in connection with the present invention is exemplified by ' the system shown in co-pending application Serial No. 334,108, filed. May 9, 1940, now Patent 20 No. 2,323,932, granted July 13, 1943, by L. M. Potts, in wl-Lich there is employed a five-unit Baudot-type code coml)ination signal having' in addition to the conventional five selective impulses, a special impulse utilized for supervising 25 secondary shift control at a sta;rt impulse interval of a polarity opp<)site to that of the'preceding impulse interval. The device according to the Present invention is based on the regenera.tive repeater shown in U. S. Patent No. 2,104,251, 30 and provided with an additional cam adapted to operate the stop lever at the end of a revolution of the shaft so that the stop lever will be invariably held in the stop position at the end of a,signal , interval regardless of the Position of the arma- 35 ture of the mbgiiet in the repleater at the end of the cycle. The armature of the @regenerative repeater has an extra mova'ble contact which moves between a pair of fixed contacts which are, in turn, connected, under control of the dis- 40 tributor shaft@in the repeater, to ground When thedistributorsliafti.girithestopposition, Upon re6eipt of an impulse by the repeater from the transmitting station, which is the reverse of the last or the ffth impulse previously received, the 45 repeater will initiate repeating operations to carry the iinpulses receivf.,d by it, in the transmission of the code combination, forward to the receiving s,'Ation a..td thereby serve the normal purpose of a regenerative repeater. Of coiirse, the re- 50 peater mrill cgrrect the duration of impulse and the streiigth thereof in the well known manner. Therefore, the salient purpgse of the present arrad,gement is to shorten the code combination so that the same fundainental signal frequency . will 55 same rate in words per minute will give a lower fundamental signal frequency. For a more comprehensive understandi4g of the present invention, ref,erence may be had to the, accompanying dra,@ving and to the detailed specification following hereinafter in which similar reference characters indicate corresponding parts throughout, and in which: F-ig. 1 is a schem-atic diagram bf the repeater system, according to the p-resent irivention in which the signals are of,conventional length, but in which a sixth impulse is incorporated with the stop interval and the start impulse is varied to contrast with the stop impulse; @ Fig. 2 is a diagrammatic chart of a code sign@il such as may be used in the system disclosed in Fig. 1, ghowing @how its component parts are functionally allocated; and Fig. 3 is a side elevational view of the stop gate control mechanism. Ref erring,to Fig. 1, line wire I connects a transmitting substation indicated generally as 2, and a repeating station 3 comprising a signal receiving magnet 4 in a controlling circuit.. Repeating means.is positioned between niagnet 4 and a receiving station 5i and line wire 6 connects the repeating station with the receiving station. Whereas conventional five-unit permiitation code si,,nals being provided with seven componential impulse intervals contemplate start and stop,impulses of Predetermined and invariable current characteristics, means are herewith provided for varying the characteristic of the stop signal interval so that it niay have utility for selection as well as phasing, supervision and for making the start initiating apparatus responsive to a start impulse condition of electrical polarity opposite to that of the immediately @preceding stop impulse interval which may consist of either'one of two alternative current conditions. In the incorporation of this plan of operation, it has been found expedient to utilize plus and mi-lius current conditions to represer-t marking and spacing, instead of the conventional practice of utilizing current and no current conditions for this purpose. Moreover, there will be utilized for the purpose of signal translation, a six-feeler testing apparatus generally indicated by the reference character 7. Feeler mechanisni 7 is illustrated as havin'g seven contactors 8 to 14, inclusive; however, contactors 13 and 14 are both carried upon a single feeler lever while each of 2 2,379,253 the remaining contactdrs 8 to 12, inclusive, is carriedindividually upon a feeler lever. In accordance with the operation of its feeler lever, each contactor is spring urged so that it will engage the contact block toward the right (as viewed in Mg. 1) and is capable of movement in an opposite direction so as to engage the contact block towards the left, as illustrated in ng. 1. The contact block at the right is comprised of a large section indicated 15, and a smaller section, insulated therefrom, indicated 16. The contact block at the left is similarly comprised of two sections, the larger one indicated 17, and the smaller one indicated 18. Moreover, as may be noted, ti-ie small contact block 18 is cotinected electricaily over an obvious line with the large block 15, and correspondingly, small contact block 16 is connected electrically with the large contact block 17. Opposite sources of grounded battery or potential indicated 19 and 21 are connected, respectively, to the contact blocks 18 and 16 and over lines 22 and 23 to the oppositely placed contact points of armature 24 under the control of a polar relay 25. One terminal of relay 25 is connected to the afore-described contactor 14 and the other to a distributor segment 26, located in the distribiitor ring 27. The distributor 28 which includes, aiso, distributor rings 29, 31, and 32 is of the startstop type having a brush carrier 33, which supports two pairs of bridging wipers or brushes 34 and 35. Brush carrier 33 of transmitting distribtitor 28, is conventionally illustrated in Fig. 1, but it is to be understood that this element is diiven through a friction coupling, preferably in a rotary direction that'it may be restrained from movement by the intervention of an armature 36 under the control of a start magnet 37. Also, the pair of wipers 34 serve to connect segmented distributor ring 29 'With the solid distributor ring 31 which is electrically connected to the line conductor 1; and that the pair of wipers 35 correspondingly connect distributor ring 27 which cortains the segmr-nt 26 previously described, with the grotinded distributor ring 32. Reference will now be had to distributor ring 29 which, as will be seen in Mg. 1, is made up of seven segments. When the brtish carrier 28 is in its arrested p6sition, wiper 34 is contacting the slightly longer segment designated 5 in the distributor ring 29. Also, it may be observed that following the segment 5, which serves also in the capacity of a stop segment as will be later described, there is encountered a start segment designated by the character S. Following this segment is a segment designated 0 (zero), which has been arbitrarily assigned to the function of controlling the secondary shift which is fully described in copending apphcation Serial No. 334,108 previously mentioned. This control is otherwise executed, in accordance with the present embodiment in a manner generally similar to that described in connection with the disclosure of said co-Pending aPPlication. The remaining segments 1, 2, 3, etc., including segment 5 (which, as has already,been stated, functions in a dual capacity), serve to distribute those signal impulses which relate to the composition of the Permutation code. Segment 5 is connected over a conductor 38 to the contactor 13. Segment S is connected over a conductor 39 to the armature 24 of PoIar relay 25- In Mg. 1 is illustrated diagrammatically, transmitting station equipment including a perforated tape controlled mechanism a,nd a rotary signal transmitter under the supervisio'n thereof for issuing signals of a tYPe adapted to exercise the control function including primary and secondary shift supervision of printing apparatus having mechanically the characteristics exemplified in the showing of Mg. 11 of the co-pending application, Serial No. 334,108 which is diagrar=atically shown in the box portion 5 of Fig. I of the present disclosure. As the brush carrier 33 proceeds in the downward direction as indicated by the arrow 40, the pair of wipers 34 leave segment No. 5 and encounter segment S, bridging this element of distributor ring 29 with the solid ring 31. Assum15 ing for the sake of illustration, that the perforated tape signal which has just been positioned and which has been impressed upon the feeler levers of record reader 7 is such that contactors 13 and 14 (which operate in unison 20 are moved to the right, that is to say, with contactor 13 engaging block 15, and contactor 14 engaging block 16, distributor segment No. 5 will have received positive current potential from grounded battery 19 over conductor 38. This cir25 cuit is traceable from positive battery 19, segment 18 to segment 15, contactor 13, conductor 38, segment No. 5 of distributor ring 29, brushes 34 to outgoing conductor segment or ring 31 which is grounded at the repeating station 3. As 30 the brushes proceed to the next segment which 'is designated S, opposite polarity is issued from grounded battery 21 as polar relay 25, in accordance with its preceding operation, has been left in a position whereat its armature 24 engaged 35 the contactor of conductor 23. This circuit is traceabie from negative battery 2 1, conductor 2 3, armature 24, conductor 39, segment S of distributor ring 2 9, brushes 34 to line ring 3 1. If instead of the supposed example described 40 above, the particular signal had been one in which the feeler lever with which contactors 13 and 14 are integrally associated was positioned to the left causing engagement with contact block 17 and 18 instead of contact block 15 and 16, the 45 electrical characteristics relative to segment 5 and S would be opposite to that just deser e . With the brushes 34 passing over segment 5, negative potential would be supplied from grounded battery 2 1, segment IS, segment 17, contactor 13, over conductor 38 to segment 5. Likewise, positive current would be supplied from grounded battery 19, conductor 22, armature 24 of polar relay 25, which has been energized to its opposite positiorl, conductor 39 to segment S of distributor 55 ring 29. Each of the feeler contactors 8 to 12, inclusive, is connected over an individual conductor with an associate segment 0 (zero) to 4 of the transmitting distributor ring 39. Accordingly, when a feeler lever encounters a Perforated Posi60 tion in the tape, its contactor wiU be moved into one position, say the right-hand one (Fig. 1), engaging the contact block I 5; while if said feeler lever encounters a nonperforated position, its contactor will assume an opposite condition; that 65 is, contacting the opposite block 17. The designation of positive or minus signals to correspond with perforated or non-perforated signal components is arbitrary, and is to be understood that the reverse association is e(iually practicable. 70 Not orily is the foregoing true of the five feeler levers associated with contactors 8 to 12, inclusive, but also of the special feeler lever associated with contactors 13 and 14. In the case of the special or sixth feeler lever, however, when a per75 foration is sensed, and both contactors are moved to the right, contactor 14 will be introducing negative current from battery,source 21 to the wiriding of polar relay 25, while contactor 13 will be introducing positive battery from source 19 over conductor 38 to the stop segment S.- Conv,ersely, with the contactors 13 and 14 in the,opposite position, that is, engaging contact block$ 17 and 18, positive current originating from source 19 will be irnpressed through conttictor 14 t(> the winding of @ias polar relay 25, while negative current from source 21 will be introduced over conductor 38 to the stop segment 5. Accordingly, since armature 24 of r@lay 25 is connected@ tothe start segment S, the result of the operation of the sixth or special feeler lever will be understood. as one controlling the reversal of etirrent for start segment St that is to say, with a given condition on the part of segment 5 wwch may be either plus or minus, the sixth feeler lever controlling contactors 13 and 14 operates to provide an opposit.@o current potential to the start segment S. The purpose of having provided polar relay 25 with its ar mature 24 connecting plus or minus current to.the segments instead of directly connecting the contactor 14 to said segnient,S iS to permit the start impulse signal intervgl to be stored. The transmitter'utilized is of the wellknown magnet type wherein a new signal is sensed during the start interval. If EL new signal should be sensed which would ea-use the Coritactors 13 and' 14 to move to their opposite po8ition, the stgkt impulse would be of the same polarity as the stop impulse. H6wever, by providitig the polar relay 25 the armature 24 thereof will be held in a position whereby potential opposite to that of the stop segment 5 will be assured as the armature 24 retains sueh Position un I til the brushes 34 have passed the start segment S, or until brushes 35 sweel) across seginent 26 of ring27 thus providing a' grounded circuit for the polar relay 26, At this time the armature 24 rnay move to the opposite side if the contEtct6rs i3@and 14 have moved, but the start impulse has already been transrnitted. In Fig. 1, the reference character 5 designate@ a receiving station and within said outline are contained the smbols representing important, apparatus responsive to the signals geiierated by the transmitting distributor 28. However, interxriediate the transmitting station 2 and the receiving ,7tation 5 is the repeating station 3 whereby the signals -,ire repeated with renewed strength and form. The line wire I ext(,nding frorn th6 tran8mitting station is connected at the repeating stg,tion 3 to the polar relay 41 and t-hen to ground. The armature 42 of relay 41 is connected over conductor 43 to the receiving relay 4 at the repeating station, and then through 'battery 44 to ground. Receiving magnet 4 controls, throu@h mechanism hereinafter described, a pair of retransmitting contacts 45 and 46 connected to batterip-s 47 and 48 respectively. The retransmitting contacts 45 and 46 serve to connect the associated batteries 47 and 48 over conductor 6 to the pola,r relay 5 I at the receiving stat-ion S. Magnet 4 has an armature 52 pivoted to a supporting frame by,pivot 53. A retractile spring 54 attached to an arm,55 of lever 52 tends to bias lever 52 counterelockwise. Extension 55 constitutes a follower for a six-tooth cam 56 fixed to 96 cam sleeve 57 which is sleeved upon a contintioUSJy rotating power shaft 58. A retransmitting member 61 is pivoted to the frame by piv6t 53 and terminates in a thin flat edge which cooperates with a locking bell crank lever@82. @ Member 2,379,253 3 SI is supported between arms @52 snd;55 by coinpression gprings 83 and 64. The meiiiber 61 is PoSitioned positivoly by engagerneiit between the thin edge of member 61 and a confronting thin edge of a looking @bell eronk lever 62 which is Pivoted' to the frame at 65 and is biased in a clockwise direction by a spring 66, and constitutes a follbwer for a 8even-tooth carn 67 Which is fixed with cam 56 tipon cam sleeve 57, Carried on th@e 10 retransrnitting meinbor 61 is a retransrhitting @tongue 68 which carries on its end, and insulated therefrom, contact members 71 end 72. Coiitact member@71 operates between the af6renientioned contacts 45 and 46, in P@ manner to be hereinafter 15 described, to control the retransmission of signal ifnpulses from the repeating apparatus. Contact member 72 operates between a pair of contacts 73 and 74, as will presently appear. Power shaft 58, beside@o carrying the cams 56 2o and 67 also c-arries a stop arm 75. which 6ngages a gate 76 Pivoted at 77 upon a member 78. Gate 76 is restra;ined by a latch-79 (Pig. 3) Pivoted at 8 I UPon the. member: 7 6 and tensioned by a corn Pression spring 82 extending from latch 79 'to 25 Member 78. Dxtending betwen latch 79 and the armature 52 of rhagnet 4 is a start lever 83, I)ivoted to the frame at 84 atid engaging at the end of its horizontal arm a @ plunger 85 slidable in frame pert 86 and eligaging at its upper end a 30 Projection ion arrnattire 52. Also rnounted on .9haft 58 is a cam 87, whicb cooperates with a follower of 88 integtal with stop gate 76 @to aotuate said stop gate at the end of each revolution of shaft 58, so that said stop@gate 76 will b@e invari3.5 ably held on the stop position at the end of each signal; and the stop arm 75 will invaribbly engoge said stop gate,76 regardless of the @osition of the armature 52 lit that time. Also rnounted on the shoft 58 is a cam 89 which is adapted to operate 40 a set of oontacts 91 and 92 in the stop positioli of tlle selector shaft 58. 'n-ie cam 89 operates upon .@, contact tongue 93, in turn, to close the contact@ 91 or 92 to ground. The operation of the iegenerative repeoter '3 I r) @vill nori be described. Fbr the ptirposes of thepresil-@nt description it Nvill be assumed thot battery I 9 of the transmitter 2 supplies marking currelit to the signal line, conductor I and the battery 21 atipplies spacing current tl-iereto. The condition of the system as shown in Fig' I is that of rest or idleness of the line with the ccilitact 20 open knd the m,@tgnet 37 de-energized so that armature 36 i8% released to hold the distribi-itor arm @28 es Igainst rotation, tlius rnaintaining brush 34 in ;ir) engagement Avith the No.'5 segment, which aecordino,, to the present @invention is substituted for the customarily independent stop segment whicli has been onlitted and consequently merged into the No, 5 segment. It is thus seen tha,@t the, ()O -,tot) impulse w@ll be of marking or spacing neiture @depelident upon the nature of the No. 5 impulse of the@ia,@t transmitted code or combination. The arrangemeiit@ as shown -in Mg. I is such that the lasttra-nsinitted imptilse for the No. 5 interval is 6@5 of marking liature from battery 19 so that tlle current, of matkilig nature is condu,- ted over the line conductor I through the windings of the polar relay 41 of the regenerative repeater 41 at station 3. Thus the srmature 42 of the polar relay 7o 41 is held to.: the niarking side (as shown), thus closing cont,-tct 95 thereof, and opening contact 96. The operating shaft 58 of the repeater is shown with the cams thereon in the stop position@ with 76 the f4top gate 76 acting to prevent the rotation 4 2,379,253 of said shaft by blocking the stop arm 75. Tiri this position the cam 89 holds the@armature 93 against the lower contact 92 and the member 61 is held in the position shown in Fig. I with the contact 73 closed thereby,completing an energizing circuit for t@e receiving magnet 4 of the repeater from battery 44, through the winding bf magnet 4, over conductor 43, then through armature 42 and contact 95, over conductors 97 and 98, tl-irough contact 73, over contact tongue 72, over conductor 99, through contact 92 and over conta.ct toligue 93 to ground. Now, if the stop current on the li ' he I is of spacing nature instead of marking nature as :ju.,t@ described, then spacing current will be im,pressed on the line conductor I from battery 21 over the eirciiit previolisly described to energize the polar relay 41 in such a manner as to swing its armature 42 to close its contact 96 and open its contact 95.. Then, as will presently appear, the arm 61 will have asstimed the position on its spacing side, @xThich is opposite to that shown in Fig. I so as to bring the contact tongue 72 into contact with lower dontact 74, thus completing an energizing circuit for the receiving magnet from battery 44, through the winding of magnet 4, over conductor 43, through armature 42 and contact 96, over conductor 101, thr6ugh contact 74, over contact tongue 72, over conductor 99, through contact 92, and then over contact tongue 93 to ground. As previously described, the contact 92 is closed only during the stop interval, and during the remaining signal impulse intervals contact 91 is closed, and contact 92 remains open, so that the energizing circuit for magnet 4 becomes independent of the contacts 73 and 74, as will presently appear. Upon de-energization of magnet 4, arrhature 52 will be released, permitting the cam follower 55 to drop into the path of the six-tooth cam 56 and permitting the armature extension 52 to pusli the plunger 85, which will operate lever 83 to cause the operation, in turn, of latch 79 which will release the gate 76 to permit stop arm 75 to escape and thus permit the rotation of the cam sleeve 57 and the cams 56, 67, 87 and 89 thereon, by the power of shaft 58, through the instrumentality of. a friction clutch (not show-n). Operation of armature 52, when released by-the de-energized magnet 4, also compresses spring 63 (since spring 54 is stronger than spring 63) and releases spring 64, but transmitting element 61 resists the spring pressure because it is still locked by locking lever 62 which is in the path of the seven-tooth cam 67: vrhich carn now is starting to rotate. The first mechanicai action of the cam sleeve 57 and its cams is to operate the lock lever 62 counterclockwise by cam 67, thereby releasing member 61, which moves tongue 71 from contact 45 to contact 46, and tongue 72 from contact 73 to contact 74. The movement of the contact tongue 71 from contact 45 to contact 46 causes the signal to be repeated from the transmitting station 2 to the receiving station 5, the repeated signal effecting the polar relay 5 i in a manner to be hereinafter described. The operation of locking lever 62 is momentary because of th'e short arcuate dimension of the teeth of cam 67, and member 61- immediately is relocked. In operating to unlock the member 61, locking lever 62 permits no movement of member 61 while the flat side of its thin edge is in engagement with member 61, the release of member 61 being made suddenly at the instant when the end of levet 6 2 leave@ the ' end' of member 6 1. The irApuls6 from, station 2, whidh now is repeated to station 5, thus has been determined in point of time solely by the movement of cam 67 acting through lever 62 to releiase member 61, but has, been determined as to electrical nature, solely b@ the position of armature 52 which has been controlled solely by the signal received in niagn6t 4 under the control of station 2. ;10 As the cam sleeve 57 begins to rotate, the projection of cam 89 fixed t6 said sleeve passes out of engagerfient with the contactor 93 so that said contactor will operate to open contact 92 and close contact 91. Contact 92 remains open and 15 coiitact 91 remains closed, therefore, during the continuaiice of the entire cycle, except for a portioii of the No. 5 impulse iriterval. Thus it wili be noted that at 'the end of, each cycle, commencing with the last portion of the No. 5 impulse 20 interval, contact 92 will be closed and the magnet 4 may be energized either in response to marking or spacing signals, as previously described, over the circuits including contacts 95 and 96, and 74 and' 73, respectively, for marking'and spacing. 25,Howev6r, during@the remaining poition of the cycle when contact 91 is closed, the contacts 73 and 74 are ineffective,'and the magnet 4 will respond only to marking impulses, the spacing impulses causing said magnet to become de-@ner30 gized in the manner well known in the art. Cam 87i as previously described, operates upon the foilower arm 88 integral with the gate 76. In the stop position of the sleeve 57, the high portion of the cam 87 assumes the position shown 35 n the Fqg.,I, just having passed the projecting portion 88 so that@upon the receipt of the start impulse, the magnet 4 will become de-energized and latch 79 will be disengaged from the gate 76, permitting the stop arm 75, under the influence 40 of the friction clutch connection to shaft 58, to rotate the gate 76, the cam 87 not at this time preventing movement- of the arm 88. However, near the.end of the cycle of rotation of sleeve 57 the high Portion on cam 87 cooperates with 45 the arm 88 so as to rotate tlle stop gate 76 in a cqunterelockwise direction to bring the stop portion of the stop gate 76 into the path of the stop arm 75, regardless of the state of energization or deenergization of the magnet 4, thus invar@"O iably causing the stop arm 75 to engage the gate 76 for 'stop purposes, since as previously described the stop impulse may be of marking or spacing nature, corresponding to the nature of the No. 5 signal impulse of which it is a part. r) 5 Referring again to the cycle of events during the rotation of the cam sleeve 57, the next step following initiation of rotation is the engage-' ment of a tooth of cam 56 with its follower arm 55, whereby armature 52 is moved toward or 60 against its controlling magnet 4. This action occurs six times in each cycle, each such occurrence at about the middle of each of six of the code signal impulses; namely, zero, first, second, third, fourth, and fifth, intelligence signals (the 65 fifth signal including also the stop signal of the code). In each instance, armature 52 will be held @by the magnetism of energized ma.@net 4 if the instant signal, being a marking signal, operates to energize the magnet 4; but in each in70 stance, armature 52 will be released by the passing of a tooth on the cam 56 by the follower arm 55 if the signal impulse is of spacing nature. In every such occurrence, actuation of follower 55 by cam 56; and the retention or release of ar75 niature 52 by magnet 4 will be followed imme- 2,a7g,200 diately by the operation of the lqck lever 62 by cam 67, which will perniit member 61 to operate the contact tongues 71 and 72 into engagement with their respective contacts depending upoa whether the magnet 4 has retained armature 52 and has compressed spring 64, urgipg member 61 upwardly when unlocked by lever 62; or has'released armature 52 and has compressed spring 63, urging member 61 downwardly when released by lever 62. 10 -n prior structures, in each code group, of im@ pulses, a final impulse or a stop impulse is provicled wbich is indepejadent of the iTi , telligence code impulse and is always Qf marxilig ollaracteristics, tliereby attracting the armpture 5,2. Ho ,wever, izi accorcimice witli the PrQ@eiqt inv@:4tio t eindependentstopintervalhasbpexi.onlit...A h tecl. 4nd has be n incorpQ@4tec e .1 in the No 5 code signal i terval said Ng. @ i5 im se fupptionin 'xi "9 d,u4lly as a sigiialing impulsq and R BtoP igIP14@$Q, 20 Dijrilag tll( tlnl@,, sgi(i NQ, & impulse funCtiQ4s a$ a stpp ir4 p h .ulse, the caM 89 apts on t e cont4et to4gup,, 93 to oloso the cojitapt 02 to render the magrxet 4 respqli@ive to @igp4 ,Is of Qith -,f@r r4g@king or spacin na ,.ture, depeiqdin upoij thp,4atu@e Qf 25 .9 @g the No. 5 in ,.IpW,s V, ,p @4ter al. Th cQ@n e tgpt q@ is clo@;ed only after th fl th U @4 p p@il5e hps pgrfQ;,!mpd it5 sqlecting functioij. ]From the f qg(?i 9, thea, qr . 14 it will be noted that if contaot 02 is. cipsod, thp magnet 4 will be en r i ed whether the N e. g.?;, 5 30 signa,l impulse wa5 marking or .5pacin T),@.@ coTitApt 92 is closed onl du izig the i terval t t I'@y Ir@ 4. 1 ):@4 the fiftli im,pulse f4netiQns 4p 4 .5tQp imPPIPP, because the compler4entary int rval pf s id i M@ - pulse is utillized for signali PUrPP$eST-h@"S -5 35 ..49 portion of the :ff f tb iznpul5e is utilized fgT ptop purpo@es olily, in lieu of the usli4l indep OpXlt sto @ p interval. In the dewription of oppration pf'the tira,n - mittitig and repe4ting st4tions it i assuino4, Of 40 course, th4 in t the distributpr arm 8 rot;?,tes synci@ionism with the cain aeeve 07. It will ))p further a4s=ed that t.he brvshes 34, are jV t eptering iipon con tactu;@,l p4gggempilt with the Np. @ _ I @ Zp sleeve 57 is iTi syilchronism with the tr4nszn:itt@4g distribiitor, the h gh po $9 is ap@ i rtion of paxn proachin the contact tgxigue 9.3 which upw .g is III contactual engagement with cpntact 91. In tWa condition of the circuit and appar4tus if t4e ro fifth s@g4al irapul5p is inark c then the ont;act ton,gue 42 pf polar relay 41 wiE be biased so a@@ to close cotitact 951,aii t the ene,rgizing eirpui for r 4agnet 4 will be closed over t4e following eir.Quit: From battery 44, tlirgugh thp w.inaill.g (>f 65 magnet 4, over co d-uctor 43, a4d over bprXt4pt xi tongae 42, through coxitact 95, ovor conductprs 97 @,nd 102 tlir o@ gh oontact 91 and over epntact tongi4e tQ gro@md. It will be nptqd th4t, in respowe to A marlcin ,.g sigaal th armatur,e 52 60 e will be attracted, and the r44ember 61 will bp operated to the rnarking side, w]4ich will clos contacts 4,5 4nd 73. Now, Wure the No. 5 impulse is marking as tliecam 89 rea,.che5 t4p @,!Dntac nglxe 93 a operates said tpn t to ,gue to close 65 ad contaft 92, tho raagxlet 4 will st ,111 rip@uiAiA e@ApTgized, but over the cir uit PxteAdi g froi c np battpry 44, throUg4 the wi igg pf m4gnet@4, ov r p Q @ piR@ dur.t(r 43, through poi;tact tox@giie 42, thro@igh contact 95, over Ponauptgr,5 97 :a4d 9,0, tbxpii contapt 73, over tongtio 72 ;incl pvg@r cpi4diAf @tor 99, through contact 92 an .4 over qo;4tact to;@gqp 93 to ground. On the othqr liand, iet it be 4@ ,= e_cl thglt t . he =e ag,%ia that the cglm ,09 i@@ in. a ppsitioii w here @t,,i projqp,:@ion haa ziot. yet reaghed the oozitaot torigue 9@ diiring the No. 5 impulsp iutezva,!. Then goutact 91 will -be qlwed, bvit,the coint4ct tongue 42 of p.olar. relay 41 will be in engageuiezit wi h 't the spae,,in ,g Cqn taqt Q6,@ wliereupon tile magnot 4 will beeome derepergized since tiae enp@gizilag circuit therefore has been broken at contact' 92. Iii response to the spacing s ignal, h(?Wev@@r, the irnagnet 4 OecQlnes clq-energi7,ed axid the armatijre O? is rele,-5ed, thus the ruember. 61 will assume its spac ng po.,$itio , as previ ijsly aescriOe4, to c!Qsp contacts @46 aild 74. Then, whqn the 4igh portion of cam 89 c(>opergtes with t4e coiitact tqngge 93 to close con act 92, th magiipt.4 will begope t e energi;@ed Qver a eirouit extendi4,g froin battery 44, t4rough tlie whiding of magnet 4, over c.Qnductqr 43, tllrough colitact t;)Zlgue 42 4nd r,=tact 96, over conduptor 101, thrqugii colatgpt 74 over contact tqiague 72, Gver condlictor 09, through pontact 92 and over contact tqiigue 93 tQ grqund. It is tlius seen that the inagnet 4 will becckme energized during the time interval that the Np. 5 impulse functions as a stgp itnpo@e rpgardless of whether the iMpUlse is of marking or sp4cizig nature. FTom the previous description it will be. noted that the impulse followiug the No. 5 ir4pWse, which is ihe start i'mPWse, is always of a elecs i e trical characteri t c, qr nature qppo5it tQ tjae nature or characteristic of the Np. 5 imPWPe so as to cause the de-energization pf t roqpi. ng ' I I lie vi @ magnet, either by spacing or. markii4g el4rrent. In the prior str ctur the: m,,%,rking current (losigiiated the stop interval, andthe start linterval was always of a spacing nature. In accordance with the present invention, wherein the i,-gture of the start current is determined by tlqp nature @of t)ii@ current of the No. 5 iZnpWse, it is ;3opxi th@Li t4p stopping current may be of either ilat urp, and hence the start ng current must,be tiae ypyerse i nature. it will be aoted tli4t, @Qgardiess of whethg!r the ma net 4 has @been enex@t@ized inthe 9 previous cgde cyple by a =rkin ,9 or sp4clAg 519 5 iin@uise segment. Acc-oraingly since. the ca 4@5 nal, the start signal j4npulse being of, p ' p p o s i t e nature will ea p s e , t h e a r r a a t u r e . 4 2 o f p o l a r r e l a y ' 41 to swing to the .opposite coptact, t@,ius brea'j; i n g the -previous energizing eirruit for @ the m.,agnet 4, . ly descri bgd, therel @y.ca us ng the magas pr@evious l@et 4 to beeome derenergiz ed and tl-ie cam sleeve 0 51 t rotate by t@be.,Op@,lr4ti .Qn of pivnge'r 85, by armature 52, a i i d c o n s e q i i e l i t l y t h e - o e r a t i q n ( ) f p thp, Tgt@rakl @r)aittMg ppi4tact 45 44a, 4.@ tQ (@-f.Fept the repetitigir pf@ tb e i g @ a . , . 4 1 s m , s ti@eir , ' -S i@,, i Ion . gpf pvqx, l@;ap,6. A previou ly mip4tionqd, the ref rence ph4ys s actpr 0 in i 4tpp 4 rpdeiving station h -pp aving r ceivin g, ?.ppar at4s of t4@- @ype 4isqlose i copen(4'pg applic4tign @3pr@al No@. "4,108, and which for tl s le pqrpq@es pf tllp pjrg@ pnt oiselo ure, wi 1 @p brie - .efqr4@4pe cb4rac r 51 fl y gQsf,:ribed. T 4e te in 0 di ates a p ,plar r plpy b4yipg an 4rmature 105 Whiph reci procgtp @gtween fwo contact points 106 A44 .107 wbich prp part qf a lopal.circuit for c(nt ol g tllp pp r lin era io -A s' of t)ie Tppe.iV@;19 rnagnet I b's. I o 1 qgted @4 the rgppiving station 5 are a pa r of con tpetors, in i ted i 0 9 and I I 1. Con tactor I 09 rep@p@pcates b p@Ween a p t ' ' Air Df con 4iot points 1 12 and II 3, and thee n o tactor I @f I ppe.rate.s .@gh 7o beiv@een a pair 'of con't-a-pt points 114 'and 115. CGntactor 109 is operated b@ a specia;l cam cA@ried on the selector ea sleeve of a pr-tnit@pr of m the type shown in U. S Patent No. 2,247,408 1941, to A. H. Reiber, and this cam issuedjuly 1, No. 5 signekl irxipvl@e i,5 of "ei g @i - 7,0 is,analogo e regenerative repeat, n .14t,,4Te A a d , g s u s t ( > c a m 3 9 o f t h 2,379 263 2 er mechanism at the repeating station 3.. Thus, manner cleatly described in the R@iber Patent contactor 10 9 and its associated colitacts II 2 and 2,247,408. 113 correspond in function to contactor 93 and As the di8tribiitor shaft or cam sleeve of the contacts 91 and 92, respectively, of the repeating printer mechanism, indicated at the receiving mechanism. Also, contactor, 105 a;d its asso5 station 5, rotates, the cam apex controlling the ciated contacts 106 and 107,@ correspoiid with and contactor 109, rides off the contactor 109 permit-, are analogous to contact tongues 72 and 74, ting contactor 109 to be drawn away from its respectively. contact point 113 and to come into engagement Briefly stated, armature 105 of relay 5i flucinstead with its contact point 112. Meitn@vhile tuates in accordance with the sigri-al impuses 10 contactor I I I remains in engagement with its transmitted over the line 6 from the repeating contact point 114 because it can be changed only station 3, and contactor 109, being controlled by during the fifth impulse interval. As a result of a cam apex on the selectgr cam sleeve, rests the ch@,nge in contactor 109 from contact point against contact point If 2 at all times except durI 1 3 to contact point I 1 2, no effect is obtained at ing the stop and start signal interval. Also, con- ,- , this time, because magnet 108 continues to be detactor I I I being controlled by the No. 5 signal is energized until, during the course of the six sigmoved into one or the other of two alternative na@l impulse intervals, 0, 1, 2, 3, 4 and 5, and positions as a result of the operation of the transarmature 105 in response to its relay 51 retums fer . mechanism only during the - period correto engage its contact point 106, which response sponding to this impulse@ More speciflcaliy,,the -, 0 can-occur only under the control of marking sigcontactor 109 rests against the contact 113 only nal impulses. If the signal impulse correspondduring the latt--r portion of the No. 5 impulse ing to the No. 5 interval is of spacing natfire, then iiiterval in the manner as similarly described in contactor 105 will be swung over to the contact the case of the repeating mechanism shown in the 107 and thereby open contact iO6. As a result repeating station 3. Under an assumed set Of 25 of this selection, c(>ntactor I I I will engage its conditions, for example, in response to marking upper contact po'mt 115 instead of the lower signals, both contactors 105 and III will:be decontact point II 4, while (because of the cam apex flected so as to engage their coi-itact points 106 on the special caM previously rpentioned) conand II 4 respectively, wl-lile in responsa to spacing tactor 109 will again be operated against contact signal impulses, said armatures or cc,ntactors 105 30 point 113. Thus, a circuit will be completed for and I I I will be in their opposite posit-ion, that is, energizing the magnet 108 extending from engaging respectively their contact points 107 and grounded battery 116, through the winding of II 5. Also, it is to be recalled that since the No. 5 magnet 108, over contactor I I 1, through contact impulse functions in the dual capacity of eff ecting 115, over conductor 118, over contactor 109, the distributor stop control as well as entering 35 through contact I 1 3, over conductor I 1 9, through into the permutation code, each si,,nal must be contact 107, and over contactor 105 to ground. considered with reference to the No. 5 impulse of As a result, magnet I 08 is held energized, which the preceding signal which affects: the current is the proper condition corresponding to a stop characteristics of the start impulse as well as of impulsei until an opposite current condition is the concluding No. 5 impulse, because it, together 40 received by the relay 51, causing its armature with-impulses Nos. 1, 2@ 3 and 4, coniprises the 105 to be withdrawn from contact point 107 and code combination of the @articular signal. to engage instead the contact point 106. When Accordingly, when the No. 5 impulse of a prethis occurs, contactor 109 is still held against its ceding signal happens to,be marking, armature contact 113 because of the function of the special 10 5 will be thrust into engagement -with its con45 cam on the selector slee@le (which is analogous tadt point fC6, contactor 109 will be Permitted to to the function of cam 89 of the repeating staengage its contact point i.12 (on account of the tion 3 upon the contactor 93), which maintains operation. of the cam on the selector sleeve), and said condition during the interval corresponding contactor I I 1, as a result of a transfer operation, to the start impulse. Meanwhi I le, the last deas clearly described in the aforementioned patent, Cu sci-ibed mov6nient of armature 105 causes the enwill be moved into engagerrkent with its contact ergizing circuit for magnet 108 to be broken, and point II 4. This will complete a circuit traceable accordingly releasing its armature for the purfrom grounded battery II 6 through the winding pgse of initiating rotation of the receiving selecof magnet I 08, over contactor I I 1, through contor cam sleeve or shaft as previously described, tact 114 (with which it is now in engagement), 5,5 Thereafter, and coincident with the 0 (zero) sigconductor 117, contact 106, and contactor 105 to nal interval, contactor 109 is restored to its conground. As a result of the continued energization dition which prevailed during the longest portion of magnet 108 its armature is held, and the rota- of the cycle; that is, engaging its contact 112. tion of the selector cam sleeve is arrested in ac- When this occurs, that is, when aimature 105 of cordance with the conventional operation of 60, relay 51 engages contact point 106, marking imprintingtelegraphselectorshafts. Thiscondition continues utitil the circuit for energ . izing the magnet 108 is broken, which change occurs upon the recei'at of a proper start impulse over segi-nent S, of the transniitter 2 and repeated over the contact 46 or 45 of the repeater 3. The pglarity of the start signal being opposite to that of the No. 5 or stop signal impulse, as already explained, causes armati-ixe 105 of polar magnet 51 to be moved to enga.ae its contact po .int 107 and away from its contact point 106. This interr,upts or opens the circuit for magnet 108, causing the release of its armature and consequently initiates the rotation pulses are thereafter interpreted as magnet 108 energizing impulses, because contactor I I I continues in engagement with its contact point I IS, causing the magnet 108 energizing circuit to be 65 completed over the following described circuit: From grounded battery I IS, through the winding of magnet 108, contactor I I 1, confact I I 5, con@ ductor I I 8, contactor 10 9, contact If 2 conductors 121 and II 7, contact 106, contactor 105 to ground. 70. Thus, phasing of the receiving magnet IO 8 as well as its controlled distributor or selector shaft is regulated, notwithstanding the reversed conditions of the No. 5 and start impulses-. @ From the foregoing description it is 'O'bserved of the receiving distributor cam sleeve shaft in a 7C, that a regenerative repeater has been provided for, a system, of telegraph communication which embodies a special form of signalling wherein the normal stop impulse interval has been eliminated and wherein the final impulse of the signal code is utilized in a dual capacity to serve for signalling purposes as well as phasing PurPo . ses, and wherein the start impulse functions for starting purposes irrespective of the nature of the signal characteristic, that is, whether it is marking or spacing, the only requisite being that the start l@o impulse is of a nature opposite to that of. the final No. 5 code signal impulse interval.. It is @ further rioted that, although in Fig. 2 the fifth iimpulse interval is indicated as being. sornewhat longer, than the other impulse intervals, it is@ to be un- 15, derstood that such relation @is not essential to the successful operation of the arrangement disclosed.herein, but is merely so,shown since in existing start-stop signalling systems the normal. stop period or interval is slightly longer than the: 20,, remaining impulse intervals. While the arrangement disclosed in the drawing has been explained and described with refer,ence to specific embodiments, it is not intended to be restricted in any manner to th@, languageof 23 the detailed specification nor to the illustrations. in the accompanying drawing, except as indicated in.the hereunto appended claims. What is