claim Is: 1- Olwsware stacking apparatus comprLshW twO PairS of tongs, means for suPPorting said PRirs of tongs for horimntal travel from the -ame 75 giumare, takeout position through sepamte 2,253,155 .5 paths to different siacking positions over a lehr conveyor, said stacking positions being located in fixed and spaced relation, each with respect to the other, means for moving each of said pairs of tongs from said takeout position to its said 5 stacking position, and means for closing the said pairs of tongs at said take6ut position and for opening said tongs at said stacking positions. 2. Glassware stacking apparatus comprising two pairs of tongs, separate slides, means for sup10 porting said slides for horizontal travel, means for pivotally mounting the respective pairs of - tongs on said slides for movements with the slides and also for horizontal swinging movements relative to their slides, means for reciprocating said 15 slides independently of each other to move said pairs of tongs altemately from a common takeout position over a blow mold through separate paths to separate stacking positions over a lehr conveyor, means for effecting horizontal swing- to ing movements of said tongs relative to their slides, and in opposite directions as they move away from said takeout position, and nieans for closing said pairs of tongs at said takeout position and for opening said ton@s at said stacking @5 positions. 3. Glassware stacking apparatus comprising two pairs of tongs, means for supporting said pairs of tongs for horizontal travel from a common takeout position over a blow mold of a jo forming machine through separate paths to different, reiatively fixed and spaced stacking positions over a lehr conveyor, means for moving each of said pairs of tongs from said takeout position . to its saidstacking'position, means for closing t5, the said pairs of tongs at said takeout position and for opening said tongs at said stacking positions, separate dead plates located beneath the respective paths of travel of said pairs of tongs for cooling ware suspended from the tongs and 44 O' means for causing each pair of tongs to stop as a uhit over its dead plate for a predetermined period of time while en route. from said takeout position to its stacking position. 4. Glassware stacking apparatus comprWng.45 two pairs of tongs, means for supporting said pairs of tongs for horizontal travel from a common takout position over a blow mold of a forming machine through separate paths to different, rela.tl.vely flxed and spaced stacking positions over 50 a lehr conveyor, and for swinging movements about - axes perpendicular to the plane of i'said paths, means for moving each of said pairs of tongs from said takeout position to its said stacking position, means for closing the said pairs of 65 tongs -at said takeout position and for opening said tongs at said stacking positions, and means for effecting swinging inovement of each of said pairs of tongs during the travel thereof from said takeout position toward its stacking position und 60 about an axis perpendicular to the plane of the path of Its said tralvel. 5. Glassware stacking apparatus compdsing two pairs of tongs, means for supporting said pairs of tongs for horizontal travel from a com65 mon takeout position. over a blow mold of a forming machine through separate paths to separate, relatively flxed and spaced stacking positions over a lehr conveyor, means for m6ving each of said p4irs of tongs from said takeout pgsition to Its 70 said stacking position, means for closing the said pairs of tongs at said takeout p6sition and for opening said tongs at said stacking positions, vertically movable ware-cooiing dead plates respectively located beneath the paths of travel of 75 said pairs of tongs, me'ans for causing each pair of tongs to stop teniporarily over its sa id dead plate en route from said takeout position to its stacking position, and means for raising each dead plate toward an article held susperided by the tongs thereover. 6. Glassware stacking apparatus comprising two pairs of tongs, means for supporting said pair-s of tongs for horizontal tiavel from a common takeout position over a blow mold of a forriiing machine through separate paths to separate, relatively fixed and spaced stack'mg positions over a lehr conveyor, means for moving each'of said pairs of tongs from said takeout position to its said stacking position, means for closing the said pairs of tongs at said takeout position and for opening said tongs at said stacking positions, vertically movable ware-cooling dead plates respectively located beneath the paths of travel of said pairs of tongs, means for causing each pair of tongs to stop temporarily its said dead plate en route from said takeout position to its stacking position, and means for so timing the horizontal movements of the respective pairs of tongs that one pair is held over its said dead plate while the other pair is held in Its stacking position. 7. In combination, a glass ware forming machine comprising two molding units each cornprising a stationary blow mold, vertically movable-ware-cooling dead plates associated with said blow molds, glassware stacking apparatus comprising pairs of tongs, means for ciosing said tongs about articles formed in said blow molds, means for effecting travel of said tongs from over said molds to positions over said dead plates and thence to positions over a conveyor, means for rais'mg said dead plates from downwardly ret;iacted positions toward articles suspended frolil said tongs to cool said articles, and means for openlng said torigs to release the ware to said conveyor. 8. In combination, a glassware forming machine comprising a stationary blow mold, means for successively blowing articles to flnal shape in said mold, stacking apparatus comprising two pairs of tongs cooperating solely with said blow mold to remove ware therefrom and stack it on a lehr conveyor, means for supporting said tongs for horizontal travel through separate paths from a common takeout position over said blow mold to separate relatively fixed and spaced, ;stacking positions over said conveyor, means for closing and opening said tongs, means for effecting horizontal travel of said pairs of tongs, and means for so timing the travel of said tongs relative to each other and for so timing the opening and closing of said totigs, that articles consecutively formed In said blow mold are alternately removed from said mold and altemately stacked on said conveyor in s paced parahel longitudinal rows. 9. In combination, meatis for forming glassware comprising a blow mold, a dead plate for cooling articles formed In said mold, a pair of tongs, means for eff6cting travel of said tongs from a takeout position over said mold to a cooling position over said dead plate and thence to a ware stacking position, means for closing and opening said tqngs, and means for causing said tongs to stop completely for a Predetermined period of time over said dead plate to cool an article suspended from the tongs. 10. In combination, means for forming glassware comprising a blow mold, a dead plate for cooling articles formed In said mold, a pair of tongs, zneans for effecting travel of said tongs 6 2,253,155 from a takeout position over said mold to a cooling position over said dead plate and thence to a ware stacking position, means for closing and opening said tongs, means for causing said tongs to stop as a unit for a predetermined pbriod of ti.ine over said dead plate to cool an article suspended from the tongs, and means for moving said dead plate upwardly toward said suspended article. , 11. In combination, means for forming glassware comprising a blow mold, a dead plate for cooling articles formed in said mold, a pair of tongs, air actuated means for effecting travel of said tongs from a takeout position over said mold to a position over said dead plate to cool an article of glassware suspended from said tongs and to stop for a predetermined time over said dead plate, additional air operated means for effecting travel of said tongs from over said dead plate to a stacking position over a lebr conveyor, and means for ciosing said tongs at said take position and for open-ing said tongs at said stac ing position. 12. Glassware stacking apparatus comprising two pairs of tongs. a pair of slides for the tongs, means for mounting each pair of tongs on one of said slides for horizontal rotary movements as a unit relative to the slide and about a vertical axis, horizontal guideways in which said slides are mounted, means for reciprocating each of said shdes to move each pair of tongs from a takeout position over a mold to a ware cooling position and the'n6e to ware stacking position, a cam operated mechanism for each pair'of tongs for effecting horizontal rotation thereof about its said vertical axis during movement of the tongs between takeout and ware cooling positions, means for closing each pair of tongs at the takeout position and for opening said tongs at the stacking position, and means for so timing the movements of said slides that the tongs are alternately moved into said takoout position. 13. Glassware stacking apparatus for removing articles from the blow mold of a glassware forming machine and placing said articles on a conveyor, comprwng a pair of tongs, means for effecting travel of said tongs from a takeout position over said mold to a stacking position over said conveyor, means for stopping such travel 10 of said tongs in an Intermedite position for treat' ment of the ware, and means for closing and opening said tongs to grip and release saidarticles. 14. Glassware stacking apparatus for trans15 ferring a plurality of articles of glassware simultaneously from a plurality of cavities in a mold of a glassware forming machine to a horizontal conveyor, said cavities beink spaced along a line extending in the same direction as the direction 20 of length of said conveyor, comprising a pair of tongs, means for supporting said ongs for r zontal travel from a takeout position over said mold to a stacking position over said conveyor, means for moving said tongs between said take25 out and stacking positions, means for closing said tongs at the ta keout position and for opening the tongs at said stacking position, said -tongs being adapted to grip all of said articl&s In said cavities of the moid simultaneously when the tongs are 30 closed at the takeout position and to release all of said articles when the tongs are opened at said stacking position, and means for turning said pair of tongs angularly through 901 about a vertical axis during horizontal travel 6f said 35 tongs between said takeout and stacking posltions to dispose the articles released by the opening of the tongs at the stacking position along a line extending transversely of the conveyor. HAROTD & WADAL6@N. 40 ALGY J. Slv=H. CERTIFICATE 6F CORRECTION, Paf,ent No. 2,253,155, August 19, 1941. HAROLD A. WADMAN, ET AL. It is hereby certified that error appears in'the printed spe,cifi-cation of the above numbered patent.requiring correctionas follows: Page5, seeond column, line 21, claim 6, after I temporarily" insert --over--; and that the said Letters Patent should be read with this correction therein that the same may conform to the record of the dase in th6 Patpnt Office. Signed and sealed this 30th day of September, A. D. 1941. Henry Van Arsdale, (Seal) Acting Commissioner of Patents.
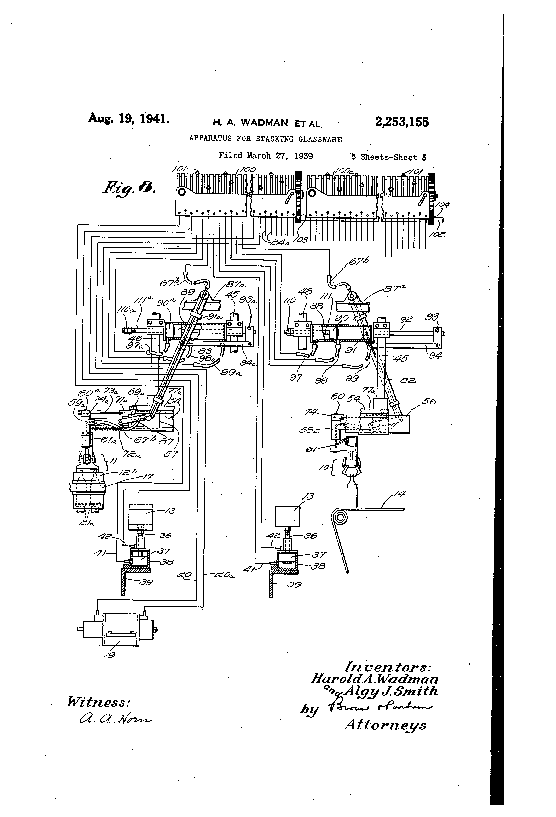
Patented Aug. 19, 1941 2 2 2 5 3 9 1 5 5 UNITED STATES PATENT OFFICE 2,253,155 "PARATUS FOR STACKING GLASSWARE Harold A. Wadman, West Hartford, and Algy J. Smith, Hartford, Conn., assignors to HartfordEmpire Company, Hartford, Conn., a corporation of Delaware Application March 27,1939, Serial No. 264,340 14 Claims. This invention relates to apparatus for stacking glassware and has particular relation to stacking apparatus adapted to remove articles of glassware from the blow molds of a forming machine and to stack the articles in compact 5 relation on the conveyor or belt of a lehr or other heat treating apparatus. 'Phe invention is more specifically directed to glassware stacktng apparatus which includes transfer tongs by means of which the articles maY be positively or accurately IQ handled and coiitrolled as distinguished from other types of staciing apparatus which so operate that tho ware is loosely or roughly handled and therefore'is apt to be injured or marred and may be upset and damaged. 15 The general object of the -invention is to provide novel glassware stacking apparatus of the foregoing type capable of handling articles varyIng widely in weights at widely virying speeds and more particularly to handle safely and efft- 20 ciently and at high speeds articles in the lower range of weights. More specifically, it is an object of the Invention to avoid the limitation on the speed at which glassware may be transferred from a forming 25 machine to a lehr belt which exists in apparatus requiring the ware to pass in one line'or through a single point. Such conditions constitute a "'bottle neck" deflnitely limiting the speed at which the ware can be transferred. Such "bottle 30 neck" and the limited speed of transferring re- . sulting therefrom, may be avoided by my invention by the use of which the articles of glassware maY be transferred from a blow mold to a lehr conveyor througli spaced paths and delivered at h5 spaced points on the conveyor and stacked there- ' on Indistinct rows. It is a further object of the invention to provide novel glassware stacking apparatus which includes, or to provide in conjunction with such 40 apparatus, novel means for cooling the glassware during the cycle of the transfer or stacking operation. The provision of such cooling means is d6sirable td permit a higher rate of producdvity of the molds of the forming machine, the 45 cooling of the ware after it has been iemoved from the mqlds permitting a reduction In the time that the ware remains in the blow molds. Pref - erably the apparatus of our invention is so constructed bnd operated that the articles may be 50 cooled while suspended by their necks from the tongs of the apparatus, thus reducing lwury to and possible loss of glassware which often results from setting down and picldng up the ware. Another object of the invention is to provide (CL 49-14) for the stacking or transfer of glassware from the blow mold of a fotmlng machine to a lehr conveyor In separate paths through which paths altemately formed articles are moved and in which paths the respective articles are suspended' for cooling, and In such raanner that, If desired, one article may be cooled while another article is stacked on the conveyor and a third article is being blown in the blow mold. Other objects and advantages of the invention will be pointed out in the following detailed description of two embodimenti illustrated in the accompanying drawings. It will be understood that various changes in the details of c@onstruction and the mode of operation may be made in the illustrated embodiments without departing from the invention as defined in the appended claims. In Wd drawings: Mg. I is a view in vertical longitudinal sectional elevation Mustrating our novel stacking apparatus associated with a glasswar6 forniing machine having single cavity molds and with a glassware annealing lehr; Mg. 2 is a view in front elevation of the associated stacking apparatus and forming machine shown in Mg. 1; Fig. , 3 is a view similar to Mg. 1, showing a modified form of stacking apparatus associated with a glassware forming machine havinz ]Dlural cavity molds; Fig. 4 Is a view in horizontal sectional top plan. of the apparatus shown in Fig. 3; Mg. 5 is a partly diagrammatic enlarged view in horizontal sectional top plan of a unit of our novel stacking apparatus, showing details of means for supporting and guiding the movements of the tongs of said unit; Mg. 6 is a view in horizontal sectional top plan of the means associated with a unit of our novel apparatus for effecting the movements of th'e tongs of said unit; Mg. 7 iS an enlarged view in vertical section of a tongs transfer device of the novel st'acking appafatus; and Mg. 8 is a piping diagram illustratlng conneetions between- a timing mechanism and several parts of the stacking apparatus and forming machine shown in Mgs. I tq7, inclusive'.,@ Considering first the general arrangemeilt of the fOrMing machine, stacking apparatus and lehr and referring particularly to Figs. 1 and 2, it Will be seen;ihat wehave illustrated a form-mg machine v@Mch may comprise two molding units or sections A and B. There have been omitted from .2,253,155 ing carried by an arm 27 on a vertical shaft 21, which shaft is nioved up and down by a piston (not showrl) in eylinder .29 on the top frame member 30 and 19 osemated by means (not fuuy showrl) including pinion 31 on said shaft, to move the blow head into and out of engagement with the blow mold. . The locations of the blow heads for the respective blow molds at the sides thereof are shown in Mg. 4, each of the blow head arms 27a in this fwue carrying double bl6w heads 28a for cooperation with the double mold cavities of the molds 12b and 12c. In Fig. I there ig partially'shown one type of mechanism which may be embodied in the forming machine and associated with each of the blow molds for receiving blanks and transferring them to each of the blow molds. The illustrated transfer m-e-c--h-a-nism comprises a pair of tongs as with operated by mechanims simflar to'that-70' Rnd 46 Is a plate 52 to the underside of which illustrated and described th connection with the Is secured a guide rail 53, FUs. 1, 2 and 3. TJae single bottom plate 21 of Pig. 1 and #avmg air guide ra-H 53 is of inverted Tshape in crou conduits 24a connected thereto. section. Said tuide raR 53 and the gwdeg 54 Each of the blow molds 12 and- 12a has iL blow on opposite sides thereof Provide guideways for head 26 asso@isted therewith, the bl6w head be- 75 slides 58 ilhd 57 which cury the tongs 16 wnd shown) may be connected for opening and closing the tongs, the tongs being vertically reciproe-ated toward and away from a blow mold 12 by means of u piston-(not shown) in cylinder 33, the rod 34 of which piston is suitably connected to the tongs 32. . -As shovm.in Mgs. 2 and 4, there are four dead plates 13 arranged in a straight line pararel to a line through the centers of the blow molds. Each of the dead plates 13, of which there are two associated with each blow mold 12 and [2a, <or 12b and 12c) comprises a houow box like structure, having a perforated top as shown at 35, Mg. 4 to direct air against the ware. EaGh of said dead plutes is mounted on a rod 36 of piston 37 in cylinder 38 on a bri@ket 39 secured to the forming machine base 16. Air is ad@nitted to and exhausted from opposite en6 of each eyhnder 38 through conduits 41 and 42 to raise and lower each dead plate. As shown in Figs. 1, 3 and 4 cooling air is supplied to the interior of the dead plates from a manifold-43 mounted oii'the front end of the machine base 16 and havlng four take-offs 44 each of whieh leads to the Interior of one of the four deoa plates and has a@ sliding flt therein (see Fig. 1). The mountings and arrangements bf the dead plates are provided for the purpose of moving them Individually toward -and away from, or into and out of contact with, -articles of glassware so@ended thereover irom the transfer tongs of the ware stacking apparatus. Considering now the details. of the stacking apparatus, it wiU be seen by reference to lng& 1 and 2 that the stacker units C and D are smpended from the top frame member 30 of the forming machine. Each unit comprises vertical rods 45 and 46 threaded through bushings 47 and 48 joumaled In the top frame member 30. The bushbig 47 carries hand wheel 49 and both of Wd bilshings carry sprockets"meshing with a chain By tu . rning the handle 49 on bushing'47. both rods 45 and 46 may be simultaneou4ly raised or lowered to adjust verticaily the support for the tongs of said unit so that the horizontai path of the tongs ma-Y be verticauy adjusted for articles of varying heights. CO=ected tO the lower ends of the rods 45 tongs IC and II, respectively, which altemately 20@ indicated at 32 to which suitable means (not the drawings mechanisms and devices whieh will, in practice, be provided for supplying glan to the machine, for forming the glass iiito blanks and for transferring th'e blanks to the blow molds of the molding units, the Mustration of suchmechanii@ns and devices being unnecessary for a coniplete understanding of the present Invention. The glassware staeldng apparatus comprises @units C and D associated respectively vdth the io molding units A and B. The stacker units C and D serve to transfer the ware from the molding units to ware cooling positions and then to stack the ware In the lehr L. The stacker units C and D may be substantially Identical in construction 15 and therefore the description wlll, for the most part, be directed to oxie only of said units, namely, the unit C. The stack-,,r unit C comprises two pairs of remove articles -of gl-assware from a -blow mold 12 of the molding unit A and corry them.to positions above one or the other of two dead plates 13 for cooling. From the cooling positions the tongs I 0 and I I carry the -ware In separate paths 25 into spaced positions to be stacked In distimt rows on the belt 14 of the lehr L. There are two dead plates 13 assoolated with each of the identical blow molds 12 and 12a of the molding units A and B. 3o The glastware forming machizie includes the base strueture 16 which earries blow raolds 12 @,nd 12a of the molding units A'and B (Mg. 2), eacii mold being of the sectional type, the sections being mounted in holders 17 hinged on pins 18, 35 Flgs. 1 and 4. The respective holders 17 for the molds 12 and 12a are connected for Joint operation bY suitable linkage a shown In PU. 4, dperated through ishafts and conneetions, not fully illustrated, from a cylinder shown at I B. in 40 Mg. 8 and which, in practice is mounted witbin the-bed f 6 of the machine. Air conduits 20 and 20a are connected to said cylinder. The molds 12 and [2a of Ms. 1 and 2 are of the single cavity type, whereas the molds 12b 45 and 12c of Flg. 4 are of the double covity tyl)e. The double cavity molds may be so designed as . to ' be m-ounted on the same mold holders 17 as the single cavity mold,s of lmgs. 1 and 2. FAch of the tongs I Da and I I a, shown In Flgs. 3, 4, 5 r)o and 8, alm is of the double type., that Is, adapted to transfer two bottles at once and the sWd tongs are intetchangeable, respectively- with toliig I I and I 1. Associated with each of the molds 12 aiid 12a, 55 is -a bottom plate 21, Fig. 1, PIVCtea at 21 and connected by Unks 23 to. a piston in cynnder 24 which receives air thr6ugh a conduit 24a to force the bottom plate Into, and hold It in itpper- . most, position where the halves of mold I 2. may 60 ,close about ft. When the blow mold opens leaving -an article of ware supported b7 the bottom plmte 2 1, W is exhausted from the idylinder 24 through conduit 24a and the bottom plate is lowered by tensidn dprings 25, leaving the article suspended 65 from one of the poks of tongs I I and I 1. By reference to PU. 3 it wiU be observed that each of the double cavity molds 12b and 12c has a double bottom plate 2 1 a- aawlated there- 2,253,155 3 1 1, respectively, and provide for horizontal travel thereol In order that each pair of tongs may be moved into position over blow niold 12 to grip an article therein, then moved away from the mold Into 5 position over one of the dead plates 13 and thereafter caused to travel in a path separate from the path of the other tongs to its stacking position, each pair of tongs is supported on its slide or carriage for rotary midvement, and mecha- 10 nisms are provided for rotating each pair of tongs between ware removing and c6oling positions. The supports and mechanisms - referred to will now be described. The slides 56 and 57 have brackets 58 and 59 15 formed respectively thereoni Flgs. 1, 3 and 5. These brackets extend in different directions rearwardly of and at angles tG the respective slides and terminate in journals 5$a and 59a for vertical rock shafts 60 and 60a on the bOttOm 20 ends of which are mounted tongs arms 61 and 6 la for tongs IO and I I (or I Oa and, I I a) respectively, see, Figs. 1, 3, 4, 5 and 7. The arms 6t and 6-la and the parts associated therewith are substantially identical and a de25 scription of one will suffice for both. As shown in Fig. 7, arm 61 has a mounting 62 depending therefrom for horizontal pivots 63 for the tongs hol-ders 64. Said holders are connected by links to a piston 65 in cylinder 66 formed in the arm 30 61. Upon admission of air into the 6@Under 66 through,p, duct 67, the tongs are closed and upon exhausiing @air fr6m the cylind6r, a compression si)ring 68, located between the head of Piston 65 and 4the mouhting 62, acts to raise the piston and 35 open the tongs. Duct 67 communicates through a passage 67a in shaft 60 and through bracket 58 with air conduit 67b, Fligs. 2 and 5, and.similar conneotions leading to a conduit 67b are provided for axm 60a for the operation of the tongs 40 carried th&reby. The mechanisms foi rotating the tongs arms 61 and 61 a will now be described with pgrticular reference to Flig. 5. The respective mechanisms are siinilar in construction but are so arranged 45 that the arms are turned In different directions as they move away from blow mold 12 and as they move into position over said mold. The turriing mechanisms for arins 61 and 61a include cam rollers 69 and 69a on bell crank8 71 50 and 71a pivoted in lugs 72 and 72a formed iespectively on slides 56 and 57. ]Links 73 and 73a connect the respeptive bell cranks to cranks 74 and 74a fast on the upper ends of shafts 60 and 60a, respectively. 55 Cam rollers 69 and 69a engage a cam rail .which is bo.Ited in horizontal position to plate 52 and wbich comprises -diverging portions 76, 76a which effect rotation of arms 61 and 6 la, respectively, and parallel portions 77 and 77a which 60 ceiuse the arms to travel in separated - straight line paths. Such movements occur in - response to the horizontal travel of siides 56 and 57 which cause the cam rollers 69 and 69a to ride along their respective cam portions. Cam roller 69 is 65 held in engagement with.cam portions 76 and 71 ' by a tension spring 78, and roher 69a is - likewise held in engagement with its cam portions 76a and 77a by a tension spring 78a. Mechanisms for reciprocating the slides 56 and 70 57 to effect horizontal travel and turning movements of the tongs arm SI and SI a and the tongs and ware carried thereby comprises arms 82 and 83 horizontally pivoted at 84 and 85 at their upper ends for oscillatory movements and con75 nected at their lower ends by Unks 86 and 87 to the lugs 72 and 72a on slides 58 and 57, respectively. The horizontal pivots for the arms 82 and 83 are mounted in a cross head $7a clamped at its ends to the vertical rods 45 and 46. The arms 82 and 83 are oscillated by pistons in c inders 88 and 89, Flgs. 1, 2 and 6, which, . Yi cylinders likewise are clamped to the vertical rods 45 and 46 below the cross head $7a. Cylindei 88 contains two pistons 90 and 91. The piston 90 acts to move the piston 91 to In turn move arizi 82 connected to slide 56 in order to cause tongs I 0 or I Da to tritvel from above blow mold 12 to a position above a dead plate 13. The subsequent movement of the tongs from above the dead plate to above the lehr belt Is effected only by the piston 91 and this piston is used to return the tongs to ware removal position. The piston 91 Is connected through Its rod 92, cross head 93 and link 94 to arm 82, the throw of the arm being made adjustable by the provision of a, row of holes 95. formed in said arm for a pin 96 In the end of link 04. Th6 cylinder 89 likewise comprises a pistoln 90a and a piston 91a, rod 92a of which Is ecinnected through a cross head 93a and Unk 94a to the arm 83 by adjustable connections such as provided for arm 82. Stop nuts I IO and i I Da on rods I I I and I I I a of pistons 90 and 90a, respectively, provide for the adjustment of the forward liznits of movement of the pistons and hence of the slides 56 and 56a, s.o that the positions of the tongs and the ware suspended theretrom over the dead plates 13 may be adjusted horizontally. By employing a piston with limited'stroke such as pistons 90 and 90a, stopping of the tongs and ware in exactly the desired positioil for cooling is assured which would not be true if a singie piston were used to effect the complete travel of the tongs, it not being feasible to stop a piston in exactly the desired position in the course of its stroke. The supply and exhaust of air tG and from cylinders 88 and 89 to effect the reciprocation of the pistons contained therein may best be understood by reference to Mgs. 1, 6 and 8. Considering first the cylinder 88, it will be seen that a conduit 97 is connected to the rear end of, the cylinder for the admission of air to, and exhaust of air from, the si)ace behind the piston 90. Near the center of the cy.Under 88 is a ci)nduit 98 and at the forward end of the cylinder a conduit 99. Admission of air through conduit 98 and exha-ust of air through conduit 99 causes piston 91 to move for*ardly to, the end of Its stroke. The return - travel of the piston 9i is accomplished by, the admission of air through conduit 99 and exhaust of air through conduits 97 and 98. qgch movement of the piston 91 returns the piston 90 to its rearmost position, as shown in Mg. 6. Siniilar conduits 97a, 98a and, 99a are connected to eyhnder 89 for actuation of pistons 90a and 91a In substantially the same manner as the pistons 90 and 91, it being noted, however, that the operations of the pistons In the respective cylinders, while having substantially the same cycle of 'operations, go through their cycles of operations at different times or out of phase so that the tongs IO and I I (or I Oa and 1 la) are moved altemately Into ware removal position without Interfering with one another. The operations of the various parts of the formlng machine and stacking apparatus are effected in the desired timed relations bv suitable timing apparatus such as timing drums 100 and 100a, shown In llig. 8. 7ne drum 100 may con- ference so that the articles may be stacked at trol the opemttons of the molding unit A and the spaced points and in distinct rows on the conveyassociated stacldng unit C whfle the drum 100a or belt. This. sub-division of the line of bottles niay control the operations of the molding unit'B from the blow mold permits greater speed in the and the stacking unit D. The respective drums 5 forming and stacking operatioiis and more unicarry adjustable buttons I 00a, I 0 1 a which oper- form weight loading and hence more efficient opate valve mechanisms (not shown) for admitting eration of the lehr than would be the case if aU 'air to and exhausting air from the various con- the ware from the mold had to move in a single duits which are connected to the valve boxes. line or through a single point. The drums 100 antl 100a may be driven from a io The turning movements of the tongs 10 and common shaft 102 through spur gearing shown I I and the movements thereof in separate paths at IDS and 104. Tbusi the two, stacking units C are particularly advaiitageous in the removal of and D are caused to cooperate with the'two mold- ware from double cavity molds as Mustrated in Ing units in timed relation with the moldirig units, Figs. 3, 4 and 5. By feforence to Plgs. 4 and 5 and with each other In the removal of the ware i.-) it win be seen that the double tongs are moved Infrom the molds, the cooling of the ware by the to registry with the two cavities of either ' of the :dead plates, and the stacking of the ware in unt- molds 12b or,] 2c and operated to grip two articles fgrmly spaced relation on the belt 14 of the lehr - or bottles therein and then caused to travel hortL. zontary while turning in a clockwise direction The timing of. the operations of the molding 20 through an angle of approximately 90'. to carry unit D and its associated stacking unit D prefer- the two -articles to ware cooling position above a ably is the same as the timing of the operations dead plate 13. 'Me tongs 1 Ca are shown in vvare of the molding unit A and its associated- stacking cooling positfon In Flgs. 3 and 4. Aft@r coolfng of unit,C and therefore the piping dfagram fn Flg. 8 the ware, the tongs move fn a straight line to Mustrates the complete air connections only for 2.,, stacking positton and the ware is stacked on the the molding unit A and stacking uni@ C. lehr belt. The rotation of a pair of- bottles as it In, the operation of the apparatus shown in is carried from the mold to ware cooling position Mgs. 1 and 2, articles or bottles are blown con- by tongs I I a is illustrated in Fig. 5 where the ceniecutively.in the blow mold 12, the blow mold 12 , te'r lines 105, 106 and. 107 of the dotted circles opens. leaving each bottle supported by bottom .1( representing the bottoms of the bottles are shown pip,te, 2 1. The tongs I 0 and I I altertately grip in various angular position8. The lines at 108 and t:ons6cutive bottles or airticles which are left sus- 109 indicate the straight line tra@vel of the arti@ended fiom the tongs by the lowering of the cles suspended from tongs Ila from the dead bottgm @late 2 1. 'Me consecutive articles or bot- plate to above the lehr. It will be uiiderstood that tIeEf are then carried horizontally and itlternate- 35 siniflar operations occur with the tgngs, 1 Ca exly into position first over one and then over the cept that they axe tumed in a clockwise direction other pf the dead plates 13 associated with the in moving toward the dead plate. Upon the remold 12. As the tongs alternately move into ware turn travel of each pair df - tongs from stacking cooling Position they are swung throligh angles of position to take-out Position the tongs are turned 90' by the cain control mechanisms previously re- 40 through an angle of 90 degrees to bring them into ferred , to, the torigs I 0 being turhed 1 counter- registry with cavity or cavities of the mold so that clockwise and the toiigsl I I being turned clock- they may be'closed about the necks of the ware wise. The movements of the tongs from ware when the inolds open. removal positions to ware cooling positions are . The word "lehr" as used in the specification effected by pistons 90 and 90a. .4., and claims is intended to aliPlY to any heat treatWhen a bottle has arrived at the ware cooling ing apparatus in which glassware may be anposition the dead plate 13 at such position is elenealed, decorated or terhpered. vated into or Just short of contact with the botChanges may be made in the details of con- I tom of the article and cooling air is blowri around struction and,mod6 of operation of the illustrated the bottom and bottom portion of ttie article so ;-, t embodiment of the invention without departing that it wiU be self-sustaining at least by the time from the scope of the aPPended claims. For exthat It arrives at the stacking position. This cool- ample, Instead of merely cooling the ware in the Ing operation Is carefury controlled and timed POsitioU in which the tongs stop over the dead with regard to the blowing of the article In the Plate, other heat treatment, chemical treatment blow mold and may be,varied according to rer)5 or scavenging of the Interiors of the horow articiuirements. When the cooling of the article is cles MaY be carried (>Ut at guch position. completed, the dead plate 13 is lowered and the The P(sition into which the tc>ngs are moved article is moved to the stacking position where it for remoial of ware from between the mold seeis released by the opening of the tongs. In the tio'ns is referred to in the claims as the "takeout mean time, the other pair of tongs il@ have been cio Position"; the pwtion into which the tongs are moied into ware removal I)osition and may have arrived at its ware cooling position by the tiine that the first pair of tongs has arrived at the stacking position. Thus, as shown In Flg. 1, one article may be cooled at the ware cooling position while another article i,s being stacked on the lehr belt and a third article is being blown in the blow mold.. The operations of blowing, cdoling and stacking'may be varied in dumtion by the adJustinent of the appropriate buttons 101 on the drum 100. The alternate opemtions of the-tongs and the tuming movements thereof permit consecutive articles to be moved altemately over the dead plates and through separate paths without internioved for co(ling or other treatanentof the ware is referred to in the clairas -as the "Ware cc)oling Position" or "Intermediate position,,; and the posit4OrL into which the tongs are moved to release 65 the ware to the conveyor is referred to in the claims as the "stacking position.,, 'Me tenn "multiple tongs" as used in the claims rneans a Pair of toilgs adapted to grip and handle a plurauty of articles slinultaneously. 70, Having des.eribed Our invention, what we