заявка
№ US 0002085594
МПК G03B41/08

Номер заявки
2556358
Дата подачи заявки
11.08.1931
Опубликовано
29.06.1937
Страна
US
Как управлять
интеллектуальной собственностью
Чертежи 
3
Реферат

Формула изобретения

claim: .1. In a devie-e of the character described, means for feeding motion picture film at uniform linear speed, rotatable plane-parallel refracting means arranged and adapted upon ro- 10 tation in timed relation with the movement of the flim to produce two successively stationary spaced virtual images of a luminous point on the moving illm, means to rotate said' refracting means in timed relation with the movement of 15 said fllm, a lens for producing,real images of said spaced virtual images, a reflector individual to each real image and cooperating with said lens to effect registration in a common image plane of said real images, a rotatable apertured 20 drum surrounding said reflectors, and means to rotate said drum in synchronism wlth said refracting means for alternately masking and unmasking said refiectgrs. 2. In a device of the character deseribed, 25 means for feeding motion picture film at uniform linear speed, rotatable plane-parallel refracting means arranged and adapted upon rotation in timed relation with the movement of the film to produce two successively stationary spaced vir- 30 tual images of a luminous point on the moving film, means to rotate said refracting means in timed relation with the movement of said film, a lens for producing real images of said spaced virtual images, a reflector individual tG - each real image a;nd cooperating with said lens to effect registration in a common image plane of said i,eal images, one of said reflectors being stationaxy and the other reflector being rotatable, said rotatable reflector being adapted in one position -10 to overlie the stationary reflector, and means for rotating said rotatable reflector in synchronism with s,,@id refracting means. 3. A mofion picture apliaratus compriisi"g m6aiis ?or feeding film at uniform lineEr,,'speed, movable optical compensating means, w-ears to effect during movement of t]2e iilm through a, sin&,Ie picture cycle movement of the, ing x,-<ieens through two C,7CIeS Tvhe-rebya point on the moving -fllm is ,@,onder-@0. opticaliy conjugate successively wit.,.-i twc. st@ibio-riary points lying in a, zpiced the direct:ioii @cxls, :a flrs,@ aiid a s,,cond re'-,IectoT 5 5 sp@ctively to said sppced poin't., il@idivic@uaily c.03p@y.,,,@,tive vjith spicl, leris 'o opticd," succe,@sl--,iely o--F sai-d z-@jcqcec@ @,,on, I-Lir,,ncy thereol the illir). il'ito tion sai,:2 i:lr,,@t -cc:d6.c,,,@or tc, 6 -,'rlectors si@igly c@,,o es. r evious!Y az' @he

stationary points lying In a common plane and being spaced In the direction of fUm travel, @, lens, a first and a second reflector individual respectively to said spaced points and Individually cooperative with said lens to establish optical conjtigacy successively between 8, statignary third point and each of said spaced points during conjugacy t4ereof with the moving film PDint, a rotatable apertured drum. surrounding said reflectors, and menns to rotate said &um in synchronlsm with seid compensating means for alternately masking and unmasking said reflectors. JACOB F. LEVENTHAL.

Описание

[1]

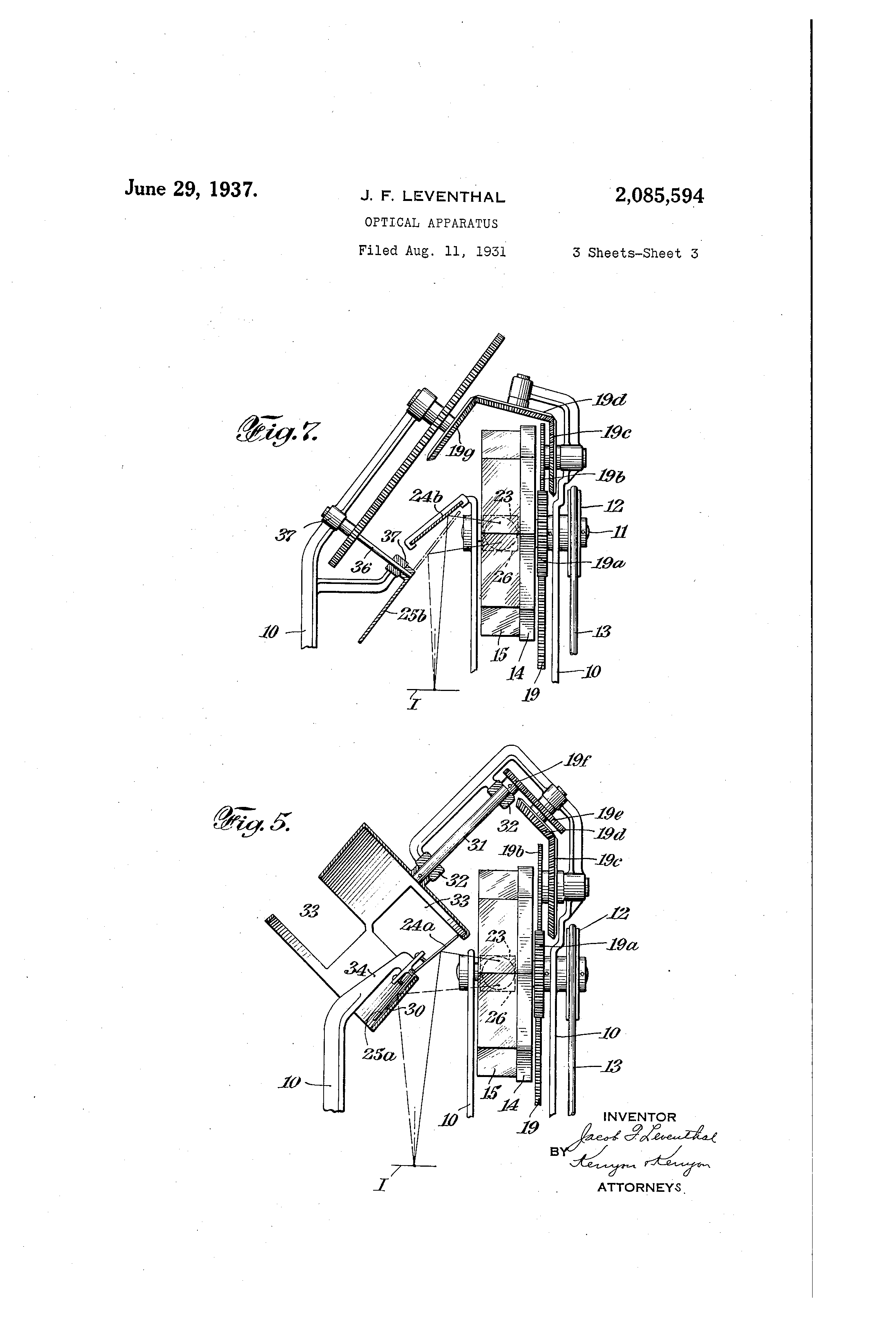
Patented June 29, .1937 2 @ 0 8 5 @ 5 9 4 UNITED STATES PAT.ENT OFFICE This invention relates to motion picture apparatus and more especially to an optical compensator for producing stationary images of pictures on a film advanced at uniform rate of speed. In sorae systems, the optical compensator used for this purpose is composed of a plurality of plane-parallel refracting members which are rotated about an axis in sy,-qchronism with the 10 linear movement of the film. Such compensators produce various kinds of objectionable aberrations, the magnitude of which is proportional to the compensation effected by each refracting member. It is an object of this invention to so 15 reduce in magnitude the aberrations produced by such optical cornpensators as tb make them unobjectionable. . According to the invention each picture is comperisated in a plurality of stages by succes20 sively operative refr@Lcting members and separate optical means successively effective axe provided for producing successive co-extensive stationary images of the picture. The magnitude of the 4berrations is proportional to the compensation 2.@effected in each stage rather than to the compensation of the entire picture and the aberrations are thereforib so reduced as to be unobjectionable. Other objects, novel features and advantages. 30 of this lnvf,,ntion will be apparent irom the following description and accompanying drawings, wherein: Mg. 1 is a side elevation partly in s-.ction of a compensator embodying the invention; 3r, Mg. 2 is a section-zubstantially on the line 2-2 of Mg. 3.. Fig. 3 is a fragmentary section substantially on the Ifne 3-3 of Fig. 1, Fig. 4 is a, diagrammatic view illustrating the ,10 principle of operation of the device; . lilig. 5 is 9, section similar to Mg. 2 of a modi-' :ded form of apparatu@s; Flg. 6 is a, partial diagrammatic section -of the modfflcation shown in . Fig. 5; 45 Fig. 7 is a view similar to Fig..2 of a further modified forni of apparatus; Fig. 8 Is a fragment@ry diagrammatic section of the apparatus shown in Fig. 7, a-nd Mg. 9 is on elevation of E4g. 8. 50 A @rame P@ 0 supports a shaft II on wweh is @r,iounted a drivi-ng, pu-Iley i? over wkiieh Is passed, 2,085,594 OPTICAL APPARATUS Jacob F. l@eventhal New. York,'N. Y., assignor to Leventhal Pat;@ts, Inc., New York, N. Y., a corporation of Delaware AX)pHcation August 11, 1931, Serial No. 556,358 4 Claims. (C]. 88-16.8) ranged with respect to the having their faces parallel axis of rotation and to said axis. A second frame 16 rotatably supports a shaft 17 to which is fixed a spi!ocket 18 and a pinion 19 which meshes with a pinion 19a fixed to the 5 shaf t II. Above the sprocket 18 there is provide d a gaie 20 through which motion. picture fllm F is drawn by means of -the sprocket I 8. A condenser lens 21 is provided for directing light from the source 22 through t.he film and 10 the refracting members 15. The gear ratio bettve en the pinions I 9 and 19a, is such that the film is advanced through the height of one picture while the holder 14 makes a fract@Gnal revolutio n equal to the ratio of two refracting mem- 15 bers to the whole number. In this particular inst ance, the holde!7 is provided with eight refrac ting members so that it makes 1/4 'of a revolution while the film is being advanced one l@icture. Wit h this arrangement, each picture is compen sated in two stages, the first compensating stag e being effected by one refracting member and the second compensating stage bein@ effect - ed by the following refracting member'. An obje dtive lens 23 irriages the compensated Pic- 25 ture s. The first refracting member compensates the pict &e while the same is being, adva;nced. a distanc e equal to one half of its height and produc es a stationary virtual image of the picture, 30 the central point Vi of which is spaced a, p@edete rrilined distance from the optical axis of the app aratus in the direction of film travel. The sec ond refracting memb@r also produces a station ary'image of the picture, the midpoint V2 Of 35 whi ch is spaced from the optical axis the same dist ance; but oppositely from the image produc ed by the first refracting xrember. Real images of the compensated pictures are for med by the lens 23 and axe made co-extensive 40 in the same plane by mcans of ,i pair of mirrors 24 and 25 set at different aiigies and to which the light path is directed by a reflecting prism 26. A shutter 27 ig mounted on the shaft I I and is provid@d wiih aperyures 2C, and 29 to permit 45 @.li ght to pass to one of the rail,'rors while blocking off light.from the other iriirror. These aperture s are so arranged that light passes to one of the mirrors during the first stage of compensation end to the other mirror during, the second 50 sta e,. of C' 9 ompensation. Super-position of successive pictiiies is thtis prever@ted and two, suc-@h.e driving lielt I S. A holder 0 6 is flxed to the. , cessive co-extensive real ima@,es of each pieshaft I I and supports a plurality of plane-paral- ture are formed. 65 lel r,@,14racting members E 5, symrhetrically ar-' The operation is diagrammatically illustrated 55

[2]

2. 2,085,594 in Mg. 4. In this flgure Vi represents th6 midpoint of the stationary virtual image produced by the first refracting member and V2 represents the midpoint of the stationgry virtual image produced by the second refracting member. 0 designates the optical axis of the apparatus. By means of the mirror 24, the real iinage of the picture is produced at I during the period that the first refracting member iseffective, one of lo the apertures 28 being in register with the mirror. During this time the mirror 25 is rendered inoperative by reason of being blocked off by the shutter 27. By means of the mirror 25, the real image of the picture is formed at I during the 15 period that the second refractin@ member is ef-fective. During this period the. niirror 24 is inoperative as it is blocked off by the shutter 27. Thus, successive coextensive images of the same picture are produced during the two compen20 sating stages and whue the picture is advanced a distance equal to its own height. The aberrations are so reduced as to be unobjectionable due .to the fact that the magnitude of such aberrations is proportional to the compensation effected 25 in each compensation stage rather than to the entirecompew@ation of the picture. In Mgs. 5 and 6 there is disclosed a modified form of shutter and the mirrors are provided with means for adjustitig their angularity. The &hut30 ter consists of a drum 30 mounted on a shaft 31 rotatably supported by the bearings 32 of the frame IO. The periphery of the drum tapers inwardly so as to conform generally to the mirror surfaces and is provided with a pair of slots 35 33, each of substantially 180, in length and each being arranged in register with one of the mirrors 24,a and 25a. Thus, during one-half the rotation of the drurai 30, the mirror 24a Is exposed and during the other half of the drum's 40 rotation, the mirror 25a is exposed. The mirror,s, axe pivotally supported by a, bracket 34 extending from the fra@-ne IC and Screws 35 provide means for adjusting the angularity of thcmirrors. The shaft 31 is driven from the shagt 4.1 j I by gears i 9a, 19b, 0 ge, I Od, i 9c and I Sf a:6 four tim!--s the speed Gf the latter so th@qt the ,ql-i,.,,tter makes or-e complete revolii@clon t,'@c corh-uensation of a sin,-,le picturc,. T!Iil-s. 6 and 7 d-laclose a j'urther 3slodiflcp-tion cz 50 thesh-Litt(--r. :@nt:aisnio diilcation,,themirroT,'@,@6b is statioiiary E@nd is suppr@rted the frinic I'C, ,,,7@,iile the inirro,-,, 'z@.5b is rnou, -,ft @13 ):-o-',.,,tg,bly suppoyted by bea@:iii.-s 11 bY' fyt,,i-qe @l. 'B,.ie r@,irror 2@)b Is ,@ a 'a .@ ota@.@- r) 5 ser-ni-eircular in and @is id,to in 1-;ont of the r,,iirror ?.fb so of each revollitiovi oj" tiie shn,,j't i,,, 24b Is obsclu-ed by t 31 3'@ - Y,nore, durin.- one-haJ:@' of its rc-,iolix@ioi-7- t"L..;,-, 2'@Iq o--,- !rib lies ou-tsi(fte tk%e EC is t,he p@-iiod i-n -,@7hich the r-,--or the latter is @lr@oper,,ti've iorryier @@. -)Perat'ive. 'Clie- is ',,'5e t I I by silt@ tZ) We gcf@@'s 9 1911, foiir t-iri-ies the spead ri@ yicIt Is of coiirse understood that vaxious modifications niay be made In the apparatus above described without in any way departing from the spirit of the invention as deflned in the appended claims. I

Как компенсировать расходы
на инновационную разработку
Похожие патенты