заявка
№ US 0002025530
МПК D05B35/08

Страна
US
Как управлять
интеллектуальной собственностью
Чертежи 
3
Реферат

Формула изобретения

claim: 1. In a sewing machine a feed dog, a main presser f6ot adapted to control the rate of feed of material thereby, an auxiliaxy presser foot co45 operating with a portion of the feeding dog independently of the main presser foot, drive means for said machine, and means operable by said &ive means,to periodically vary the pressure of said main presser foot on the material so as to 50 alter the characteristics of the stitched product. 2. In a sewin,@ machine a feed dog, a main presser foot adapted to control the rate of feed of m, aterial thereby, an auxiliary presser foot cooperating with a portion of the feeding dog in55 dependently of the n-ig-ii-i presser foot, drive means for said machine, a-nd mea@- is operable by said drive means to periodically raise and lower said ma.,n presser foot so: as to alter the characteristics of the stitched product. 60 , 3. In a sewing machine a feed dog, a main presser foot ada ted to control the rate of feed 6f mate'rial thereby@ an auxiliary presser footcooperating with a portion of the feeding dog independently of the main presser foot, drive means 65 for said machine, aiid cam means operable by said drive means to i)eriodically vary the pressure ckf said maii-i presser foot on the material so as to alter the characteristics of the stitched product. 4. In a, sewing macliine a feed do.-, a, main 70 presser ioot adap'ted to control the rate of feed of material thereby, an auxiliary presser foot cooperating witl-i a portion of the feeding dog indep,--ndently of the main presser foot, drive means f-or said machine, and a rotatable cam operated 75 by said &ive means to vary the pressure of said main presser foot on the material so as to alter the characteristics of the stitched product. 5. In a sewing machine a feed dog, a main presser foot adapted to control the rate of feed of material thereby, an auxiliary presser foot co-@ 5 operating with a portion of the feeding dog independently of the main presser foot, a rotating drive means for said machine, a cam disk operated thereby at a slower speed, and means actuated by said cam disk for periodically varying the pres- 1( sure of said main presser foot on the material so as to alter the characteristics of the stitched product. 6. In a sewing machine a feed dog, a presser foot adapted to control the rate of feed of material 1 thereby, a rotating drive means for said machine, a cam disk, a reciprocating arm adapted to drive said cam disk in 6ne direction, eccentric means operating said arm from said rotating drive means, and means actuated by saa'd cam disk for -o, periodically varying the pressure of said presser foot on the material so as to alter thecharacteristics of the stitched product. 7. In a sewing machine a feed dog, a presser foot adapted to control the rate of feed of material @,5 thereby, a rotating drive means for said machine, a cam d4sk, a reciproe4ting arm adapted to drive said cam disk iii one direction, e.ceentric means operating said arm from said rotating drive means, means to adjust the tl-irow of said arm for -0 changing the speed of rotation of said cam disk, and means actuated by said cam disk for eriodip cally varying the pressure of said presser foot on the material so as to alter the characteristics of the stitched product. '57' 8. In a sewing machine a feed dog, a presser foot adapted to control the rate of feed of mater,.'al thereby, drive meayis for said macwne, and a rotatable cam operated by said drive means tovary the pressure of -aid presser foot on the mate40,@ rial, and means to adjust the sneed of rotation of said cam with respect to the speed bf said drive means so as to alter the characteristics bf the stitched product. 9. Iii a sewing machine a feed dog, a presser 45ifoot adapted to; control the rate bf feed of material thereby, a rotating drive Pi,-ans for said machine, a cam disk having a f,@'4c'Lion drum associated therewith, a reciprocating arm having friction ratchet mecha-T-lism adapted to engage 50 said drum for driving the same in one direction, eccentric means opera'@ing said arm from said rotating drive means, aiid means actuated by said cam disk for@ periodically varying the pressure of -qaid pre,,ser foot on the material so as to alter the 55 characteristi-cs of the stitchld product. 10. In a sewing machine havi,.ig a presser foot, feed dogs, and drivinp., mechanisni, a shirring device having means to guide shirring material to the feed dogs independently of sa@4d presser 60 foot, means t6 feed a base material to said presser f6ot, and means to periodically vary the pres@-ure of said presser foot on said base material for al@@ering the rate of feed thereof so as to change the characteristics of the shirriig. 60@ 11. In a sewing machine hav,ng a presser fobt, feed dogs, and d-riving mechar@ism, a shirr4@ng device having means to guide shirring material to the feed dogs independently of said presser foot, means to feed a base mater-lal to said presser 70 foot,, and means I to periodically raise and lower said presser foot 6n said base material for altering the rate of feed thereof so as to change the characteristics of the shirring. 12. In@a sewing machine having a presser foot, 75

2,025,530 feed dogs and driving mechanism, a shirring device having means to guide shirring material to the feed dogs independently of said presser foot, means to feed a base material to said presser foot, and means to periodically raise the presser foot from said base material so as to retard the feed thereof and to increase the puckering or shiriing of the sbirring material. 13. In a sewing machine having a presser foot, feed dogs, and driving mechanism, a shirring device having means to guide shirring material to the feed dogs independently of said presser foot, means to feed a base material to said presser foot, and means to periodically vary the pressure of 15 said presser foot on said base material for altering the rate of feed thereof so as to produce interniittent shirring. 14. In a sewing machine having a presser foot, feed dogs, and driving mechanism, a shirring de20 vice having means to guide shirring material to the feed dogs independelitly of said presser foot, means to f eed a base material to said presser foot, and means to periodically vary the pressure of said presser foot on said base material for alterS,@,3 ing the rate of feed thereof so as to cause intermitten t changes in the amount of pucker or sliirring. 15. In a sewing machine a feed dog, a presser foot adapted to control the rate of feed of material thereby, drive means for said machine and 5 a rotatable cam operated by said drive means to contro l the raising and lowering of said presser foot to vary the pressure of said presser foot on said material, said cam having means to vary the effecti ve lengtl-i of the surface thereof to change 10 the relative times for raising and lowering said presse r foot. 16. In a sewing machine a f eed dog, a main presse r foot adapted to control the rate of feed of material thereby, an auxiliary presser foot 15 coope rating with a portion of the feed dog independe ntly of the main presser foot, drive megns for said machine and a rotatable cam operated by said drive means to control the raising and lowerilig of said presser foot to vary the press&e Of 2( said presser foot on said material, said cam having means to vory the effective length of the surface thereof to change the relative times for raising and 1<)wering said presser foot. CHARLES SEAMAN. 25

Описание

[1]

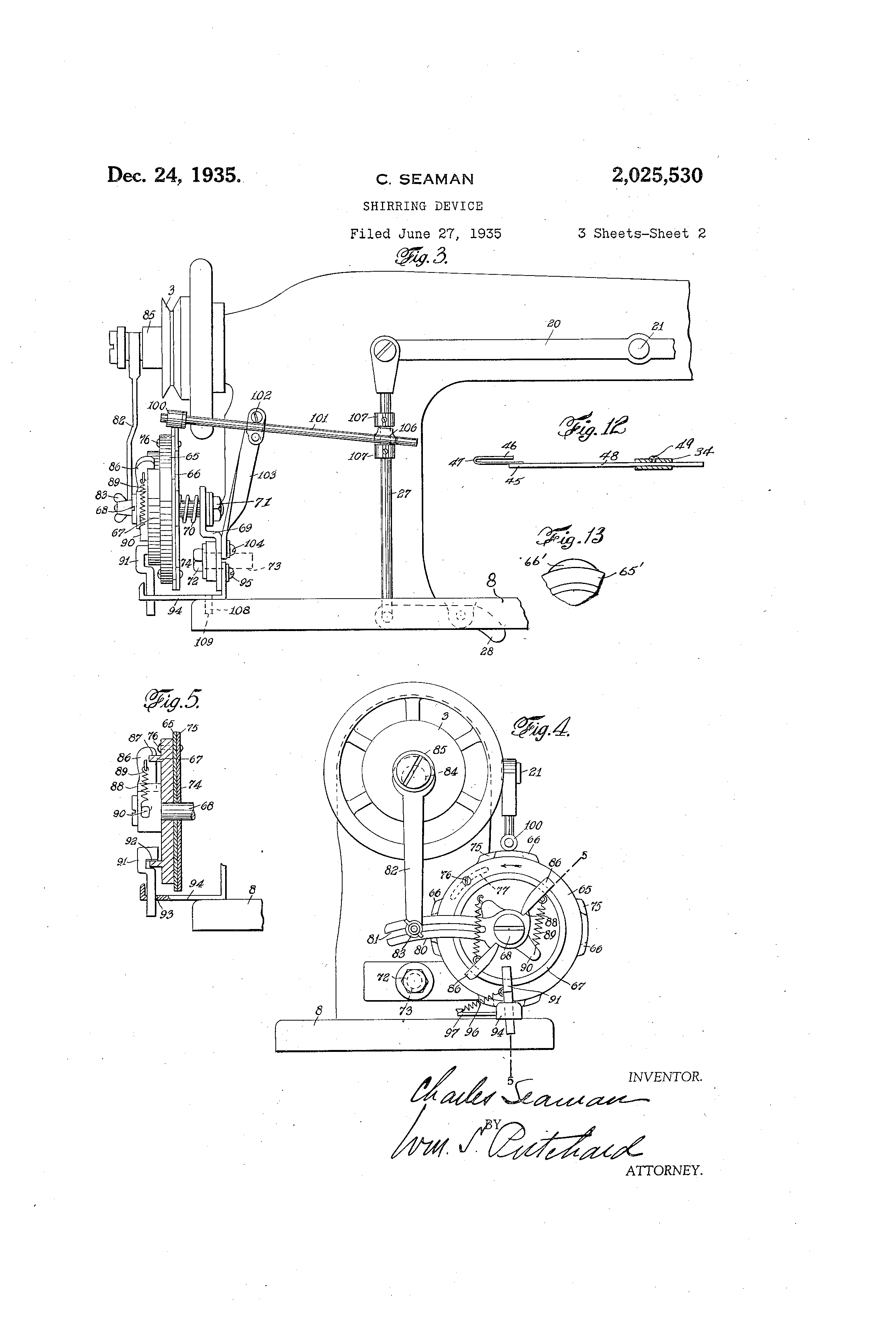
P atented Dec. 24, 1935 2 @ 0 2 5 @ 5 3 0 -FF UNITED,-@STATES PATENT 0 2,025,530 SMRRING DEVICE Charles Seaman, Jamaica Estates, N. Y Application -June 27, 1935@ @ Serial. No.: 28,594 16 CIaims. (Cl. 112@134) @M-us -inventi-on; relates to sewing machines and m or,eiparticularly to@ a device or- attachment for raaki-ng -and stitching shir-ring or ruffling ontol a base@ material. An object of @the invention is: to provide a de-vice for shirring at ,@paGed @intefvals so, as to make a;. trimniing 4Df at@@ractive design. -Another -object is @to provide means for automaticallyinterrupting or modifying -the@ shirring fj -@operation at, predetermined inter-vals. Another @ object: is to provide a trinuning having spaced shiri-ing or puckers. . Another -object is to, provide a shirring having non-uniform characteristies. 15 ';Another object is to provide a shir-ring the c haract,er@is'@ics of,@which--are varied at re@ular inter.vals. @ Another-@ object is -to prgvide a device for making- @and attaching a, shirring of @ the; above type. 20 with a.@single roiv of stitches. -Another object is to provide a simple, efficient and@ dependable device for the above . purposes. V,a,rious-other objects-and advantages will be appaxent as: -the @ nature @of. the - invention is more .5;, fully disclosed. I I AlthGugh the@ novel f eatures. which are believed to be chara;cteristic of-;this invention:will be pointed-@out mGrL- in detail in the claims ap30 pended hereto, the, broad aspects of the, inven tion Vfll, be better understood by referring to; the following description tak-en in-connection with the: accompanying drawings @in- which: Mgure I -is; a @ front elevation of a sewing machine embodying the-present invention. 35 Mgur@e 2 is -a top plan- view thereof, partly btoken away ta show the shirring attachnient. Figure 3 is a rear elevation of a portion of the sewing machine showing@ the internuttent drive. I I Figure: 4 - is an - end el6vation of the machine 40-@showingthe intermittent drive. . 1: Figure@ 5- is- a@ section taken on the line 5@5 of Figure 4. Mguxe 6- is a persp@-,ctive view illustrating the shirring attachment. Figure 7 is an end elevation of the,mach'me, partiy in sectio@n shgwing the shirring atta;ch-.@ ment and.presser foot operating mechanism. Figure 8 is,a. plan -view of one type of shir-ring -.,prGduced by the present device. 9- Figure -9 -is a;, section. taken on -the,line 9 Of Mgure 8. Figures 10 and ill are ploii -.views showing dif f.erent @ forms of shirring@ which can be: produced L@'iby- the- presentcdevice. -Figure 12 i& a side elevation,4partly in @section, of one of the guide -mechanisrns. . Figure 13 is a par-tial end- elevation of a. -modified form 4Df,,the@,cam. In@the-specification)and'in@the@claimscert. ,in specific temi-q have-been used for. tonvenience@-in referring to; the various details of- the -in;vention. These terms, however,@,are tobe given :broga.an inte-rpretation as the @@tate of. the art'@will. pernlit. -@t Referring to the@,drawings@ more. in,: detail-,@ he, -Lnvention is shown as embodied in-@ a@sewing@,machine.zomprising a@head, 1,,.@ha-v-ing,-a needl6 bar 2, which is reciprocatedi -by., suitable.,.driving means, such as a pulley. 3, . &iven by @a; belt (not shown). The needle bar 2.is--adaptedl-,to@aarry;1,5 a needle 4 by@- wwch the sewing @ is. effected -i-ri a wellknown manner. The-head I also.carxies.a p-resser f oot, bar 5,having a presser,f (>ot, .6.; adapted to hold the material in -engagement@@.,With ia--,@set ,@b of feed dogs 7. which@ are..mounted-@below @m. ase 20 plate 8 and extend through@ an -aperture'-@9 i-therein. The feed@:dogs:7,@may be@-operated-,.by.-i-@@any suitable means-to interm,.ttently@engagetlie@:material and feed T the:@.same..past .,.@the -,needle Tfor stitching. The presser foot bar 5 @eatries'@an@-arMr 25 12@ which is adapted to be. engaged -by@@.a@@cam lever 13 for raising the presser foot--bar-@@fTonv@,the work when it is -desired to @release-.,,the,:@.work;@'for example, to adjust.@the position.thereof @i-n:the maeliine. The cam lever'@l 3.:, may, be @.Pivoted- to@ 30 a pcrtion of the head I and mayhave a handle 14 located @-in a position readily Laccessible to the operator ;of the niachine. @ The upper..--.end,, of the presser fogt bar 5 may be journalp-d in.al-sleeve 15, which may be threaded into-, thi@..@,head@.A, ,and, 35 serves as an adjustable shoulder a;gainst@,which a spring 16 is seated. -The spring@@16 is.-coili@d around the presser foot bar 5 between the sleeve 15 and @the @ arm 12 ., and serves to, hblcl the@presser foot @ 6 -.against the. - mate-rial @ -when@ the@@.lever - 1 3 40 is released. In ,order to operate the presger@ foot: bar without removing the hands frorri 1; the @.@materlal,:; a kneeoperating means is provided@,@1--comprising;-a lever 20 wl-iich is pivoted to the back@,,of the-,,head 45 1, as at 2 1, and is connected @at oneend to -a,,link 22 wli,:ch is, in turn, pivoted-to the@-.arm 12;-, as by screw 23. The link 22,may be provided with ar, elongated slot 24, engaging a@pinl-25.,,caxried by a lug 26, secured to the.lever 20:.i The@elon@ ga-,ed slot 24,.providesi a suffleient amount'of @lost motion to permit@'the presser foot@@;bar-@@5.t6 -be elevated by the lever 13; without:.@moving - th6 lever 20. The lever 20 is operated by a link:.27 Nvhich is pivotauy connected to a@lev& 28,.-:. The @-,5'.

[2]

2 2,025,530 lever 28 is adapted to be operated by suitable mechanism (not shown@ respgnsive to knee pressure. It is to be understood that the mechanism thus far described is of standard construction an-d oWy so much thereof has been shown as is necessary for a complete uiiderstanding of the present invention. The shirring attachment egmprises a plate 32, 10 which is adapted to be secured to the base plate 8 of the machine, as by screws 33 (Figures 2, 6 and 7). The plate 32 carries a block 34 to wliieh a plurality of bars 35 and 36 are secured. These bats may be joined at the free ends by a cross15 bar 37 to form a comparatively rigid framework. A resihent lever 38 may be secured to the bar 35, as by a screw 39. Oii6 end of this lever may be bent downwardly to form an auxiliary presser foot 40 having a center notch 41 thrbugh which 20 the needle 4 is adapted tG pass. The other end of the lever 38 may extend over the bar 36 and may provi 'de a handle to faci litate adjustment thereof. A lever 42 may also be pivoted to the bar 35 and may be adapted, when rotated in the 25 direction of the arrow (Figure 6), to press against the under surface of the lever 38 fGr raising the auxiliary presser foot 40. A guide meiilber 45 comprising a plate 46, one side of which is bent over to form a flange 47, may be 30 secured to a bar 48 which is slidably held in the block 34, as by an adjustment serew 49. In addi'@ion to serving as a means for adjusting the guide member 45, the bar 48 cooperates with the bars 35 and 36 to form atensioning gate for 35 the shirring material. A wire 50 may be secured to the bar 36 br to the guide member 4U and may extend at an angle thereto for guidiiig the shirring material to the 9_,uide member. The wire 50 may be of sufficient length to receive 40 shirring material of varying widths and to perniit the shifting of the same relative to the feeding means of the sewing i,,lachine by adjustment of the guide inember 45. The auxihary presser foot 40 may also have mounted thereon an edge 45 folder 5 I of the usual eGnsLruction and arranged to normally align with the needle 4 and the main presser foot 6. TO permit adjustment of the presser foot 6, the top of the presser foot bar 5 may be tapped, 50 as at 6 0 @ and may receive a threaded pin GI carried by a hand nut 62. The presser foot bar is free to move vertically within the sleeve 15 and the hand nut 62 provides a stop which bears against the top of the sleeve 15 for determining 55 the lower position of the presser foot G. As the hand nut 62 is rotated, the presser foot bar 5 is adjusted upwardly or downwar@cuy within the sleeve 15. The intermittent d-riving mechanism comprises 60 a cam wheel 65 carrying cams 66 4nd a frictioll drum 67. The cam wheel may be journaled on a sha.Lt 68, which is supported by a bracket 69, and- i@lay be held by a spriilg 70 in frictional engadement with a stop r-)ut 7 1. It is to be un65 derstood, however, that other suitable bearing supports may be provided for the cam ivheel 65, if desired. The bracket 69 M-ay be secured by a screw 72 to the head I of the sewing machine. The arrangement is such that the screw 70 72 is@ada--Oted to be inserted in a.tapped hole 73 ivhich is normally made in the sewing i-nachine head whereby the devi.Ce may be attached to the head wit@hout clrilling or otherwise injuring the same. 75 A cam disk T4 mav be provided with cams 75 similar to tl7Le cams 66 and may be adjustably secured to the cam wheel 65, as by a screw 76, cooperating with an elongated slot 77 in said cam wheel. The arrangement of the cams 75 and 66 is such that rotational r@iovement of the camclisk 74 with respect to the cam wheel 65 causes the effective length of the cam surface to be varied. For operating the cam wheel, there is provided an arr@i 80 which is journaled about the shaft 68 and is provided with a slot 8 I in which a link 82 10 is adjustably pivoted; as by means of an adjustable screw 83. The link 82 is provided with an eccentric 84, which is secured t6 the hab 85 of the driving pulley 3 of the machine, in such manr@er that the link 82 is caused to reciprocate ver- 15 tically as the pulley 3 is rotated and to cause corresponding movement of tl-ie arm 80. The arm 80 is connected to the cam wheel 65 by @means of fr-iction ratcliet mechanism comprising friction driving members 86 made of suitable 20 friction material, such as a carbon coniposition, and having a recess or channel 87 adapted to seat over the fricti-on drum 67, but having sufficient clearance with respect thereto to permit the drum to be driven in one direction in the manner here25 inafter specified. The friction driving members 86 rest at their inner ends against shoulders 88 'Lormed on the arm 80 and are held against said shoulders and against the friction drum 67 by means o,.L springs 89 which extend between the 30 me-mbers 86 and ears 00 assogiated with the arm 80. For preventing reverse movement of the cam wheel 65, a brake is provided comprising a friction member 91 formed preferably of material 35 similar to that of the members 86. Said member 91 is provided with a channel 92 adapted to seat over the friction drum 87 and extends thro-ugh an aperture 93 in a guide plate 94 which is secured to the bracket 69, as by a screw@@95. 40 AL spring 9G may extend between the friction member 91 and an ear 97 formed on the guide plate 94 to hold the friction member 61 in a Position to prevent clockwise movement of the drum 67, as viewed in Figure 4, but to perniit 45 movement of the drum 67 in the opposite direction as indicated by the arrow in Fi.-ure 4. The arrangement of the driving mechanism ab6ve described is such that on each downward,, stroke of the arln 80 the members 86 fri-tionally 50 engage the friction drum 67 and cause rotat-lon thereof in a counter-clockwise direction, the drum slipping in the member 91. Upon each upward stroke of the arm 80, the member 91 holds the drum 67 against reverse movement and the fric- 55 tion members 86 are caused to slide thereabout. The construction, in effect, provides a one way clutch which perrr@its the arm 80, by reciprocating rapidly, to cause a slow-rotat4@Onal movement 6f the cam wheel 65 in one direction only. The 60 speed of rotation of the cam wheel is adjusted bY varying the pos,"tion of the screw 83 in the slot 81. When the screw 83 is shifted further from the center about@ which the arrli 80 rotates, the angular throw of the arm 81@, is i-nade smaller 65 and the an.-ular movement of the cam wheel 65 at each stroke of the a,-m 80 is correspondingly less. When the screw 83 is shifted nearer said ceiiter, a correspondingly faster rotation of the ca,,n wheel is obtained. The cams 75 and 66 cooperate with a roller 100 70 carried by@an arm 101 which is Pivoted as @t 102 to a bracket 103, secured to the bracket 69 by suitable means, such as a screw 104. Obviously, the brar-ket 103 and the guide plate 94 may be 7&s

[3]

formed @integ-rally-with,@ the-,bracket- 69",.if-@,,desired-, The arm'l:]Dfi@slidablyengageslacollar@,1061,.Which, is .'held,-bet-w.eeti.,the .stop@ i I OT on@.,the..Iink. 23, by whidh-th,e----position -of the.presser foot.@bar 5 isadju@ted.:-;,Thelpoint of:atluachment @of @the @arm I 0 1 ta.@the libk:17@may be-adjusted by varyizigthe position,of the@ stops 107. If. desired, a dowet@ I 08 may be secured tG- the.guide plate 94 in--a@ positi-on to::engagel o; hole f 109..- which is -usually,, formed iif 10 the -base-plate -of the sewing, machine@' . The@ positiori -bf -,the dowel thus assists the screw 72 in rigidly - se=ing @ the attachment- itL place. A guard I IO may be secured over the bars. 3 5, 36-@-and 48, as by.screws l@ l@l -@engaging;the blobk 34, 15 This-..-:guard is:adapted to :prevent.the operator from:coming.iry@conta6t withthe shirring material and. @inteffering with-- the efeed thereo.L,. A guide wire 1- 1 2, @havlng adjustable@: stop@ members 1 '3, may be secured to the @ guard I I 0 for@ guid,'@ng the 20 shirring material. thereto. . In. the opeiration, of this device, the shirringmateri-al 120:may be fed@from a roll 121, which is supported on a suitable bracket 122,,over the guide -wire I 1 2, -Linder ,Ile guard I I 0 ' -under. and 25 over alternate@bars 35, 46 and 36 of @the.tensioning gate around-the wire @50, through the guide member @5, under@ the auxilia.,y presser @fgot 40, @@and into@-engagementwith:thefeeddogs7.. Theshirring.:@mat&ial 120 is thus positively fed by the 30 feed -dogs 7 whenever the:-machine is operated, being held in @fi@eding -position by @means @ bf the auxiliary presser - foot 40. In order to - thread this @material-,through% the machine, the presser foot 40 -may be: raised by operating the lever 42. U During operation, however, this lever is -caused to release the presser ifoot @40 and:permit the same to hold; the material iiito feeding position. The base@ material. 123 is fed to the needle over the presser foot 40 and under the presser foot 6, 40 whereby@ the @feed thereof: is determined by pressure exerted by the presser foot 6. If the edge of the base@material is to be folded to receive the stitching, the:edge--may be passed-through the edge folder 51 which aligns..with@lthe@:noedle 45 4 so that the edges are folded and fed to the needle ih @condition for stitching. If the@ swrring material 120 is to be applied to a positign other than the edge of the base ma-, terial. 123, the latter may be fed over the edge r)o folder 5 f and may extend on both, sides thererf a suitable amount to bring the desired Portion into the path of the needle. When the material is fed to the machine in the manner above described and the presser foot 55 6- is elevated above the base material a sufficient amount so that a full feed is not obtained, the shirring material is fediat a faster rate than the base material and is caused to pucker up or gather in folds or shirring at the point of stitch60 ing. The shirring material is:stitched in this condition, whereby a single row of stitches holds the material in @ shirred condition and attaches the same to the base materilal. The relative rates of feed, and.consequently 65 the amount of puckering or gathering of the shirring material, may be controlled by varying the pressure of the presser foot 6. With the presser foot 6 fully raised, a maximum slippage takes place:between the base material and.the 70 feed dogs, whereby:the greatest shirring effect is obtained. As the liresser foot 6 is@lowered and .exerts a greater pressure on the base material, less slippage takes place. - @Hehce, -less swrring. effect is obtained. When@the presser foot 6 is in 75 its lowest position,@the feed,@dogs 7@feed,the base 3 ma@terial@and the shirring,-material@at@-.the:same speed--.and na. sliirxing 'effect is obetained.-@ In;Figure-13@.@there is shovvm a cam wheel-'65'-Iand a cain @@661 which @may @ be @used when it is -desired to:.varyi the@pressure-of-@the presser@foot on@the ma@.terial. @As, the@ m. achine: is@@operated, the -ram wheel 65 is.@, caused ta,,rotate continuously at a substant@ally@-@,.constant@@speed. The cams 66 and- 75 altemately @,;raise qnd lower the roller @ IO 0, and, 10' through the.i arni cause similar movement of,@the-irod. link - the@ lever 20, and. the. presser. foot bar 5. The pr@sser foot 6 is thus intermittently r-aised and-,. lowered @ as @ the: machine is: operated. '.When,. the -presser: foot is lowered,@ the shirring material 120 and @-the base material @ 123 . are fed at:@@equal; speeds@ and no shirring takes:,place, thereby@producing a flat portion 131 (FIgUro;8). When the presser foot is raised,-shirring takes place to.@produce a shirred portion 130 ' -.This,con- 2o tinues at regular intervals to @ produce an interm-ittent shirred-trimming as illustrated in,,Mgure O., @ @The relative: spacing of the, shirred portion 130 and the flat portion 131 can be adjusted by vatying the@ speed of @rotation of the- cam wheel, 25 as by -changing - the point of connection @ of @ the link 82 to: the @arm 80. When the,,@cam:wheel is speeded up,, shirring -takes pla ' ce atshorter intervals, and @the shirred portions are @ spaced @ closer together as,incheated by shirred -portions 132 and flat@ portions- 133 in Mgure 10. It is obvious- that, by varying the point. of adjustment of. the @link 82 to the arm 80, any desired;@spacing can be obtained. I In order to vaty the ratio, betwee-,i, the shirred and unshirred portions, the length of the earns may be adjusted by@ loosening the screw 76 and rotatiiig@the,cam@disk 74 with@'respect:to:@the cam wheel 6 5. - The greater the . cany length,@ the i greater the relative t me that the Presser foot.is raised and a greater relative arnount of shirring is obtained. @It is-also:@@poss,,ble-ta,@,vary:the charactet-istiesi@of the@ shirring as -for example, to cause-,thiE@ shitxing to take plar,-@-continuously, but to-,provid-e a 6,greaterzaMoUnt of-.pucker at one P-oint@than at others' Fok.-tWs @purpose, the Positioli ofithe presser foot .6 @,is -adjusted by,@ raeans of -the hand nut . 62,' Tllis can, also be . accomplished:by increasing the length ;of @ tb-e stitch w:tl@i -the@ stitch 50 adjustment:,.with which every machine is.@provided. 'When the presser foot 6 is lowered with respect to the sleeve: 15 so that it comes closer irito engagement with the base material, a smaller amount of. shirring takes place. In order to provide a certairi@ amourit of shirring:, as indicated at 134 (Figure 11) in spaces be@,ween the greater amoiu-it of shirring or puckering, as indicated at 135.,(Figure 11), the presser foot 0 is adjusted Go 80 that in its; lower position it does not exert a maximum@pressure on the baise,material;! In that case., a@,small@ amount of sliirring takes place at all times @ but, @wheii the presser foot@is raised by the. cam i'action above@ described, a maximurn 65 amount of shirring, or,puckerjng@.takes place, It is@obvious@@that by@@changing the-throw of -the presser foot ' 6 @any desired relation will be @ obtained,between the.sections of maximum. and riiiqimum shirring. @ In@-some instances, the-@:at- -, 0 tachment may be,.sucl@ 2that,normal shirring is produced- alternately With large Puckers @or@ gathers @in. the material. W..hen @, the -base-I material , is fed through @- the Odge. folder 6-f.,.-th6l ed.-e is ralled@ dr,..fblded@ to 73

[4]

4 form folds 137 (Figures 8 and 9). It is passed to the machine and stitched in this form, a stitch 136 extending through the folds 137 of the base material and also securing the shirring thereto. If the shirring is to be applied to the base material at a point other than at the edge thereof, the base material is not fed through the edge folder 51 but -is extended thereover so as to properly align the same to receive the shirring,, 10 as indicated in Figure 10. It is obvious that the base material may be extended any desired distance above and below the shirring in this manner. In some instances it may be desired to make 15 the shirring independently of the base materiai. For this purpose the base material is omitted and the device is operated with the shirring material only. The different rates of speed produced by the presser foot 6 and the auxiliary 20 presser foot 40 cause the material to pucker or gather as above described and to be stitched in that form. The shirring thus made can be attach6d to a base material or to a garment in the usual manner. 25 From the above it is to be noted that an intermittent shirring is automatically produced having the desired characteristics and that the attachment may be retdl:ly applied to or removed from a st-andard sewing machine in a few min30 utes time without requiring any drilling or changes in the machine, the standard drilled 1-ioles being used for this purpose. Alth6ugh a patticular embodiment of thb inventio.n has been described for purposes of illus35 tration, it is obvious that various changes and modifications may be made therein without departing from the broad aspects thereof. The invention is to be limited only in accordance with the following claims when interpreted in view of 40 the prior art.

Как компенсировать расходы
на инновационную разработку
Похожие патенты