заявка
№ US 0001957571
МПК H04B3/20

Номер заявки
2651812
Дата подачи заявки
14.01.1933
Опубликовано
08.05.1934
Страна
US
Как управлять
интеллектуальной собственностью
Чертежи 
2
Реферат

Формула изобретения

claimed is: 70 1. In a two-inay tel---ohone ei,@--uit incii-id-ing paths adap@.-ed for tran-siti:issioli in opposite d;reetions, apparatus,elatively n,-ar each er@d of 'Uhe circuit- comdrising meqi3s .e,-ponsive @@-o voice waves in the incomin.@ path for disabling the 75 outgoing path, means responsive to voice -%xiaves in the outgoing path for disabling the incoming pat-li, means respons4.Ve to voice waves in the outgoitig path for preventing the disabling of said path by later arriving voice @17aves in the incoming path and means responsive to voice waves 80 in the incoming path for preveiiting the disabling of said patli and for restoring the same to opeyative condition if it be already disabled, the method of transiiiission control vihich consists in causing waves in the transmitting path of 85 g--reater than a predetermined ma.-nitude to prevent the or-,eration of said last m,,nticned means by echoes fron, intermediate poinl- in the circuit and at the same time allowing said means to be operated by incoming speech v,,aves pro- 90 vided they are o-f @lifficient magnitude. 2. in a two-vvay telephone circuit includinrr paths adapted for 'Llransmission in oppos-ite directions, apparatus relabi.vely near each end of the circuit comprising means responsive to voice 95 waves in the incoming path for disabling the outgoii-ig path, ir-eans responsive to voice waves in t-l-ie outgoing path for disabliiig the incoming path, means responsive to voice waves in the outgoiiig path for preventing the disabling of said 10( path by later arriving voice -@iaves in the incomi,,ig path and means responsive to voir-,e waves in the incoming path for preventing the disaLIil-ig of said path and for restoring the same to operative condition if it be already disabled, the idethod of transi-nission coi-itrol which consists in eff ectively preventing the operation o'L said last mentioned mea.,,is by echoes of the tral'ism-itted -peech returning from intermediate points of the c-ircuit by catising transmitted speech waves of gi--@eater thaii o, predetermined 4m,,Ignitude to insert suitable amounts of loss in the it-iput circuit of said lasb me.Dluioned means @ind keeping sa-ld loss in said circul@t for a sufficient time to preveiit operation of said means by echo from the most distant intermediate echo path. 3. In a tv,7o-ivo-y telephone circuit including paths adn-pted for transmission in opposite directions, apparatus relatively near each end of --,20 the circuit compr-ising means respoilsive to voice waves in the ii-ico-rning path -for d-l@,zabling the outgoiri.- path, iieans i:esponsive to voice waves in the outgoii-ig path for disablin.- the incomir@g path, - imeans responsive to voice waves in '_25 ILhe out.-o-ing path foi, pi-e,,!-,.nting the disabling cf said path by later arriviiig vo-';ce waves in the incoming path aiid meails respo.,isive to voice waves in the '---,-icoming pa'ch for pr,,venting the disabling of said path and for restoring the same @ 2,0 to opei:ative coiidition i-f it be already disabled, the method of tr,-nsr-yiission control which consists in effectively preventi@-ig the operation of said last mentioned -means by echoes of the transmitted speech returnin- froiil intermediate 1.35 points of the circuit by c,,tiL,3ing transmitted sp,,ech v@aves of greater th,,in predetermined ir,.agnil@ude to insert, suit@@ble amounts of loss in ficienu time to prevent operatior- of said means ard keelli--,,.g @gid lo@-s in said c@rcuit for a suf- 140 fice-,-l'tl time to P-@event operation of said means by echo froro- the inost dist,@lit intermediate echo pe.,th, and causing said loss to be removed im--,,-ediat,,Iy by ony i,@icoming speech ,vgves of sufficient magnitude to operate said last mentioned 145 i-neans. 4. In a two-way telephoiie circuit including paths adapted for transniission in odposite directions, al)paratus at or relatively near each end of t',Iie circuit comprising re-,eivin.- echo sup- 150 r,5

1,957,57i pressor meai-is responsive to voice waves in the receiving path for disabling the transmitting path, transmit-'@-ing echo suppressor means responsive to voice viaves -in the transmittiiig path for disabling the rece@.ving path, receiving disabler mears i:espo,-asive 'Lo voice vve@ves in the receivin.- ua@uh f o,,-@ disabli,--ig the transmitting echo suppressor, trq--osr.-litt-ing d4sabler means responsive to vo4ce @vaves 1-ii 'Lhe trai-isr-iiluting path for disabling the i.-eceiving echo suppressor provided the latter -is not already operated, a-iad meaiis responsive to waves of greater thar,. a prede'ue.-cinined magiitude i--,i the transm4ltLing path adap'ued to adjust the se-Tisitivity of sai-d receiv15 ii-i- disabler means. In a t,,77o-v@,ay 4.elephone c-ircuit including -oaths ada-oted for t,.,ansmission in opposite directio-.-is, appai-atus al@- or .,e-atively near each end of the ci@:cuit comprisivig receiv'@ng echo sup20 pressor meai-is resdoi?sive to voice @,vaves in @@he receiving path foi, disabling the "ransmitting 4- path, t,.@ansmi-@4 -ing echo suppressor means responsive to voice waves in the transna-'-Ittiiig path for di-Sabling th,, receivirig p,@Lth, receiving dis25 abler -negns resuonsive '@-o voice wa.,,,es in the receiving pabh disabli,--g the transmitting echo suppressor, tra-@as---ii,.tin@ disable,., mears respgii-s've to voice waves i lie transnitting path for dis-iblii,ig the iece-iving echo supp@--essor p,.,ovided 30 the latter is no'Ll already olie@@oted, i---ans resporisive to voice waves of g,- ,,cater than a predetermined i-agn-ii'lude in thL, traiisiiiitting path adapted to effective'@y @,edupe the sensiti-Vity of sal 'd receivi@ng echo suppressor and rec@-iviiag dis15 abler -means to the entent that they ;Aill @-iot re spond to echoes in the r,,ceiv;-(ig line of @oice waves in the transm-14@tiiig line, and means responsive to voice woves in the receiving Iiiie of substantially greater magnitude than the echoes 40 to im--aiedia'uely ,:estai-e the sens-itivity of said receiving echo suppressor and recei-ving disabler to 4@ts original value. 6. In a @@wo--,Tiay "elephone circuit including paths adapted fcr tiansinission 4n opposite diree45 tions, apparatus a@-. or reatively neai: each end of the circuit comprising receiviti.- echo suppressor mea:)s responsive to vo;lce waves in the receiving path for disabl;ll,- the transirl-iluting path, transmit@i.ng echo suppressor me,,trs respo.,asive to voice waves in the transmi'Ltiiig path to iiise,,-@t sumcient loss in the receiving path to cause any echoes that are heerd to be uT-iobj@ectionabl@-, .ece-lving disabler means responsive +@o voice waves in the receiving path for disabling the traiisiiiitting echo 55 slippressor, and t--ransmitting disabler means responsive to voice waves in the trans.-iil:tting path for disabl,'@ng the receiving echo suppressor provided that the I-atter is not already operated. 7. In a two--@vay telephone circuit including 60 paths adapted for transnlission : opposite direein tions ' apparatus at or relatively near each end of the circ,,iit comprising receiving echo suppressor m,-ans responsive to voice waves in the receiving i3ath for disabling @uhe transniitting path, trans- 80 riiittin g echo suppressor iileans responsive to voice waves in the transr-rlitting path to insert suitcient loss -in the receiving pa'uh to cause any echoes that are heard to be unobjectionable, receiving disabler means responsive to voice waves 85 ir@ the re,--e4ving path for disabling the transmitiing echo suppressor, trans@iii-'Uting disabler means responsi ve to voice waves in the transn'litting path fo--,- disabli-rig the receiving echo suppressor provided the latter -is not already operated, in combi- 90 nation with means responsive to voice waves of greater than a predeter-,,nined riiagnitude in the trar@scni4.-ting path adapted to effectively reduce the seiisitivity of said receiving echo suppressor aiid receiving disabl.er means to the extent that 95 they vtill not respond '@o echoes in the receiving line of voice waves in the transn-iitting line and means respot-isive to voice waves in the rece4@vin.- line of greater inagnitud-a than the echoes to efJ'ectivel y disable said last named means. 100 8. In a two-way telephone circuit i-@icluding paths adapted for transmission in opposite direet-oiis, apparatiis at or :elatively near each end of the circuit coinp@-ising receiving echo suppressor mea7is responsive --o voice viaves -n the receiving 105 path for disabling the tral-ismitting path, trans@r,,Ittiilg echo suppl-,essor riieans responsive to voice waves in the traiis@nitting path to insert sufficient loss in the rece-,'.Ving path to cause any echoes that are heard to be unobjectionable, re- 110 ceivinp,, disabler meaps responsive to voice waves in the receiving path for disabling the trai-isrnittiiig echo suppressor, transmitting disabler means responsi ve to vo@,@ce waves in the transmitting path -)'or disablii-ig the receiving echo suppressor pro- 11,5 vided that the latter is not operated, 4@n combination with means responsive to voice waves of greater than -a predetermined magnitude in the trarismitting path adapted to efiectively reduce tiie sensitivity of said receiving echo suppressor 120 and receiving disabler means to the extent that they will not respond to echoes in the receiving line or voice waves in t-he transmitting line, ,neaiis responsive to voice waves in the receiving line of greater inagnitude thaii the echoes to ef- 125 fectively disable said last named means, a twoivay line connected in extens;on of said fourwire circuit at oiie end thereof aii-d a mutable circuit connected in exteiision of said four-wire circuit at the other end thereof. i-30 SUMNER B. V,7RIGHT. DOREN MITCHELL. LEONARD G. ABRAHAM. 135 65 140 70 145 75 ISO

Описание

[1]

Patented May 8, 1934 119579571 UNITED STATES PATENT OFFICE 1,957,571 ECI-10 SUPPRESSOR Sumner B. Wright, South Orange, Doren Ylitchell, Mart-insville, and Leonard G. Abraham, Madison, N. J., assignors to Ameilean Telephone and Telegraph Company, a corporation of New YorIK Application January 14, 1933, Serial No. 651,812 8 Claims. (Cl. 179-170) This invention relates to telephone transmission systems and particularly to systems and particularly to systems involving long four-wire circuits equipped with echo suppressors. -5 In the operation of long-distance telephone systems it i-S frequently necessary to build up long circuits by connecting two or more four-wire circuits in tandem. The connection between two four-wire circuits may be effected by a fourwire junction in which the terminal apparatus at the adjacent ends of the two four--,vire circuits is removed and each conductor of one circuit connected to a -,orresponding conductor of the other, thus, in effect, establishing a s-ingle four-wire circuit of great length, or the two two-wire terminals of the long four-wire circuits may be joined by two conductors. These methods of connection are well known to those faniiliar with the telephone art. In some cases it may be 20 required to connect in tandem tv,7o four-wire circuits which do not terminate at the same office, tne connection being effected by means of an intermediate t@,vowire link. If the four-wire circuits are both equipped with echo suppressors there arises the possibility that lockout may occur. Lockout occurs when the talkers n@t the two ends of the cirewt be@in to speak at approxim,.itely the sa@-.-e time so tho,u each takes control of the echo suppressor nearest -0 to his own end and prevents '@he nassage of 6 - waves from the other end. Under such cond4@tions each person talks without knowing that the o'Lher does not hear him, which results in confusion and loss of time. o@5 "Te_rmtnal type" echo suppressiil-g devices arronaed to avoid thic; dift!culty have been dis'@d CIO, by L. G. Abraham in his Patent No. 1,826,196 issued Octobe,. 6, 1931 and in his aoplication Serial No. 512,41.1 filed January 30, 193i, 40 and by G. Crisson iT-i his applicatioll Serial No. 512,442 filed janua--ry 30, 1931, which have been assi,aned to the assignee of this applicatiori. The operation of the arrangements disclosed in the applications, men'uioned above, is subject to 4-7) 1-imitations due to the fact that certain relays should respond to the arrival of speech waves over tbe circuit but must not respond to waves due to echoes arising in intermediate parts of the circuit. It is the object of this invention 50 to urovide m,,ans whereby these limitations may beremovedormadelessburdenso,ne. Theselim't,, I 7@tions and the Tre,@ins fo- overcomin- them will be r-,)ore ca@,,ily understood from the following descridtion Nvhen read in connection v@Tith the ae.5.5 companying drawings. Figure s 1 and 3 of the dra,,,7ings are single-line function al diagra@-ns illtistrating the present state of th,- art and sho@,viilg how the perfo-.omance of known types of echo suppressoi:s is lirnited. Fi.g. 2 is a more detailed diagram used to explain the 60 singleline diagra@iis. Fig. 4 is a single-l-ine diagram illustrating the use of a proposed 'Llype of echo suppressor. Figs. 5, 6 and 7 are single-line diagraila s showiil, various aspects of the present i nventio,.i . Fig. 8 is a detpiled diagram used in 65 connecti on with Figs. 5, 6 and 7. In the single-liiie diagrams the heavy liiies represent transmission patlls such as the separete sides of a four-wire circuit or as a two-wire connecting link. The light arrows parallel to the 70 trans,- nission 13aths irdicate the direction of transmission, The remain4ng arrov-7-headed lines ind-icate control LDths such that when vvaves arrive at a point in a trans-aussion path r.,iarked by the - tail of a control pat'@i arrow a mechanism is 75 operated which produces -. controllip.- effe6t such as a short-circuit or a change of transmission loss at a point in some other transmiss;@on or control path indleated by the head of the arrow. This head poi-nts to a syr@lbol indicating the eff ect 80 to be produced and the point at which it is to occur. In Fig. I is shown a egmmonly used arrangement in which two or more four-wire circuits are connecteci in tandem. T-hree four-wire cir- 85 cuits extending from station A to statio-Ti B, from B to C and from C to D, respectively, are joined by nieans of two-wire connections to form a circuit extending from A to D. Each four-wire eirciiit is ecuipped with a "central type" eelio sup- (,, 0 pressor, that is, a-n echo suppressor designed to be applied to the circuit at a po;nt intermediate between and at some distance from the ends of the circul:t. !,,or an extended description of such devices reference is made t.- an article by A. D. 95 Clark and R. C. Mathes ent,'tled "Eel-i-o Slippressors for Long Te!eDhone Circuits" which was publ,4sh ed in the Journal of the American Institue of Electrical Engineers Vol. XLIV, pp. 618- 626, for June 1925. In order, however, to make 100 the mea,-,iing of the diagrarn of F'g. 1 more clear, one of the four-wire circuits, for example, the one extendir-ig from A to B, i-s shown in greater detail in Fig. 2. The upper heavy line Li o F@@. . I indica es e 105 one-way path of the circuit of g. 2 extending from A to B aiad equipped with one-way amplifiers or repeat-,rs Ri, R2, etc. at suitable intervals. The,,e amplifiers are connected so that they amplify waves passing from A to B as indicated by 110

[2]

2 1,957,571 the arrows. Similarly the line L2 (>f Fig. I indicates the two-wire circuit adapted to transmit signal waves from B to A. Li and L2- constitute the two sides of th-e four-wire circuit. At A and B the ends of Li and L2 are connected to the two-wireextensions through the hybrid coils H and H', respectively, in a well-known manner. The extensions are balanced more or less perfectly by the networks N and N' to reduce the 10 transfer of energy from L2 to Li at A a,@ld from Li to L2 at B. The echo suppressor is located at an intermediate station between A and B. The echo suppressor consists of amplifier-deteetors AD and AD' which control relay devices Re 15 and Re', respectively. These amplifier-detectors and relays may be of any suitable type. When a voice wave luravel;ng from A to B over the side Li reaches the point I a small portion of its energy is diverted to actuate the amplifier20 detector AD which operates the relay Re thus short-circuiting or otherwise disabling the line L2 at the point 2. This is indicated by the control arrow 1-2 on Fig. 1. The two arrow-h-eads, touchin.a each other, in line L2 at which the 25 arrow-head of the control path 1-2 points indicate that the line L2 is disabled at this po"nt as a result of the passage of waves at the point 1 in the line Li. The disablin.- of the line L2 prevents the return to station A of echoes of 30 waves in the line Li which occur since the network at stati-on B does not perfeel@ly balance the two-wire line. In addition to suopressing echoes in the line L2 the relay R,@ of Fig. 2 alqo prevents the operat.-Lon of amplifier-detector AD' so that Sg these echoes cannot cause unwanted operation of the relay Re'. The relay Re thus combines the functions of an echo suppressor in the line L2 and a d-l'sabler of the amplifier-detector AD'. Similarly the passage of waves from B to A over 40 the line L2 disables the line Li at 2' and so prevents the passage of echoes from A to B and also disables the amplifier-detector AD. The four-wire circuits extending from B to C and from C to D are like that from A to B -in 45 all.essential particulars so that no further description of them is deemed necessary. If the subscriber at station A speaks, his voice waves travel from A to D, over lires Li, Lia and Lib disabling lines L2, L2a and L2b at 2, 2a and 50 2b, respectively, thus suppressing all echoes. The suppressor relays are made slow to release, suffici,ent "hangover" being provided so that echoes r@turning from point B, f6r example, to p-oint 2 after the voice waves have passed point I will 55 be suppressed. Siniilarly if the subscriber at D speaks, the lines Li, Lia and Lib are disabled at 2', 2'a and 2'b. Because of the distances separatin-- the slip60 pressors shown in Fig. I an appreciable time will elapse between the arrival )f voice waves from the subscriber at A at the point 1, -ihich gives control of the suppressor between A and B to this subscriber, and the arrival of the waves at 65 lb, which gives him control of the N@,,hole circuit. If the subscriber at D speaks at nearly the same instant as the subscriber at A it is possible for the waves frbm D to operate the suppressor in the line from C to D while the 7() waves from A operate the suppressor in the line from A to B so that neither subser-ilier can hear the other and each continues to 'L-alk. This coladition, which is called "lockout", continues till one subscriber pauses long enougli to release the 75 suppressor nearest to him and so perinit the voice of the other subscribe,, to come through. Lockout may be the cause of much confusion and loss of time. The frequency vi;th which lockouts occur and the disturbing efiect of each lockout increase rapidly as the time of transmiss;on 80 between the echo suppre,-Sors nearest to the subscribers increases. In order to avoid lockout ilu has been proposed to use the arrangement shown in Fig. 3. The echo suppressors used here are of the "terminal 85 type" disclosed in the pater-t to L. G. Abraham ci-ted above. In this arrangement the echo suppressor apparatus is divided and placed near the 'Lwo ends of the four-wire eircu4lt. Co@-isider first the four-,%,ire circuit extending from station A 90 to station B. At statiot-i A is provided a suppressor which is ope,-,ated by waves reaching the point '-' over the line L2 to disable line Li at the point 2' ond a disabler vvhich responds to waves at the point 3' in line Li to disable 95 the suppressor but which does not interfere Nvith the passage of wa-,7es from line L2 toward A. A similar arrangement is provided at station B as ind;lcated by the dotted control paths 1-2 and 3-4. The other four-wire circuits are sim- 100 ilarly equipp,,d with suppressor apparatus at each end. The four-wire circiiits are joined at the intermediate of-teas by four-wire connections. When this iS done the echo suppressing apparatus at the illtermediate ol@Mces is removed 105 or made inoperative, which is indicated in Fig. 3 by the use of dotted lines. This is done to avoid the possibility of lockout occurring by the slibscriber at A gainiiig control of all the ap-,@-,arqtus on the circuit from A to B vjhile sub- 110 scriber at D gaiiis control of the apparatus on the circui@t from C to D. In eflect the result is to provide o, continuous four-wire circuit from A to D with echo suppressing apparatus only at the ends. Lockout cannot occlar in this system 115 because the voi-ce waves from the subscriber at one end cannot disable the retlirn path until these waves have traveled to the o'uher end and taken contrGI of the whole system. If both sub@@@@ribers speak at nearly the same time each 120 disables the suppressor at his own eiid of the circuit which permits the voice waves to pass freely in both directions. This syster@i, how,-ver, wil@l not suppress echoes ar-ising at intermediate points i-n the circ,,iit. For example, if conditi-Ons 125 exist at station B such that when the subscriber at A speaks part of the energy of his voier-, waves is transferred from line Li to L2 this energy will return to A where it will be heard as an echo. If it is strong enou.-h this echo will tend to 130 operate the suppressor at A and so b-,.-eak up the transmission from A tov@ard B. Powerful echoes inay arise when it is i2ecessary to use hybrid coils at'intermediate points because of the dif- ctilty of securing a high degree of balarce 13.5 @-etween the network and the line or apparatus connected to the two-wire terminal. Such conditions arise whe-n provision has not been made for using four-wire connections or when an intermediate length of two-wire circuit must be !4k) used. Suppression of intermedia-te echoes may be ac-complished by the use of a "double terminal echo suppressor" of the type disclosed by Crissoii in his application cited above. 145 Fig. 4 shoixis three four-@N7ire circuits each equipped at each end with th-is type of suppressor, and connected in tandem by two-vlire connections. The echo sil-ppres-sing aDparatl!3 at the intermediate stations is put out of opera-

[3]

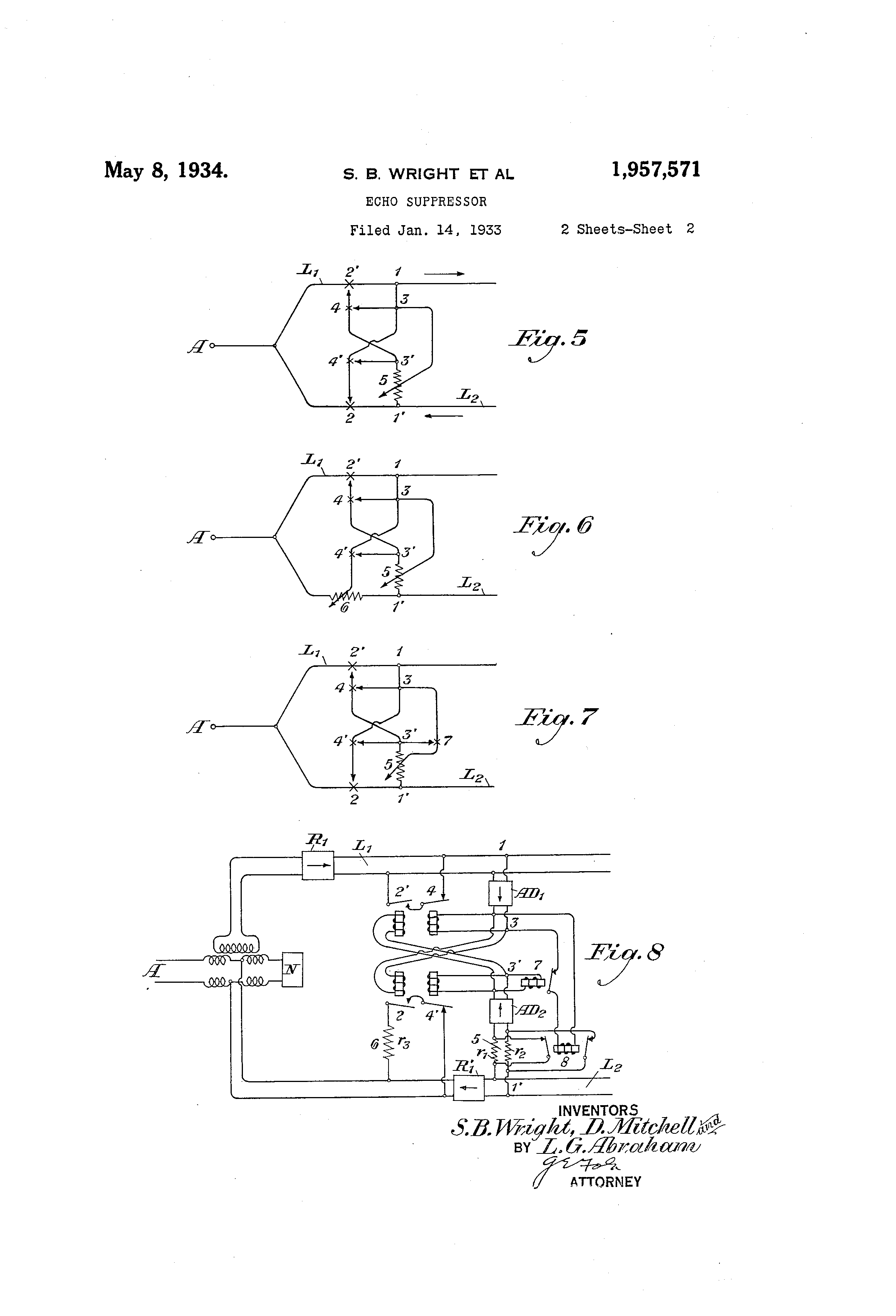
1,957@571 3 tion so that lockout can,-lot occur at the intermediatepoiiits. Assuming -first that Po spee--h is being transmitted in either direction, all the apparatus will be in the normal or unoperated state. If novi the subscriber at A speaks, his voice waves pass over the lines Li, Lia and Lib to the listener at D. At 1 these waves act upon the suppressor to operate the relays at 2 and 4, 'Uhus disabling IC line L2 and the relay 2'. -At lb they cause the operation of 2b ard 4b thus diqabling the line L2b aiid the relay 2'b. The oi3eration of the relay 2b prever@ts the return of echoes from the te--min,,,.l at T-), but other echoes which do 15@ not pass the relay 2b vzill be r,-turned from the switching points B and C di-ie to the imperfect balance o@' the hybr',Id coils. Echoes may also be returned.L@rom other inter-mediate points Nvhere there is coupling of sorile scr@-@ be-'Lween the two 20 lines. nle relay 2, having d4sabled line L2, keeps these interr4ie'@.ate echoes from the subscriber at A atid the relay 4 keeps them from operating relay 2' and so prevents iiiterruption oil the outaoing waves. Sim4larly, if the sub2 r@ Ecriber at D spe@-ks, the apparatus beilig illitially in the normal state, his voice waves operat-- --Ielays 2'b, @t'b, 2' and @l'. suppressing echoes f,,,om the terriiinal ot A ai-id i-,ltermediate points and disablin- relays 2b ard 2, 30 if the subscriber at A speaks, operating relays 2 alid 4 but before his voice vvaves rea.-h tiie apparatus at D the subscriber at D begins to talk,- operat;@ng relays 2'b and 4'b, a condit4on viill be e@-zta.'o'lished in wh-ich voice v,,aves are travelling 35 in both direc@@ions at the same time. VVhen the i@Taves from D reap-h the point '@-' iT-i line L2 the relay 4' will o-.erate, disabling relay 2 which at to reach the termiral at A. Relay 2' being dis1( abled cannot interfere with the transmission of sneech over lire Li. Similarly when ilhe wa:,ies from A reach the -ooint lb in lipe Lib they operate the relay 4b, disabling relay 2'b and so permitting the waves to reach the terminal at D but 45 they caTinoL' o-oerate felay 2b. By th4.s action the tra,ismissioti of waves in both directiGnS at the same tinle is permitted and lockout is avoided. For this system to fuiietiot-i sp-tisfactorily it is obvious that the relay @l' at station A m-List always ,5 0 operate in respons@e to Wal7es from station D and that relay 2' niust a',-so onerate unless it is disabled through the operatioi-i of felay @t. On the other hand, relays 4' ard 2' must no@@ be operated by noise oT by echoes from intermediate points. 55 Similar requiremer)-ts also a ' Dply to the correspondii-ig relays at D. Under certain conditions as, -or example, -@,7hen the irter-@nediate connectic-,-i., are of the tivo-vii,re type the echoes tendin.@ to opera4@-e falsely the relays 4' at-id 2' -may C, 1) be -.fnuch r@'lore po-@xierful than the steady -.noise on the circuit. The rellays 4' and 2' niust be made so i_yiseiisitive, thot they not operate on t'iie loudest echo. This may inean that luhey will respond only to the more pov,7erful voice wa,@,es Ct5 from s-Lation D or mgy even fail to respond at all. This conditio-.i de@@eats wholly or in -oart t.'-qe ability of 4@-he syste.-- to prevent lo--kouts. The pi.@esent i-nveiition provides meq-ns for overcomir.g whcjlly or in part these limillations n the operatio-ii IIPO of the dotib!Ae terr@,i4n,@il echo su.opressor. F;gs. 5, 6 and 7 ieusfre,te certain forms that the ii-iventioii raay assume. These figures show the arrangements to be used at one end of the circuit. The appp-ratus it 'Lhe other end is exactiy like that sho-@vn so that separate cnee relurns to aiid permits these waves descript-on is not thought to be necessary. Ref erring to Fig. 5 the zigzag line 5 is a symbol representing a device which causes a transmission loss between the points l' and 3'. T is evice may be of any suitable type, one of which will be de- 80 scribed later. It is of such a nature that normally the loss between the points l' and 3' is zero or relatively low, but when speech waves traverse the line Li, the loss increases to a suitable value. The relays 4' and 2' and the device 5 are so 85' adjusted that they will not be operated by the noise normally present in this line. They will thus respond promptly to any voice waves which are substantially above the norinal noise in magn-itude. Most voice waves in a telephone circuit 90 are stronger than the noise. When the subscriber at A speaks, his voice waves tend to increase the loss of-the device 5. If the voice is so wea-k that there is no danger that the echoes will operate the relays 4' and 2' the 95@ device 5 does not respond, but as the strength of the voice, and consequently, of the echoes increases a loss is introduced which is suffleient to prevent the operation of the relays by tlae echoes. The mechanism which controls this loss must 100 have suffi-cient hangov-@r, that is, time required to release, so that the echoes from the most distant points will have died out before the loss returns to its normal value. In order that the distant subscriber may make himself heard at A 105 it is, of course, now necessary for him to talk loud enough to operate the relay 4' in spite of the increased loss. This arrangement thus avoids the danger of false operation and at the same time interferes to the least possible degree with the 110 ability of the distant subscriber to break through and make himself heard if he desires to interrupt the subscriber at A. When the subscriber at A is not talking there is no appreciable interference with the distant subscriber and when A is talk- 115 ing the interference exists only for the time and to the degree required to avoid the false operation by echoes. Fig. 6 shows a modified fo@rm of ' the invention in which a second variable loss 6 is substituted 120 for the suppressor relay 2 of Fig. 4. The device 6 normally introduces no loss or a relatively small loss but when the subscriber at A begins to talk the loss introduced by the device 6 increases to such an extent that the echoes from the - inter- 125@ mediate points of the circuit cease to be annoyiil.- to the subscriber. By this arrangement voice waves from the distant station are somewhat weakened but are not suppressed completely if they arrive Nvhile t-he subscriber at A is talking. 130@ In this wgy the distant subscriber has a chance to make himself heard even though his voice is not sufficiently powerful to operate the disabler relay 4' through the loss 5. Fig. 7 shows a further modification of the in- 136 ver)tior . This arrange-(nent is the same as that shown in Fig. 5 except that al additional relay 7 had been added, the function of which is to disable the control of the device 5. -A.s in the case of Fig. 5 when the subscriber at A speaks the 140 relays 2 and 4 respond and i-f the speech iq strong enough the device 5 operates to insert a loss and prevent false operation of the relays 2', 4' and 7 by echoes. The device 5 must have sufficient -n echoes IA5 hangover to protect these relays froi the from the most distant points, which may involve a delay of several tenths of a second. on shorter connections this long hangover mi.@ht cause some difficulty when the distant subscriber begins to talk. The relay 71 however, acts as soon as the 15(

[4]

4 1,957,571 voice waves from the di@tant subscriber attain sufficient volume to operate it, and immediately restores the device 5 to its normal condition. Once the relay 7 has operated these waves have -6- the same degree of control over the relay 4' that they would have if the subscriber at A had not been talkin,a, which increases the ability of the distant subscriber to make iiimself heard if he desires to interrupt the subscriber at A. 10-1 The invention resides in the use of the loss producing devices 5 Lqnd 6 of Figs. 5, 6 and 7 and the relay 7 in Fig. 7 ir. the manner disclosed and does not depend in any degree upon the particular type of apparatus used to produce the loss of 15 the type of rela-y used. There are many suitable devices well known i,@i the art. Fig. 8 shows, in some detail, one arrangement which may be used in practicing the invention. The reference characters used on this figure correspond to those 20, used on the other fl.-ures. The loss producing device 5 of Figs. 5, 6 arl-d 7 consists of the resi.stances ri and r2 in series with the input term4@nais of the amplifier-detector AD2 which coitrols the suppressor relay 2' and the disabler relay 4' whose 25 functions v,,ill be unders'Llood from the i3recedingdescription. The loss prodlic-ing dev-loe 6 of Fig. 6 consists of resistance r3, which acts as a shunt on line L2 when reiay 2 is operated and relay 4' is non-operated. The resistances i,i and r2 are 3o normally short-circuited by the bq-ck contacts of the relay 3. The operating v@i-.iding of the relay 8 is connected through the back contact of the relay 7 to the output of the ai-ni)lifier-detector ADi. When the subscri.ber at the terriainal A 35 speaks, his voice woves act upon th-. amplifierdetector AD, the output current of whi,-h operates the relays 2 and 4. If the v..raves are strong eiiough to produce echoes @irhich can operate the relays 2' and 4' associated with the amplifier40 detector AD2 the relay 8 will operate, removiiig the short circuits from the resistances ri and r2 and so irtroducing enough loss between the point 1 on the line L2 atld the amplifier--"etector AD2 to preventits.resuonse to the echoes. If voice 45r -waves arrive over the line L2 in sufficient strength to cause the operation o'L the rela,y 7 the operating circuit of relay ul will be opened at the back contact of relay 7, and relay 8 v-,Till relep-se, s hort-eircuitin.- the @es4@s+.ances 7,i and r2 and restoring the 5o, -input circuit of the a,- @nplifier-detector AD2 tO itS r-ormal condition. The resistance r3 of Fig. 8 iriay 1,@le u..,ed ii it is desired to cauge a t-ronsmissioLi loss 4n the line L2 as described in conneelion with Fig. 6 instead 55, .-of completely disabliig it. When thp- sul)scriber at A speaks, his voice v7aves operate the amplifier-detector ADi v;hich in 'Uurn operates the relays 2 and 4. The relay 2 closes a shunt path, including the resistp,.nce r3, across the line L2 60- which causes the desired lo,@s. T r3 is inade zero f this shunt path becoriqes a short-circuit and completely disables the li,-ie L2. Siniilarly part of the output etirre,@it of airplif-ier-detector ADi might be used to control the urid vo'-tage of one 65 or more tubes in an amplifer in 'the receiving branch of the circuit at 6. The scope of this i-nvention is defined in the following claims. What is

Как компенсировать расходы
на инновационную разработку
Похожие патенты