заявка
№ US 0001914514
МПК B21K1/44

Страна
US
Как управлять
интеллектуальной собственностью
Чертежи 
5
Реферат

Формула изобретения

claim is: 1. A lie@tcler comprising t-wo lie,,tdor dies, lpl-o- 120 .i housii, u 5 t disti-ibutor iiiotinted for rec' catio,.i iii the liousino tivo iiioi,i-,ig gi-ipper t') dies carried by the distributor, i-iieiiis for operat'iiu the dis'Llri'btttor, IL-ii,o flo,-ttit -io- o-ripper Irms Ilso mollli'ued fo iproc,.ttioii iii the hoiising, t flo-,itii irried 125 iu gripper die c, @y eich oxi -,,,ich gripper ariiis for co-ol)era ive t e, III I - (,Tr per dies, e-ii(yagement ,Yitli t i o -in ip IL-11,,o- distrii)Litor bei-.i(,:, 'lori-tied with ,L do-wn-k@,arclly exteiicl-ncy ,i,r I :, m qt each eiid fo-c eiiga-.-ment -wi-tli the adjaceiit float'li-iu urip- 130

4 1,914,514 per ariii, the parts beiii, so 1)roportioned' t-I that space is provided alteriiately at each end of the stroke bet-%veen the iiiovable (yripper dies and tl-ie floatlll(,y o,,ripper dies, whereby the distributor will be permitted to iiiove a definite distance before the floiting gi,ipper ariiis ,tre operated. 2. it- heider coii-iprisiiicy tivo heacler dies, ,t hotisin(y ,t distributor iiiouiited for recip14 -ocatioii iii the lioiisiji- two i-tiovin(- gripl)ei., :ml n dies carrieci by the (listi-ibiit-.or, iiieans for operatincr the distribtit6i-, tnvo fiottiiic, (yi-ipper ai-iiis also ir@oiinted for reeiproe,,ttioii iii the hoiisiji(,, a floatliig (,ripj)er die carried Is I)v eacli of sucli )-ripper ariiis for co-operfttiveeii(ya-ei)ieiit ivit-li the ii-ioA,iii(r (yripper dies, t!l tn @--l t, the distribtitor bein@y- foriiied ivith a, donvp.wardly extending tri)i at each eiid for eiig,tgeiiient the adjaceiat floatin- otipper 20 the parts bein(r so proport@- oned tllat space is provided alteriiately at each ei-id of the strolce betweeii the movable (Trippei- dies n and the floatin- (rripper dies, aii adjtistin(, iiielillis cari-jed I)IT the disti-ibi-itor arins, 26 ia,hereby the spac e betweeii the tdjustini)-ieajis and the floatii)g -rlpl)er triii ii-iay be varied. 3. A header coiiiprisiiiff two beacler dies, @'t IIOUSID-, i distributor ii-iour..ted for recipt', 30 rocatioii iii the hoiisin(y, ti@,o iiio-ving cripper dies carried by the distribiitor, nie,),ns for operatiii- the distributor. tA-,,o float'ljio(Tripper ariiis also ii-iounted for recipi.@ocatioii in thc,, lioiisiiiff, ,i floatiji- -ril,)per die carried 35 b.)r eacli of sitch gripper ariiis for co-opei,ativeeng,,i,(Yeiiieiit witli ti-ic i@ioN-iii- (Yripper dies, the distributor beiii(,, fori-iled i@,ifli a downN@-ardl), extendiii(y ariii at e,,tcb ei-id for en(,-ta,-eiiient ivith the adjaceii@u floitiii(, grip4( I)er arii-i, tl)e parts beii)- so 1,,roportioiied t, that sl),ice is provided alterii.-Ltel)r at caell eiid of the stroke betiieeii the ii-ioi;a'Dle )-ril)pe,.@ L@ (lies and the flo,,ttii)(, ri-ippeT, dies v@ll @lereby the disti-ibiitoi- will be 1)ei.@iiiitted to iiiove a 45 definite distanee before the floatiii," gi,ipreiarins are ol)erated, ,iiid sheariii,), iiieaiis associated witli the distribiitor ai)d lioiis;liio,-. 4. A heider coii-il)rising tivo heaci(@r d;-c-@, recil)rocatiii- distribiitor formed ii,ltl.-i a 50 central portion, a iiiovii-t(r oripper die t, zn j,ied at e,,icli side of- the eciitral 1,)oi-tioii of the distributor. .i floatiii- gril)i)ei- ariii it eich side of the distribiitoi@, iiid ,t floatiii(r (-,i@ipI)er (lie cari-ied by e.,ich crriprer ari@ii iiid eacli floatiii( die bein- iii co-operitii@eeii(yi,)-eiiic-ilt with oi-ie of the iiiovin(y (,ril-pcr dies ct,rried by the distributor, each i,-,tir of (,t@ipper a@lteriiately gripj)in(- tTid lioldir)(,, @i. workpiece in hetdiiig 1:)ositioii iA,-Iiilc,, tiie otiiej- ,)aii60 of dies is alteriiit,(,,l receivin- bltiilz- stock. y 5. A header compri@@iii(y two licader (lies, -i reciprocatin distribiitor, iiieaiis cari,le d by the distribtitor for (-@lieariiig ,iiid two 1)air of -ril)per dies tetiia-ted by s Z, the distributor, each pair coiiiprisiiig a positiiel actuated lilovincr eleiiient and a y t@ floating elenleiit, each pair of -,ripl:@er dies ,tltornately grippiiig aiid holdilig a workpiece in headin- position iihile the otlier pair of dies is alteriiately receiving blaiik 70 stock. 6. A header con-iprisin(y two header dies, a reciprocat-ino@ distributo.L-, ii-ieaus carried by the distribtitor for shetring work-pieces, a floatiiio., olripper ariii for eacli side of the 75 in distribiitor, and a pair of gripper dies carried at each side of the distributoi-, oiie eleii-iejit of each paii- beiiig carried by the distribtitor aiid the otlier eleiiielit of each pair beiii- carried by one of the floatidg gi,il)per 50 ai-ins, each paii@ of -i-ipper dies alternately grippino- aiid holding a ivork-piece in heading positioil while the otlier pair of dies is alt-ernately receivin(y blank stock. 7. A header coiiipi-isiii(y tN%,o heider dies, a reciprocatincy distriblitoi-, metils carried by the distributor for shearin- work-pieces, a In floa'Liiig gripper ai-ii-i for each side of tlle dis4'r-lbtitoi-, ,t pair of gripper dies carried at each side of the distributor one eleiiient of eacli piii- beiiicr ca,i-ried by the disti-ibutor aiid the other elemeiit of eacli pair being Carl,ied b.1, 6ne of the floatii-ig gi@ipper ariiis, etch pair of -ripper dies alternately tri-ipn piiio, an(! lioldin(y a work-piece in heading positioll While the other pair of dies is alteriiately i-eceivii),(, blanlc stock, and iiietds earried by the disti,ibtitor f or causiiig the operation of the floating grippei, arins. 8. A header c @npi-ising a liousin-, two alternately reciprocating header dies, and a reciprocatiii(,y distribiitor, each carried b3, the housing, ii-tovabl.e sliearina blocks carried by the clisti-ibiitor, a stationai@y sliearing block cari-ied by the li6tisillcy all(I tnvo ])"Iirs of I gi-ipping dies aetti@tted by the disti,ibtitor coiiipi-isina t positively actuated iiioi,iii(, ele-' iiieiit aiid a floatin(r element, each pair of gripper dies altern,-ttely gripl)iiio, and lioldiii- a ivork-piece in headiii- po's'itioii - wliile 110 the otl-ier I)air of dies is alte@riiately receivin(y blank stock. 9. A header coii-iprisin- a lioiisinc, tivo header dies, aiid t reeiprocatiji(- distributor each carried b@, the liousing, two iiiovable slieai@in(Y blocks carried by the distribtitor, ,t statioiiary slieai,iiig bloelc carried by the liotisiji(y, s cli shearing blocl@ compri,,;ing a u bushin(I htvin- an opei!liiig for the I)assage of the b,,ti- of stock, tiid two pairs of cri-ipping dies actiiated by the distribtitor, coiiiprisiii(r t 1)ositi.vely actiiated moving eleii-ient and a floatiii(' eleii-ieiit, each I)aii- of gi,ipper dief, alternately -I-ippin- iiid bolding a Nvork-piece iii 'he@(iiii- positioii while the 1'5 otliei, pair of dies is"alternately receivin(y blank stock. 10. A he,,tder comprisiiig two lieader ies, a reciprocating distribiitor, niea,iis carrie'd b.), the distributor for shearing worlc-pieces, t" l@O

pairs of gripper dies actuated by the distributor, each pair comprisiii(y a positively actliated i-novin(y element and -,i floating e'lement, each pair of gripper dies ,tlternately grippiiia ancl liolding a -work-pipce in head'tion ivhile the other air of dies is ing 1.)osi p alter,.iately receivinu blank stocli:, and friction,@il iiieans for retarding the movement of the floating element. Lo In testimony whereof, I have hereunto signecl my name. MARSHALL LAPHAM.

Описание

[1]

20, 1933 UNITED STATES PATEN'R OFFICE T,IAY-@S--tIAI@L LA!-.-t-.AX, CF iNrEVr YORK, Y., A@S-L--fr--NO-a TO COiVi-PAI-JY, INC.. OF N-w.V7 YOR-K, N. Y., A CORPOR@,ATION OF IQBW YO.R-cc HEADER Application filecl Septembe-z illy iri-,,eiit-on relates in general to headaiit@-I ii-iore particiilarly to a duplex header fcr bol's, rivets, spikes, ai-id the lili:e, ill ",hich olie blaiii, is beiiig lie,a.ded and ejected wh.'Ilie a iiew iNorl,:-piece is be] iag fed into tl-io illaelii-iie etit off. Tl-,e pr-iiicipal object of 111)7 inveiii'lon h,,ts 1)(@ei-i to iiereac-@e the o-litput O-Lheaders. which i-,,dr.,ced cost of iiiaking bolts, !,;vets, ,tr@cl the like. 5, '@923. Serial No. 390,590. coiiiiected at t'l@,, froilt of the lia,,i-,Iiliie by t Ay, all IS aiid at the -i-ear thereof by a -wall 19. A-@ is ii [(,is ii-iv 11,t-@Iiiiie i-s - .i@raiiged ii-i fioiit, of the tisi-ial furntee (@.iot aiicl the bar oj' sto,-I@ '-)O, whicii, ro is to 'b@, cut of,' at stiitable le-,igths and helde(',, is f(@@l '1--ILo lu-he froiit of tl-ie iiiichiiie a guicle 21 a,.-i-@aii(-ed ii, the Ti-or@t Aiall 18 of the lious;iig. Tile inneil face of this btishin- is fllisli iv]"uh the. 1111ler .55 @!loreover. iiiv device has been so de!@i(yned 24 of the lousiig, aiid @t gc',-.s as -,t stail,,,tt part. o'l tli@-, gi-ippel- die is lield fric- ',-.ioiiiry slieai@'t@or the sl@o,-k. Thi@; gui-de t,4Lo--,i,ill,-@, 'iiiiel-ieblaial@i-sb ei-i-igseveredand @:,t@shiiig is held iii place iii the usui'l@ iiiti-@iier w Ul the die. i II i q.@ I1-iT o,i,ii)-,)ed 'o )y i-ileaiis of the clips 22. Ai-ra-,io-ed iiiiiiie - Y -iltely iii -'iroiit of tite o-uide biisliiii,,,- 9,1 'ls 60 i@Lirt'tierrf,.ore, iii I device proviC'LeS for easy (,[ t@ o-f ti-te various - r)arts. pair of rolls 2i'). These rolls @ire for the 1)ui.- Th(, aoove obiects and advap-tages h,@ive Pose of To,.eCtir@g tlic@ b,,ir throti(yh tl-ie guide bo,en by the dev'ce sh wn il-I -tT-id "iito iiiy device. AlTh(,,, e proI 0 ti dr-,twings, of which: stocl@- s t,) be b.eaded, the rolls @,,bov,-s 1'r,,igmentary, front elev,,i- S-inply act as feed i-olls, b-Li'- ivliere @he cro,,@s- 65 L u tion (-,f iiiy device. ect'oii-,Ll sliape of the iiiaterial 's to bo F;(-. 2 is ,i -,!e,-r elev,,ttion thereof. altered befoi@e I)assage into ii-iy device, ,is for Fig. 3 I's a 1)1")n vie-w of the device. eba@.igiii(,-- an oval, bar t-,) @i i@oiind, or F i o,. ! i s ,i D@ e- - i I -,)@ i df rq(-mentary, see- Put'-ilig a @,;roove iiito a roul d 1),ii-, the -leed t-, i @-1- - I tD 1, - @l I vi6. rol'-Is ai@e pi-ovided w@ltl-L foi-ii,.i-n(,y fices, and 7o iA,, takeii on line 4-4 of Fig. @l (-,-. @-, i f rap-ineiit,,ti-y see,tlso @@,iisw-,r the i)urt)ose ot' forn-iliig rolls. @s P,-q eiii-arqyed, tiona'@@ v-ie-@-,, take,.i or, Iiiie 5-5 o@@' Fio6. These feed roj'.Is vre, of coiirse, operated inu , , @ , i d , e y . i r e v , , - e l l k i i o - " T i i Fig. 6 i,,@, @t@n eT-il,,trge@t, fr,,igiiientary, veruh UIC',Il, sectioplq'L view, taken on li (I clo iio' form -t p,@@ul@,iiA oii. ey ne 6-6 of ai-i are iiot T'iirtli.or or o Fi (:@ei-ibecl, aT-i ob- 75 cl, Fig, is ,t section.-,I vi,-w taken on line 7-7 VIOI-ISIY, lil-e operite@t i-n 'uliii,@(-l i-el.a'ul.o-,l ivitli I' F 1 c,,. 6. tlie, otlier pa,.-'t-s of iiiy device. l@ @ Si@ 8 ,iiid 9, f,.,,iid 10 ,,,-Tid 11, respectively @cl,ilb'j-v ai@r,,ii-iaed in the a i-i,,] ,-.re vie-,@.,s F:iiii@la,- t(, Fi(YF,@. 6 ,t,-id 7, showii-iu I'l- @s tlie distr-;b,,i'Lor @,5 of m)r in the process of lieadinc". disti@il)l@toiis bqck foi@ t,@i so so -ip, -i-%,"ng drai,7ings tnd in the as to '@,)ri.iig the bl,- @i),!Ts lield b@, 'llutl,,e accoii ti -.i ii, I lif,.ve shoi-,,n atid d f el (,I -pti(, eregistrati-)ii ivtli '-lie -,s applied to 'cl-ie lie, d26 aiid 27. E-,ch of thcse dies s,,7@.biiia uotiiid boills, btit I"u is obvious t'ilat the staiitiiliv like t,],e clies Lised o,.i ,t sin@-le 1-@,@ndde@@et- -is to the lie-adilig o-,@ bolts er, aiid each s oi,)e,:at d froii-i a Iiicl 85 e of vari(,@,,s r,-,ocp-sections, as -well as rivets, suitable erink iiieaiis, no'b slioivti c,, " 1 @iot ral spikes, or t,ie like. siiiee tlese: pcirts are -well kno-",ii ,iiid cl(,@ T @,.Iy clev;@ce coliipi-ises I liotising 15 h,,tvinoPlr4Ls Of li@Y ilivell'uioT-1. It is 01.1vi(l,,s a 1,6 ,it one end 'u-ii.ereof, ar-d a bear- tl-,,-,t the dies 26 ancl 27 -,re opino- 17 q,t the opl)osi'L-i@ eiid. The bearings Pre erated so ,is to 'Liead the stock eprrico. io 'Llie 90

[2]

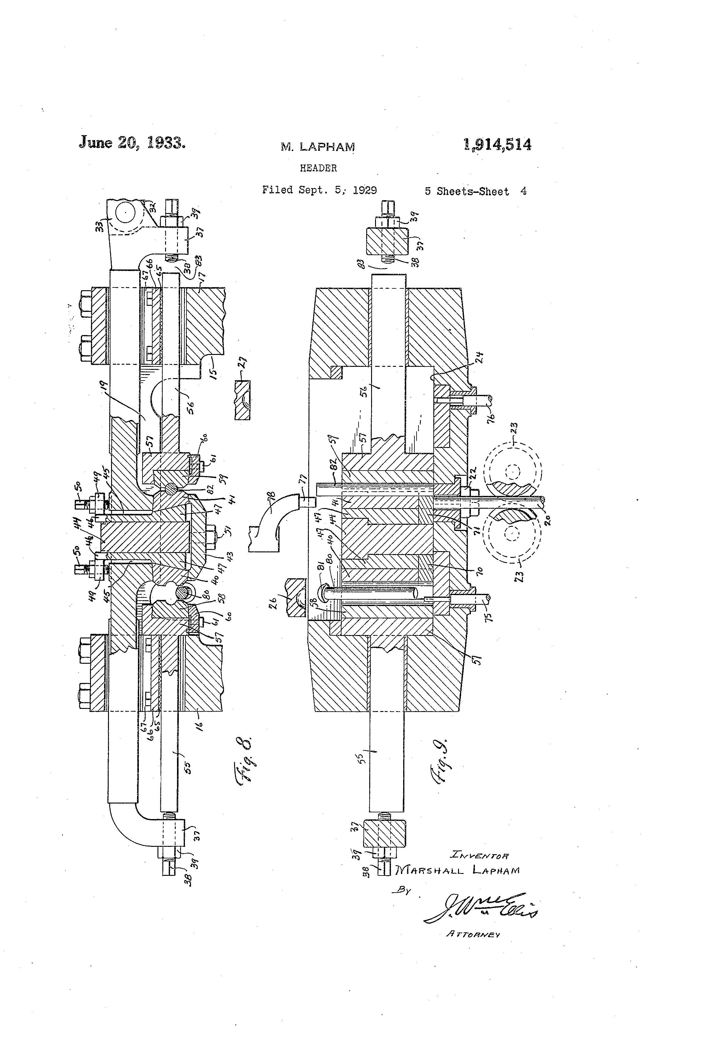
2 1,914,514 pi:-oper positici, by iiicaiif, o'L tlie (listributor. The dist.,,ibutor iiiay be opoi-ated either by a er,,tiik (iiot shoi-vil) or by -@ caiii 29 (-,ee Fiu. 1). The can-i I fiji(l, is I)rei'erable s'lnce U provides the ne(,cssai-y divell at the tavo extreiiic,,,,, of the strol@e of the dist,Ilbutor. This cini is prei'ei-a,)Iy of the type liaviii(I a zn --roove "00 ivhi,-Ii a rollei- 31 clio-zioes. 1'1)e roller is cai.,i@ied by ai-ii,. 1( 'ol-) wliieli has oi-te eii(-'t coiiiiected to the ciid '03 oi' the disti-ibutoi- a@id , its otlier cii,,l gllidal-lir mouiitecl iii t sttit,,ible beariii(@, 34 The cai;@ is carried by a slia-ft '0'5 stiitablv innll,,il,ed iii a beIT'Illn- ?j6. Eqeh end of th.@ distributor is provi(lecl witli a doinii)vardly exte@.i(!'7 haviiig ,i set-screiv 38 pas inoisiff arm o s tlieretlii-oii(yli. 'or ptii-i ses t@) bc@ (l,e,scribed. Etch set-screiv !,,as a loelciitit 39. Cai@ried bv the dislu-r;.bii.tor ire two nioviii-- 2 0 o-i-ipj)er dies 40 aji(I 41, oiie ti-raii@yed at eacli t@ t' side of t'l@e eciit(-i-. Thc,, tol) aiicl boIL4u-oili f,,t,,es of eacli of the oi@il)pei@ dies ,ire I)ref ei-abl.), ii) eliiied outN%,@ti.,Clly, Iiid the top ftee, of each en(,a(,es "-itli @l simil,,trly iiielined surface 4'-? 25 fornied oii the distrib-Litor. These d,.es ire held in place by a yolce 43, Nvliieli li,.is ,in i-ncliiied surface at el@lcli end f6r wit-li the bottoiii siii-flice of the dies 40 41. The e I'l .I,oke is h Id iii I)Iace b-,, i eins of a 3-1 bolt 51 passincr into the ceiitral portioii 4- ,!of the distribiitor. TI-ie ,Iistributor is formed on eieli side of the centr,,il I)ortioii 44 with a vertical recess 4,,), in eael-i of wliiel) is disposecl iii adjitstiii.- l@c,,y 46. Eae'i-i key zn hi,,@ ,t i-,,edge-shaped poi-tioi-i 47 ivliiel-i el-lga(res -%vitli the til)erecl re-.r face 48 of tlie iiioviii(r (,ripper die init]-i whicli it co-actq. A lug 49 is cari-ied I)v e,,teli of the a@tjustiiig wedges tlirou@_Tli wbich iii ,idjiistiiicr sei e-%Nl icli the we(I-e iiii, 50 passes, bv wli y be i-aised 'io or loii,ered idjust the latei-al position@ Of the inoi,iii@,, gi,ipl)ei, di-e. The -wor]6no- f@-ce of eacli of the (,ripper clies is (,r,)ove(I to coiiform witli subst,,inti,,tlly oiie-half of the crosssectioiial sh@II)e of the stock beiiiff head.ed. Cai-i-ie(l. b), the learin- 16 i,@, ,i flo,,tt;n,o,ripper arii-i 55, 'Itncl c,,i,rried I-)y the be,.irillo, 17 is a floatiii- ripl)er ariii 56. Tlicse (yi,il)per arms are (,trran(,,ecl belo-w tlio 'clistribtitor ,Illcl are provided for loll(ritll(-Iin,,tl iii6veiiieiit i.n siibstantially the s,,tiiie Noi-tical piin as the distribiitoi@. E,)eli <)f tle flofitin- -o@rip - per is provide-! witi-i a crrippci@ liefid C"@ 57 bi, wliieli t flo,),t;n(' (-i-;-pl)er (lie 58 issec-Lire@l to tl-ie arin 55 ,iii@d' ,t'fl,),itiiio- ffr,,)pe,,, die 59 to the .trin 56. Tlae top tnd bottolii f,,tcqs of these dies ,tre iiicliiie(l, .ind the tol) iiicliiied face thereof er)(,a(le,., i, corriesi)oncliii(,- 6,3 ly inclinecl f,,ice of the gripl)er heal 'j7. T'jie bottoni incl;iied f,,ice of each of the,,@e clie,; 58 and 59 is ono-,tred by @t clip 60, c,,trriecl b.), the head 57 aii(I secure,,l iii place b iiieans of y bolts 61. The N,-oi-kin- face of eaeh of th(-, floatin - (,ripper (Ties @' )S and 59 is f oi.@med Avil,li I'@ 2n ,t t(,,rooNre 6r recess of stibsta-ntially oiie-lialf of the eross-sectioiial sliape of @t'lle stock beiiio- handled, aild these -Po-oves or recesses coi-respond to the o-rooi,es aiid recesses of the mo-jin(v o-ripper dies 40 aild 41, witli wllicli recesses they rc-,Yistei,. The beat-iii,,s foitlie floatin(y griPI)el7ai-iiis 55 and 5(i are"I)i-oi,ided @n with suitable frictioji iiiaterial 6r) under the be,,trin(l, cap 66, [li(, ai,iiis iiill remain in the positioii to wliieli t'ile), ai-e iitoi,ed, aiid caii onlv be ii-iovc@d af"ainst n the resistance -oftei-ed b sucli fi-letioiial 1111- y iii - Each of the be,,triii(, c,,tljs 66 for the tn ' 1:1 Leai-ings of the flon,tiii(y -i-11)1)ei, arii-is 55 aii(I zn t!l 56 is clisposed iii. a i-ecess 67 f ol-ii-ied in eacli of the bearings 16 ai-id 17. Tiie oitter elid of each of the floatin- (ripper iriiis 55 and 56 is encyaged bv one of t@he griplier ai-iii adjlistincr sci-eii's 38 carried by eacli of tlie, ai@iiis of the distributor. The relative lengtlis of the ai-ilis 55 ajid 56 and the space I)etNi,ceii the operative eids of the ad-'tistin,)- se,.-eii,s 38 is i rn sti,,Ii that the disti-ibiitor ivill hti,e colisiderable iiiovcinqjit iii eitlioi@ i-etiii,n direetioi) before tbc, Pioiting 4-rippet- irilis al-e op(-@l,-ate(.1, as more fully described hereiiiafter iii conrection witli the operation of tlle device. Carried by the face of the di.@,tributor v,7hich en(,a(,es, ivith the face 24 ol' the hoiisiiig are tivo iiiov',Il)le SI-ietr bloci@s 'i 0 an([ I'l. The sliear blo(,k TO is ai-i-ana-,(] on thc@ left liaiicl sicle of tli.e ceiiti-al I)o@i.--'tioii 44 of the dis'L-iibutoi-, -,s vie %ved iii Fig. 7, @iii(I tli(,, ])Ioclc 71 is ari-aiio-ed at the ri(yht hind side of the LI col-itral portion. Those iiiovable slieai@ bloelz@i co-op(,,rate iiith the st,,itioiiai-y sheii- bloelc foi-iiied by the gtiide btisliincy '),I a,,, the distribut<)i- is ii-ioved back Iiid foi-tli iii tl)e housino,. The oA-e to the lOr7 disti-ibiitor is desi(yned to iii i@io-lit and to the left tiid cari,.), iii'u-li i'utl)e f-loa@L'lllg gi,il)l)ei, allil'i iiliieli, is the blaiik iv@)i-l@-piece until the he,,td 57 )f stieti o-i@ipl)etariii is foi.-ce(I iii coiltact witli aiid - c@oiiies to i-est a(yainst eitlier cnd Ai,all of the li.ouslii(,,-, ivliieli Avall is i'oriiied by eitliei- of tlte bearings 16 oi, 17. An ejectoi- 75 is pi-oi,ided iii the w,,ill 18 of the lioiisin(r for tlle bliii]@ ivliicli is headecl iip by the lieader die 26 (tTd aii cjectoi76 is lil@ewise provided iii the fi-oiit -%vall of the h,,)usiii- for the stock Avhich is licaded ul) b3, the hoider (lie 27. Tlic@s(,, e ectors .ti-e or the iistial type, ivell kiio-%@,,ii to tliosc, skille(I iii the art, and are ol)ei-,,ited by aiiy siiitable ii-iolulis iii tiii-iecl rellition ivil,lil the ol)(,r,,Iti<)Il of the otligr pai-ts of the device, to be Ilei,eiiiaflet@ desei-ibed. A stop 77 isI)i-oAided for the device, and this stol? is cari",e(,l I)y t @-,tiital@)le arni 'tS of the Lisual ,iid ivell l@noivii foi ii-i. Since the ii-ie,,,,Iianisin for ol)eratiii" the ejectors does iiot forii-i a I)ai-t of iiiy inNention, it is not slioivii oi@ iiioi-e ftilly (lescribed. Wlien iily Oei,;-ce @'-s to be put iiito opera7 00

[3]

tion, the hea'Led stock 20 is fed into iiiy iii,,icliine ihrotio,-h the guide bushing O@l by iiieii)s of the f---Id rolls 23 and ao@tins@l- the stop 77 i,,-hicli bas beei-i previously adji-,,sted so as to @t'1'16w sufficieiit iiiaterial for the formatioii of the lie,.td o3i the bolt, rivet, or otlier objec@i@ beiiio- he,,ided. If the feed rolls 23 are ,ilso f ori-iiiiio- rolls, the ba,:- is fori ed by pis',@pge b(@,Lv@,een theiii beilore it, is pass,-cl 'I-nlu-o the In !A'iols. 6 and 7, ,t fiiiisliecl bol,;', 80 is witli its hea,@t SI- coliip'Lete,y for-,",-led ,Liid ready to be ejectccl 't@roiii The feeclin(r oT the sl-loek 20 t,iro,Ligh tlio o-iiioe bi-ishiiip, 2t a-,id b,-,t-@veeii the opell grippe,- clies 41 a-iicl r)9 occ-.-Lrs jti@l: before the Ot'Is'bribtiLor is movecl to "Llie riffl-it iii th(,.se ligtires, or a-@ a t;iiie before t'l@@e liead 81 of tl-ie I)oll@- 80 has ',,een coiiiple.tecl. ViTh(@,n 'th,@ @-tock liq,s iioi,,- bee-,i fed 2u 'ii)[o the iiiachiiie, ciild the previo-Lisly fornied he,-@@L rinislierj. the disti-ibtitor is caL7,seci 'Lo stil@ .1-loved Z'o the i-i-ht by tiie caiii 29. The r,- t,, O-P ,L t'lie pi,rt of this iiioveiiieiilu- v@,ill 1,)o ti@@o-'io'd. Siiiee the 1-ieader die 1.)6 lias b.-e,@i 25 Jra-v,,P@ aiiay l'i-oii-i the -vvor'l-@-p,@ece, -'-,t will release the, bolt 80 a-fie, allow it to fall oii' , f roiai be"w,@@-1-1 the grippe d--s 40 aid 58, -)s ejearly r shoiv@i iii Fi(ys. 8 ,,@,nd 9. The ot'l-ie-.- i-esult of t, iiis iii6veii-iei)t -Niill be Lhat a i-LeNtT piect, of Z,'@ @@toel,@c 89, will b-- severed f roi-i the bar 20 by iiiea-.,-is o'I' -tbe movable s'liear bi.ocl@ ,1. DIII.iii(,@ thi-s@iiltiil moveiiieiit, the ejector 'i5 Ni,ill (,,I)ei-ate lo ejee'Ll the bolt. As this portion of is beiii- severed, it Avill be helcl bet, tli @,yr' pei- dies 41 and 59 aid T-ed @,,,ve(@ii e ip aloii(r betiieen these dies iintil the licacl 5'@ of 'Llle Ioatiiig gripper ariii 56 reaches the eiid 'I stirf ace f ol-iiied by the bearii-ig 1-. Ob i,iously, the frictioi, material 65 serves to -)Her sufficient res'stailee to 'Lhe iiioveli-i lit of the iqoalu'llig (yripper ariii NNhereby the 1);-ecof stock willi be securely held between ttie gripp@-rs un@uil it reaclies the positioii where i -L 'Is opeiiateci upoii by the heade-.@ 27. The ,),r;.pper adjtistii-iscrew 38 carried by the @n arrti 37 at tli,., lef @, of the distribi-itor, as sliowii in Fig. 6, is acljtisted so that there is a space 83 be'u-iveeii it and the end of tt-ie floating er ,triii 55 when 'Llhe gripper (-Ties 40 and @:".Ipp 58 a,,,e holclino- a pie,-e of stock, as sliown in Fl(,Ys. 6 aiid 7. Tlii.s si,)ace pei-mits ihe distr;!)-,ito,.@ cat,i@37ii-i" the iiiovii-,tg oi-ipper die 40, to -,Dove sufficleiitiv so as to release the fiiiisliect bolt, 80, as shown in Fics. 8 ind 9, before ttie screw 'S en@_ao-es witli the e-@-icl of -the fl.oatiii,(,y (Yripper ariii 55. ivfter s,,ich engao-en Z, iliei-,tl lioi-,@ev-,i- 'Uhis floatiii(y -ripp-,r ariii -",il.1 be c,,irried aloiio- -@,,,ith t@ie dis'ribiitor ivitli rie @-i-ippoi- dies 40 q@nd 58 iiiq.iiit,,tiiied ir'. lice,d or iii 'their open posil@ioii as sp, sll,o-k,-n iTi Figs. 8 ai,.d 9, i,,ntil these des are iiiov(ad to i. pos'tioii A@liere the space between ttieila is opposite the, (yliide bushino@ 21. Lt zn zn , , cl, which tiiiie ,t,,,.otlier pi-ece of stock 84 is fed 3 iii'Lo the device and against the stop 77, as clearly sl-iowii in Fig. 11. Fias. 8 and 9 also sho-,v 'ul-ie piece of stock 82 severed or shearecl from the bir 20 and held be'uv@ee,.i 'u-he gripper dies 41 ai) d 59 ' Figs, 70 10 atid 11 show this piece of iiiaterial in the positioii ivhich it occupies iiheii beino- he,,tded aiad shov@,s a bead 85 litv;ii(, beeii formed thereon by the head.er die 27. 1,17lieii the dis'Uributor '-)5 is iiow iiioi,ecl iii the op osite di- 75 p i-ectioii, the screw 38 carried by the arill 37 at tlio, rio-lit haiid si.de of the distribli'cor will pass through 'Lhe space: 83 aild periilit the iiloviii(-;- (yripper 41 to move a, a)T froll-i 1-1 n N'V t@liefl o,.itii-ic, o-ripper die 89 before'uhe floatino. 80 o-- ripper a,.iii 56 is actua,'Led. As 1-iei-eii-ibefor'e' descri bed, du"iiio, such ii'@-erval, [lie fiiiished bolt - L'oi-n-iod f.@oiii t@ie 1)iece of stock 82 is ejecte d the ejector 76 aiicl allowe(I to fall o-Li', fi-orit I)etii,eeii the ol)eii dies 41 aiid 59. 85 The left htnd moveiiieiit of the distribiitor siicars off tlle piece of stock 84 by iiieaiis of the iiiovable sheari@,ig blocl@: 'iO, ivheretipoi-I it is - ripped by @he gripper dies 40 aiid 58 aild iiio-,Teci to the I)osi'r,;o-P. of the bolt, 80 00 sliow,, a iii Figs. 6 and 7. For cle,,).ri-iess of ilitistr,,ttioti in --PA igs. 61 8 q"OL 10 of tlle cll.Ltwlll-,.Sl I h,,tve sho-,vii the ar@ 44 of 'Uli,- distribiitor is bein(y P @, crossh-atchecl in a difi'cre-,it diree'Lion thal', 05 tl-ic@ cross-ba+ching of the otlier sectioiied portions of tiie dis'L-Iribuitor, it being obvious ihat this cepti@al porti6ii is aii iii@Le(,,ral. P,,trt of the distribLitor. Whil e I liave sho-vvii the Lise of friction 100 i,',iter; al for holding each flo,-,tiiig gripper 'Ir,.ii iii place i,,ii'Lil the clisti.@ibu'L-or has' n-ioved the prodetermill-d distince on its rettir p st-oke, it may be aclvlsabie or ne,-essarl ' ' iy , to Posit ely hold it ii-i place. TI-ii@,@ may be' ,c, 105 coinpli slie(I by means of a !,,iteli (not shoiiii) carrie d bv the houslii(,y aiid releasecl at the prope r time by tl-ie travel of the distribu,or. The se ,iiid o'uher modifica'Lioiis of tl-ie det.-,ils herc,,in shown and described ma be 110 y macle ivi-thout departiiig from the spirit of iiiy invention or the scope of It-,he appet-lded I c@aiiii s, a-@id I do no,,-, therefore, -wish to be 1; 'miled to the exact emboclimen'- hereiii showTi and described, the foriii showii beiiiu 115 merelv ,i l@refor@.,ed eii-iboOime-,it thereof. 1-1,,L@,iiig tliiis describecl i-iiy invention, ivhat 1

Как компенсировать расходы
на инновационную разработку
Похожие патенты