заявка
№ US 0001909132
МПК D03D39/24

Номер заявки
2599388
Дата подачи заявки
17.03.1932
Опубликовано
16.05.1933
Страна
US
Как управлять
интеллектуальной собственностью
Чертежи 
2
Реферат

Формула изобретения

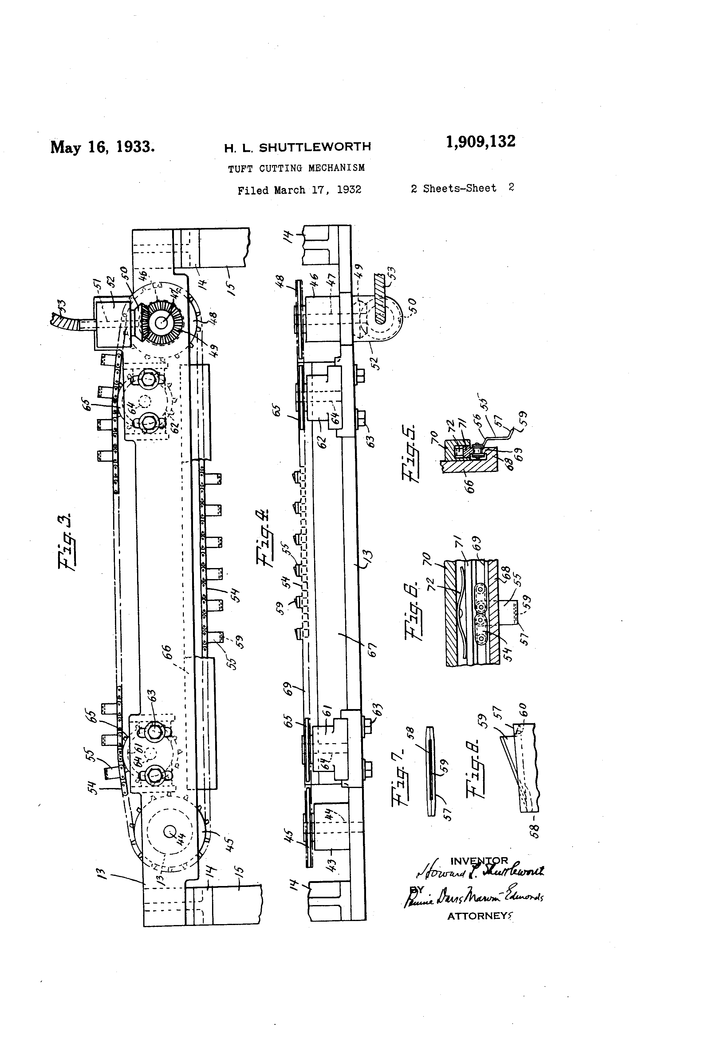
ii ectecl@ to the@ drivir@a means for the loom@, or to a sc@parate dri-%rini riiealns, such: as an e.lec-, triciiiotor. - .Achain,54isledaround,@ I pro eket Ni,heels .4-5 and@ 48 and knife holders 55 are iitouiitf-,d'@oii this chain at suitabip, iilter@vals.@ Eacli l@nife holder has a poi-tion@66 ottset from the.plaite of the eliaiii and ext@@diiiir outwai,d, bevo-n d the, chain a sul)stantial@ distance, the offset 13oi-tion termifiating. iii an end portion 57 Nvhlcli extends at@an angle to tli(,, plaii.e of the ch,-in. :The end poi-tlion hag a slot 58 in its (@dole ,ind in this slot is inounted a,knife blacle 59 of genera,lly trian,-ular @,liape. 'I'he ends of the slot ai!e underciit (@Fig- 8,) and the blade lias a projection 60 extendin- o.utwai-d from its,134se at one end, the prol@(ortions of tl@,e pai-ts beina stich that @the@ Icnife mav be iii-,@erted freely in the slot and then move(I erdwise s6 that the projection 60 li6s under ali 6verhaiigiii(, portion ,it one end of the slot ,i :n n (, i)d the @pointed end of the k ife lies tin(ler ,tn overli,,tngin(y portioii at the oth r end of e the slot. I@ no-rmal operation the movement of the eb.ain. is such@that the knives.tend to 'n be forced bv contact witli the yarns i to the locl,:iiig position; sbown in Fil-. 8 a@nd (..,9,llllot escape from their holden. TO maintain the chain taiit, the bar 13 is prov.ided@ at each end with adjustable bearings 61, 62 attached to @the bar by bolts 63 @viiieh pass@throi-igh slots in the bar. , In each of the, bearing@s 61 and 62 are shafts 64 carrviii idler sprocket wheels 65 which bear .1 9 ao,ainst the ebain and may be adjusted to "@eep it as taut as desired. Since'the 1,-nives d move in a s shoiil traight line dur,,ng the cutting, operation and thus cut the tufts at a, iini 'f orm height, the I)ott4om portion of the chain which carries those knives which take part in the actual cutt,ing operation: is guided so that it:will not sag,, and for this purpose a bar 66 is attached to @the angle portion 67 of I)ar 13, @ t-he bar 66 having a portion 68 -Nvhi ch underl.ies the lower stretch of the chain and terminates in an upstanding flange 69, the upper surface of which is ma4@hined and provides a si-ipport for the chain. Means are provided for maintaini;ig the e-hain in close contact with the su.rf ace@ of fla,nge 69, the means i.neluding a channeled @bar 70 detachably coiinected to bar 66 and lying above the ch,iiii "Iitb the ebannel facing the @chain. In the channel is disposed a vertically movable b,,ir 71 which, bears against@the chain and i.9 forced into contact therewith by leaf springs 72 seciired in the bottom of the channel@ and beariii,- against the upper surface, of bar 71. With@ thi-,@ arrangemeiit, the lower stretch of tlie chain which carries the knives which perf orm the cuttinaction at any instant i s@ stinported on the machined surface of flange 69 ,tnd is h d in contact ith th t surface by el w a tli e bar 71 resiliently forced against the chain, in the operation of the deviQ6, the. arms nt:knife@supc, 15.which ma-@ constitute thtfro ports: of. @a'n ordiiiai-y,-t@ft shearitio,, me n chanism are swung to advance the new cutting mechanism@ toward the yams which @are to be, @ut@. At the san-ie@ time, the back support 31 is advanced @so that its forward@ edge, en-. 70 - ages the varn above,the poiiits where the cutting is to take place. The chain oii which the -kni..fe blades are mo@nt@d always riins in tho sime dir@ction and: with either a contin'u@ oug o@ intermittent movement. As the cut- 7'5 ting,me@hanism a.pproaches the Yarns, the blades in the holders on the lower stretch of the chain eventually -como into contact with land sever th@ yar@ ends. :Since @ the blade holders 57 are inclined at an angle to the pl@,ne@6f i m6vement of @ the chain: and these holders lie@at a stibstantial distaiice beyond and at one side of 'the chain the knives can be brought down@ close to @ the, plane of the fabri@ so thai@ the pile: of the fabric is very short,, the now mechanism permitting, the tufts@tobe@cut uchmorecloselytlianispos-. m sible with the types of cutting mechanism heretofore used. The total weight of the cutting @mechan's I m is much leqs: than that of the @recipro@cating front knife of the shearing type of cutting inechanism :and; the new mechanism ca;n, therefore, be. operated at higher s eeds withp out producing undue,vibration. By reagon of.,the manner in. which-, the etitting blade.,,, are supported,, the pile is cut unif ormly across the fabric regardless of the width ;of, the looi-n, and no; (Tifficulties are encountered due to sagging or,benditig a@ in t-he@ case of the ea ng n.ives. sh ri k Also, the small knife blades 6f' the present@ cutting mpxhanism can be quickly removed and replaced so that thibre is little or no time lost in the operati6n of the loom in@ keeping:the cutting mechanisni in IDS pro@er:condition. , I claim, 1. Iii a, loom for weavino, 1)ile fabrics, the combination of means, for inserting in the, fabric pile varns drawn from a source of sup- 1'10 ply, and means for severing said yarns between the fabric and the, source o@ supply, said severing means comprising an endl(!Ss travelin g member moving continuously in one direction and knives carried thereby, said 115 me.mber and knives lying ati one side of the, gr6up of yarns to be cut, and a, smpport on'the other side' of the group of yarns for holdin@ them while they are being cut@. 2. In a loom, for weaving- pile fabrics, the, 120 combina tion of means for inserting in the fabric pile yarris.drawn fiom @a@source of stipply, a@id n-ieans for severing said variis be@ tween the fabric' and tho- source of supply, 125 said severing means: comprisiiig an endless travelin g member mo ving contintiously in on6- direction aiid, carrying knives, and a niountiiijr for the@ meniber movable t b 0 ring said knives into and. out of opetati-%,e position relative to the yarns to be cut.

4 1,909,132 3. In a loom for wea,ving pile fabrics, the col,nbination of mcaiis, l@oi- insertin(r in the t@ I,, .@abrile pile yaris dri i-i froin a soiirce of supply, and iiieaiis for severing said ytriis@betv,7een the f@ibric the .9ctirce of SUI,)Iily, sgveriii(- iiieans comprisiii(, aii iicll(@ss slt, - n e trav(@'till g Illeiiibei- cai@i,yiii(, linives, S',Iicl, lll(,nlber tnd l@nives lyiri- oii oi-ie si@ie of the (,roLif) n zn of yai@ns to be etit a iiio-Liiiting fo@ the @meiii-@ 101 ber, iiiears for Ldvaiic!j.i@ig tnd i-et,i-acti.iig, saicl moliiitiiiu to i-riove tli.e l@iiives iiito aricl 6ut of operative pbsition, aiicl asiil:)poi@t oii the other side of the @rroul) of yariis f or hol.ding t.!-.eiii -while the are beiii(I cut. y t, 15' 4. 1-ii ), looiii for -@-vealrin,r pile fllbrics, tl-ie coiiibiiiatioji oi - i-,iieiiis -l'or lnsertinl(,-, iii the @fabi@ic pi-'Le yti@iis-dr',LAvll 'Lrol7i, t SoLlree Of si:tr) ply, ,incl meaiis f6r severii)(y said y,-.ti-ns b t, e t-kvc"en 'uhe f abri6 -,ti-id the so-Lirce of siipply, 20@, said severing mea,-is co)rjprisin,- aii endle-14 trdvelliio,- iiieii)beimoving coiitiiiiiously in @)lio@ 0,.,"rectioii a.iid ecirryin- knii,es, atid a sNvino-ii-i(y iiioulitiiig foi- @-,,-id zn motiiiti-iig movin,@, tb.e ,4Lo aii(@-I out of t@ 25@, op(l@.-atiA,e position. li'l a loo,.n for Yv,,@aviTi(r pi-IG, fa,bi-ics Llie, coli@biii,itioii of iiieai-is To,@ i!l i lo, f,ibric 1)],,e YLII@lis di-all@ii froji-i a sotirce o-.f supply, i-nea-ns f i'd yarns beor seATeriii,), s i. 30-, t,,,,eei; the T,,ibric lln(i of stipply, s,,iicl severi iig aii etidless n(, coml)i,iqi .traveliiig iiaeiiibei.@ iii on(, (I.irectioii alid cai@i-yiii(r knivep,, sai(I :tii(,l IKiiives lyiiig v@t one side ()f the grotil.) of varils to be ciit a.iicl. meatis lyiii(- oii t-lie othei-;ide of the -i-cup@ of 3r" Ili engtigelb] e %vit][i seid yariis for sup oi-tiii- tliein whil(, P i,liey are b@iiig cut@ 6. Ti-i a looiii. foi, vvc-aN7ino- pile fabrics ttle @oii-.ibirlatioii of II-ic,,"tlls foi@ ilisertiii(,@ iii the fabric pile yariis f i-oiii t s6lirce of stip3,)Iy, i-i-teans foi- severiliol- s,,iiet yariis ]-)ctweei-i e, f ab ic aii. the so,,ire@@, of sii,)ply siid seN,iih r (t ,(Iillllg meztpp, conii,)risliig ai,i ciidiess traveliiig 45@@ i-i-Lember ri-ioviii@@@ iii o,-i d'reee I tioll ttnd c-.urryin@)' kiiives, iticiiiber ind i,iiives lying at on(, si(@Ic of the of- ya-@@iis to be cut,.ijid It iiioilintiiio.- foltlicmeitiber iiiov:tble to briii.- s-,tid kiiii-e,, iito qiid oiit of ol)- ,@ratii,e posit,io-@i, incl oil @)lle otlii,riis a or side of-. (lie (y, oii,,-) of y II @l e II (@l, a, (y e a 1) I c, ii,ith said yii@iis foi@,ii.pl@)ortinc,, tliei-n. wl)il t@ e T t,ii(,) . i-e beiii,)- ciit. 7. In t looiii. f-ol, ,@oixibin,,).ti-oii of- ille,@tijs i'(i, iiisei-tilil(@l' ill tl-ie, -Labi'ic I)ile ytrll--, fioll@i @i, o@f ,iipply said yti.-ii aiicl niettiis f oi@ tb.c,, f abii(@ the of sti P said mc@,,,-tns c6iiiDr@IS,,l f lei tS ,L 1:),,Ilr oelen Ioil 60 01)1)o ite sides oT said - II-([ @ariis iioi,-,tb,e to-v,7, ,ii-id iiv@i3, fi@oiii eacli. otllei- ,tD.d s,,tid yarns, oiie@ e7ic-meiit iiielucliii- aii e@,idle,@,@s ti-aieling ii-ie,jp.ber.earryi,-i,y k@ti'@-es th(l, otlier iiiCltl(lil-lg tt SLI!@-,Pol.@t fol- siid ),ai,i-tg ivliile tll(,y 65 ire b eing clit. 8. @ In a loom f or Nveavin(y pile f abries, the con-tbiriatioi-i of iiieaiis foi@inserting in th(, s w fibi-ic 1)ile 3,ai-ii drt. n froni a source of supply,- ancl,iii(-,ails f(,@r severiiip- @,.@id betiveen the f,,tbric aiicl the source of sti.l)pl@y, 70 gaicl iyieans coiiipi-isirt,), a paii@ of el@eiiieiits oii (])P,)Slte sides of siid yarns i,.-iovil)'Ie toward iP"(1 awa,v f in a h otliei- and s,-@id y,.irns, oiie ro e c cleiiient iiielti(l.il-lor aii eiidlc@ss travel;,-,ig iiiember carryin,, ]in' es aiid a lilovable iTioul-itiii_-o,- 75 f oi@ siid member, the othell eleiiie nt iiieli@idid(y silpport for said yti-iis while the.)T are beino, etit. 9. Ti, t citttiii(, i,-iceliaiiisiii for severiii(y, t, i)',Io y@ti-iis d so 4@@.,oiii @i soiii.@ce of slipp@l, aii - cl i@-I a iiito a, 'iibric, t'ii(, coiytbiil,-L-av3lir i@io@.1,)f t ,.n eiidless t, g momb i, oii i ieaj@is fo sc,-d I r 'L all.ct aii-a.17 fi-orii ,@,iid ),al,.,Is, foi95 by itic,,,iiber (,O-Otil:ltLol@isly @tO. ITi t ciittiii iiiecliaitislyl folsoll@,C(@ ()f@-@SLIPPIYIiid iii t i-o-@v ;iito coi-tibiiiii- 90 of- ,i @i )Itirality oi' ellrtii@,@@ s-Iii,cl iiioL,@l@tiii(v i:i,i(I ii-iov,,bl@e 'U-Iiroti,,-!, :.t (!Iosf-@(I II(ITill @g iioi!ntiii(, t.(,ii-ard tiicl fi.,oiii @,aici yarns, aiicl ,ills 9r) (11 (11 111ON-Illfv' S@Ild .1@ii.ives cotitiniiotis@y i.i@i ot c 'i i 'cl 1-oii-li t-lieir 1),ith of t,-avcl. 41. 11A a, (@t,,ttiT)ff inecliaiii@,,iii I'oi, p;l r is (I i-,tNA, i f roiji. a soii CO OT- SLIJ)PIY -,Tl(,l i@@i P. ro)v i,iito ,t f@,ibi-'e, t]@@3 - coi-iibiiiati.(@i, of @t 1)1,@i-alit-," of ]@Tiiv,,,s, an.(l lrieaii@,, fol, 100 -toviii@ 'I s@ticl 1,@iii N-les Conti I) 1,1 ously i r, 011@e- (Tireefion itlil-ol"gll -I, el,osecl 1),ttli ttiicl fol@,@ s@ii(I 1)@,,tli to briii(, si,ict iiito @iiid ouL, of' positioll. 105 Iii a r iiiecli,.tii"-Slll foi, T)ilc,, y,tr,,,)s fi-orti L @'@OLIPk"e 04'@ 'iito, wi i, f ,tb i@'e, tl) @@ coiii bi.1-@ Ili(, -ibe. iiit;oii (1.1' oii E;aid (I @@ t, , P,(-iiiber coiiI -I )ii' i,-i ans for 110 o . (-[ ,Ilo@'.il)(r Sli(i bo(lil-y t6 brit-ig s,.Iicl ;.Tito otit of l@o'. iii t -1@oi.- severiii(- c of aii(I 115 f al)uic, tl-L(, c i ibii 0 i' i-@ oil 1")Ti @'i Ir T bl@voii(t iiieail@ @o]@ f6t@@ sai(i iiiot:tiii@ilicr i to @ll(I o;li, ')f o@I)eil@ti)o.,;iti,)!I, si@)i(I olle, si(l@c ;)T- tl!,- ol: to b(,, ciit, @i ol-I tLi(@ ot@lici- o-r. t",)(, (@,.Fol!l) foi@ liol(Iii)(r tli(,iii VTl@ilo tl@i@@y b(@@- ciit. 14. f-i ii (tiitt.;i)Lv I)il(@ (f I)dl It iii!@erted iii it i-t)w iiito ,,t tli(l, (toiiil)i-

1,909,132 nation of an endless men-iber traveling stibstantially in a plane, a plurality of knives ii-iounted on said inember and having cutting edges lying beyond said ii-ien-ibei-, sa,id meinber and kniites lying at one side of the group of yariis to be cut, iiieans for drivin(, said nieinber, n-ieaiis for shifting said inem-ber bodily t,o briiiff said knives int6 and 6ut of ciitl, Iiii@ positionlland a support on the other 10 side of sai4 group'of yarns for holding theni wbile they are being cut. 15. In a cutting mechanism for severing .of upply pile yarns drawn from a source s ain.d inserted in a row into a fabric, tl,,e com15 bination of an endless memb@r, a plurality of knives Tnounted on said member and having C-Litting,edges lying beyond said member, said member and @nives l'ying at one side of the group of yarns to be cut, means for guid20 in g a, portion ' of said member in a straigb@ means fotdriving said member. means for minving said member toward ancl away from said yarns to bring said knives intc, ,ind o t of o@erative position, and a siipport 25 on the other side of said oroiip of Virns for bol(lin- them while they a@e bein-- cut. 1 16. -Cn a cutting mechanism for severinc, pile yarris drawn from a soiirce of siippl@ ,,ind inserted i.n a row into ,t. fibric, t-lie com3( bin@ition of -,i motinting, an en.dl@ss trtveling member on said mountin(r means for It -n er in -,t ,zuiding portio of said m,emb @traight li.ne, means for drivino, said inemn ber continuoil,@ly in one direction, ,t pltirality 35 of kiiives carri-ed bv said member and hftving cliibting edges lying bevond s,,tid member, and means for movinff ,;aid moiintin,- to bring the li:nives on the guided portion of sai(I member into and ctit of operativo, position. 40 17 Tn ,t etittin!z mech,,tnism @for severin@z pile yarns dr,,twn from a source of supply and inserted in a row into a fibric, the combination of a b-,tr movable laterally, an endless member moiinted on. said bir an(i baving ,t 45 streteb travelin@,, ]en-thwise of the bir, knives carried by snid member -,in(i ha,vin,L, eutti-n(, edges lyinff be-N,ond it, sii(i member and knives lying on one sid,e 6f the @,yroiil3 of - .yarns to be ciit, meqns for drivino,'-s,,iid me;@.ber. r)o mean.s for moving SIid b,,tr I-,i.terally to briniz said '.knives into iTid oiit of ciitti-nir position, and a supt)ort, on the otber sid,-, of t-he groiip of y,,trns for holding,tbem wbile they are beilig cut. 18. Tn a cutti-n(ly mechanism for severin-7 T)ile yarns drawn from -a soiirce of siipplv and inserted in 9, row into a fabric, the com'hination of an e-n(liess member. ,i, - pliir,,tlitv of bolders ,ittached thereto, e,,tch bolder ha, vin@,r 60 a knife detachably moiinted thereon, and Teans for drivino, @aid member continiiously in one direction. 19. In a cutti,no, mech-anism for severing pile yarns drawn from a source of supply and G5 inserted in. a row into a fabric, the combination of an endless member, a plurality of holders attached tliereto, each holder having a slotted portion, a knife, detachably mounted in each slot, and @lield in place by overhanging portions of the wall of the slot, and 70 means for driviiig said membercontinuously iii one direction. 20. In a cutting mechanism for severinj pile yarns draivn froni a source of supp' inserted in a row iiito a fabric, the combi.iia- 75 tion of ,t mounting, an endless chain on said@ imountin o,, means for driving said chain cont ously in one d'rection, means for guiding inu I t portion of said chain to move in a straight line, holders attacbed to the links of the 80 chain and extending beyond said chain a knife in each holder, said knives in the guide Portion of said chain having their cutt'n edges in a plane, and means for moving sai moLintincy to bring the knives in the guided 85 porti6n of said chain into and out of operative position. 21. In a cuttin-:mechanism for severliag pile yirns drawn f rom a source of supply aiid lying in a, r6,w the combination of a go pltirality of li:nives, a mo@unting for said knives, S'aid mounting and knives lyino, at one side of the 70up of yarns to be cut, m@ans for inoving said l@ilives along said row of yarsns, a support lying at the other side of the grOUP 95 of yarns for holding them while they are beiDg r cut, aiid means fo movi ng said mounting and support rela-tively to one another and into and out of operative position relative to said yarns. 100 In.testimony whereof I @affix my signature. HO'"TARD L. SHUTTLEWORTH. 105 110 115 120 125 130

Описание

[1]

Patented May 16, 1933 l @ 9 0 9 9 1 3 2 UNITE,@D @STATES PA@TENT OFFICE HOWARD L. SHUTTLEWORTH, OF AXSTERDAX, NEW YORK, ASSIGNOR TO XOHAWK CARPET MILLS, INC., OF AMSTERNA NEW YORJK, A CORPORATION OF NEW YORK TUFT CUTTING MECHANISM Application filed March 17, 1932. Serial,No. 599,388. Th-'! S inventioii relates to looms for weaving pile fabrics, such as those of th6 Axminster t i oncerned n-iore particularl with .yr,e, aild @s c y t iicivei illechaii@sm to be iised in such looims .5 L'or.etitLiii(y the yai-ns f otming the pile tufts. Loonis for we,,tving tufted pile fabrics by operations which involve insertina the tufts in ro-,vs across the fib7--ic include means for cutt@ii(r oi- slietrino, the pile yarm from their 1" s(lirces of s and the cutting devices lll)ply, i,iow coii-iiiionl3, employed are of two t es. yp One f o.-m of cutt,iiig iiiecliaiiism severs the y,ii-iis I)efoi-e, they ,ire inserted between the iv,,il-p thre,@t ' ds of the fabr@c, while the other .L f oi-ii-i f -Liiiet:.,ons after the yarns have been inse]-ted and -boiiiid in place. Both forms of ous Littii-ig iiiecliaiiisiii are open to seri o,bjecti(,,iis. tiicl intei-fere to a coiisiderable extent with .;iiereasidg the speed of production of lie loo li'l. Tn looms in WI-iieh the pile yarns are cut a@fter they haie been ii),serted in the fabric, the etitt,,ng devi.ce Lisually includes inner and ()l-ite,- ei-ittil'19 blades moiinted on bars extendIiig aci@oss the loom, and lying on opposite sides of,tlie iiiserted row of tufts. At the I)i-opel@ ,iistant,,; in the operati.on of the loom, I.-liese bars are inoved toward each other by sli,iittible iiieins, such as cams and levers, and lie kn'ves cooperate to,shear the yarns. In t, oi-der tl-tit the knives may cut properly, they iiiiist bear a-- ,iinst each otl)er with sub@stantial pi-esstij-e, ai-id -Linless thc@ bars are stron(y ay),I;of b.cavy rigid construction, there is a (linger, part,,ciilarly in wi(le looms, that the bai,s will spring 6i, i.,eiid, and tbereby impair tli.e cLitt.]'n,, action. Device,-, of this type constillic a siibstal-l-@,-I'al imount of power @both in the -i-ioveiiien'L Of the bars and in the actual cuttin(v ,ictioi-i, aiid the movement back and f oi;tli of tlie@e lir-e n-tasses, particularly in wide, looi-ns, eaiises excessive vibration, re(I u@ et- s the @,,iiiootl-ness of operatiOD, and preve,yits opel-atiii(, the loom at hip@h speeds. A-Iso, the cittter blades have to be removed from tl-)e 16oiii from time to time to be resliarpeiied aiid this represents a loss in time an(i productiiti@y. of the loom. . In loonis in ivh;.eh the pile yarns are sev50 ered before the tufts are inser'ted, tuft grippei-s di-a-@v tb.e yarns between the teetli of a coiiib duriiieach cycle of looiii:operation, aiid the yariis are tlii!ii cut by one or more loiig sti-olze cuttinc, knives which are traveisedalongtbef,,tc@()ftliecomb. TheoperaC)5 tioiis iiicidejital to the etittina of the yarns III this iiiaiinei-, aiid especially @he movement of the knives, coiistime a. cosiderable proporti.on of each looiii cycle aiid the ol-)eration@of the loo,-ii is coriespondiiigly slowed down. 6a In addition,,siieli cutting de vices reqtiire complicated aiid biilli:y actuatiii- mechanism constiii,iino, t, stibstantial an iouiit . of power, and tlle entii-e cutt-iiicr mechani@sm seriously interferes speeting up the loom to increase 64 its output. 'rhe present invention is accordingly directed to the provision of new cuttin- mechanisin for the purpose referred to, which is an iiiiprovemeiit over those herotofore used, in TO that ,@t is @s'@mpler and of lioghntT,,er, weiglit, may be operated it lij.gher speeds, functions without. uncl.ue v@ibi-atioD, permits the production of fabi-ics of shorter t-Lift lentyth, and is cheaper and easier to iiiaintaiii in proper op-@ ei-ating condition. The new illechtdism ineltides a plurality of sirnall cutt.iiig blades removably mounted in holders in an endless tra-@-elin . inei-nber, 9 such as a chan driven b suit6ble dri-Ving 80 1 y nieans. The travelidg men-iber is carried on a movable support which lies at one side 6f the i-O'w 6f iiiserted tufts, alid on the other side of the row is a back niember whicli pi-ovides sttpl-)6rt to the yariis during the cuttino, 85 operat ion' The iliovftble suppoi-t and the back iiienib@r, botli of which are, of relatively liglit weight, are catised to approach aiid recede from one another by suitable@meaiis, and at the proper instaii.ts in the ol)eration of the 90 looin and upon the @insertion of each row of tufts, tl-ie supp6rt and back iiieiiiber advance toward the yarii,s, and the kniies on the traveli ng ii-iember sever the yarns Nihile they are en-aged and supported b the back meni- 95 y ber. Tlie,,@upportandbackmemberare,then retracted and the operation of the loom proceeds. Sinc e the new mechanism is of relativel_v light weight, and the cutting operation is 100

[2]

12 1,909,132 performed by it in ,t vei@y short period of time, it can be aclu,@i'L-ect al@- high speeds. Also, i.t f unctions withoiit substaiitial iibratioii and the mechan'sir, severs the tufts evenly and call be adjustecl to procILi.-e muel-i shori-er tufts thai-L is possible with the devices iiow used. The knives ciiaployed ai,e preferably of the wafer type, resemblii-i" razor blades and as tlae dlill L-Di.ves inay be cluieli:ly relo moved 'LroiiLi the;-r hol.ders, and new ones ,is quieli@ly inserted, the 'Loss in product ' ive looi-n time causeOL by tl-ie w-Itinteiiance of the cutting iiiechanisiii is in,,ttc,,ri,,tlly redliced. For i better uiid,-is@@aiidiii(,r of 'clie in-@,en15 tion, reference i,.i,,iy be iitd to the accoi-ripaiiyinodrawiiigs, in which Fig. I is -t vievv -'Lii side elevation 6f in Axmii-ister loom embodying the ii-ii,eiitioil; Fig. 2 is aia eni@ar-ed secti-ona,l view of '@-lie 20 cutting iiiceh,,tnisin slioiving: tb.e i')art@@ in position to cut the yarns; Fiu. 3 is @t ATicw of the cuttiiig.iiiecliatiisi-n in froiic e'ievation; Fig. 4 is ,t plaii vi,e-vt of tli(-, ciitting nieciit25 iiism showii in Fig. 3; Fig. 5 is a fra _zme,nf,,try ,,@(,cti,)iial view showi-ng: t det,,til of the ciittilig lileehai)isiii; Fig. 6 is a lo,-i-;ti-icliiial sectiontl view of a portioii of the (,.UL"t@ing ilieclaai-iisTi-i; 30 Fig. 7 is an ei-id V,,ew of a k-@aife holder, aiid Fig. 8 is a si.de view of a portioi of .i, k-ilife holder. In the dr,),-,viiit),sl tl-iei,e i@-, conveiitioii@illyi'Lli.istratecl a looiii7lO I?ro@'lided -with 1-raiispoi-t35: in(, cha,ins 11 oii whic@i tilbe fram'es 12 ,ire carried, the fr,iines beiii,,- advaiieed successively to .t oliit tbove thc,, wea%7ino@ devices p where q transfei which i3- ,eludes ,iiid oj)ei-,,ttai by t@@i-,e a pair of arms 19-' picks iip frinie Ind tlitt mecli-.tlisiii ,10 lowers it to the, eiids of t]-@c,, ),ai-ns inclucles I)ins "id- oji [li(- piii -v@,oui-id on the spool iii t]-ie fr,,ime betwe,-ii tlie. beiiag cojjiiecteci b-kf t i@o(@l. 3,,) ilo oii(@, warp tli.reacls of the f,,ibric. Ul)oii ins,@rtioii of a t)ell crajik pivot,,I,Ily Illotilite(71 at @'I)e of th(, yai-ns, a shot of -wef IL-, is iiitrodiieed otlier ai-iyi 3S of the bell cal-i'.@7l']I( i,,ito tti t, fabric, the en-,Is of the are roller 39 iNIiieh i,,-;, @eLect ILI@)()ii b@-), n c@iii-i tO 4,3 loopec, abo-Lit the -w(-,ff shot ii-i the wty, oii the c@iiii sliaft ol' thc,, I.of)iii. Eqcli 1)011 o ri ii, ,t ll y h e l. c l st o l) I 1 ). ), ,tnd the y,,trris are severed betnireen f abi,-@Le erink is ii and the spool to produce tufts of th,- I)i,oper a spi.- ii-ig 42 att,,tche(I q,t ort,,4 (,-id l@o tl,,P, i.ength. craiik aiid i,t ti-te other to t ]),Il.t oT rho iie", iiiech,-,nisl-ll JISe.Cl for SCI)Tei.@in(r tl,e the Icoirt ,@ide fi-aitie ,iii(I t'ti(,, 40 i,,@ so -Le tlie, proi)( @ltl"(@ 50 @rlts COMI)I'ises a bgi- I'@') itticlie,cl I)y i ",is oiii tli,@)@t q"@ of bi,,,ickets 14 to tl-te eiids of AT'MS 1.5 fast oi). et-atioii of the looii-I wilt'li the sh,ift 16 joiirnaled iii beLii-li@@rs oi-i t'ii(" looiyi tiift yat,ns is to I)e sidg, f raii-ies ili. Aloiiit@@d oii the si-itft 16 is are rocl@ecl. the i so tl-tat its J'oi-wai-d (,ii(I t@h(@ Y,@r-,)s@ m ,,,ii ar IS to -"Thicli. is atta(@lie(I oiie, eii(.l ()f ,96 spriiig 19 the otlier ciid of lA7b.lel-i 'is @-4ectired The b,,ii- i3 of t'@le, ei[ttiii(,- is to t bracket 1),O att,,icl-i.ed to ,t,,,)y siiital)le 1).irt pi-ovide(l. at o-ne, ep.(l witli a 43 'lot, of the looiii. 'rh,@ spi-iiig 18 tei-ids to i-ock the sli,,ift to 15 iii a couiiter-clockwicje (lire(@,tioll, 1-11'is ;,@)g 46 foi, t sl,,,,tft 47 .1 - 66 movei:iient beiiig iiiiiite(-l b,l iii(@n,ns of a st6l.) wlieel 48. The shtft 4i' thi,oi-@g]L ic@; 21 agtilist which t;@le ei-ii-is 1,@y iio),-iiii,!'Iy I)ear. ()II its (-,:@-pos("(.1 011(l The sli,,@--'it 16 ard arms 15 arc, rocl,.r@,c] gear 46ii-i(,sliin,y ivitli a ',)O oji t@he by .-iiedn,. of aii. iriii 2@),, ,ilso )ii shaft 1C,, shaft 51 joui.@nttle(-l iii 5L)@ the which is attachecl by a link 2'0 to oiie trili 24 beiTIg driven by tiiy a@-,, c)5 of a bell crai-ik pivotally inoiiiited in bear- a flexil)le qh@ift 53 whicli @liaft n-iqy be coiiin(rs in a bracket 25 @ittteliecl to a suiti,ble part of the frime of the looiii. The o-Iller iriTi 26 of the bell ei-aiik cai-i-ies a rollqi- 27 at its eiicl -whiel-i i-s enga,yed by a c,,tm 1),S motii-ited oti tli.e cam stiaft 29 of 'uli(,' looril. As the rotates Ctiiriiig ti-ie ol)ei,,it@iol, (,-i' tlie l(oiyi the aiii acts tlle'k)el c u . n- @l ercilij@ iiiid the coniieetioiis (lesci@ibe-I to c,-iiise -ti,.iyis 15 to advaiiee th(, etittiii,- to opol, - ative position, tlii,,, tiiiiecl to occur after the tufts are formed. The 1.).ile yai-i-.s woliri(@t o-@i @@pool l'il It til) e fr,,iiiie ppss otit tl))-,o:tio'li o,--ti@@de tt-ib,,s ')O oii the fi-ai-tio aii(I -v;l-icii the eiicls ol'tl@e ai-e ;li)serte(i, betweeii wai-p @iii(i ! ',O sliot of wc,,ft is iiiti@ocluce(-7t illlu-o the ftibi, IC, the ytriis are, helc-[ oiie ,)oii-tt by tlio shot of ' weft tind extenot b,,i,cl@-)Yarctly froiii l.hat point th,rotigh tije tiibes to the spool. the etittiii(@ rfiecliaii.'ISIII 1-10@V .110IT(l@, ilto col-ltact with tb.e yarns, some supp,)rt foltlic,. yiriis on tlie, siC[(, op,)osi @u@@ to th,,,t f -V.;Ii-Leli th(@, ciitting iiiechaiiisiii ,i,i)l)roaclies is clesillable, so that the (@t@!t @A111 be cleaii rathei- 'Llli,@i,ii ragged. '-rhis siil)port iyivy best be alToi,,,Ie(I s 11 Lnc to th(@ yti-n ji@ist ,)o' -1 of etiti@iiicy @iiid siich stippoi-t ,tl.,,,o to l@c(,(,.p the (,iit eii(Is iii Iiiie ivitli ttic,, glilde t[ibes so I.-i-iit tli(, ends strli;glit, foi.- tli(,. (if the y,,ti-ii in tl-ie wai-p. I'he back support oi, gii ide iii tlio 3-,eiv iiiqcl@iIiiisin tikes tl-te foriyi o-11 ,t platq, 'Ul of stillable light i-i-i@iterial i,.io-Liiitecl 41(, slot,,-; 32 in I)racketg i.,3 to tlia I.ooIll frame. Iii a looni 'iio- kiii@@es liave b(@eii tif;ecl. t'@i.c si,@1)1)oi-t iii,,ty be moui)t(@O@ iii tlte b,,@eli sl'(I(,S ai-iii i sl@iift 44 ivlii(@,li eai@ries -,t the aiid at tli(,, otliei- of the Avil-,Ii ,i

Как компенсировать расходы
на инновационную разработку
Похожие патенты