заявка
№ US 0001837906
МПК A01D41/00

Страна
US
Как управлять
интеллектуальной собственностью
Чертежи 
4
Реферат

Формула изобретения

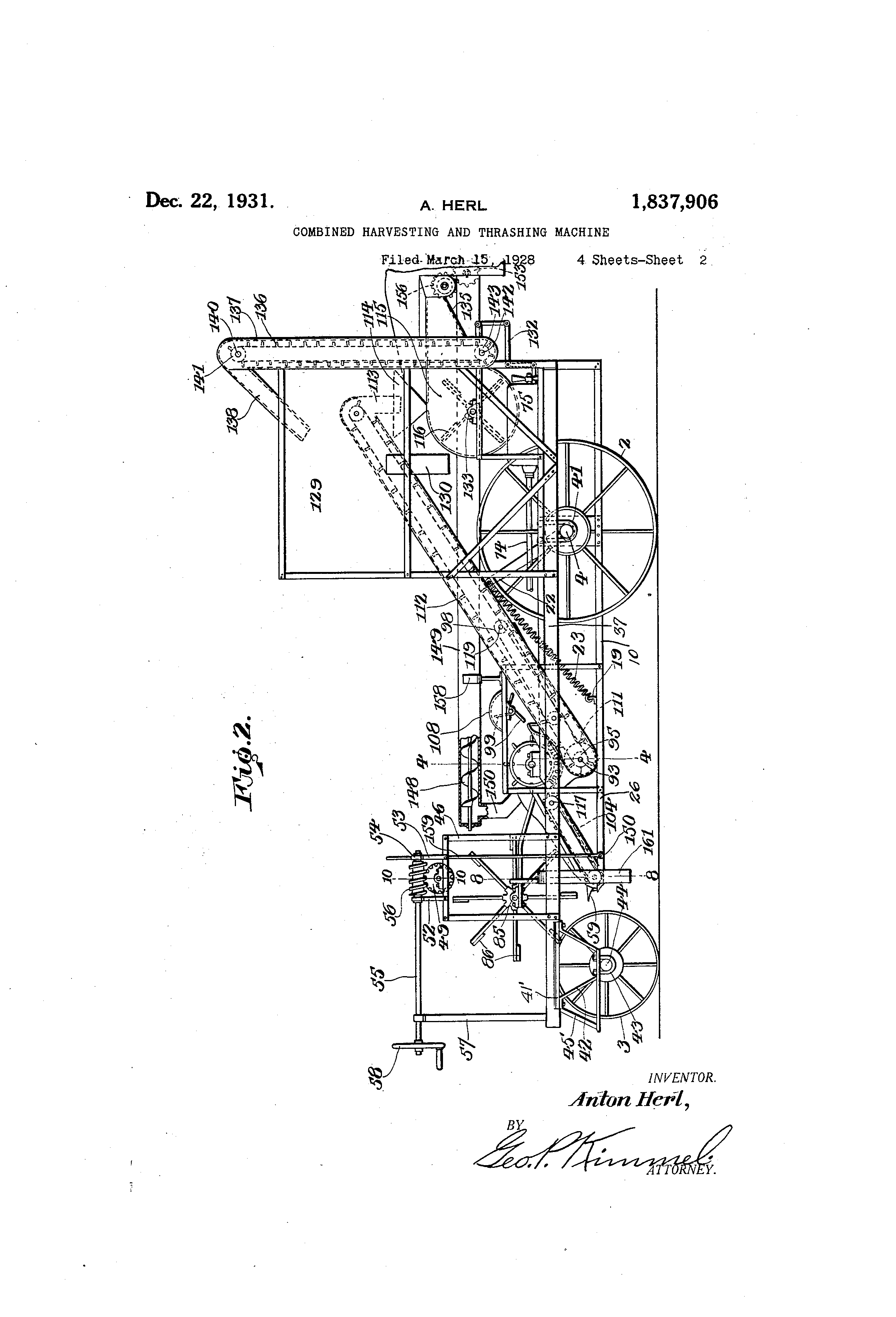
the graiii ,tiid the. latter has a lateral spout 130 for the clischarge of the grain into a wagoii or receptacle. The chlite 112 is arraiiged inwirdl@ of the bin or hopper 129. fpn chiiiiber 115 is provided by -) housii-ig 131 arraiiged above and supported from secti'L,ons 8 a-iid 9 of the frai,.i 5 at the reir @lie I A st,,ib-'Iiz g rlecha--tiislii encl of f a@-lei. i ln 132 is provided for the blower or f al-i clevice I @- T-i d iihich f ti-@ic'u-ioiis 'o stab-@ liz e su,-h d(-, vice iii a iei,el position -,vhe-ti the f r,,tme 5 is tilted in the maniier as herei-paflu-er referred to. The fan sl-iaft -Ls indicated at 133 an-d dr;-vei,i -@"roin the belt 82. The bottom 1 @'4:, of 15 the liousiiig 131 has an incliped part 135 for d'Irec'ciiiothe ('rain to a SP;ral conveyor 136 rra n-ae@l below the lower ciici of the incline,,', part 135 of the bottom 1,9)4. The spiral coiii7eyor is clisposed tr@insversely with ;-espect jo to the hoising 131 ancl is providej -'Lor conveying the to tl-ie lov,-er end of a vertically disl,)osed eiidless coiiveyor 1'6. opei@ating throligli a el-@ut'Le 137 ivhich opeiis at its lower end into the housiiig 131. The c'-,iu'e 26 1,@')7 extends above tiie b,,n cr Lopl)er 129 aiid is proi7ided witli ,I cl.epei,,diro,- spout 138 -w,ii-ch dischar-es i@,ito the b-in or hopper 129. Tho z@ chute 137 supports a -I-ia'Lt 140, provided iv;-tb NV - ,t pul.lev 141, over h;ch trtvels the upper 30 end o-,' the conveyor 1'6. The cliuite 13-i fur"Llhe,. slipports at its lower encl a sh@,:Fl@- 142. provi@led Nvith t drive pi-!ley 143 for the co--Liveyor 136.. The sh-@ft 142 c.-,tends from tiie lower c,@-id of the chute 137 ,tnd carries ,i 3s sprocket gear 144. above tlae i-iicli-ned por'uion 135 of the bottoiii of tlie hc)usin- 131 is a shake,-- device 145. The spi-oci@:e-t nuelir 144 is operatecl by a ch-,Liii (Trive i46 froiii the shaft 1133. Position--d at the upper 40 of the inclined portion 135 of the housiii,y131, as -well as de endino, therebe'l-ow, is a p n spiral cop_veyor 14@ dispos--d trtnsversel.y of I'V il ,tnd it' in the housin(, 131 ancl whi-eli is I)t@ovicled for condtictinu off the ii6n-tlirctsbecl graiii aiicl dischargi-ii,- i-t into ti for@vc-,i-dl.-,T e.Kteneii-,-ig sp-'@ral conveyoi- 148 aii cl wi-iieh -loiiOi.ticts the s,,ime to one of the convevors 1-04 for supplyi-rtg -.t to a thraslier element. The coil@,eyor 148 is r-,ioii.-ited in i,, casing 149 ht,, - 50 IllY its forniard Pi-td provided with a derei-id1--@ig discharge spout 150. See Fi--Llre 2. The conveyor 148 is ol)(,rtted froiii the chti--.q clrive 146. A s,o,),ft 151 is supported froi-.-i the retr end of @he chlite 149, and carries ,t sprocl@et .55 pi.nion 142, ,t sprocke@lu ge,,tr 153 ind -,t bei,-eled go,ir 15J@--. The sprocl@et nion 152 4s drii-er. from tlje chain 146. T@ei beveled ge,,Lr 154 mesh-@s -with a bevel-ed gea- 1-5,,@ provided on the re,,ir end of IL-,he s'ii,,ift of the spiril cotiGo VP-yor 148. The spi@ocl@,et gear -L53 mes@'t@es with a sprocket gear 156 fo,.- med oii one eiid (,f the shaft of the spir,,ii,conv'ey6r 147, -whe.--.bv the la'uter is operated si-.-,iLil.tL)neoiisly -w'lt'h the spiral convey6r 14:8. The shelker device 65 145 i-, operated by a@ belt drive 157, froiii the 4 1)837)906 fan shaft 133. The casiiilr or chute 1,-IX9 is i-iiounted on t support 158. See Fi.gi-ire 2. The frame 6 is tilte,-l by a ver@.-tcally shiftable ,ipertured liftiii- rod 159 @vhi-@h is p-vwith frim-- 6. The roOL 1 59 70 o'ally coiiiiected selec-velilreceivesthe.pins', erriedbythe clisl@ '@O @o provide for the ele@,P-tiii(y or lowering of the i,-od. A g -Liide iiieans -L -'61 is provided -for frame 6. The 'rame 6 co-tistitlites the tr-oek of 'lie 75 iiiach;.i-io a-Tid ti,.e bars 38 '09 proviOLe a later,-I'tv offset or siib-frla-ie for the jilotor, ancl th@it 'Lr,-,me Nvhich supports th-- bin or hopper. The uicli-Tig --,I'Ieails 161, in cor@nec9 'Uio,,i iiith @'-.he s-Lippol--t 2k) te,,,Ids to @aiai-iital,-,i 80 'lie fraiiie 6 in line willi. frii--ae 5. u t, T-ie conveyors or ridclies !04 carry the cut I V,,he,,).,t fron-i the c,,itter clevice;nto'-@-lie tilraslier e-feliients 87 at qn ,in@cle of 300, ivhe,--e it is tfirp.,shec', ct sl:)reid, the f-@ill -w-ldth of lu-he 85 frain2 5. This provides foi- the sepg,,,!atioil of the -L-aill froiii the str,,tiv it least 97' bet-,veei-i the codc,.ive ur,)te,:s. From there the is ea,-ried. over to co@,iveyors or ri,dclles 98, at a spreac[ of approi@@iiiately twenty-seveii go ,,,-,id one-half feet. Whatever grtir is left -wi-11 fall tlii@ouo--,Ii tiic sl,,Its of cop-veyors 98 9-lici ZD sli@te eioiv--.i the portioii 1,03 of t'!,e @-,_.ough 91 a - ipto the bc)'L-,to,-,ii 101 of the The gr iii 1,)assiji- thr6ugli the co--,,cave fql'i. iito botto,-,ii 101 of troti(yli 91. J'he copi,eior 91 Nvill -,oiidt,@et the c,,rain to convelto-f ll'L -,ncl kviiieh 'li-i lu-tirn ivill el-e-vate it incl cl;.ssoi-iie iii 1-iopper II/',x -@lo be Ie@@ecl tll)on by the fan 'Lo cleaii the cht,i from the ioo T"ie conveyor 136 -,vill conduct tl,-ie cleai-ic,,,l g-.,-@aii-i --'@-0 coiive)Tor l@"T '1' d'- 'LIie grai-,i itito bin or hopper 129. It is tbou,,,,,I-it that the iiia@iy advaii'ua(,es of t , ,t ra-@Lehiiie in accorclai-ice iviti-i ti-iis inven'ti-oii 105 ,inO, for the -oi-irpose set caii be reidify Liiiderstood fron-i tiie foreqo-lr.,v cleFcrlptio,,i, .1 tt,.I,:eii i@ coiln6ctioii i,-L r@ t' - accompac@yiiic, clr@71T.Ig , Y,,herein i s s h o i v - . i ' u h e p r e f e r r e c l e i i i s bociiiilell3t of -.lie biit ill is 'uo be iiti- 10 derstood t@l,-,t chailges be 'iiacl which -F,,ill L; v)7itliin'u-he scoi)e of 1-iie ii-iventio-.n -Is Wh,,Lt I clail.1'1 is: - e f o r t h e p u r l ) o s e s e t f o r t h , 1. I-Li a machiii t set of i-otat-,ble cyliliders ar- 115 ranyed in eidiv@se opposed rel,.it-Lon, a-.q ope-ra'Uiny shaft comiron 'uhereto, t, set of eiidless fro--qt co-,iveyors 91-1,aiio'ed forwardl\r Of and extendi-iig a'u an tipN',,arcl i-nel.illation to said cyli-iiders for coni,eyii-ig cut wheat 'L20 tliei-eto co,,icave gra'ors, each arradged beloiv, oppos@.,-q,(-,,, the eiids and rear of i cyl-'L-ider ai,,(l si)aced throughout froin the la'uter, str,-@w co:@l-ve-yors of the eiidless slatteci type arranued re,).rw,,irdly of and exteiidinu -Lip- 125 wqrclly froin 'Iront to reir, each grlqlter 1-ip.-,,i-ng its. f,@@oi-rt a,:rtrced below and @Iii prox-'Linity to the rear eiid of P. froi-it -.onveyor aiid exteiid-ing upwardly at its re,,ir @o a point substa-.itially in ali,-;nnient w;-th 88 Nvi-,Il gr)

1,837,906 saicl shaft aiid then downivardly in a vertical direct,'oi-i to a point in close pi-oximity to the forii,ai-d eiid of a straiv coni,eyor, li@ticl t grain collectiiig trotigh positioned dir-letly bel6w Li-id common @Lo s,,tid gr,,tters tiid i-neltiding ',til upivardly iiiclii-iod froi-i' part extendino- to the re,,tr ei-ids of the front conveyors and a rear p-art extending rearwardly at an upward iiiclinatioli from a point belo,-w and for10 -v@7ardly of the froiil- ends of the straw conveyors to the rear ends of tl-ie latter. 2. In a machiiie for the purpose set forth, par,tllel sp-@ced supports, bearings moui-ited o.n the tops thei@eof thrashina cylinders ar15 rano-ed in endwise' opposed L@ r@iation and interposed between said supports, an operating shaft commo-n to said cylinders and jour-nalled in said bearings, conveying means at the front of said cylinders for conducting cut 20 ivheit thereto, stra-w cop-veyors arranged rearw,@rdlv of said cylinders, spaced concave gr@tters, each arraiiged below, opposino, the ends, front ai-id rear of ,t cyliiider and spaced ol'I thr ghout from the latter, said gra'bers hav25 ing their ends secured to said slipports, each arater htv-'Li-il, the top edf,,e of its front positioiiecl below the fro-nt of a. cvlinder and its rear ecige stibstantially alignino, with the 16ngitudii-i--,! mediaii of a cylinde-r, each grater 30 ,t its rear being formed with a, vertically dispe,secl dej)eiading portion extendilig to a point in close proximity to th(? forward end of a straw conveyor and a o@rain collecting trouuh pos;-tioned directly below and com35 mon to said gr-,tters, said trough haviiig its front extending to the re:,,, r end of said fro-nt coiiveying means and its rear extended and opposing in sl)aced relation throughout the bottom of said straw conveyors. 40 3. In ,i. iiiachine for the purpose set forth, -parallel sp,,teed supports, bearings mounted on the tops tliereof, thrag]-iing cyli,-,iders arr,qn-ed in enclivise op-posed relation, and interposed bet-ween said supports, aii oper45 atiiig shaft common to sa4-d cylinders and jotirnalled iii said beariiigs, co-.iveying means at the front of said c Iiiiders for condi-ictino, y n cut -wlieat there'Lo. stranv conveyors arr,,iiiged rearwarclly of stid cylinders, spaced concave 50 (yraters, each ,irranged below, opposing the ends, front aiid rear of- a cylinder and spaced tlirou,gliout -Prom the litter, said graters having their ends secured to said supports, e,),cli gtater li,-@vin- the toj) edge of its front 55 t)ositioned blloiv the fronf o-Lg a cylinder and its rear edo-e slibstantially alio@nin(r witli the loi-i-i'utidiiial iiiediaii of .,,, cylinder, each grater at its rear being formed with a verticallv disposed clel)ending portion extending 60 i- " @o a poiiit in close proxi-mity to the forward eiid of t str-,t-w coiiveyor, a -rain collecting trolig@li positiop-ecl directly below and comi-iion to s@,.icl graters, said trough having its front exteiidiiiu to the rear 6iid of said front @r, 65 convei7iiig iiie-,iiis and it',s re,,tr extended anct opposing in spaced relation throughout the bottom of said stra-w conveyors, and straw pushers, each positioned rear'Wardly of and above the vertically disposed porti6n of a grater and above a stra-w ccnveyor. 70 In testimony -whereof, I affix my signa-ture hereto. ANTON I-IERL. 80 85 95 105 lio 115 120 125 130

Описание

[1]

Patented Dec. 22, 1931 l@837,906 u@4. IT E@D STA"RES 'PATENT' OFFICF4 AL-TTOIT HERL, OF HAYS, H-KNS-LIS COMBINED -.qA-r-.VESTnVG AND TZ-IRASHTNG MACHINE Al)l)@icat;on filed March 15,1928.@ Seri@ll No. P61,852. 'i-hi@,g -rve-,it;on rela"es to a conl'OiRed har_:, - i vestir,(y aiid thrasliing iiiachine aiid has fo,,obj@ect 'io pro,Tide, in q. iii,,tiiner ,ts here-inset for'Lh, ,t 'uhoro,,iglily efficieiit niaL L" ch,"ne o-@ stieli class o-L' a sliiiplified cons@lruei,loii - wi@uh respect to the t3TI)es of iiiachines o-f si-Tch choract'cr nonv c,@eiierally ei3--ilD'ioyed. Fi-iii'L,Iier of the ii-iventioii are to pi-,o.i,-3 de, in a ll.'lon-.,ier as@ hereinafter set forth, -Lich eass wliieli is co--rnpara10 ,,, iii@ich-i-ie of s 'Liveiv iii ils conslxucti-oii - nd --rranger..-ier,!- strono- dtira' le, co,- iip cap,,tble of h re.11L fac thorou(, - L)ein'"' opera'eel in i'Ls use, compar L-ively light in I,y fficent - a, 15 g, prov idiii(- for the separatioil oF ' ie -r-@ii-i 'Lrolii the str,,tnv Nvith the loss of grain recl-Liced to a inipiiiaum, readily asseiiibled a-,@icl ec)riip,,L- a'L-,ively inexpeiisive to set up. Tith the Toreyoil-ig aiicl other objects in vie-vi,- th-e i-iiventioi coiis@.Sts o:f th-, i-ioiel const-.,-@tic'ulon, coi,.tbil'lat-ion tnd arrangeiiient of p@@,rts 1.s her,@;ii@,tfter iiiore specifically deftnci illustra-Iled i-n the accoinpanying is shoivii an eiiibodi-iiient of t,.I.e i-rL,,-eition, btit it is to be Linderstood -iai-iges, vari, -ioiis c@ @tioiis and i-@iodificat ea-,-i oe rese-ited 'to -,vi,,iieh 'Lall Nvitl-i-Ln tlie. scope o-i@l tiie claiiyis lilei-eiiii,.o apperded. i-,i j(ie dra i@ic's -wllerein 'ike ref ereiiee (loi-iote correspoi-iding parts the se@,eral views.- Figui@e I is v@ to-i@) pl,@in vi,,w, p-,irtly broken cf P. coiiibiiiecl harvesting aiid thrashacco,-Idance vnith this invent@ cii. Fl,ffure 2 is a side elev-,Ltion thereof. V'g,,ire, 3 is q se,-tion oii Iiiie 3-3 Fio,ure 1. i t Filc@-ure 1 is a secti-on on Iiiie,-L-.4 Fio@tire 9@. giire 5 is t f ra,,,menf ary N,iew loo0i-ng to-VIT r@l oiae si-,Ie of the i-ilpchine sho-",ing chain r-@-v--s for cert,-@,in of the e',.eiiients of the 6 is ,, fragiiientary view in side cle,,a'(,ioii showi-iig the blowe@z device or fan and dr,@v,,ii(,y there-Lor. rteferring to 'Lhe dra,;-,ings a con-ibined harve,st;ln(,x @,nd thrashing m,,tchiiie, in ace6rdance -Lides a pair of rear @Ti@Lh this inventioii, inel iiheels 1, 2 and a single froiit wheel 3 which is arran ed forwardly 6f the wheel 2 in aliopn9 inent therewith and is of sliialler diaineter than the latter. The rearwheels 1 2 are revoltibly iuounted upon an axle 4. Positioned at the: rear thereof upon, as -vi,ell as projecting &5 rearnvardly from the axle 4. is a stationary fraiue 5 and a spring, controlled balaiieed fr,,,iue 6. -wei,(,ho'ed at its rear end. The fraines 5, 6 are positioned in sidewise arraiigement and the forn-ier e eiids f rwardly from the so xt 0 la'uter. TI-ie f i-,.t,.iie 6 depeiids belo-Nv the f ran-ie 5 and i -iicludes a ljair of oliter sections 7, 8 and an intermediate section 9. Eacli sectio in11 eludes a loiver bar 10 and all upper bar 11. ds The sections 8 and 9 are connected together by -,tn angle ir6n or bar 19 which is@ secured Lipo-Li the upper ftees of the lo-wer bars 10. - S-cil:)po@f ted from the -fraiiae 6, in proximit-y to the recir eiid thereof is an - ,xle 4 ivticli projeet,S 70 a. substaiitial dis'Lalice fron-i,-,he sections 7 and 8. The iiheels 1 and 2 are carried on the projecting ends of the axle 4 and the latter projects a grea.ter distalice from the section 8 -than the seelioii 7. Fixedly secured to the 71-) axle 4 is a s6ries of spaced collars 21 and each of ich has formed integr I therewith a forwh a w trdly extending and upwardly inclined crank ariii 22. The craiilc arms 22 are arranged bet-ween the ilitermediate a-nd outer so seet'oiis of the balane d fraiiie. Colinected e .-with t'iie forward encls.of the crank arms 22 are forivl rdly extei@dino- and doinnwardly incli--ned c6iled springs 23 inhich have their low-igle iron 19. 95 er ends fixedly secu@red to the, ai The spriligs 23,in coniiection with the -weioht6 ed rear end of fraine 6 provide a balance for the latter. The f orward ends of the sections '(, 8 and, 9 o' t@,-e balanced fraiiie are conliected el i,,@on 2d: which is disposed trans- 90 '-o ,t chanii'- versely 1Aith respect to the balanced frame and projects an appropriate distance from the Sections 7 and also the section 8 of said frame. Arranged adjacent the section @ as well as being spa-ed therefrom and secured there- 9,5 11,lith is a skel@,toii support conformiii0l' :m in contour to the shape of the forivard portion@ of said seefion 7. Tl-ie skeleton support is indicated at 25. The forward end o the stipport f 100 25 is secured to the channel iron 24. The

[2]

2 i,837,906 2 skeletoii support 5 in,-Iudes a top bar 27 having t-he f orivard portiou thereof downwardly iiielined as at 28) a bottom bar 29 and a rear bar 30. The high part of @he 'Lop bar 27 of the s@Lipi:)oi-t, 2,--, bas a clepencliiig 'beai.-ino- 'l. lou,,ted LPon the hizh -oart of th-- b-,tr 27 of the support 25 and also upoia the bars 11 are bearin@:)-s 32 33 31 and 35. S6e Figure 3. '-rl-ie purpose oi: ie oearings 32 to 35 will be 10 presentl3T referred to. C)Pposing and spaced frorn the, lower bar of section 8 ,s a suppor'L ng bar 26 which has its foriiard end connected to the channel iron 24. The angle iron 19 is secured to the frame 15 25 and to the rear end of supportiiag bar 26. The statioiiary frame 5 includes a paii- of side bars 36, 'Di arranged in oriposed spaced -relation, a short bar 38 opposing and spaced froiii the rear of the bar 36, a connectiiig bar @20 39 between the forw,,trd end of the bar 38 and the rear por'-@ion of the bar 36, a rear bar 40 coniaecting the rear ends of the bars 36, 37 and 38 tolo,,e'-her and a front bar 41 coniiectiiig the forwa-rcl ends oi the bars 36 3'7 to-'ether. 25 The bar 36 is spaced above the supporting bar 26 and the bar 38 is spaced fron-i the sec3 tion 8 of the balanced fran-ile. The bar 9 is arra-,igect rearnvqrdly o-l' the bar 27 and the axle 4 extends through the bars 36 and 38 and into the b,,tr 37. . Bearings 4:9. are carried by the,bar 36 for the axle 4. The rear wheel 2 is positioneCL between the bars 36 and 3i. Carried by a turn wheel 41', shiftably inounted in the forward portion of the frame 35 5 aiid depe-iic[ing tlierefrom are haiigers 42 ided i prov -,i-,h bearinos 43. The for-,vtrd axle of the i-iiachiiie is indicated at 44 aiild which is inoutnted in the be,,trings 43. TI-ie front wile-el 3 is cari,ied by the axle 44. De40 pending Trom the forward portion of the fran-ie 5 -Ls a step 4:5. Securecl to the for.ward poi-tioii ofthe fraiiie 5 is -,ii upstancling sLipDoi-tin- strue'uure 46 provided -wit'l,.i bear1--Ligs 47 for a sliift 48 clisposed tl,ansversely 45 with respect to the fraine 5 and carrying a worm gear 49 aiid a disc 50 f ormed - @villh racli,-.Ily d-)'-sposed pins 5-IL. The disc 50 is arranged inwardly with respect to the bar 36 of the fm, iiie 5. The @,vorm -,;ear 49 is ar50 r anged ,tbove in,-l in a positio@-,i betiieeii the bars 36, 37 of 'he 'rame 5. Mounted - Lipoii 'Llhe L top of the strue'Lure 46 are spaced, ups,-andi-r.g supports 52, 53, provided at their uppe-, e.-ids with beg@@-in(ys 54 Tor a sliaft '5 provicled with a w6riti 56 @vhich meshes Nvith the pli-iion 49. The shaft 55 projects forwardly with respect tothe structure 46 ,tnd is ii,.olinted in a vertical support 57. The shi'Lt 55 at its for-ward eiid e',)vr-Les a ttirn wheel 58. The worm 60 pinion '9 and o-ear 56, in connection -with the sh,,tft @,8 is provided for rotating the disc 50 for ,). p-Lirpose to be presen,@ly refe,--red to. Secured to the ch.,tnnel iron 24 is the stationary clitter bar 59 of a cut'Ler device and the latter inclucles a reciprocatory bar 60 slidably inoun4-od in @he bar 49 and exte nded at one end 'ateral@ly -vvitil respect to the outer se,,t:Loii 8 of the balanced -Lrame. See Figure i. The b-,L,- 60 carries a pin 61, to which is ettac'tie,@', a piciiian 62 pivo@Lally attached to 70 a 63 ecceil,zl-rically col,nected to ,t rotat-.ble ciise 64 carried by a shaft 65. The sliaft 65 is mouii'Led in bear;lngs 66, 6'@ respectively, ctrried by the chaiinel iron 24 and a bar 24' conlie,,@tecl to -Llle bar 10 of section 8 and to the bar 26. The shaft 65 carri,-s a o-ear 68, which itieshes ",i-Lli a gear 69 carr-;,e-,L by a shaft '(0 supported f-iiojii a 'Lraiiie '@l a.-iid c[riveii by a gear aiid chain coiiiiectioli '@2 opoi@ated froiii t siiaf-'u- ii-3 journa'Lecl iii the 80 fra-i'@le 7i cotip'.ed "-o ,, driviiig sh@J-L -"4 operated 'vorli a 11,10tor 75. L The Tr-,ine 71 is secur,-O, 'Llo the top of the see'LIoll 8 of the balarLc,,eCi by spaced coup-@ing iiie-u-ibers 71'. ',@,!,e 1. The sr, fraiiie '(1 is. iiioun-l-lecl suppozcs i ? cai:ried !oy 'Lhe bar 26. The sl-iaft carp-Les a bevelecl gear @6 -,@,rhich r@ieshes A-ith and CL,@ives a beveled gc-,ar 7T secvlj!ecl to the ou'Uer encl of a diive shafo 78 for a series of 'u-hrasher el--- 5o iiients. The shai"L. "t-S is inou-r-itecl in a beariii- 78 caiticd by t'llie :'raiiie '[1 ,tnd also extep-cls tlirougli tiie bea-.@.'I-,-@Igs 3'o, 'Dzi-, 'o3 and 'D2, sec, Figure 'o, anC, licts its o-Lher end prov-Lded ivith Li sprooke'u ge,@l--,, 80 arranged exte@.@iorly 05 of the 'Dearing 32. si,la-i"'@,- 78 bet-,v@-eii @L"ii, beai@ings 35 aiid i'9 carries ,i cirivii- puile3, 81 for t tN-.,,isted trLisii,.issiop- belit 82--r-or t puri,)cso to be presen-@vly referred to. See F-"L,,Lire 1. ct Ei xte@-o cling forwar 'ly frorn the support 25 ani the sect-ton 8 of the balarcecl fraiiie ar-I ariiis 83, 84 foi- i-ota tably suppo@,,t,,-ig the operating shaf'L 85 of a raker elel-nent 86 whicii @.s 4 1 n the f orm of a slatted druill. The ral-,er eie- 105 ineiit is placed a subs'Llantiil distance ibove the cu'uter device. See Figure 2. V@itli reference to Fiaures 3 and 4 the tliraslier or beater eleiiients are iii i-@he 'Loi-iii of slo-'Uted cyliiiclers prov-ldecl with spaced 110 roivs of radiall,-@, disposed teeth. -,@s illustrated three tlirasher eler@ieii'Ls are showii, iiiCticated at 87 aiict arranged iii spacecl, endwise opposed irrancement. Oiie of tlie 'h n L, i-,,tsber ;,s pos-t'or@eci I I sections 8 and 9 of the fra-.lie 6, aiiother betweeit sections 9 aiid 7 ol' 'Uhe f r-.me 6 and the o'uher between sectio;i 7 of the fraine 6 ar@d su,,)porlu- 25. @-i,ran(yed -,'jelo-j7 aiicl opposi--ig each end of eacli thrasher element is I o-rat-,i- 120 member of coiic,,i-,,e cross secIL-'Ion. "i@:ach grater member is space(! througliolit froin its associated thrasher cylinder. E4 ach a'@ its i-eai@, I'@@iids luo ,L point, .lg A, j4 th haTi s t i 8 -111,-,icl thei,, cl,@-,- 125 pends dowiavNardi-Y in a ver'Llical pla-lie to a point ii-i close proximitv to the f or-warcl oilower end of ,t st@aw conveyor lu-o be preseiitly refer-r-ed to. Tlle front oL each eratei- inember is positior@ed forwardl@.y of the shaft 18 12D

[3]

a.nd arranged belo-w the rear or uppereiicl of a front coni,eyor whi-lh leads upwardly to a, er -will be thr shing cylind and such conveyor pres,-ntly referred to. E ch o'L said meinbers , a is inclictted at 88, formed with openings 89 a-Tid pins 90 wh@ch are disposed betnveen the pi]-is of the thr@asher elements. Oiie of the concave graters is interposed betweeil the sec'Uion, 8 and 9 of the frame 6, anotl-ier between ' ,I-ie sect] oiis 9 and 7 of the fraiiie 6 and the other betweeii the section 7 of the frame 6 secured in position. Arrapged below and commoyi to the (yraters 88 is t collecting i5 @rou(yh 9'-, aiid operating ii, the latter is a. LI tn spiral conveyor 92, carried by a shaft 93 whicli Is jouriialed in ti-ie encls of th troiigh 91, e proj ects,.it one erd fron-i one of th,- --n-,Is of the trollgh and carries a sprocket gear 94 oii its "O -,)rojectiiio- end. The ti-oiigh 91 projects beyoii@, the sectiop- 8 of f raine 5. The shE, ft 93 has seciired lu-1-icrel@-o, within the trough 91 at oiie end thereof. a drive I)ulley 95 for -,in end]eSSC,-),- IVe.)Tortobe,,)rcseiitlyrefel-redto. The pui'-Iey is arr,,iiiged acljaceiit oiie end of tl-ie spii-al ConITeyor 92. See Fig-Lire 3. The coiive--or 92 provides for conveyii-ig the grain 'uo 'Uhat end o'L the 'Urotigh in i@-hich is arrtn-ed the I)ullev 95. The !Zraters 88 a,re positio@ed @L s@i]3sta@tia'l distance belio!V iiid fr om the re,ar sicles of the thrisher elements 87 and e@,tch oi' iviiieh ii-iclucles a re,,irward extens;- on 96 termliiatiii-- in a depending vertically disI )OSedporti-on97,ictino,-,@sastoD. SeeFigtire 4. Extei-iding rear-wardly f-rom ea ch grater 8,8 a--,id a'u an up-ward inclination is aii endless Tor-,,-,qrcl eiid. ai-rai-igecl below the dependinu, I)ortio,.i 97. 'The conveyors 98 are employed ,@O Tor carryiiig off the straw. Ar2anged rear7 wai-eL'i.v of the thrasher elemen'Lls 9,7 ancl, above and re,-,rNll,-LrC!ly of- the exl-,ensions 96, as v,,ell as 011'er the fornvard port-'.on oL the co,,iveyors 98 ,,re ro'L,,itable strawsli,.fting iiaembers or ,@5 e,!-emeiits 99 for forein'). the straw, as it leaves ',3'iie thrashing e,en-ie--,-.'us O)Ter the extensions 0 element 86 aiid is conducted to the thrasher -lements -and graters by the conveyors or raddles -104 where it is acted tipo-n and the grain passes into tl-i@e trougli 86 aild the straw upon the conveyors 98. The trough 91 is,-170 constructed in a manner so that it can be positi ned bet-ween the sections of the frame 0 6 aiid also b&,,ween one of the sections of the f rame 6 and the support 25. Secured @Lo the frame 6 and also to the support 25 are standards 105 ivhich extend ab6ve iiec'ued together at their upper ends by cross pieces 106. The standards 105 and cross pieces 106 provide a supporting sti-- tictu@e for@ 80 ,t hood or cover 107 lvhich is positioned over thethr.-@shereleiiieii' gr te.-saiid L s @ l p . 1 the onv eyors 98. Tli,(- cover 107 is form6d C with an up-"Tardly extending portion 108 to provicle a clearaiiee for the operat i.on of the - 85 stra-w shiftino, elements or n-iembers 99. The, cover 107 has a rearward e:-,@tensioii 109 carr3riig haneers 1 10 Traveling o-,,er the pulley 95 is the lo-wer end of a rear-wardly exteiidino, and tip-wardly7.90 in,-@lilied endless conveyor,lll -which traltels Lhroiioli cl a osed chu@ue 112 haviiig its rear or tipper end formed ivith a laterally disposed cle,@)ending spout 113 for discharging tl-ie grain tl-iercfrom into ai-i inta-ke funnel 1 14 95 Nvhich opens into It blo'Wer or f an chamber 115. Tliefaninthechalnberll5isindicated a@t 116. The, f n 116 is operated from the a belt 82@ See Figure 1. Operated from the sprocket wheel 80 onthe sliaft 78 is a drive connection for the Co.- IlTeVor 98 h,,tving its lower eiid, which is its. shafts 85, 93, 100@ 117 and 118. The shaft 85 and 'uhe support 25. The graters are fixedly said frame G. The standards 105 are concarries a sprocket geqr 120. TI-ie sliaft 117 carries a sprocket inion 121. The shaft 93 p carries the sproclcet pii-iioil 94. The shaft 118 carries a sprocket -pinion 122 and the shaft 100 a sprocket gear 123 and a sprocket pinion 124. See Figul-e 5 ' The shaft 117 is employed for operatii-ig the conveyors 104. The shaft 118 is employed for operating the con- - I 10 veyors 98 and the shaft 100 is el-iiployed ior ,j6 at-id oiito the coiiveyors 9.8. A cominon operatin2 @ the strtw shiftino- elei,,ients o,.7 meiiisliq'Lt foi@ oi)eratii-ig tl-ie eleiuents G9 is ineli- bers 99. -Extendino- fromznthe sprocket gear cate,-! at 100. See Fig7Lire 4. The collecting 80 to the, sptoel.-,et aear 123 is a drive chaiii 115 5c) 91, ivi'uh reference to Fi(-ure 4, is 125. Traveling Pr@i-ind the sprocli:et pin@@Oll foriii7e, d of t,. semi-eire-Lilar lo'Wler portibn 101 124, sprocket gear 120, over sproc'ket pinion aiid a fia..i,in- upl)er port-ion and with the 121 ,,i-id - @'2ouiid sprockel o"ear 94 -is i, n h- e' f less (.Iri@,,e 126. See Fi ure 5. Ou the ol@,er,,i-cion froilt Of t e latt r, i dicated at 102 0 se o al of the sliaft 78, the thr-,tsher clemeiits, s-I)ii-al 120 he-(,,I-iu @@ncl cross eti n ledgth tliaii tl-ie "5 re of the iip@i)er p a- - ortion as indicatecl at @103. coiivevor 92@ st"")@Nv silipui-lig 9, The re,,ir 6f @ulie upper -Dortion 103 is extended I conve yors 98 and 104 will be simi,it@ilieolis-t-@, to the Lipi,)er or relr e@d of tlie, conieyors -"t78,tjie T fl T'-,Ii-- coiiveyor 92 ope.-ates in the lower portion 'IO' of t@ conveyor 111 will be operatecl froiii the pul,ie trough 91. Extendiiig rear-wardly froin the cutter de- ley 95. The hangei-s 110 carry a shn,ft 119 125 i7ice@,Ltt an -Lip)iard inclination.to a, point. iii l)rovid.-d with plilleys 127 for the u-.@)per or close proxiinity to the thrasher elements ancl iear ends of the conveyors 98. TI-ie chtite graters qre ei-idless conveyors 104. See Fig- 112 is supported from an upstanding frlime ,ti-id 4. The m,,iteri-al to be thrashed is -t9,8 carried by tl-ie rear end of frame 6. The 013 ral s pports a bin or hopper 129 for 130 @@ecl tipon ti-ie conneyors @104 by the rake-r fran-ie 128 u

Как компенсировать расходы
на инновационную разработку
Похожие патенты