заявка
№ US 0001724847
МПК B21L9/00

Номер заявки
2026279
Дата подачи заявки
27.04.1925
Опубликовано
13.08.1929
Страна
US
Как управлять
интеллектуальной собственностью
Чертежи 
7
Реферат

Формула изобретения

claim is: @ 1. In a, machine for making chain from a sti-ip of sheet metal each linlc of the chain having side bars, a relatii,ely small end bar, and a relatively large end bar or en'd hook 50 constituted by a Igi[IO, narrow lip and a short, Ivide lip, means for feedino, the strip forwardly, means foi. iiii@artii7g lines. of score to the strip to completely outline the blank for each link, means for severing the metal 55 alongr the scored lines at the center of the blank and for crira-Ding said metal to defin.e an en4 of the lon,@ lip of said large end bar or end hook,, means for severing the metal an additional amount alonu said 60 scored lines to define said lonc, lip a@Ijacent its crimped end and for simultaneously shaping the short, wide lil@ of said large eiid fin bar or end hook to al form, meniis for sevei-iiig -the blank from the strip alono@ the 65 scored lines defining the ends of the blank and 'Lor shaping said large end bar or end hook for its rolling operation, ancl means for finally rolling said large end bar or end ho6k to cii@cular form, all of the fori-aing, severing and assembling means having for- 70 ward in6vement Iv@litli tlle strip of metal. 2. In a machine for makincy chlin from a sti,ip of sheet m-,-ta.1, each link of the chain h,,tving side bars, ,t relativel.y small end bar coiist;-t-Lited by a sliort, nai-roiv lip and a 75 sliort, -vN7ide lip, and a relativelly lar(,Ye enci bai- or end hook constituted b a long, nary row lip and a sliort, wide lip, means for feeding the strip forivardly, means for imp4rtin, lines of score to the sti@ip to com- 80 pletely outline, the blank for each linl@:, nieans -' r severiiig the, metal along the scored lines 10 tt the center of the blft-,ik and f or crimpil@ig said iiietal to dp-fine an end of the loiag lip of said lar(,@e end bar or hook and to de- 85 n fiiie the sliort, nai-ronv lip of saicl small end bar, means for severing the metal Ln additional amol-int aloiig said scored lines to clefine said loiig lip adjacent its crimped encl a'nd for simtilt,,tneously shapiiig the sliort, 90 wide lip of said large end bar or encl hook to final form and for simultaneously sha-pi-ng 'Lhe short, ivide lip of the sm,-)ll end bar of an adjacelit follo-wing link to final form, ineins for severing the bl,,tnk from the sti-ip 95 alono- the scored lines defining the ends of tlle tltnk and for sl-itping said . lqrge encl bar or end liook for its i-ollino, operation, I said ast mentioned means beinz tdal)ted to shape said preceding small end b ar io final loo etirvilinear form, and mealls for ally rollino- said laro-e end bar or end hoo to eircular form about a small end bar of ,t sueceediiig link, all of the @form-Lnlr, severing ind assernblii-ig ineans having forward move- lo5 inent ivith t-lie strip of metal. 3. In a machine for makino, cbain from @n a strip of metal, ine,@ins for feeding the strip, ivoi-l,,inu elen-ient-, for sticeessiiely operatin-o@ upon the strip conctirrently witli the feed- 110 ing thereof to transj'orm the.strip into coniieefed chain links and means for sizin said 9 linl7,s. 4. In 'a machiiie for making chain from a strip of metal, means for feedin- the strip, 115 AllorIKing elenients for successively operatin(Y upon the strip concurrently with the feedin(,r tliereof to transforin the strip itqto connected chain links, and means movino, with the strip and links for forming eac-h link 120 to a predetermined size. 5. In a macliine for i-n@king chain from a strip of metal, inei-ns for feeding the strip, ivorking elements for operating upon the stril) concui,rently with the feeding thereof, 125 saict ivorking elements havinu foi@ward motion v),ith tl-ie strip of met.,,tl, ancl means having Tor-Nvard motion with the strip for stretching eael-i link of the chain produced u to a redetermined size. 130 p p

1,724,847 6. In t micliine for -niakin,,, clia@n froiii' It strip of metal, n-icaiis for feeding the sti@ip forwardly, i-otatable workiiiu elements for operatinu upon tlie strip Avliile in motion to transform the @ame ;Iiito chtin links, s,,iid working elements nioving foi@Ava-rdly with the strip, and means h,,ivin(y forward niozn tion ivith the strip for formin(T each lilik of the cha;.n to ,i predetermined size. 10 7. In combination with iiicans for transforming a strip of n-ietal i_nto connected cliain links, a sizer adapted to stretch eacli link up to i)redeteri-ained size, inelticliiig ,t sprocket ivheel, i-neaiis for drivin(r said 15 sprocket Wlieel, a presser plate ad4jacelit said sprocket wheel and adapted to cause connected chain links to be forced witli pi@esstire upon said sprocket - "7heel, and a stripper for removino, tl-ie links from said sprocket 20 iv, heel. 8. In a n-i,,ichine for making t chain link fron-i a. section of sheet metal, a lililc havin.(, side bars, a, relatii,el@, sinall end bar of cui-viline,qr confoi@mation aiid consistin- of 25 i. short, vvide lip ancl ,L short, nai,row lip, and a i-elatively lar(,e eiid bar or end hook constiti-ited by a lono- nai-i@oav lip ,ind a shoi-t ivide lip, means foi@@eedino, thel section for' ivai-dly, meaiis for iinpa@@@ting lines of score 30 to the section to completelv outline the blank, means for severir,-,ff the metal alont), the scored lines at the center of th(@ blanl@ d@fining the lon(,, nari-o-Nv lip of the large elid bar or end hook of the blank a,,qd for 35 criiiipino- the ei-id of said lono-, nai-i-oav lip, iiieans for seveiiag the, blank fi-om the section alon- the scoi-e(i lines defininothe ends of the blanli: and for criinpiiig the short, ivide, lip of t,lie larye end bar or end hool@ ,10 and foi- sliapinc, said laro@e end bar or end liool@-, for its rolling operation, and i-neans for finally rolling .aid larc-e end bar or end hook to circular f orm, all of the forming, severin-, and assembliiig means having for45 ivard moi,ement ivltl-i the section of metal. 9. In ,t machine, for makinu ch.-tin from a. strip of metal, nieans for feedi.Ar the strip oppositely disposed working @ clellients' adapted to lilove toi-varcl. into and for50 wardly ivith the @Lrip io transform the saiiie into ,t partially completed link, ot,her oppositely disposed worl,:ing elements adapted to inolte toavard and into and forwardly witli the sti-ip to sever the partially 55 completed link from the strip and to perform shaping operations iipon the partially conipleted linlc, nieans for feeding t-he severed linlc, oppositely disposed assemblin(yeleinents adapted to move toivard and@for60 wardly Niith the pai-ti,ally completed linlc t6 connect the same ii7ith a following partially formed link of the chain being n-iade, means for guidin(r the strip and severed linlcs @n t,lirou(yh the machine and means for forminc, e,-,cli Iiiik of the chain to a prcdetermined e5 ,@ize. 10, Iii a ii-i,,ichine fo,- making a chain link fi-oni a section of sheet n-ietal, the link liavin(@,- s;de bai-s, a relativeli, siiiall end bar of etirvilinear coi;forniatijn and consistino, 7o o'L a ,@hort, iiide lip and a short, nai-row li @ p @ a i,el,atively lar(,e end bal- or end hoolk constit,- Liled b@ a lo'n-, iiai-roav lip and a short ii,ide. lip, i-ieails foi- feeding ,-he section foriA,a,, dly, i-neans for impartin- lines of score, 75 to the see-L@ion to completely outline the blank, niea ns foi- severing the metal alon- tho scor ed lines at the center of the blank definid g the Ion-, narrow lip of the lai-ge end bar oi, end ho@l@ of the blailk and for crimp- 80 ing the end of said lon!:,@, narrow lip, means for severl'n(y th, e blank f r-on-i the section along the scored lines definin,, the ends of the blan k and for crimpiiig the shoi,t, wide lip of the large end bar or end hook and for 85 sliapi 4- said laroe end bar or end hoolc for its iollino- opera" t, tion, nicans for finally rollin@-)- -,aid laro-e enc'l bar or end hook to eircular foriii, all of the foi-i-nin,, sei,ei-in,(,,, and asse mbliiig iiieails liai,iii- f oravai-d movement go ii@itl i the section of metal, and iiieans havino, fora va@d moveiiient witli a, linl,: for foriiiing tb-. link to a pi-edetermined siz 11. In a iiiachine foi- m-,Icing sprocli:et chai n fi-om a strip of metal, each linl@: of the 95 chaiTi havino- a sinall el-irved end bai- at one end and a. hook at the otlier end, a, set of rotai -y dies adapted to act upon a portion of said strip to silii-Liltaneotisly perforin a shap in(, ol)ei-ation -Lipon the slijall end bar 100 of one link and the hook of in adjacent linlc. 12. In a iiiachine for making sprocket chai n froin a strip of metal, each link of the cliai n liavln,- a. small ctirved end bar at one 105 end and a hook it the other end, a set of iotary dies adapted to act. upon a portion of said strip to simultaneolisly perform a shap iao- operation upon the small end bar of one fii-ik -.nd the hook of @an adjacent link 110 ind a second set of rotary dies ada-pted to seve r the two links between said end bar and hook. 1 3. In ,t machine for making sprocket chai n froni a sti-ip of metal, eacli link of 115 the cliain liavino, a small curved end bar at oTie end and a @ook at the, other end, a, set of rot,ary dies adapted to act upon a, portion of said strip to simultaneously perfcrm a shap ing operation upon the small end bar of 120 one link -and the hook of an adjacent link, a second set of rotary dies adapted to sever the two liriks between said end bar and liook ,, and to perform a further shaping operati on -Lipon said end bar and hook. 125 1 4. In a machine for makino, sprocket cliai n froiii a strip of metal, wto!'rlrin g elements disposed on opposite sides of the strip

1,724,847 qnd adaptecl to eng'age therewitl-i, at least 'means for feedincr t-lie, strip tl-irough the soiiie of sai-d elements haviiig means to perop@ f orm link-f ormin(y rations on said strip other eleme-ts h,,tvin,(,y nicans to connect the formed Iii-@l@.s into a chain, means to implllrt motiop- to all of said elements lengt,hwise of the str;-p during said operations, and a sizing element adapted to eno-aoe Iiiiks of the ch,,iiii ancl f oriii tllem to a predeteriiiined 10 size. 15. Ii a iii,,ichine for converting a strip of metal iiito a ch-,iin each linl@ of which coiliprises -a hook it one end and an end bar at the o'Lliel' end, the, hook on one link 15 receiviiig thc, eiid bar on the adjacent link, m,,tclllne, ineans i-7or forminff a, linl@ from the strip iiith the hool@. open alid with the open' part thereof f acing in the direction from whicli tl-ie strip is being fed, a rotating 20 die. adapted to fold s-,ticl hook over the end bar of thc- f ollowing link, and a sizing element adftptc-,d to en(yao-e linl@s of the chain zn zn and form them to a predetermined size. Signed at Bridgeport, in the county of 2.5 F,%ii-field, and State of Counecticut, this 31 day 6f March A. D. 1925. SYLVANUS D. LOCKE. CHARLESPARKER.

Описание

[1]

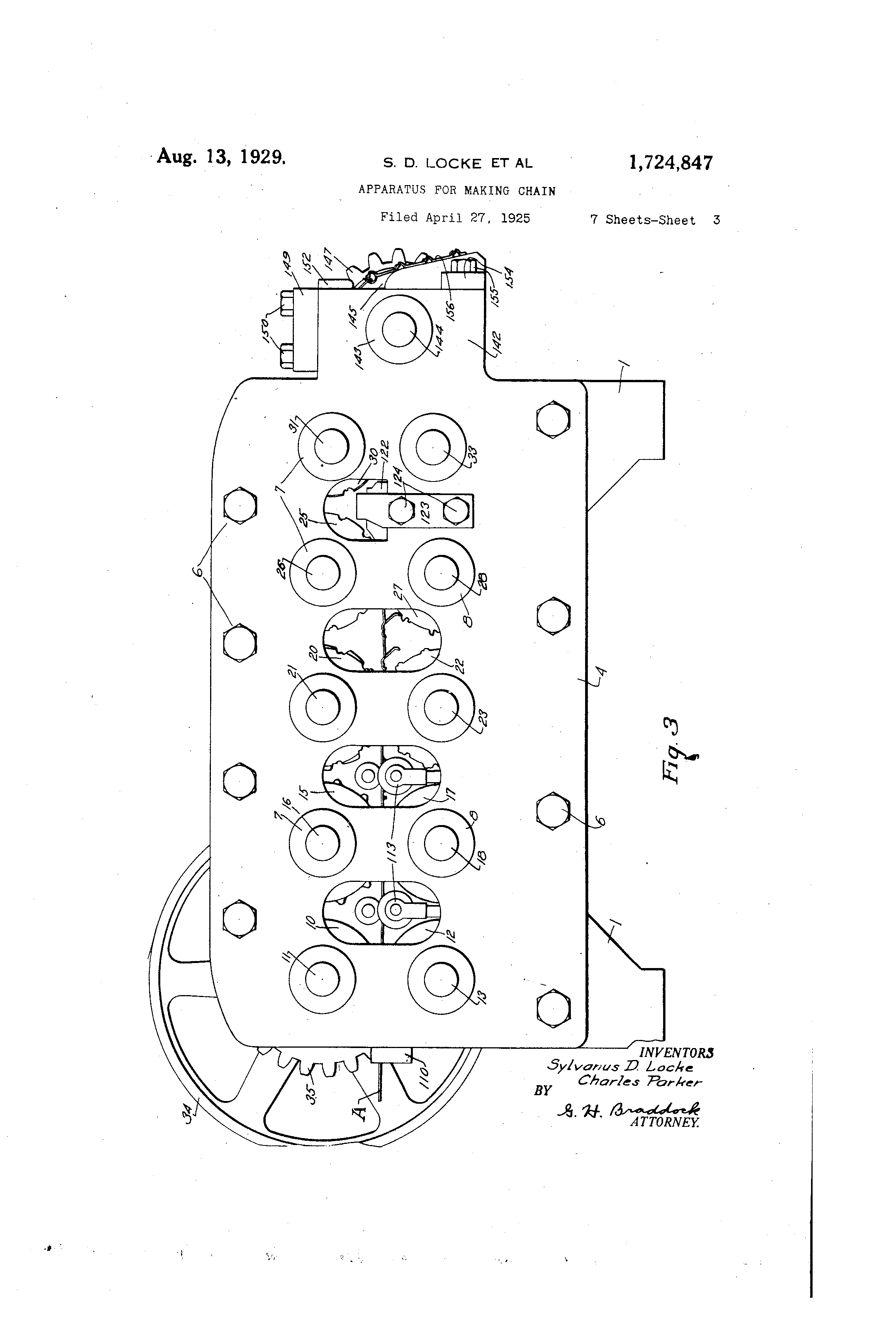
Paterited Aug. 13, 1929. 197249847 UNITED STATES PATENT OFFICE, SYLVANUS D. LOCKE AND CHARLES PARKT@;R, OF BRIDGEPORT ' CONNECTICUT, ASSIGNORS TO THE LOCKE STEEL CHAIN C016PANY, OF BRIDGEPORT, CONNECTICUT, A CORPORATIO-N OF CONNECTICUT. APPARATUS FOR IIIAKING CHAIN. Application filed April 27,1925. Serial li'o. 26,279. This -'Ln-,7eiition i-eltls 'L-o an appai-,,Lttl@s @Ol@ ancl a process of nial@;ln(ly ellain linl@s and assenibli.ng the saiiie, iiicl has iroi-e especi,,tl refei,en@@ to an appai@attis Lncl a pi@ocesq for ol@,ei-atiiio@ ui)oii a strip of metal illllile tlle saiiie is continuously fed to t3@aisfo-i-m tl,.e stril) into coiiiiectecl cliain links. Th;ls ,tp-ovemeiit plicat-'on re'l,@i,tes to ,p iiiii)l upon the sub-ect ir!at4l-ei, claimeel in tie cope-.idi-ng 10 application of Charles Parl,:er, Serial No. Chain linl@s haie been To,.mecl and a@@sQii,-iblecl 13)T IltiliZ,9 'OIIS ,tion of V'al'-l eo,-@lloillltioas of die@, (iiiostly reciproca@Loi@,,@ ilid s"L,-,ti,--nary 15 d-les) designe@i to move relati.v,,@Iv to eaf@ii otlier, bu@t, so far is ive are qi,,,-are, eba-",a I.Iiiks liave n(,,'- ll,-i-etofo,.-e beeli fornied an(! ass,-mu@ bled by Litilization of dies tl)e vvoricinp, eleinents of ivlilch have fol-iv,,tl'cl illol,-'101-i 20 q, -@trip of mctal, in addi-tion @lo 1-f-@O'Llons necessary to ae I complisli trans-Coi@mition o@@@l-' the strip i-Tilo connectec, chain links. It is an im]@ortant obie,,t of thi's invotition to provide an ai)i)ar-- 11 tus 'or ancl a p,,-o-3- 25 eSS Of-@ SL@CCCSSli,ely trap-sl'orjrili,,r strip metal into conn-,eted cha;.-Ti 1-iiil@s wliere;.n 4,-he o,)era.-ioi)s Liroii the sti-lp ai,e i@el-.o--rormeeL ciii.@i-ently Y@7ith the feedin!2: tlieveo-f, ivhoi-eby pi-editetioji o@-" cliai.-) caii be, i,@io-e r,,tplct. ii-iil)oi-tant object of the i@,i'IO It i-s a furl-lier veiit-lon to pi-oi,ide En apparatus for ai)cl a process of mal@ir@g chain wliere-ir. tlic,, -v@oi-kiiig haa,e forivar-,l iitotio.] N,@'ith a strip of ii-ietal, is -Nvell as thei-iiotions iieces33 sarv to ti-ansform the stril) i-nto co--.inected chain linl@s. Anotlier iiiiportant object of the -ii-iventio,.i is to pi-oi,ide an apparatus f,),- anci a process of ii-tal@in- chaip- linl@s which contei-ni)lcite 40 the, employi-nent of a pl-Lirality o'L d;ffei.,ent sets of v@-or' ing elemei-its adil)tc-c! to pei-foriii l@ step by step oi)erations iipon ri-Letal stocl;: to t,l,.ins loi@iii the @,ame into Iiiil,-s cone-Lirrentl y IV,_th 'Ile, feedi-.il@,y of. the stoclc p,,,,;t sai-d dif45 T--ere,.it sets of ivorkitig elen-ients. Ar,otlier irliportant object of the iiii,ention is to provide an al)paratus for ,tnd a i)roeess of n-iaking ehain wherein the diiterent foriiiiia(r elements are c,,trriecl by separite 50 presstire proclucin(r elements to redtice the load on the pressui-e proclucin- eleinents ancl ,greatly r@?dt,.ce their size. -AII041her imp,)rtant ot@ieel of the ini-eiition @S to pl'ovide aii ipparat-Lis for an@t a pi!ocess of -.i-ial@iiig eliaiii ivlierein 'Llie prelliiiinary 55 slieat@iii@,r aiid fol@ii-iii-i- ol)ei-atioiis q,,-e s'co' 'I ' @' i per@ioifi@ed ljy Al'oi,!Tiiig elements iili@.ch move tini.-@oriilly and gradually to-Nvird aiicl into tli- stoclc, in-hereby the Nyol@k in each operaticn -is dope gi-adiially and with li@utle i-,ves- 60 sure instead of at once and by heavy pi,essuie, a@-, ivitli flat i@eciprocatipg (lies. Anotlier important object. of the inveiiti-on is to provide an al)rai-atus for clipii-i and assen-ibliiig tlien-i ivhei@el'.n no fee(t 65 meel ianis.,i:i other th,,i,n the woilcin@, eleri'leiits or clies themselvcs is requii@ed, whereby ivas'le tt the encls of 'Llie coils is gi,eatly redticect, said elements and eties being cap,,tble of aecoun tlE.!4 for the fee(-,IiD(, of tl-ie n-ietil strip, 70 as Nvell as for the @-eeNin(, of tlie f-inisle(:I, cliai n oiit of the machine, and the feeding@ Of tl'O sevei'eCL links b-Itween the strip an@l chai n. Aia other iirt)ort,,tnt ol)ject of tl-ie inveiition 75 is to 1)ro@,-ide an apl)aratus of the character h,reiiibefore stated, includi-rg m.echanism for @naliin(Y cliain linlcs and as7,eink)ling theii-,, ind also iticliidin(r mecha-ylism T-or stretchiii,- s,,iid linl@s wlieii made up to a predeternllned 50 size. An d a further important object of the inventi oi-i is to provide a novel iiiech@inism and ai,ra n-ement for ilisurinff 't'llat the sti,ij) i-netal ivill ali(,n with tiae ivorl,--i-Dg el.eme,.its ol@ 85 the inachine. Otl ier objects and advanta(-es ivill become apra rent from the drawin-s incl description of constriietion and operatio-i of a mael.iiie embodying tille i-ivention - herein go sele ctecl for the ptirpose of illustration. Fi(, . I is a sectional vie-vv, on line 1-1 in Fit-1. 5, of -t r@i.,tchine illustratin(y one way of cqrryin(-,. out the invention, the improvecl zn ii,(@,orporated in the iiit- ()5 clii,ie, and a ])art of the sizer or stretchin(r inecl iinisin bein(, oinitted; Fi @@@. 9- is a sectional iiew on li-ne 2-2 in Fig. 1, de'(Iailin- features of tha drive side of the machine; 100 Fig . 3 is an elev,,itional ITieiv of the in,,ichin e of Fig. 1, look-'@ncr at the side tliereof opl) osite the drive side; Fig. 4 is a Ion-itucl.l.-ial sectional oti li,-,e 4-4 iii Fll-. 5 105 Fi-. 5 -Ls an eid )-iev; o@f@ the rtiqcliiliel

[2]

2 1,724,847 Fir,. 6 is an onlai-ued fragmeiitary vertical sectibnal vi-ew detailin(- the first set of rolls; Fi-. '( is -.t top plan view of tl-ie bottom t) roll of Fig. 6; Fig. 8 is an enlaro'ed frao-meiitiry iertical section,,tl viey,7 detailing the secoiid set of rolls; Fi,g. 8@l ;Is v sectioi-,al vi-liv on li-ne 8-8a 10 in Fig. S; Fip,. 9 is an enlarged fragiiientary elevatiodal cl,-,tailiiig the third set of rolls; Fig. 1-0 is ,,,n elevatioiial vieiv corresT)oi-iclir.!@ -wi-h the shoivin- of Fi(T. 9, cliselosino, the 15 rolls of Lhe third set ro'u,,ttecl 'llo s'liglitly clif4lei-ent positic,,ns oi-i tl-ieir axes; Fig. ioa is a sectional vie-,v on line 10a@--10in Fig. 10; Fig. 101) is -,i sec'uioiial vienv corresp iiioOll'i 20 witli the shoiving ol Fip,. 10a, btit di-sC]O.Iing the i-olls ro@,,qted to s'uill a difi'ei-ent positioii o-n their axes; Fi-. 11 is a-a enlar(yed frao-i--@ientary elea,atio n al iieiv det,,,ilirio,'i-,he foi-7rL@tli set of rolls, zn 25 di.selosin(y in section t@.e receiving "Uicle -@or the severed bl,,iiiks; Fig. 11',, is a sectional vie-w on line Ila--Jla in Fig. 11; Fi@):. 111, is a fra(yment,,try plati vieiv detail!.D. tile lovver roll of Fi@@. 11; 1-2 is ai-i enlarged fi@,@t-me-,itqry elev,,tvieiv cle gLiOn',Il tailin the fifl.-I-I set of rolls; Fig. 13 i-s a plan vieiv o-@' .i- strip of met,,).l in pi-ocess of formation into ch,-,iD, soiiie sev35 e-recl links@ and some formed ,tnd cotil')Ie(i li-nks beil'lg sho@vn; FI,Q,@. 14 is an ed @tal strii-, ge vieiv of the m, - I sev(,,red I.-iiks, an,-l cliain shoiin in Fi-. 13; Fi:g. 15 is I a det,,iil of niech,,inism I v,7he-reb-,7 egeli r(,tpt,,ible clic cl@n be acljustably f,,isteiiecl oi-i its ,ix;s, to be slightl-@,T tdx,anced or i-etardeci to synchronize Avith ihe oper,-,.tions performed by other rotatal)le elies Filg. 16 -is a detail of mechinisin for as-,i.st45 inix in the guididg of the strip; in(-! Fig. 17 -Ls a detail o-JL' the receiviiig o,uide for the severecl bltill@s. In the drawiiigs, I indicates the baq-e of the iiiachi-,qe 2 P. vertical upri Ivitll -ght intoo-i-al. 11 the base ap-d extencl.inc,r 'Llie lono-th thereof, 3 a hrrizontal@ e---,'Lc-nsion of 'Llhe ui-)pei@ I)ortion of thQ upright 2 lyiii,,y dii@ectly ,ibo-\,e the b-,se, --id 4 indicates a vert;cal '7Lil:)ri, ,,i glit. spaced from Li-.)rigl-it 2, (let, @ich,,ibly sectired to the 55 bas-- I ajici extension 3, --niii-iieral 5 (Fl'f@. r)) sugge@,tin- a ii-ia,-hine(I l@ey-ivay foi- accit,,@,,,tely loca't-li-T-io@ tl-ie iii)ri(yh'L-, 4. As sho-@,,7n, the base 1, 2, aiid exteiisions 3 ,ire constitu4L-ed @y a castiiil@, the -Liprigl-it 4 consistii-ig o' a difterent c-,-',sting boltecl as at 6 'o L the blqse -,nd exteiisions. The -Lii)ri!zhus oltheir eqiiivalen'Lls co-Lild be provided'in aD.y other siiit,,ible minncr. The niacliine ineltides op-,,)ositely disposecl, 65 T-or'V@l,,trdly driien i.@olls, ther'e beiiig an c-.pper oll ,tnd a loiver roll ior each opei!atioii, or @@egi-egated sellies o,,' ope,.@@itions, requi-red to prodtice chain, @tnd the rolls ar-- arrangecl so that al'i o'L the operations ivil'L synchi-onizp,. 7 1-@epresents uppei, i,oavs of b,,ishlD-gs in t,.Ie 70 -L,.priglits 2 and 4, respectilTel37, oi-ie io-Nv in each upricyht the correspoiidino, btisl-iii-igs in each roiv beino, ai-i,aiio@-d etirectly opposite e,.,ich otlier in 'he sai-iie horizont,,tl plane, ancl 8 re-i)reseiits lokyer i-onvs o-,2L I)usliin-,@s, one ro'@- V 75 i-ii @,icli Lipiiglit, coi@reFPolidi-.i(@, @-Lislii (y@; in 9 DLIS'l"-T,171 eich rolv be'iiig siir@ilarly ii-i-aiao-ed. The bushi.nq-s pro-,7ide bearin(Ys for the shafts of zn the rolls or rotatable clies. As shoi,7ti, there are five sets of rolls or ro- so tit,.tb'.e di-Is, one set for each opertition (or segregatect series of operations) to be perforiiiecl in the machine, ,lnd the upper rot,,,,t,al)le dies and loiver rotatible cli-es, i-espee't-,,ively, qi-e locatecl -@vitli i@esl)ect, to eaci-t other s5 to posi cloji in a single lioi,izoiita'i- 1)lai-te tl-ie i-viio'Le le-,nah of the strip metal aiid severc-cl I.iiihs bcinc,- operated upon. The ilpper ancl ',.oiver rotatable clies of @-, set h,,ive pi,oper rola"-ioii I-o best perforl-n their intended f tiiietioli. go It is to be uiiders'Loocl that ,t grepter or 'ess Du.-lii'cer of sets oL' d;,es caD be utilizecl ivithout departliig fi-oi-a the spir@.t of the inventioil. There ,s i, set OT rolls 6r ro- 95 tttab'le clies 9 foi@ the first oi)evatioi-L (or ies o'L so,,-rog ser ated operations@ in the maehiii-. iiieluding In utpper rot,-@table Oic 10 ITPO-ii'shaft 11 iii biisliino,s 7, aiicl a lo-wei, op])Osjtely clisposed rotat,,tble clie 12 Lipon shaft 100 i-3 in busliin,s S. These dies clueie i-n thei-r sti-@ucture the forming tc.-ols for (,,oii-iple'cely o,,i'ulini-n-- the individ-L,,al ii-iiks o-l' the chain'to be proclt,,cecl. The seconcl se' o'l roll.s 14- for the se-,Oncl 105 OPer,,ttioii (or series of seo@re(,ated ol)erations) , idelude oppositely dis@o@ed upper rotatable clie 1,@) Lipon shait 16 and lov@-e,.@ rotatable die 17 -Lipon sbaft 18. These dies I)referably include iii their strticttire the sov110 erincy ,inc, iorlil'liil"y tools for seveiiiig aiicl erim or f o,,:minol- the free elid of the cenor lorig lip of the I ti@al ol - I iuL- blaek +.o be e loyed in forin-iip-(,r the large ev-d. or ba-,, o-,v the li-n-li: tncl foi, seN,-ei,i.ng 115 sP"O Lnd crimiding or formli-ig the '@entr,,tl I)orti-on or nirro,@,v lip oT the small e@- icl P - itle of said li,@ -ik bar or i The thli-d set of rolls 19, for the 'chircl ope@-,ation (or series o'L segre(yated opera- 120 tions), ineltide oppositely d;.sposed -Lipp-Ir roi,table di-e 20 upon slittft 21 ,),ncl lo@ver rotatible die 22 Lipon shaf'u- 23. These di.os pi-eLerabi), iricILicle in t.1-ieir st@-uc'Lltire the seN,- ei-ipo- tnd formip-g tools for severit-i u t'@l e 125 body of said central portion or long lip of the link blanli: adjacent its severecl and ei-impecl or formed e-ncl., for thro-kving the short, -wide lip of the sproclizet bar o t e lilik upivtrclly ancl the seve,:ed lo-Ti a, ii,-, r 2: o i,, j;;o

[3]

1,724,847 3 lip t-@l-tereof downwardly, aio.d for simultaneously bending, forming, or shapiiig said sliort, ivide lip of the sprocket b,,tr to final fori-ii, -,Lnd the tliird set of dies also iliclude fornaing tools for beldin,,, forming, or sliapiii(Y the sliort, wide lip a-iid tlje short, narro-Nv lip of the sn-iall end b,,tr or pintle to final foi-m. The foui-tli set of rolls 24, for the fourth 10 operat'lon (oi- series of seuregated operatio--tis), include, oppositely disposed upper rotatabl@e die 25 iipon sliaft 26, ,ind lower ilotatable die 27 Lipo@.i shaft '-)8. These dies pieferablv inclu(.Ie in their structlire the sev15 eriii,,, and . forn-iing tools for severino, the link from the strip ,tnd for siinultaneously throii,ing the short, wide lip of the sprocl@et bar of the 1;,iik ftirtlier upwardly, and the loiio,, nairow iip tbei-eof fLirth6r dowiiward?I 20 ly, in order that the end hoolc will be iri its final formi@,i- and rtsseiiiblin- positioi-i n t7l 7 aiid the foiii-th set of dies als-o inclu(te foi@mino- tools foiopei-atln,- upon the wide lip cl ,,ind i-iai@i@ow lip of the small end bar or 25 p'ntle of the follow' eedin(-y link, in (.y o,,, s ii c c adjacent a severecl link, to finallv positi.on S- zn .3aid small end bar at de i@@.@ed @n,,Yle Niitli respect to the side b-,Lrs of said link. The last set of rolls 29, for the last op'O ei -ation (or series of seo-regatecl operations) to provide chaiii, include oppos:lte.',y disposed tipper rota't-able die 30 upon sliaft 31 and loiier rotatable die 32 upon shaft 33. These dies pre@lei-ably include in their strue35 ttire the final end hook shapiri(y and link n asseiiibling tools. The rotat,,tble dies may be clriven f orwardly iii any i-naniler, as by a belt pulley 34 fixed ,ipon th.-- shaft 11, the pulley rotat40 ing in tl,-,e directi.on of the arrow as indicated'l'n 'Lhe di,aii,- in(r. As slioinn, tlio rot,.ition of thp, dies is accomplished and synclironi.zecl by mea,-as of ,L tral-,i of -ears, 'Lhei-e being a gear 35 fixed upon the -.-liaft 11 and 45 meshino- with a gear 36 upon sllaft 18 to aet@ complis,h foi@ward feeclinc, of the first two sel@-S of rolls. Smaller oears 37, one n '-'Pon each shaft of the upper rota'@able dies, mesh with similar gears 38, one upon each shift 50 of the 'loi-ver rot. )'uable dies, in the inst,,ince of each set of rolls, to instire the proper relative rotatilig ai@i-an(remeiit of the dies of a s,-t. and the remaiiider of the gear train for drivino- th,-- rotatable dies i-ii,-ty be, as ;55 folloivs: The gear 36 rjieslies -witli a gear 39 upon the sliaft 21 of the upper die 20 to ,,otate the tli'rd set of rolls. The aear 39 ii-ieshes with a (year 40 i,,pon the shaft 28 of the die 27 to rctate the fourth set of 6( i,o'lls, thtis ro'L-atin(y, throtigh the small gears 37 and 38, the shaft 26 of tli-@ ul)per die 25. A geai, 41 upon this shaf t 26 meslies with a gear 42 upon the sh-ift 33 of- the lower die 32 --' of the !,,ist set of rolls, thus impartin(, movemeiit of rotation to the last set. The rotat,,tble dies can be fixed a-ainst loii-itudinal movement on the.ir axes (between the upi-i(yhts 2 and 4) in any sul,@able maniier, to instire that all of the i-otatable dies will be in alignir)cr relation, aiid - o the cl@.es can be adjustably fastened to their axes, to be -,tdvanced or retarded to synchronize the operttions upon the niachine, as by di-ivers 43 keyed upoll the shaf ts of the rotatable dies and havin(f extensions 44 75 supplying stops for adjustible set. scrc-.ws 45 in luos 46 ri(,id with the rotatable dies, the rotttable dies beiii- locked a-airst rotation upon the shafts by the erga,,emeet (f the set screws witli the extensions' 50 Each rot,,itable die contaitis a plurality of duplicate clilin forming elements, and the tools of the elements of the opposite dies of each set of rolls ai-e compleilients of etch other, there beino, as many elements 85 upon each lower die as there are elen-ients upon the Lipper die opposite it, and the elements of the upper die and loiver die of a set are correspondinaly arranged about the tn eirctimferences or peripheral margins of the 1)0 Ciles to cooperate with each other in per-iin(, the partictilar work to be perforii n formed. The word "element" as herein 'Lised ref ers to a tool (or series of tools) of a di-e to cooperate with a duplicate or comple- 95 Diental tool (or series of tools) of an oppositely arranged die in performina a working operation in the machine. 2!:, As b-,fore mentioned, the rearivard or first set of dies, to accomplish the first operation 100 (or series of se-reoated operations) in the ma chine, may include the formino, tools for co mpletely outlining the individutal links of the chain to be produced. 4 7 are scorin- lknives of the duplicate ele- I me nts arranged iipon the upper die 10 of the first set of rolls adaptecl to impart lines of score to the -Lipper surf ace of a strip of me tal, wbich lines are parallel in the direet@l on of the f eed of the strip. 48 is a scoring l@nife of each elen-ient of the upper die 10 adapted to impart lines of score at rig@htan oples to the lines imparted by the scoring kni ves 47, this scoring knife 48 beiiir situated not far f rom the forward ends of the 115 sco rin(r knives 47 to span the distance betw een-said kilives 41. 49 is a scorino, knife of the duplicate elements of the upper die 10 adapted to impart a transverse score to the strip of metal along tli.e line of severance 121) of two links which ai,e to acljoin each other.. 50 are scoring knives of the dtiplicate eleme nts upon the lower die 12 corresponding wit h the scoring knives 47 and arran-ed to impart lines of score to the under Cace of 12,I) the strip of metal, each of which lines is directly beneath a line of score imparted by one of the upper scoring, knives 47. 51 is t scorin(y knife of each eleinent of the lo-wer die 12, corresponding with the scoring 130

[4]

4 - 1,724,847 knives 48, to impart its lir-o' Of score directly beneath a li,.ie o-P score of a knife 48. 59is t scoring Imife of- 'ul-ie dLiplic,,L'to eleriaents of the lower elie 12 advpted to impart its line of score direc@uly boneath a li-,ie of score of a transverse l@iiife 49. 'Lhe seconcl set of dies, to accon-iplish tl-ie secoiid operation (or seri-@s of sear-,c,ated operations) may inel-Licle the Aioi-',i:ing tools for lo severiiig and er'-Tnpi-ng or formiiio- the free encl of the cen'Lral portion or lono- @ip of each I.-Ink blank to be employed in Yoriiiing the large end or sprocl@et bar oi t,l-ie Iiiilz, -,tnd for s-lvering f,,nd crimping or preliminar'-ilv 15 'Lormin(v the central portion or ntrrow Iiil,) of tl., su-iall encl bar or pintle of said linf@. 53 represciits each of the severin 9, crimp ing and foi-miiaoelements of the tipper die 15 of the second set of rolls, anci 54 repre20 SentS each o'L the complemeiiltal criiiil)ing and foriin-o- elei-@ierts of the lo-,v@@ clie 17 of said seconcrseu. The elemeii'Ls 53 and 54 ,ire esseri-ti@Llly for the ptirposes of breaking tl-irough the' metal on the lirles of 25 score n-iacle by the I-,nives 47, 50 Lnd 4S, 51@, of crimping or fori-yiing the @ree oncl of ti-io long,.nar.row lip o@' the sprocl-.et b,,tr, and of crimpin- or preliminarily forj,,aincr tiie narrow lip-of the small eiici I)ar or @)inti-e so a-,Ijacent s,-Licl lines of score 48, 51. As shown, each eleinent 53 iiieltides ,t severiiig and crimpi-.qg punch 55 h,,ivi,-iff a foriv,,trd, con,,aiTe, are shap-d crin-ipi--.ig,7 stirfac3 56, liz,,ttion of -,dclitioral,sets of tools 'Lo ,icco-nn-ierging in the cireiii-iaference of s,,ticl die 15, plis@h the ultini,,tte reF@-til'u -wit.h a 1)lllrilit-, s @@5 and dofniro, ,i transverse crim-:)in(- eclo-o 57; of ets insteaci of Nvit,h o-,ie set as sho-711; 100 a rear-@varcl, cone-@ve, substantially qii,,irter- that is, to have in the mlehine more th@n circle crimping surftc- 58, also nieraino- iii Live of li_nk -iormiii(T ancl assem-blirg 11 the 6ircumf-Irence o-L' s,,iid di_e 15, and clej'iiiol)erat;.ons as ilIListrated. Or, the Lilt;lm,-,'t,e ing t tra-nsverse crimidino- eclge 59; ,ind p-,trresult could be accon,-plishecl in a i--,Icliine 40 allel sicle faces 60, pe@pe-ncli.c-Lilar t6 the -,tx-Is havin(, less th,-Ln -five stations. tn 105 of 'uhe clie 15, defining spacecl apart, par,,tl- The thii-d set of dies, to accorii)lisli lel severi-ng ed(yes 61 perpei)-clicul,-Lr to the 'cl-iird opei--,Ltioii (or series o-L segre,ated opcrirnpir,g edge, 57, 59. Eacli element 54 is eratioiis), i-o-,,iy i,ncli-ide the -worl@- Lii(ly tocl,,,@ constit-u..t,ed by a depression 62 i.ii the pe-fi h- -Pfoi- severiiig the body ,f the cen'Lli@aL l@-ortio'-l p i ,1.5 er,,tl face o'L ilie clie 17 to 1--eceive the seyer- or loii" nal-i@ow I;p of each link blanl-i: IC!ja- alo in(y a,.id cri-iiii)i--o(y P-Linel-i 55. The forw,,,@rd it@'s'severed and "IririilDed or forried end portion of the depressioii is,cleLined by an por'uiolq, j'or tliro-",i--a- tl-ie short, -wid Iii) of e approximately radial face 63 providi--@io- a the sprocket bir iipa-,ardly a@ncl thseverecl convex crimpjng surface 64 'Lo coo,.)erate iong, narronv Iii) the--,eof OLolynw--rc[177, a-tid 50 f c 5C) and cri for simtil.taneoiisly bep-ding@ fO - 1r"@19, Or 115 uh the crimping stir a e mpinu r - 57 ed(ye in crimi)i.-p, or preliminary beiid- shaping s,,ticl short, ivide lip of 'Llhe si)i,ocke'Lin(y, sliqpino- or formid-g the central porti.on b,@ir to its iq-@ial forp-i ,i-.id the third set of or iiarro@v I-ip o'L th,- sli.oi-t eiid bar or pi-.itle dies m-,y also i-Lieliide the Nvorl,@i-.io- tools 'Lor of -,t link as it is severecl aloii.- t'@ie Iiiies o,f bending, forn-iing, or shapi-ng th-- -wide lip 55 score by the punch 55. To the rear of tv@e of the siiiall end bar or piiiile to it-s -finftl 120 raclial fac-, 63 'L-he clepression 62 his parallel. foim, at-id for fin,,tlly b,-ndihg, foi-ming, 01side, ivalls 65, perpeiidicular to the axis of sliapidg the iiarrow lip o'L s,,,id srla,.ill erd the die 17, defillin,u spaced apart severin, bar or pin-tie. edcypls 66 perldendicular to the crimpin@@ surEach of the olements 69 of the upper die 60 face 64. The re,-lrv,7,,trd portion of e,,lch de- 20 of the @Lhi,,d s,-t of rolls ineltides a trans- 125 pre-,sion 62 is clefined by an approximately verse, concave crimpi.nsurface 70 s,,ibsi-la-araclial face 67 merging in a tr-@nsverse, sub- tially a quarcer-eirele.-Directly to the rear stantial ouarter-eirele 68, itself merging in of the quar'L"@-cirele TO and contigtiolis therethe circlimference of the die 17. The qliar- with is a trv,-Tisverse, concave crii-npi.-ti(y sur65 ter-circle 6S is ,t convex crimping surf,,tce to face '@l, also subst,,tnti-,tlly a quarter-@eirele, 13.0 cooper,,t'Le with the crin-ipiricr edge 59 and the crimping surface 58 ;.n crimping or forming the for-ward or free end o'L the central portion or lo-.l-, n--ro-v,7 lip of the sproelcet or large end b-,Lr of a lini@. The 7o action o'L the severiri- eCLges 61 ancl 66 is to sever the metil of a link blank -Llop-g tl-ie lines of score m,,tde by the scoring I&n,.Ves 47, 50, and the action of 'cl-ie severin- Pncl crimping pu-,ich i-s to simultaneo-Lisly sev-@r 75 the n-ictal of "- he blatik aloncr the lines of score macle by said scoring knives 48, 51, -@Nhereby the ci,imi.)incy eclges and ei-impirg surf,,tces at the front and rear o-L' e,,ich e'leinent 53 and 54 can operate in 'Lhe mqnner so clescribed.. The act o of sid -iimping edges ,tnd ci@ii-@ipiD-u stii-faces as illtisl-,rated is to thro-,v the severed free end of the cen'Ural portilon or long lip ancl the narrow lip c3f '@.he smal'i. encl b,,tr of the link do-wp-- @v@ircily 85 beloav the I)Iaile of the ti@ip Of Met"Ll a--,icl to give to saicl free encl S-Llsbs'L,,tntially a qliartereirc'i,@ ci@irlp, 9-Dd 'Lo said narro-v,, liT) a crinip or prelimin,-)ry forming v@hich is a trifle less tl-i-,ln a q-Liarte'r-eirele. 90 Clearly, tN,7o or riicre sets of elic -.Iements may b3 s-Libst'il-litecl for the upper ancl lo-v;er cluplica-le eleirie-.-Its for pe-f@Porming the firs'o or see@,,-iOt,op,@@rati.oii (or oper,,itioiis), ,is ivell. " 'Lor the dii])Iicate -@lemen-@'s o'L eaell set 'Lor 9,,3 i)c, forrjill,, i-@lle otlier operations, t,be --Lib;,-itLition of,)clcliti(-Ti,,il set,-@ reouirin tt-ie ii'i-- 'I 9

[5]

said qliarter-eireles 70 and 71 extending the full Avidth of the die 20 and meeting eacl-i other at the, transverse line 72 wbich is a sli-ht distince away froin the eirctiniference .5 Of the clie 20, i'vithin the confines of said die. At the rear e,,,id 73 of the quarter-circle 71, -whicli @Lei-i-ninates in the eircuraference of the, clie, 20, is a shearin- and bendin- pi@ojection 74 having a transverse, obliqiie forio ward crimj)ing face 75, o;f less width than the clie and arran,ged centi-ally thereof, extenC[ln,- outivardly fron-i said rear end 73 and the pei-iiiieter of said die. To the rear of the face 75 the she,.iring ,tnd bending pi@o15 Iection has I)arallel side faces 76, perpendiciil-.ir to the face 75, defining eircumferenuially exL'eiidin,(,, cutting ed,es 'i7 for sbearing t-lie iiietql of a blank tlong the lines of score ii-iade by the scorin- knives 47, 50 to defii-ie 20 the I)ociv of tl-ie c-entral portion or lono- narroav, lip of the sprocket or lar-e end bar, the free or outei- end of said long lip h,,tvinu alreacly beeia severed aiid crimped in the ,@econd set of rolls. The outer face 78 of 25 ti-ie sliearin- and bendin- projection 't4 extends eireiin-iferentiallv of the di-e 20 and slar,ts (-ently from the I outer edoe '-@'9 of the face '(5 inwardly and rearwardly toward the perimeter of the die 20, ternilinating in a t,,@aDsverse, smooth, short. curved shaping iace @O itself tei-rninating in the perimeter of the cile, 20 at the forward e-nd 81 of theqiiai@ter-eirele TO ef the adjacent rearward elcii:ient 69. Eacli elenient 82 of the lo-wer die 22 of the thir(I set of rolls includes an eiid-bar-formiiig puncli 83 consist,in(y of t pair of transverse, convex crimping surfaces 84 apcl 85, compl@mental to the surfaces -io ap-d 71, .-espectively, of the die 20. The 40 c-i-inil)i-no- stirfaces 84 and 85 extend the full Av@idtli ()f the die 22. ind meet each other along ti,@e transverse iine 86 coniplemeiit,,Il to @lie ti-ansverse line 72. The lo@yer die 22 incliidc,s al)proxiiiiite.ly cii@cular sp,,tced apart 45 flan-O.,@ Si' providin(y ,t space 88 bet-ween the flan,yes of approxii-iiately the width o-f tl-ie lon,,., --Q,,i@'row Ili) for tl-ie sprocket or large encl bLr of the link. The peripheral s-Lir4! @aces of these flanges are coiistriieted to ei-i.5 o gage the sicle bars of t linli@ blanl@ as the saiiie pisses between the rolls of the third set, to cooperate witli the periineter or cirellimfereiiee of the upl)er die 20 in insurinoforwarcl, horizontal feeclln,- of the metil 55 sti@ip dui@in(r the shal)ln,- of the encl bai-s on Llis, the tliird set of rolls. See Fi(Irs. 9) 10 10',, aiicl Job . The iiiner edges 89 of tile fl,,in-es 87 provi.de in the case of eael-i elemeyit 82 etittin(y e(l(yes coii-iplemental to the CUttiDO' r,o edges 7i of the die 20. The coinb-ined action of the cutting ed-es 77 an(I 89 is to sever the iiietal of the stock alon- the lines of scoi-e 47. 50 to definel the body of the, lono,, iiat-row lip of tl-ie sprocket bar adjacent the 65 foi@ivai-cl or free end thereof, alreidy severed 1,724 847 and crii-nped or formed by the second set of rolls. The combined action of the compleinental quartei--cireles 'tO, 84, and 71, 85, and of the sliort, Cul-ved sbaping surface 80 and the projection 74, which surface and pro- 7o jee.'ion coop.-rate Avitl-i the, qtiarter-eirele 84, is to throav the short, -wide lip of the sprocket ba.r tipnvai-dly and the severed long, narro-%v, lip thereof downivardly, and to simultaneotisly sbape said sl-ioi-t, wide lip to final, 75 peferably quarter-cii@ele foi-n-i; and to sliape the Aiicle lip of t,he small end bar to qtiartercircle configuration and to finally sl-iape the nai-row lip of said small end bar or pintle. The long, nai-ro%v lip of the sprocket b@lr SC) moves downwardly in a c-irele into the space 88 betaveen the flan('es 87 and elements 82, the curved surface 80 insuritig desired circular iiio-ktellient of said long, narrow lip. The quarter-circles 70 tnd 84 directly en- s5 gage the opposite faces of the short, Avide I"p of the sprocket bar to throw said short, wide lip upwardly slightly and give it a qtiartei--cirele cui-ve. The qlltl-tercil@eles Ti and 85 direetly engage the -%vide lip of the go siiiall end bar to ,ive it a qliartercirele ciii-ve. The transverse lines 72 and 86 e,,,igage the opposite faces of the strip of mettl be-t,ween the wide lips of tlle end bar,:@ of adjacent links, along the transverse lines I)f score iiiade by the scorinr knives 49, 52. clurin(y the shaping of saicl end bars by the quarter-circles. The crimpina face -f5 cool)ei'a@@-es with a CU - Ted por 'on', 0 whi h 11 ti c is an ex'LeDsion of the quarter-circle 85 of tl-ie pi-inch 83 to further shape and ro-Lincl the already criml)ed aiid pi-eliininarllv sliapecl nai-roi-@, lip of the small end bar or pintle. See Fi(,,-s. 9 ancl 10. The fotirth set of dies, to q,ccomplish the foiii,th operation (or series of se(,j.- ,-(-,,qted opei,ations), mav include the -wor,,@ino- tools for severiily the linl@ from tlie strip and for sin-iLilt,,ineouslv tlii-oii,in the sliort, wide 111) 9 -Of- @the sprocl@et bar o,f the Iiiil@ ftirther upwardly, and the lon(r, narro-", lip tliereof further downwai-Cil@T, iii order tliat, the end hook Nvill be in 141-s @'nal foi@ii-iip(y ancl asseii-ibl;.ng position, and tlie folirthn set o,f dies may inellide the worliin(, tools for operatin(' i i.3 tipon- the narrow and wide lil)s of the small end b,,tr or pintle of a followliiclr or si-iceceding llnl,-,, adjaceiit a severed link, to positioli saicl small end bai- or piptle it desired tnyle 'de bar--. 120 witli respect to the linl@ si E,ach of the eleiiients 91 of the upper die 2-0 of the fourth se'L. of rolls inellides L transverse, coiieaie, substpntial q uarter-circle foi@niino- surface 92. Extendin(r out",ardlv froia-i the inner end of tlle qiiarter-cirele 92 1 25 is t. radial face 93 terminatl,-i,,y in a tradsverse, concai,e, are sh-@iped (substqntial qtiarter-cirele) foi-mln,- stirface 94 itself terminatin(y in the perimeter or circumference o,f iite die 25 at a dist@inee, frodi the 168( ()5 -I 1(5 i,,

[6]

6 1,@24,847 qLia.rter-ei-rele 92. The m. dial face 93 a-@id -Loti,ni,.ig surface 91 meet e,,tch other to clefine a, tr,-,iisverse, cutting edge 95 wilhiii the coiifiiies 6f said die 25 and at a slight. clistance from the circumference of the clie 25. The part-eii-cle slirfaces 99- a-o-d 9-1 extend the full dist,,tnce across tlie upper die, o'L the foiirth set of dl'es. Each o-l' t'iie, el--Ments 96 of the lower die 24 of thc, fourth set iio eludes -L s-,verino- knife or punch 97 with r,,tclial face 98 definiiig cutfiii(y edge 99 comzn ,)Iemeiit, ti to etitting edge 95. The punch h,Ls a convex forminol, surf-ace 100 in aclvonee of 'u-'Iie etitting ecT2,e 99 aiid coinplemep-tal to ],-5 the qi-iai@tei--cii-cle 92. The lower die 27 iiiclucic,s c.il--cUlar spaeccl ap,,trt fli@,-i(res 101 providing ,L. space 102 betiveen the filnges of q@pproxiin,,tt(@ly the @,Nidth of the loiicy, iiarroi@, lip for the sprocket or lar(re end bir 'IO of s Tli-- perii)heral tirf,,Lces o-I these fia,.iges -re cors'Lrtic'Lc,,-l to engage the side bars of a Iiiilc bla-,ik @,ts the, same passes between '(,he rolls of the 'Lourth set, to cooperate with the ul)per dio 25 in iii-)tii-ii-ig 25 foriv,,,,rd, horizon'u,,),l lo.-clin(-; of the t, The coiiibined action of the cutting edges 95 and 99 is to sever '- Lhe stocl@: along ti-ie lires of score m,,tde by the scoi,inol@- ,ilves 49, '@,2, @vhile the action of the upper ,t-nd loiver 20 foriiiin(@, stiiqaces 91-) and 100 i-, to throai, 'ul-ie n short, vvide li,,) of the sproelcet b,,tr@ f urther lipavardly ,),nd thlis throiv the long, iiarrow l@ip o'L said sproci@et bar furtber do-w,.nivardly in the space 'De'L-1-Nvee-n tbe, flanc,,--Is 101. @Vt 35 the rear of tl-ie, severing l@:nif e or pu.ncl,,. 97 aiid be'uweeii the flatiges 101 is a, crir-,ipiiig tool 103 htving ti transverse, cop-cave, areshapecl (stibstaiitially q tl,,trter-eirele) criiilpiilg, sui-face 101 co @npl,-mental to the I)art40 circle 9zl. The action of tlie, part-circle siirface 104 is to caiise the previolisly si-Lapcd i,i,irroiv lip of ti-ie siiiall ei-id I)ar: or pin'u-le to move 'Lorvvardly and ui)wvrdly in the prel7i,- space betayeen tl3-e flancres 101 the 45 O ',,I SI.) T sbal3ed v,7ide lip of the small end bar or l@)intle bei-,- ily fore,-cl -Lip ag,,tinst the I)art el.ilcle stirface 9-,@Jc. l@'orivai,d ,t-nd up @j, a r ci iiaovemer@t of the, narroiv lip o'L the small end bp,,,, or pintle 1:)I,.lces the -whole of saicl 13 smtll end bar or pintle oi)proxiinately at a right-ancyle to tl-ie sicle, bl-@rs o,-f the See Fig. it. TI.-,e small et-lcl b,,tr iiiiglit be placed in its final position. at p,.oper angle to the lir.k side bars, in the tliircl set of rolls b y 55 i-,roviding -@ siiitibly constructecl a-,-id ,ircriiii.ping slirface 75 tnd p,,trt-eirele 90, 1 bu@ fer 'clie fi),et 'ul-iat as the n,,rrow lip of -,,tid sn-iall end bar rode otit from between s-,tid sur'L,,i,ce and i)-,irt-eirele 90 it Nvoiild 60 probab!3, be sti-ai.gl-iteiied otit somewh,.tt to lose its quartereir'cle fc)rm, ,ts will be tinclerstood. "@'he assemblipg eleineiits may be on the last set of rolls. The loAi,-Ir die 32 of the 1,,ist 65 set has elements 105 each of ivhich includes a part-c@lrele s-urfqce 106 I)reforably Sli(Y'htlv less tlitii q@ h,,tlfeircl,-, and the upper die 30 of tl-iis set has similar, comT)Iementtl elemen.ts 107 egch incl-Lidiiag a part-ci.--cle surface 108 -v@ith si)acing iiiandrel 109 arran(Yed 0 ti-ansvei.sel of ti'le die to define a, quartery circle are it the 'forward port4 on o'-- the part-cli-cle surf,-.ce 108, the spa-,ing maT-Idrel beiiiy 'or the purposes of provictinu the cte@L,,tch'ln(y S!Ot preseiit in the fiiiished ch,,tiii 75 -Lrd for loc@,,ttn,u tlie short, ivicle lip of 'the f 1,,tr(ye cnd b,.,.r o the in said part-circle siirf ace 103. Obviously, the part-eire',.-I suriaees 106 R,nd 10S -.re complen-ienttl, their ecmbid-ecl action seri,iiio, to roll Llie lo,-ilip 50 or e-tid hoolc Lo circular form. AIechinism is provided for gLiiOirg i sty-'LI-) of as ivell @is dgtq,ched, Ll;.,11-u'shea betweeii the rolls of 'Llhe ciiiTel--en@. set's. ip 85 Of this meebanism, 110 clonotes a str' g,,ige arranged transversely jlist in a@Lvance of the first set of rolls for ceiitering tha met,.tl strip vitith respect @-o 'cl-ie dies, the ga(ye b--ing secured tipon upright 2 as at 111. It coiisists of a b,-@-! of metal the top c)f v@,liieh 90 is ctit 'Lo provide a V-sb,'Lped groove 112 Avit-li the axis of the V iii 'che vertical central lon-itticlinil plai-te of the dies. The -walls of the V-sh@ipe,,l groove E,@re preferably el.e@,at,Cl someivbat above the hoi@izo-Tital plane, of the 95 line of feed and the taper of the gaoe allows tD for varifi-@ion in -v@Ticlth of the strip o-r metal to insure, its proper centering despite its vari,,itio-@is in N@,iclth. 113 denotes, I.enerally, t different for,-n of 100 g,,ige, betiieen the, first and second aiid s--concl and third sets of rolls. Each gao-O 113 consists of a cylinorical rol'Ler 114, supported on the frtme in any u-i,.,.nner j-List above the 1-ilic of feed of tl-ie st,ri--) of metal, atid a roll- 105 er 11.5 beloiv the stril) h,,tvin- a V-shaped L 0 (yi,ooi,e, 116, adap'ed t finction in the ue-,i@D @n eral mai-i-@ier of the V-(Yroove 112, to center - t, the strip. The V groo-@e 116 is constructed to alloiv cletrance for ppss,.tge. of the,, strip, 110 eien though parti,-..Ily J'ormed, as w,Lien passin- froin the seco-nd to tli-- tliird set of ro').'@s. 117 denotes projections on the be@tse of the il-l,,iclai.ne each "7i'uh ol)enin@4 118 slidably i@eceiving a shinIK 119 with iork 19-0 by wh;lch 115 the V-roller 115 is rotatably SU]) ported. 121 is a coil spri-Lig bet-weell the shink ancl the end of eacliope-nin(Y Obviously, the coil s ides for a -silie.iit en<yt eri-ient o@rtin Prov- r 9 hg e t,,iper ii,alls of the V-roller @iith the 120 strip, aiid the cylindric@il roller ancl V-roller cool)erate to better accompl-I.sh t,ie l@2 is ,t blanl,: receivip-g -iiicle to receive the severed blanks as tl-iey p,,iss beyoad t@@e fotij.-th set of rolls. The construction of 4Lhis 1,2.5 -uicle ivill be clenr from Fics. 3, 4, 11 at-id 17. 123 is an Lshapecl bracket securecl upon the ni.achire fr,,ime as at 124. The bl,,tiik receiving Yuidc@, is supportecl by this L-shaped bracli:et ancl includes t top wall 125, side 131)

[7]

1,724,84@7 7 walls 126 spacecl all)ai-t a,. disl@u I ance to alloiv re,,idy p,-ssaye of tl-ic severed link blanIK, ard tn 017ei,l,ian-ino- -walls 127 for inq-uring that tliie t, I t, bocly of the b'Lank cannot become displaced froiii the receivin- giiide, the overlianeincy w@ills bein(y spaced at sufficient distance apart n to alloiv i-ead37 passace of t,he doivn-Nvai-dly extend'ln,- sl,- ock of tIZ short end bar or pilltle and the stock to forin the Ion(,, narrow io lip of the link for provid-Lno, the large end bar thereof. The overhan-in(r and side -Nv,alls as shoivn extend a slight distarice beyond the end of the top Nvall of the blank receiving guide in the d-lrection of the fifth 15 Set Of rOlIS, and said top -wall is desirably sli,,ped at its foi-@,vard e-,id to best ciiide the slioi-t, ivide lip of the li.nk blaiik to the portion of the part-circ'ie 108 in fi-ont of the iiiandi-el 109. 20 The operation of the macliine 'uh-Lis far 0,,escribed will be re,,tdily uiiderstood. A strip of n-iotal A is gtildecl between the i-eai@Nvai-d or first set of rolls and pol@ver is applied to ilotate Lll of tlie, rolls so that the strip is 25 contin,,iolisly fed forwardlv. The sti-ip is ,o-ilicled and ceiitered by alf of tlie, o-a-es s n , , 0 as to lie properly between al-i of ti-le sets of rolls. A section of metal wliieh is to forni link blank is first acted -Lipoii by the scorIII(, l@iii-@-'es 47, 50, 48, 51, and 49, 52 to scoi-e the upper and loii@,er surfaces of the stocli@ alo-,ig the lines 128, 129, and 130, resl)ectively, to tlius completely o-Litline the bl,@iiik. Thenee the section otitlined for the b'lank passes be3TOnd tlae i@eai-ward rolls - n cl tlic, siieceecling scoring knives of the first set nioa-e and vert-Lcally, iinifoi-mly and cri-adually,'into tlle for-wardly movinostock to repeat the oLitlining operation i-List 0 desci@ibecl. Evei-itually, the blanks pass successiveiv betwee-,i each set of rolls, and the Lipl)er aiid lower dies of each other set cauge the -working e'Le,iiients to P.,iove toward and with the strip iof metal in the s,,tii-.e geiieral 45 iiiiniier as do the upper ancl lo-wer dies of tli,, rearward set of rolls. 'Llie action of the severing and crimping elei-ne,-its of the upper and lower dies of the second set of rolls is to sever ',-he stock along G. 0 tle lire of score 129 Pnd along the poi@tions of the Iiiies of score 128 adjacent said line O-C scoi-e 129; to ei-iiiip or forpi @@he for-vvard or fj-ee end of the ceiitr@tl portion 01- long, DII.ii-i-ow li,,) of the sprocket bar of each link; 1 55 ancl to crimp or prel-im;.narilv form the centr,il portio,,i or iiirrow lip o@ the small end bar or ))i-ntle of said link. Th-, severin -edges 61 and 66 of the dies of the secoiid set coopera'L-e to sever the metal alop(r the lines of scot-e 128 adjacent the ',--ine of s,--ore 129, ar-d the s--N-ei,in(- and crii-- nping unch 55 p s;liiultatieously severs the me'L-al along said line o-l@-' score 1-29. The con-ibiiaed action of the Cl-illil)lpg sui-faces 58 @- ,nd 68, and of the 65 Clriii)lpin@ e@l,e 59 and ridi,,il f-,we 67, is to throw the severed free end of the central poi-tion or loiig lip doiinwardly beloiv the plane of the strip iof metal and to give to said free end a quarter-circle crimp, as indicated at 131. The combined action of the -o criinpiii- stirface 56, criml)in, ecl(,e 57, razn di-,tl face 63, aiid crimping surface 64 is to throw the severed nai@i@oiv lip of the shorf end bar downwardly below the plape of the strip of inetal, as indicated at 132, and to i-5 give to said narrow lip a crimp or preliminary forniing ivhlcli is less than a, qtiartercircle. It will be a,ppai-ent fron-i Fi-s. 4, 8 and Sa that tlle peripheral faces of Che dies 15 and 17 themselves are 'n engagement witli so tlio upper and loix-er laces of the illetal of the strip constittiting tl-ie. side bars of the link blanks Nvhlle the severing, crimping and preliminary forming elements of said dies 15 and 17 are opei-atiii(,r. S5 The action of the upper and lower dies of the third set of rolls is to sever the body of the ceiitral poi-tion or Ion(, lip of the link blank adjacent its sevei-ed and ei-inipecl or foi-med end; to throw the sliort, wide lip of 90 the sprocli@et bar of the linli: -Lipwardly and the severed loD- nai-i-o-%v lip tliereof doiviiwai,dly and to siilltiltane,c)tisly sliape the short, wide lip of the sprocket bar; and to tp ei@ sl-iape the ',15 sh, e the wi-de lip and ftirtli nart-ow lip of the sinill end bar or piiitle. The cori-ibined action 6f the shearing and bendino, projection 74 and the cuttinedues 77,ind-89 is to sever the n-ietal alon- tEe lin-es of seore 128 and to bend the central port@on -'O or lon(r, narrolv lip belolv the plane of ihe stripoinietal,asindicatedatl33. Thecoiiibined action of the pai-t-eirele surfaces 'o ancl 84 is to tlirow the short, wide lip of the sproclcet bar ui)wardly and impart 'Lo it fiil@il ,;hape; that is, qtiirter-eii-cle shape, as indicated at 134. Nattirallv, the downavard throwing of the sev-lred iiietal for the lon(r Iii) of the sprocket bar assists the operation of tlirowiiig tip-wardly the wide lip tliereof, and vice ve-.-sa. The sliort, etirved shapin(r surface is, in effect, an txis about which th-e large end , bar or end hook is ttirned during tl,,e operations iipon t@he sproe'il-let bar in the thi-rcl set of rolls. TI-ie coiiibined action of 115 the part-circle surfaces 71 and 85 is to shape the Nvicle 'L'lp of the small end bir to its final quarter-eirel.e foriii, ,ts indica.ted at 13,5, and the crimping face 75 and ciirved portion 90 co,,nbi.ne to finally sbape and round said nor- 120 row I;p, as indicated at 136. The flanges 87 cooperate with the periplieral surflee of the cl.le 20 in feeditig the inetal strip horizontally forwardly wliif@ tli3 severin-, bendin-, ana n t-I I foi-minur opei@,,ttions ai,e beiiiy accoiiiplislied 125 by the third set of rolls, ancfa space 88 betwee,-i the flan(,es S7 and elements 82 allows reidy passaoe of e-@ich long lip beyond the die 22. 'See Fimgs. 4, 9 and 10. The action of the tipper and lower dies of lpo

[8]

1,724,847 tl-ie fourtli set of rolls is to sever tl-ie linlc from the strip, and to siiiililtaneously tliroiv the sl,,ort, wicle lip of the sproci@et bar of said li-@,ik further iipivardly and the lono-, narro-,v I.ip thereof further doiiniv,,.rdly, to @Lhe final it, on forriiing and asseiiiblIT-1- pos 1 of said sprocket bar; and to position the siiaall end bar or pintl-, of a follo-@N-ino- or succeedit-io, adj,,teeiit link ,Lt desirecl aiicfe -with respect ztr'o' I @o the side b-,tus of said -cljaceiit Iiiik. The combined ,tction of the clill-tiii(y edges 95 anci 99 is to sever tlie .@tocl@: ,tlong the li-@ie of scoi-e 1,9)0. The coiiLbi---Lied action of the parl-cirele sLi.-f,,)ces 9:?@ -@iid 100 is to tiirow -wi-cle lip of the sprocket bar fur15 '(.lie sli.Ort, ther -tipwarcil,y ,i--qd thiis tliro-@v the lon(T nqi-- 47 @ roav lip thereof furtlier doiNrwa,--dly in tlio s-i'llice 102 bet%veen the fl,,t,.i,ges 101, to the sprocket bar a',.n-ioE-@t veitical in its 20 fi--ial. formin- anci ,tsseiiibllinu po@,,itiol-i, Ps iiiclief,,tecl ,it 137. The ,,,ctlon of the i)art-eirele surf-ace 104 is to iiioi@-0 tille iiairow lp of t'iio small elicl bcir or i)in'u-lofoi,Nvarcily ip-d -Lip-vvai.-cl.y, q.s iiidica't-ed at 13S, aiid t]-iL,,s posit@oi-i sft;@.cl. small eiid bar or I)incle ii7itl-i i@espect to L Lie I.i-nli@ siOLe bars. Tfi,-- P,@r'-U--,,',rcle surf,,,ce 104 ri-des -,tgtinst the re,,irward, lov@er stirf,,ice of @lie pti.,titlly fori,@ied P-,-,rrow 1--li) of the sn'la'.1 end bar or i)intle ,in-,I -,,,iid np.,rro-w lip 'uo be sivuiio- forw,,ii-dly aiid iipii,a,--clly. The tii)- vvard swin,-,,,iiag o-f s@iid iiarro-w lip, 11,@ittirLIly, c,,LLises the -",id,@ lip to be fo@.,ceci iip and 1),,tck ,t(-aiiist the par'u-cirele sur4.'ace 94-, to be -,-.iga-ed by s,@ticl sLirf@- ,ce 94 zn 35 in such ma-iiner tli,,it the quarter-eirel(@ shipe obtai-.ied by in,icle lip in the th-ird set of roll sisi-naiiitai-,ied. Tliep,,ti@t-eirelestirfaces 94 a-qd 104 ,ire positioned re'j'.atively to each otlier so that the finislied small end b,@ir or 40 I)intle is Lpproxiiii,,ttely vertictl, PI- ri ht-,,,,nLI g_ gles to the si(le bars oT the Iiiik. I'lie fl,,tnges 101 - ,oopera'u-e ivi-@li t@i- pei@ipheral stirf ace ofi-,he die 25 in feedino- the link bllnl@ horizont,illy forwarclly whil-- the severin(y, benclinn '-5 ,tnd T-oriiii.il-(y oi)eraions -,re b-,in(y iccoiaiplislied by tlie f 6 Lir@Lla se'Ll of rolls, -n'@d ,t sl-)ace 102 ,Llloivs reacly passage of the lon- li-1) o--' t--, opeli severecl linlrl iiato -,nci out of 'u'ile di-e 27. Figs. 4 aiid !I. 50 The actioii of the upper qnd lo-wer dies of the l@,tst set of rolls is 'Lo fintlly siitpe the encl hook or li]) iroiiiid the sm,9,11. ei-icl bar of the f ollowip-,-y or sti I ei-- eeditig sei,ered link blank. Previou@. to reachin(y the final set o-L' rolls, the n 55 -@hoi!t, ivicle lip ,Li-id the o-Liter encl o'L the row lip for the la@zye ei-i,.l bar of 'ulie 1-ink have n be,,.ii properly @Lo ,tssist tl-ie rollincly o -J' t'-tie sprocket 13,tr to eircuj,,tr forn-i, as (Tenoted 60 a-t 139, ,tnd 'uhe I)arlz-,-cirel.e stirf P@ces of the iipper and lower clies of thp. final set, includinv@ the traqsversely -@.i-r,-,nged ma-.idrel 109 in one of said paa-eirele surfaces, defining the detaching sl@ot 140 in the finished cliaid, , @icely cooperate to provide ,t cyli-Tidrical sprocket 65 bar, All of the forming, severino- aT,-d asseinblinu elements have forward niotion @vich the strip of metal, as -well as vertical -Ilot.- Loii. it is this forwarcl iliotioii of the elements -with tiie strip that mali:es possible the 'crp.Ds'lorniation of the metal into conn-,c'uecl ch,,Lin links while being fed. A rotatable clie of tli.e present inachine m,,iy have any preferred nui,-iber of dupliepte ivorkiiag eleme-,,,-ts. As eLlseloseeL @ se,;-ere,! 75 Iii-al@s are at all times on their way from one sot of rol',- s to the iiext duri-ii(,y @'@he operatioil of the machine, and the first fotir sets o-l' rolls serite to 1eed the strip of metal foriyirdlv. h althou,(r the sti-ip could be fecl iT-l so sojaie other niaiiiilr (no'L shovvn). As the lv-orl@iri(y faces or eleriac.,-@its of the oppositeiv PO Oisposed dies of the cliffereii-t sets o, - !'Is all located to positioti tii-- Y,7hole leng,',h of stril) iiiet,,tl in @i horizo,.ill-al pl,,ti-ie, the fact 85 tl,,al' several li-nk blaiiks -Lre alivays cne set of rolls to the next is no de4,riillelit to the fee-,Iinof the sty' metal by t, 'P tlle sets o' I rolls especi-,Illy wilei the ai(yes 113, be,'-iveen the first ancl s-Icon-,I, and second 90 ,ir-d tliird sets, a,-e eriploye,-I. Howevol,. ,tspeci-t)-! devico 'ls reqiiirecl to guicle the sevfrom @-hc- fou--Pth 'L-o thr-, P@f"-h, or assenibli@-i(,, se@@ of roills, 9,ncl the severed bl@,,-Lnks i-nus@t be fecl frcin the T-ou@,,,h 'Lo the 95 -fif 'uh set in a iii.,ii-iiier differen-c from the iier o'L i--2ed of -!,he stilip from tli,- firsl to 'L-lie foiirtli set of -.olls. The blanl: receillin(, guicle constittites 'Lhis cl-,vice ,tnd 'Llie iliak SelTeri-t), o I , pLiD-ch feeds the severed bl,@inks 100 tlii-ou(-@li tl)e receivip,(y (,tiide, '-o t' E!@ tie as,@embli-tig rolls. Afl,-er ,L se-e'tion i-s se-,-ered, the cojivex cri--rnl)ing stirface 100 of 'Lhe @la,-Il@ severino, kiife 97 pti@-3hn@2S@ as it rot,,i@1--s for-Nvar dly, agai--,ist the rear end of the sovered 105 Iiiik blai-tk to force the fron' e-tid tliei!eof agaiiist the reai- eild of the next. ,icLj acep.@L' link blink. Before I se-,Tered lir@k blank has left f,lie -LI-our-- Lh set ol' rolls, the for-ward e-,qcl o'L the blank h,,,-s pusbed inl-o the bl,,irk 110 receivi-iio, ( uicte 1-22. The sc-i,cring ii:iiivc-s -9 97, forcing each b'lank ahead as sooii as severed, feed the seve@al blanks '-I-il-(u(Yll tile L receivin(y "uide a-@id to 'u-Iie asseiiabling elements. t, t@, 115 The forwarcl encl of the bla,-.ik reeejlTjDCI guicle issufficieiit,ly el-ose to the dies o'L the las'u- set o-il rol's so that the slioi-t. -wicle lip and lon(y nai@i-ow lip to pi,ovide the -pi-ock&,, @= ' bar will be positioiie(I in the part-circle siir120 faces of the upper and 10 wer clies, respeetii,ely. As slaoivn, tl-ie free e.,id or ci@i-i-D-ped portion of the long lip first coiiticts i,,,i'Lh the die 32 aiid the i-eceiving guide alloivs a 125 liftino.' movemen'Ll of the end hool@ to the die 30, -whereby the part-circle surfaces can best cooper,,,.t-, to tur,,i the lop@(y lip to eircular form about the small end'bar or pintle of the followilig or succeeding link. The a-r190 rangement of the spaciiig mandrel on the "

[9]

1,7241847 part-circle surface of the upper die of the last set is such that the short, wide lip of the end hook can position in front of said mandrel, the blank receivin- device cooperatin in the gtildin- of the wide lip, as 9 n shown. The vertical uprights 2 and 4 have extensions, denoted 141 and 142, respectively, with bushinas 143 in whicli a shaf t 144 carrying lo a sprocket wheel 145, forn-iing a part of a link sizer or stretcliin,, mechanism is mounted. The shaft th' 144 as a gear 147 which meshes witli a cyeai- 148 on the shaft 31 whereby rotation of said shaft 31, with its 15 rotatable die 30, causes the sprocket wheel 145 to rotate, at the same speed as all of the rolls, in the direetion of the arrow in Fit,. 2. The sprocket wheel 145 is fixed upon the shaft 144 in the line of feed of assembled 20 links passing from the last set of rolls. The remainder of the link sizer or stretchino, mechanism is best disclosed in Fig. 4 and is omitted from Fig. 1. In said Fio,. 41 149 represents a cross bar adapted to be se25 curecl to the upper faces of the extensions 141, 142, as by means of screw bolts 150 adapted to enter threaded holes 151, best shown in Fig. 1, and 152 denotes a presser plate, secured to the cross bar 149 in any 30 suitable manner and adapted to lie between the extensions 141, 142, closely adjacent the sprocket wheel 145. As illustrated, the inner, or lower, f ace 153 of the presser plate describes an are concentric with the perim35 eter of the sprocket wheel. The individual teeth 146 of the sprocket wheel are desirably of thickness not much less than the distance between the side bars of a link, and said teeth are each of width at their bases a 40 trifle greater than the distance betiveen sprocket bars whe-n links are asseinbled, taperino, oently to the peiimeter of the sprocket wheef@v-here they are of width to easily enter each link when assembled. The margin 6f 45 the sprocket wheel betiveen teeth is preferably of that curvature best sltited to receive sprocket or large end bars. The manner in which the size@r or stretchilio-, mechanism functions is obvious. When 50 a formed and coupled link which has left the fiftli set of rolls (the spacin,, mandrel in naturally receding from the deta-chin- slot of tl-ie sprocliet bar which it defines)- shall liave been -,tssociated with a tooth of the 55 sprocket iiheel, advancement of the sprocliet wheel, in svnehroiriism with the set-s of rolls, ill cai-ry the link beneath the f ace 153 of the presser plate. The presser plate will, 60 n,,tturally, force t,he, link, with presstire, down u.pon the tapered faces of said tooth. Each assembled link thereafter cornin, from the n fifth set of rolls will likewise pass beneath the presser plate. Referrin-Y to Fig. 4, it 65 will he seen t,hat -tlie pressur@ of the presser plate is exertod against the sp'rocket or large end bars of the links, to push said ban down toward or to the inargin of the sprocket wheel betwem its teeth. All of the teeth of said sprocket wheel are duplicates and the teeth are spaced uniform distance apart, 7o and therefore 7 the pressure exerted to stretch the si)an between the @sprocket bars of adjace nt links will be the same in the instance of each of the, links. Consequently, when the lillks shall have passed from beneath the, 75 pres ser plate, the span between the sprocket bais will be the same for all of the assembled links ; that is, the links will be stretehed up to size. It is found advantageous when man ufacturing links of the present nature,, 50 (stri p metal slightly varying in thickness inus t necessarily be utilized', to make prov'sio n in the structure of the apparatus to insu re. that all of the links will be of size a trifle less than a predetermined size, and 85 to ei-aploy a sizer or stretching mechanism to bring each link up to said predetermined slze. After the assembled links hav'e pa,ss-c-@l fror n beneath the presser plate, it is, ob- 90 viou sly necessary that they be stripped fro m the teeth of the sprocket wheel. The mec hanism for so stripping the links may ecn sist of a cross bar 154 bolted at 155 to the side edges of the extensions 141, 142, and 95 havi ng spaced apart guide surfaces 156 for the side bars of the links. Between the guid e surfaces is a clearance space 157 for the narrow lips of the link end bars. The surf aces 156 will be, at that oblique an,,,Ie to 100 the circumference of the sprocket wheel and at that location relative to the teeth of said spro cket wheel to best insiire proper stri ping ; that is, to best insure that the glebars of the former and coupled links will 105 be certain to ride upon the -qide surfaces and off of the sprocket wheel teeth, awa'y fro m the axis of said sprocket wheel. See Fi,- g. 3 and 4. It is to be noted that the only feed nem- 110 sary on the machine is the working elements and dies themselves, althoiigh the feeding eotil d be accomplished otherwise. The elemen ts of the first four sets of rolls coopemte to feed the strip of metal; the severing knives its a@ nd dies of the fourth set of tolls feed the sev ered blanks and force them to be pushed, one by the other, into the assembling elenien ts of the final set of rolls; and the spro cket wheel of the sizinm mechanisiii car- 120 ries the finished chain out of the maehine. The advantages of having the link bl k an outli ned by the first set of rolls is obvious. The machine is thus simplified and the dilricult y of t.iming a plurality of sets of rolls 125 to make the parts of the, links uniform is elim inated. The operations in the pre8ent machine, as com pared with similar operations in certain 130 machihes, utilizing reciprocating dies hem

[10]

10 l')724,847 tofote kno",'n, are reversed;.that is, clianges end for end, but tl-ie sequence of operations is the same as for reciproca,ting dies. This accomplisl-ies three results: (1) When the lon(y or hook lip@ of the, sproeltet bar has been turned do-wn by. tlle action of tl-ie rolls 19 and of the cut-off Imife 97 of the rolls ,),4 and said rolls continue their rotation, this.long lip is moving away from the ele10 ment 82 and the base of tl-ie cut-off knife. Otherwise said element 89- and the k--Liife ivould h,.tve to be undercut or the lon-- zn lip would be bent. (2) In the closing rolls 29 the short lip of the sproclcet bar positions naturally into any part of the , quai-ter-eirele in front of the approaching slot @ spacing mandrel 109 when the blanl@ is pushed out of the line, of the strip by contact. of the Iona lip with the fint, @o ishin , roll 32. If the links were reversed g it ",Ould be difficult to position th6 lip back of the mandrel as it would be likely to positioii in front or on top of the mandrel. (3) ,The hook is rolled up toward the wide p@rt 2a- of a convergeiit pair of jaws ivhich is easier and uii7es less friction than would be the case t@ if rolled @tonvard the, narrow end of tl-ie, jaws. When the blanks are etit f rom the strip tliev are pushed together witli small end 30 bal@ of one link concentric -",itli spi-ocl@.et baiof an adjacent link so that each hook is rolled around the small end bar or pintle of tl-ie next link ancl assen-ibliiig thus accomplished without further ii-iecliaiiisin.. Many altei-ations in the construction and 35 many apparently widely differing embocliments and applications of the invention will suo@@,est themselves to those skilled in the ,ti-t of li'laking sheet metal cliain links and chain ,40 inaking niachines Nvitliout departing, from tl-ie scope and spirit thereof. The disclosure and description herein are purely illustrative, and are not intended to be in any sense limitinol. 45 What we

Как компенсировать расходы
на инновационную разработку
Похожие патенты