заявка
№ US 0001711613
МПК D03D45/20

Страна
US
Как управлять
интеллектуальной собственностью
Чертежи 
7
Реферат

Формула изобретения

claim is:- 1. In t i@,eft repletiishin(r loom, a 1,,iy liavinix i pair 6f stipei@posed shiittle boxes at one 65 end tliei-eof, one of said boxes bein(y at a indicated in Fig. 15, we have p@ovided a weft positioning member 110 havin- a lu- or shoulder 111 at its rear end ac'lapt7ed to ei@'ga @the fillin(,r F from the shtittle S as th@la9ye .5 moves foi-iv,,trd and to carry'said weft F rearNvard,is iiicticated in Ficr. 17, so that it extends at the i-ear sicle of th(@ opeiiiiig throtiah the sliuttloS',inclwillnotbeeiig a(-,edbvatobbiii ejected theref roiii. I 0 We liave a.Iso provided en(I holders 112 .(Fi-s. 1, 2 and 3) eacli adjustable ve@tie'ally aii.d aiigultrly iii a I)Ioclc 113 whicli in ttirii may be adjusted anuularly or axially on oiie of tlie. qp:,,(,.ing i@o(Is 42 of,flie iiiig@@zine. 15 Opei@(ttion. I-lavin(y described the details of construetion of outimprove(I loolii, the operatioii tliei-eof will be reidily apl)areiit. The 20 qhuttles S and S' ai-e piel@ced siii-tultaneously iii tlle saiiie directioji aci@o@lq t,lie' locy ind the shuttle S is picke(I sliglit,ly iiiagazine side tli@in the --,h' greater (listance from the adj,,icent cloth selvage than the other box shuttles for said boxes, ,tnd means to trans'fer ,t fresh weft cirrier to a shuttle in citlier box by (lirect dt)wnwird movement of tlic@ ivc@ft cai!i-ier. -o 2. In t weft rel)leiiisliing loojy), a, lay having a 1),,tir of stil)ei-I)ose(I 1)()x(@,., It olle eiid tliet-eof one of sii(I boxes I)eiiig at a great(@r distance fi-oiii tlie, -,tdji(Tiit (@lotli selvige than the otlier [)ox,- siluttl(@s f(r SIti(I 75 boxes, iiie,,tns to I)reseiit I)oth sliiittles stibstantially simiiltaiieotisly iii botli I)o-x(@s at tlle i-ei)lenisliing side of the looiii, iii(I iiiean@, to ti,,tiisfei- 'a weft to a sliiittle iii eitlier I)ox I)y doNN,ii@vtl-([ iiiov(@iii(,iit of so the weft carrier. 3. In a weft i@epleiiishing looiii, a lav liaving d@ pair of superposed slitittle-boxes at olle (@nd thereof, one of slid boxes being at a t)-reitei- distaii(-e fi,()iii tite ,idjac(,iit (,Iotli i,,,to, @ t liin the otbei- box., sli iittles i ii s-,t i (I I)ox(@q, sai(I I)ox6,s beino@ loctted to Position tli6.,;Iitit.(@iii oil"' of verticil ali(,@iiiii(@nt-, Ai-itli tles tiiei t t, eacli other, and iiieans to transfer a @fresh wef t carrier to either sliuttle by dii-ect dowliwar(I f)O iii(@v(,ineiit of the weft cari-ier. 4.'In a fi-esli weft repleiiisliin- looni, a Z5 I)Iui-ality of weft carrier niagazines mounted on one si(le of tli(@ loolii and at different dis95 tiliiecs fi.-oiii the adj,,teent seli7a(ve of the cloth a lay litviiig a I)Itirality of sliuttle boxes at fll e weft rel,)Ieiilsliiiig (@,nd tliereof, 'shuttles for said 1),oxes,,,ind iyieaiis to transfer a fresh -Nveft cari-ier froiii eitlier,mafazine to a shuttle on said lay. i(O a lay liavin(y pair of sliut5. Iii a loom, tle boxes fixed at diderent @l-evations at eacb end of the lay, -Itid boxes being also substantially out of vertical aligniiieiit at the replenisliing end of the lty, t sep@ii-ate qlitittle for lo5 each two boxes,.,Ind means ' to replenish the weft in either sliuttle by a substaiitially verti cal transfer of a f resh weft carrier thereto. 6. In a weft replenisliiiia looin, ineans to I)r ovide iipper an(I lower wai@p slieds, a pair 110 of shuttles operati@,e siinultaneousl in said y up per ,tn(I lower she(,Is, iiieang to give oDe of stid shuttles a fl;@g@it of pi-edetei-niined len gth in one shed, means to give the otlier sliu tt,le a flight of -reater length in the other 115 sh ed, and means to insert a fresh weft carrierin either shtittle by direct downward moveiyi ent, said replellislinient in one shtittle taking pla co at a substantially greater distance f rom - the adjacent cloth selva@e than tl,ie replen- 120 ish mont in tl-ie other shuttle. 7. In a weft replenishino, loom, me'ans to pr ovide upper and lower v@'arp sheds, a pair of shuttles operative simultaneously in said up per and lower sh6ds, means to give one of 125 said sliuttle-s a flight of predetermined len--th in oiie shed, means to give the other shuttle a flight of greater lengtli in the other shed, mea ns to,vary the relative timing of said fliahts and means to insert a fresh weft car- 130

4 rier in either shuttle by direct downward nioveiileiit, tllesliiittles beiiig substantiall out of alignment boih vertically and hori7@ont,tlly when in transfer position. 5 , S. In a weft repleiiisliing loom, means to pi-ovide iipper ,tnct lowei, warp sbeds, a pair of sliiittles opei-ative siiiiiil.t,,ineoiisly in said itpper and lower sheds, vertically aligned @-Iiiittle I)oxes tlierefor it one side of the looin, 10 I)oxes tl)et-efor siipei-posed stibstantially out of vertical ali(ynment at the otlier side of the loon-i, and i-nans ti) insert a, fresh we-ft (!ari-ler in citlier shuttle by d.irect downward iiioveiiiei-it wlien iii said latter boxes. 15 9. Iii a Aveft repleni-,Iiing looni, means to prolti(le iipl)er ,tn(I lower w-ai,p slieds, a pair of ;Iiiitt,le,,@ opei-ative siinultaneously in said til(l lower slie(Is, v(@i@tieilly tligne(i sliilttl(@, 1)(Xes at oiie si(le o@ the looiii, 20 sli.iittle I)oxes siiperposed siibstantially oiit of vertical ali(ynmf@,nt it the ot-ber side of the lool-fl, a separate -w(@ft cletectin(, meebanisni for ea(@h sliuttle at the first i-n@ntioned si'cle of the looin, and s@parftte means to. insert a 25 fl'e,!-'Il iveft ill Iii in(licit(@(1-sliuttle at the opposite side of the I.ooiri I)y direct downw.tr(I iiioveinent of said weft c,,trrier. 10. Tn ,i iveft rel-)Ienisliing looiii, i-neans to I)i@ovicle iil)per and lower w,-trl) sheds, a pair 30 of- qliiittles operitive siiniiltaiieoiisly in said iil)per,,tnd loiver shecls, means to insert a fresh weft cirrier' in eitlier of saicl shuttles, and inea-ns to move t-l-Le weft I;hread of said lower shuttle otit of the path of a -weft carrier elect35 e(I froiii said iipper sliiittle. ii. In a weft replenishi-ng loom, means to provide iipper and lower warp sheds, a pair of shiittles operative simtiltaneously in said upper and lower slieds, means to insert a fresb 40 iveft c,@trrier in either of said shuttles, and ineans to moi,e the w(.@ft tbroads of said lower sliuttle rearwardly otit of the path of a N@eft cari-ier ejected from said upper shuttle. 12. In'a weft repl(@nisliii@g loom, iticans to 45 pi-ovicle iipper and lower ivarp slieds, t pair of sliiittles operative siiyiultancously in saicl iipl)er and lower slieds, means to give one of said sliuttles, a flight of predetermined leno-th in one shed, means to give the other shuttl@ ,L r) 0 flif,,Iit of (yreater len,,th in the other shed, the boxes at'one side of the loom being out of vertical alignment, means to transfer a weft carrier to a sliuttle in either of said b6xes by direct downward movement, and -Dicking 55 iiiechanism adjustable to cause said sh@ttles to crose, the lay in direct superposed relation. 13. In a weft,replenishing loom, meaias to provide tipper tnd lower warp sheds, a pair of sliiittles opei-ative in said upper and lower sl-ieds, stil)ei-posed,boxes for said sliuttles de- 60 fining flights of differeiit lengths, the boxes at oiie side of the loom being out of verticil -ali(ynmeiit, ind septi@ate iveft cai-i@ier li'lagaziiies for s-,ii(I lattei, boxes, disposed at coi,- i-esl)oiidiii-ly (liffereiit olevations iiid it dif- 65 fei-eiit dist,.inces from the adj,,tcent clotli selvages. 14., In a weft replenisliing loom, iiieans to pi-ovido iipper and loave@ ivarl) slieds, t pa,ir of ,Iiiittles ol)ei-,itiNe iii sild,iippei-,iii(i lowei, 70 slie(Is, siil.)erl)osed I)oxes for said shutt,les sl)a(@e(i tl).ti-t to define fliglits of (liti'et-ent l(@n,@,tlis sel)ai-,tte iiieaiis to indicate iveft exllall"tioll in each sbuttle ' at one side of the looiii, an(I sel)arate 1-iieans-t(@ insert a-fi-esli 75 -%vef t, carrier in in ii-idicated shuttle at the ol)l)osite side of the looiii, said latter n,ie,,Lns i,t s@iibstint',,tlly differ@,lit (list(tnees fi-oiii the I(Ijacent clot]) s@lvto-es. 15. Iii a@ w(,I@t i-el)lenisliin(,,'Ioorn ii,ic@aiis to 80 I)i-ovi(l(@ til)l)et@ ,.iiid lowell Wtrp slieds, ,t plir of s)iiittles ol.)erttive in said upper -,tnd lower ,Iieds, siil)ei-I)osed boxes for s.Lid shiittles spaced ,tpart to (lefine fli(vlits of different 1(,ii@,yt,lis, separate iiieans to indicate weft ex- 55 lia@i'stl'on in eacli sliuttle at one side of the looiii, and sel),irate means to insert a fresli weft cari-ier in an indicated @huttle at the opl)osite si(le of the looii-i on the next for%v,.-Lrd 4cit of the lay, stid 1,@ttter ii:leans op(,l-- go ating, at siibstantially different distances f roiii the adjacent clotti selvages. 16. In a loom, a lay, a pair of sliuttles, I sliuttle box at on6 end of said lty, stibstantially twice the lengtl-i of the associated 95 sliuttle, a second and sliorter slluttle box superposed on said first box and I)ositioned over the portion of stid first box near the adjad box b@ing botli permit iiisertioii 100 er, azid means to in eitlier shiittle. 17. In a iveft replenishing loom, a lay having a plurality of superposed shuttle boxes at one end thereof, said boxes being s ubstantial- 105 ly out of vertical alignment, shuttles for said boxes and rneans to replenish the weft in aliy one of said boxes by direct downward movement of the new weft supply. - In testimony whereof We have liereunto af- i lo fixed otir signaturles. ARTHUR P. PAINE. HAROLD L. BLANCHARD.

Описание

[1]

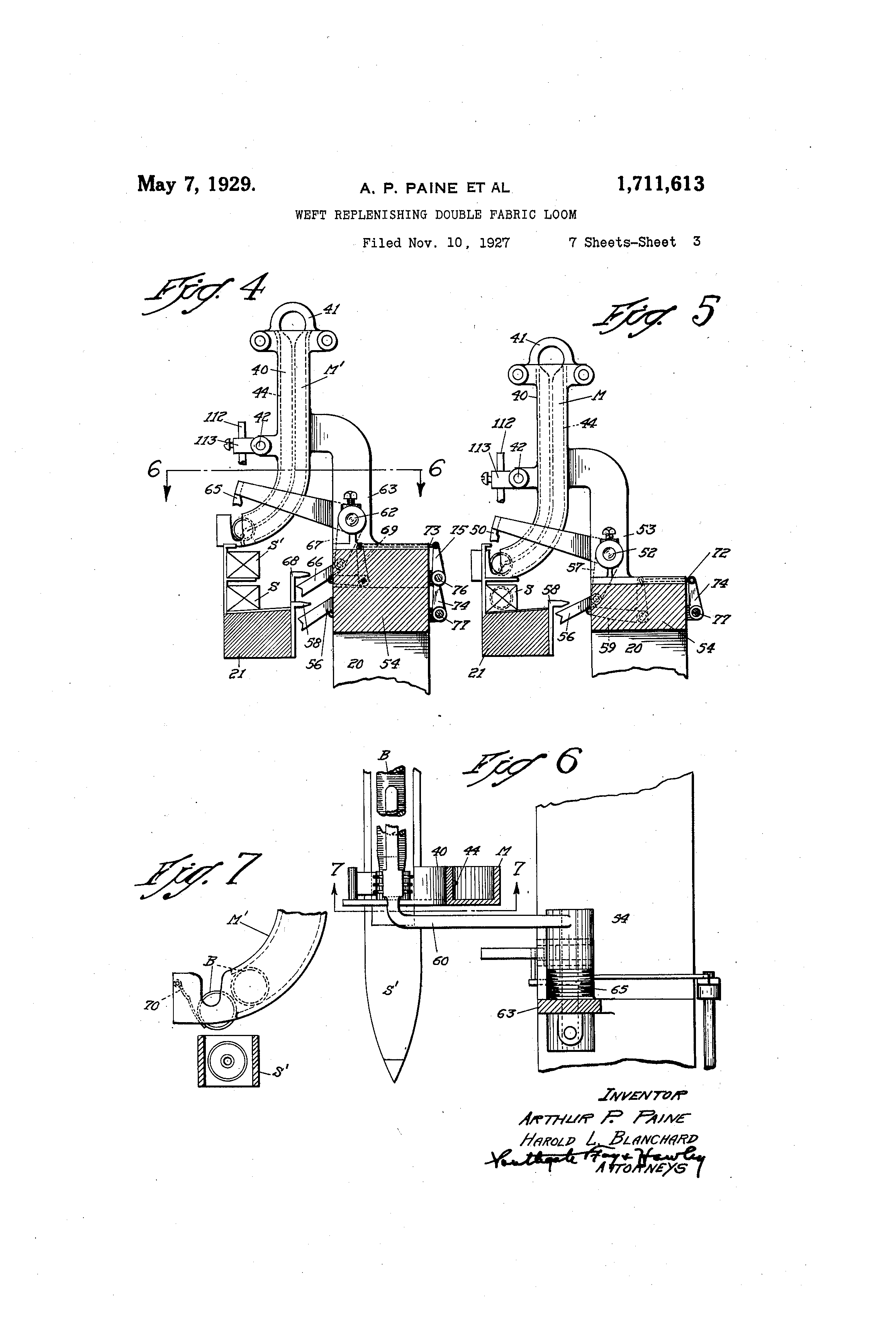
Patented May 7, 1929., l@711@613 UNITED STATES PATENT- 0 FFICE. ARTIIUR P. PAINE, OF WORCESTER, AND HAROLD L. BLANCHARD .. OF MILLBURY, MASSACHUSETTS, ASSIGNORS TO CROMPTON & KNOWLES LOOM WORKS, OF WORCESTER, NASSACHUSETTS, A CORPORATION OF MASSACHUSETTS. WEFT-RE-FLENISHING DOUBLE-FABRIC LOOM. Application filed November 10, 1927. 1 Serial No. 232,421., This invention relates to a looi-n iii Nvliicli t doiible f abi-ic ni:iy be woven I)y the iise, of two slitittles one of wliieli travels in the lower .,,Ii(@d and the other in tlte uppe.t, slie(l. Stieli looiiis qre commoiily used iii the siinultaneoils production of tin,o p.ile fabii(@s, stieli is pltisli, velvets or certain kiiids of A looiii of this (,eiiei,al t3rpe is -,Iiowii in the I)t-ior 1),tt(@i-it to SliiittleAvortli, No. 354 358 lo 1)(@(-eiiit)er 14, 1886. It is the general object of oiir I)t,egent iiiv(@ntion to provide weft repleiiisliiiig iiiecliaiiism for stieli I loom, b@y wlii(,Ii the weft in of - the Lipl)er or the lower slitittle iiiay be 15 tiit@oiiiatically replenislied upon indication of Av(,,f t e.- .\hiiistioii tlierein. A ftii-fber object is to provide iiiecli,,ini,,iii iloi, i.ii(licatiiig siieli weft exliaiistioii iii (,,itlieil.@litit,tle .1111(l f,)r coiltrolling the ol)ei-,ition of illi(@ Nv(@fti i,el)lenisliin(, meelianisni. We litve ..Iso I)ioAided improvements in the i)iclking pti-ticiilarly applicable to the 1)iii-I)os" of this invention. Oiir iiiveiition ftirther relates to arranae25 iiid ebilll)ipations of part,s -wliieh will 1)(@ liei-eiii-,tfter desel-ibed and more particu1.@ii-lv 1)oijite(I oiit, in the al)pended claims. A. pi-efel-red form of tlie'invention is shown intho iia which 30 Fi,i. 1 i,, L front elevation of oiir improvetl iveft rel)lenisliingmeelianism,,ind portions of tlle loom to whici@ it is applied; Fig. 2 is a. plan view olf the niecli,,tnism s@llown in Fig. 1; 35 Fi 3 is a dettil end elevation@ loolcing in the direction of the arrow 3 in Fig. 1; IA'i g s. 4 and 5 are sei3tioDal eiid elevations, taken @lon(y the lines 4-4 and 5-5 in Fig. 2, reqpective]7y; 40 Fig., 6 is a parti,,tl plan view, taken alon' the line 6--6 in Fig. 4; Fig. 7 is a detail sectional end elevation of cei@tain parts, talcen along the line T-7 in Fig. 6 - 45 Fig. 8 is art end elevation of parts of tho looln, showidg the pielking mechanism - Fi-. 9 is a. fi@ont elevation of the-picking itlecii.inism sliown in Fig. 8 Fig. 91, i,@ a diigran-in-iatic view, illustrating 50 the type of fabric to be woveil in oiir impl-OVE@d loom; Fig. 10 is a p4rtial plan view,,;Iiowing weft (letectin( v n-lecliaiiism adapted for use in otir t, iinpioved loom; Fi(y 11 is L (lia(,rainiiiatic s tioiial eii(i t;5 @,i'ew) '@'iaken aloiia the Iiiie 11-letein Fig. 10; Fig. 12 is a front elevation, partly in section , of tlic@ wef t detect,ing illecliaiiisin, ta@eii siibstanti iII37 along lie line 112' 12 in Fig. 10; Fig. 13 is i, I;iaii v eNv of p'arts of the iiieclia- 60 iiisin for transmitt iig aii iiidi(,ation to the Aveftrel )lenisliin(,i clianisi-n; - Fig. 14 is a sectionql end elevation 7 tikeii alonothe Iiiie 14-14 in Fi-. 1.3 - Fig. 15 is a partia,l plin vi9ew in'dicttiiig the 65 relative I)ositions of tlie,,-,Iiuttles when bo-xed; Fi-. 16 is a sectionil end elevation, takeii ilong the line 16-16 in Fio, 15 and Fig.' 17 is a ii v ew Si ' mil@ir to Fig. 16, biit slioiving t.lie 1).ti,ts ini diffei-ent position. 70 1) a to l@'igs. 8 n(I 9, ive liave iiidic,,tte(l,a I)ortion of a loom frame 20 haviii(v t lay 21 iii.oiinted upon,,i roelc shaft 22 aiid (@onnected by arnis 23 to a craiiksliaft 24 by wliieli it is swung forward and rearward in the usual 75 manner. 'rlie shuttle S (Fi(,. ga ) travels b 'ack and forth- in the lower slied of a double pile fabric, between the lo-wer warl) threads W and the middle w,,irp tlireads W', wliile a sec'oncl sliiit- 8o tle S'travels in the opening between the iniddle ivarp tlireads W' and the upper ivarp threads W2. The lav 21 is provided with gtiperpos6d shiittle b6xes 26 @nd 27 (Fig. 9). Tli(@ sliiit- 85@ tle box 26 tinderties an(Isiipl-)oi-ts the box 27 and extends to the right thereof as indicate(-l in Fig. 9 and the top and bottom of each shuttle bo:k are open, so that a bobbin may be freely inserted in eitlier sliuttle or ejected, 90 therefrom,by direct downward mo-Vement. Sepa@ate - ickers 28 and 29 (Fig. 8) are provided for the, shuttles S tnd S' respectively, said pielkers being mounted to slide on the usual spindle rods and being act-Liated by separate picker sticks 3'0 and 31. The sticks 30 and 31 are sepai-ately pivoted on.tbe rocl<, shaft 22 of the lay an(I are provided with off set portions through whi@l@ they are actuated by pick levers @32 and 33. These levers, liave pick cam plates 34 positioned for encrageinejit by,rolls 35 and 36 on crank arms 37 @na 38 secured to a bottom or cam shaft 39. The sliaf t 39 is commonl arranaed' to rotate once for y 95 100

[2]

6very two revolutions of the cranlcshaft 24. The cam roll 35 has an adjustable bolt and slot connection with-its crank arm 37, solthat the timidg of the pick for the shuttle S may be varied relatively to the timing of the pick fol- the shuttle S". - I it is desir,,ible that tlio iipper sliiittle I)e siil.).stantially siip(,rposed iipoii tlio loiier sliuttle -when iii fligl-it, in oi@der tli,,tt it 'nay io be stipl)ort,-,cl- tliereby dtiring its travel aci-oss the lay. ConseqLiently it is necesstry t@I)at the tnvo pick motions sliould I)e so tiinecl thit the shiittle S will begin its fliglit, sli(,Iitly I)efore tbe sblittle S' in oi@der tl-iat its inay adi5 vatice t@o a positio-n iincier the ghiittle S' a's the latter slitittle begins its fliol-lit. In oi@d(@r t,o secure this exa6 -@-tiiniiig, the a(Ijustable bolt n,nd slot connection of the roll 35 to the arm 3'i is pi-ovided. 20 Referring now to Fio-s. 1. tn(I 2, -Nve iitve pi-ovided a simple magazine M to rel)lenish the shuttle S and a similar magazine. M' for 25 the -,hiittle S'. Eacli of these m-, ' igaziiies coinprises a liead plate 40 ,ind ,t suppoi-tiii". I)Iate 41, seciired in spaced relatioii by tie 1-ods 42. The licad pl.,Lte 40 is pi-oN,ide(I witli a groove or chaniiel 44 (Fi@- 1. 6) to j@eceive i.lie. 30 biitts of the bobbins tnd the siil)portiiig I)late 41 is provided wit]-i a similar groove or eb,,tniiel to receive the til)s of:the bobbiiis. 'rhese grooved channels are preferably siib,@tanti.allyyei-tic,,tl in their upper portions ai-id '5 se(yinentally ciirve(-l rearwardly intheirjower portion-,, as indicated in Fig. 5, so t,liat a bobbin inty b6 delivered tliereby to a position for direct downivard transfer to the shuttles S or s 40 A transfei@rer 50 (Fig. 2) is. provide(I for the i-na@)-aziiie M, said transferrer I)eing pivoted on a stti d 52 molinted in a bricket 53 secured to the breast beam 54 6f the looin. A 'COi@respon.din(y transferrer 60 is provi(16d for 4,I) the ina-azine M' nio-Linted on a stud 62 on -,i bi-acl@ot 63 ilso secured to the bi-east 1)e,,im 54. Coil spriiigs 55 and 65 noi-mally hold the transferrers in raised position ai-id eacli tra@nsferrer is provided with a latch 56 or 66, 5o mounted pn % depending ari-n 57 or 67, connected witli the correspondin- trinsfei-rer. The latebes 56 and 66 are positioned for engageinent with Iii(,s or da-o-ers 58 and 68 on the lay 1)1, each latch I)eilig inoved ' into the path of its lug or (lag-er Lipon indication of transfer. e crive-wa3, sf Suitabl , )rings 7.0 (Fit:,. 7) are provided for yieldingly retaining the lowermost bobbin in eacli ma(yazine in position for 60 tran,-,fer until en(,rao-ea .incl forced dowiiward by tlio correspoiiding traiisferrer. The 1,Ltelies r)6 ancl 66 are positioned by bell cranks 59 ind 69, which in turn are connecte'd by links 'i 2 and 73 to arms 74 and 75 mouiated 65 on upper and IoN@,er indicating rock'shafts 76 and 77. The shafts 76 and 77 extend alonthe front of the loom to the opposite side of the loom where the iveft detpeting mechanism is located.. 70 TVeft deteetii@q,i7zec7tanism. On the ol@I)o,,ite si(le of tlie loom, two superI)o.,@(@(I sliiittf(@ I)oxes 80 ire, pi-o@idecl. in wbich tlicsliiittlesS,,tii(IS'i-aay-I)ereceived. These boxes 80 are (Iii-ectly over e,,tch other and they 75 are of the coiiiiiion type used in the ordinary cloiil)te ;Iitittle loom. Superposed iveft dete(,toi,,.-; of ai-ly iisuit] tyl)e Lre provided, t,li(, iil)pei.- (letector indicatin- the conditioii of the wert iii the sliuttle S' ,ind the lower de,- 80 to(@tor giviiig a correspon(ling indicttion for the sliuttles. For.illustrative plilil)oses, we liave sliowli '.I eoiiiiyion (,,oiyiiii(-@i-cial foi:iii of si(,Ie slil) Nyeil-, deteetbi-, each detector coi-aprisin(v a, weft-en- 85 o,a(rlD(, iiieiiiber 82 motinted to"slide freely t'lir,oii(,Yli a fi-oiit @.Nvii,el blocl@ 83 oi-i t staiid 84 aii(I ,ilso sli(ltblo tlirough a wide slot 85 in a re,,ir slippoi-t 86. .,k block ST'is n-ioiinted to sli(le ti-ansvers(,Iy in the rear support 86 and 90 is provide(I with a notch 88 closely en(,a(,in(t the iiii(Idle portion of the detecti@cy i@6m-be'@r' 82. A spridg 89 s@ii-rotinds the rn@ember 82 tii(I is iiiterposed I)etween the swivel bloel@ 83 aii(I the cross-I)iece. 90 oi-i the inember 82, 95 tliei-(@by foi-eill"g the detectiii(r meiiiber rearwal-(Ily until the cross I)iece Z!D 90 engages the reaistipl)ort 86 and -,iligiis itself therewith. If the weft engal(,,ing meiiiber 82 encouriters ,L bobbin Jitviii(y ,@liffi6.ieiit woft tllci-eoil, tile 100 end of-the member 82 enga,cres the Nveft and is cai-ried directly forwai-cl-tliei-eby, cauginlittle si(le-inise inotion of the notelied blocl-, 87. If, however, the weft is substantially exhtiisted, the niei-nber 82 slides alonu the @ur. 105 face of the I)obbin, tllerel-)y causiii(, slidin(r tn' Diovc@iticiit of i,he block 87. The blocks 87 are coiiiiecte(I I)y link8 99 to indicatin@- pliingers Tli(,, 9'3 are sli(libly itiiotiiited in sul)ports-91 an(I 95 (Fi(r. 13) whicli V- 110 ot(,@d respective@y, oii ariiis 96 and 97 which@itre fixecl to the indicating rock shafts 76 and 77 previously described. An aettiator 100 is moiiiited to slide adjacent the ends of the indicatin(r plul-igers 93 and is pi@ovided with 115 sholilders 101 ancl 102 for engageiiient with said ljliin,-ei,s. The actuator loo is i-eglilarly moved forwai-d and rearwird by a c-,iin 103 (r, ig. l@) acting tlil,oiigh an aettiatini)- levei104, a link 105 and a bell crank 106. 120 TVelt guiding device. P,,eference to Figs. 15 ancl i6 -%vill indic,.tte tbatq clear pttli mtist be provi(led un(lei-neatli the shlittle S', so ihit aii (',xli,,tusted Iveft 125 carrier 13' iiiiy be ejecte(I dowiiwirdly witlioiit eiio-.9 (yi'n (y @)i- bi ". e,,il@iiig the -%itoft F exteiiding to the bol)biii 13 ii-i t@ie sliiittle S. As the weft F for the sliiittle S ivotild naturally exteiid directly 1-iiideriieitli the glitittle S',- as 150

[3]

fi-oiii tli(,, titt;le S', so that it inay advance and tili:e a position uiider the 25 sliiittle S' as the latter is ])icl@ed, and so t@li,,it it may provide a suppoi.-t for the upl)or sliiittle tliro11(@liolit its fliglit. LI The sliitttles til)on iri-ivitig t,t the ol)po,n,ile s@de of tlie. looiii ai@e i-eceive,(l iii tlic,, boxes 80 I d ii-e en,)-aged I)y the detectiiig 82 (f the tippei, aiid lowet detectiii,, in(,(.Iianisliis. i zn Ifl- the w(@ ft in eitll(,,r ,;hiittle s siibstaiiti,,tlly exliaiiste(l, the coii-espondin(y- iyieiiib6i- 82 .,;Iil)s sidein-ise, 1)1-ojectin(y t,lie coii,c-,I)on(iiii(y 35 I)Iuii(,,er 03 iiitb the patli of t qlioi-il(Ter of tiic ,ictiiator 100, whereiipoii the plun(,er and its as,so(@i@tted stipport 94 or 95 is ptislied forroelcing tlie coi,i-e,;I)ondin(, sliaft 76 oi77, tind p(,,sitionin(y tlie coi-i,esponding lateli 4o 66 or 56 in the patli of the dacr(,ei- 68 or ")S. The i.sqoeiated traiisferrer is tliereby deI)i-essed, ti@,ingfei-rin(- fi-esli bol)bin to tlic@ exliaiisted sliiittle. It will be seen that the weft supl,)Iy in eitlier 45 qlluttle inay thiis be replenislied @pon aiiy ,tlternate pick aiid tllat the replenisliment of e,tch slltittle is entirelyindependent of the i-eplenishment of the oflier sliuttle. Furtherinoi,e, it will be seen that tlie, replen isliment 5o ttkes place immediately upon the returii of a sliiittle to tl)e magazine side ancl one piel@.only ,if ter the indicitioii of weft exliatistion. By the provision of very simpl.e ineeli-,inisin, we are tlius al)le to automatically i@eplenisli 5!') the Aveft stipply in eitlier shtittle of a double fabric lo6in, .t i,esiilt of great importance in the development of the textile art. Htving thus descril)ed oiir invention and the advantaues tliereof, ive do not wish to be Go limite(I to tlrie details li.erein '(Iiselosed otherwise than a,s set fortli in the eltiiiis, but wliat )v.e.

Как компенсировать расходы
на инновационную разработку
Похожие патенты