claimed is: 1. In a teleplione system, a line, means f(,i- seizing said line and for connecting a rin(,ing lead tlierewith, means for applying riiigin- c iiri-ent ii-itermittently to said lead' associated wi s aiid i)-ieans, tli ,tid line and kesl)onsiv,- to the intei@mi.ttent current applied to said Iclad to apply ringing curi-ent to sai.d. lin(, fi-oii-i another source. 2. T@-,i ,t. telepl-tone system a line, me,,i,ns for seiziii(,,, said line a'nd for connecting a rin(-iii(, lead tlierewitl-i, means foi, applying rin-in _L), etirrent i iitermittently to said lead and iiieaiis associated with siid line and resl)oi-isive to the. interniittent cut'i,ent appliecl to said lead to make a single applicati-on of rin(rin- ciiri@ent to sai(I line. 3 . In a telephone systent, a, line, meaDS for sei.zing said Iiiie ,ind for connecting a i-inging lead tliere-Nyith, iiicaiis foi@ applying riiigin(,r etirrent intermittently to said lead, alid iiieans associated Nvith said line an(l' i,esponsive to the intermittent current, applied to -,iid leacl to make a single '.Ipplicatioii of riiigin(y Curr, I ent to said line of ,i i),5 len(yth o-o-,,ei-ned by the length of the interval, elap:sin,,; b(,,tNveen successive applications of riiigin(r current, t6 said lead. 4. In a teleplionc,, system, iL line, means for seizing said line and for connecting a ringing letd therewith, mearis for applying riiigiii(y curi-eiit intermittently to said lead, me@nsass6ciated with s,,tid line and responsive to the intermittent C urrent applied to sai-d lead to n-iake a sin,-le application of ringing current to s,,iid line of a length approxil@ately equal to the lenc,@t-h of the interVal elapsing between successive applications of rin(ying current to said lead. t!l 5. In a telepbone system, ,t line means for seizing said line and f6r connecting a rinq@ing leid therewith, means foi! applying rii,@ging ctirrent intern-iittcntly to said lead, ancl riie,,iins associated with said line and responsive to the interniittent current appl.ied to said lead to make single application of ringin(, current to said line of i leno-th substantially _ gi,eater than the len(,Yth of -,t sin!@le applicaiion of ringing current to said lead. ]2i) 6 ' In a telepbone system. a line, nleans for seizing s,,tid lide and f@r cotinectiri" a rinring lead therewith, means for applying rin,-ing current intermittently to said lead, ,tnd means associated with said line and re- 12,-@ sponsive to the intermittent clirrent applied to said lead to apply rinoin- clirrent to said line dtirinone sille@t p@rio@i ,ind dlirino- an adjaceiit ringing period. 7. In a telephone system, a line, means iLi) 70 7 1,676,469 7 for selzina said line and for connecti@ig a rinuing lead therewith, iiieans -i'2ol, applyiji(; ringing current intermittei-itly to saict 'Li-,ac'@, I ,tnd coiinting mechanisi-ii for appl.yint. ing curreiit to said line i-esponsive to the ringincy current applied to said lead. S. in a telephone system, a Iiiie, iiieai-is 'lor n 0 seizing said li e and for c a in- lead therewith, means for applying rin(,... ing current intermittenti.y to said lead, aiid counting relays controllecl by the appl'catioii pf ringin curi-ent to said lead to apply rin@,,,-- 9 ing citi-i-ent to said line. 9. In a telephone system, a line, means for seizinu said line and foi- coni-iectinc,- a ing lead there-with, means for applyiii@(,' LTig current intermittently to said lead. counting relays controlled by the application of rino-ing current to said lead to appl3, 2(, ringing current to s,,tid line, tnd aiiol-lier counting relay to terminate the applicitloyi of riiio,ino, cui,i,ent to the line. ,@ 2-, 10. In a teleplione systeni, a line, ineiris foi, @eiziii, sai.d line, and for coniiectin(, ,t t@ t, 2@5 ing lead therewith, means foi- appl3,in(@ rin(,-ing current intei.-mittently to said lead, mearis associated ivith said line and i.@esponsive to the intermittent current applied to said lead to apply ringino- ciii,i-eiit, to saicl so line aiid means controlled by ,t o,l s,qid line to termiiiate the al)plicatioii of rzn-iho- cui@rent@ thei-eto. Z7, 11. The method of settincy u a telephone @? p connection ivhich consists in automatic@.i!13, 35 selecting one of a plurality <)f lines and exteiiding a coiinection to that line, in signallirig an operator at the distant, end thereof automatically responsii,e to the establi.sliment of the connection, ancl iii maiiually 40 applying ringing current to said line at the distant end of said line to si-lial a sub-Qcr,.o--P, tliei,eon. 12. In a telephone system, i plui@alit3, of Iiiies, a triinli line a e<)iiiiector sivitch l'or 45 coniiectiiiol iiith a line or with said triiiilline, a ngiii- niacliine, means associatec, with said coni@'ector for coianectin(y said macliiiie intei-mittently to any coniiocl,-C(l line, each rin(,ino- period being fc)lloived by 50 silent period, alid means et'ective Nvhen th(,, coiiiiected Iiiie is said ti-iink Iiiie foi, col-@iiectino- the i@ino-inomachi.ne to the line diii@in,-Ytile silent periocl folloivin- the first rin,,in(, peT,-iod. 55 13. A system as @:et forth in cla'iii 12, @ii which the means for codnectiny the c-,i.ri-ent to the line d-Lirin(,y is actliatecl i@esponq-i-%-c, to rin(-,inL@ cLivi@eii-I i-, - ceived in the first period aiil i@@. (ieC,o --ctuated responsive t6 ringing c urrent receivecl in the second i-ir@giii- per; @od. 14. In a telephone system, iiiies. another line, means for connectin- with any Iiiie, Z7, tomatic ringino- apparat-Lis for iiitei,-rnittentl v 0 sl(,Yn,,illin(y any line connected %vith, and means associatecl ivith sii(I otlier Iiiie ai@,l responsive to i-ino-in(yciii,i-ent in ',-lie rijio-ing pei-iod a@-tel- the lille is coniie.,--te(i w itli for applyinc@, rinoin(y etiri-ent to t'i '-- rn 1-1 line ovei- ,L dill'ereiat I)ath as sooi-i as tl,.e s@-t; @(i 70 i@iiigiii(r period is over. 15. In a coiinector sivitch, ,I rin(. cut ol'I iletwo windiD(,s, one ecl la3, lini-iig 21 the cii-cuit and the o'ulier beill(' Z-1 0 @ding, a b,,Lcli: bridge relay. a el't 75 1 cl@ina ivi o-ff i-elty foi- dise@oniiectiiio- said b-icic bi-i@,o-e i-clay, and off normal spi-iiigs i,(,- sl)onsive to a particiilai.- settiiio, of s..iid (,onnector for connecting said etit oi'r i.-c,!,,ty III parillel with the said lockin(y of 8( said 1-in@., ci-it ofr i-elay. 16. !II a telephone system, 'L lide, iiioans for cyclically appl3Tina i,ino,ino, curreiit to s,,iid line, eacii cycle consistino- of a bi- a s'lei-it pei-io , anc p,@i-'ofl foll@oiA,Qcl 1 '35 nieans in the line operated i,espoilsive ',o the fii-.,st '11) zn plicit-ion of the ringiii(y curi.@eiit to establ-tsli a cii.-cuit for appl3,111(' rill(,ill(y Clillreiit to s,,iid Iiiie duriii(- the ciitii-@@ folloavZ71 in(y sileiit period. 90 17. iii a telephone systeill, a line, n-ienns foi- c3,clicall@, applyina 1-iiio,in- etli-i,en'c, @-o 7. said Iii-ie, eacli eyete coiisistlil(, of I rill(riii, pei-iod followed by i sileiit pet-iod, illeaiis i-,i the line ol)erated respoiisive to 'Llie @)5 first application of the riiio-in,), cui.rent lo establish a circuit foi- applying i-in(-in(- c,-Lii-- -, t-- rejit to said line durin- the followiii(- silent t@ LI pei-iod, ,Lnd respollSiIT(I to the n(@.xt applicatioii of rino,ino, current for renderin(- sai('l 100 first n-ientionecl means iiieffective. 18. In a telepl-ione system. a li-iie, means 4@or cyclically appiying rin,)-ino- cui-i@ent -Lo said line,, each cycie consistinu of a rin(Ying zn Z-1 od followed by a silent periocl, aid iiiea-,Is 1 0'5 . in the line operated resl)oi)si-ve to ti.ie -cii-st appli,-ation of the to es'@at)- lish a circuiu for applyiii,)- ringiii- curreii'Lto sa-l(l line durin- the foJlo-r,@ing silelit per-lod, Li-pd re.sponsli,e to a slibse-,itient applica- 11,@ tion- of rino-ino- current for reiiderin4)- sa:id firs@L' nientioned means ineffective 19. In a teleplione s@,stein. :@iiie. meiiis for cyclically app,.),in!@ i-in,,@in!@) i@o said Iiiie, each cycle coiisi,',t!nL@ of a -@inginoperi6d follo@Vecl by I sileiit pot-ioci. aii([ xi-ieai-is iii the line ope,,@ated responsive to 'Lli(@ first application of the rincyin ciii-re:,?- @lo establish a eirerlit for ,,,pp yil)" curn , Zn -ie dtirin(y the silet rent to said Ili I -1 L 12() Pei-iod, and i-esponsive Lo the ne-,@'@ tion of i-ingii-io; etirrei-it, or @-lo the i)ri-or anE;ii-ei-in(@ of the call, foi- s,-tid mentionec[ mea-,as inefYeet,@ve. 20. T@-i ,t telephoiie ,@ystein, a sw@tch. (TI,OtLl) cf Iiiiec@ acec-S@-,ib'ie to siid sivltcli. -,inother -roup of lines accessible to said @,,Ivitcli. means iiielucled i,.i the switeli foi- .9eiziilu line 'ii e'tlier Ul'OUI), meaiis foi- periodicallv applyin(r ringiiiu curre-,it to the seizect lille', 13U 1,676,469 -in(I means respoiisive to the periodically appliecl rin,-ing current to a li.ii-, of the first ,:-,ro,,I,p for cau,-,iDg the(-.,oiit'nued app I I.ication a. tiiilc, siibst,,tnof tile current fol. ,I r, t':ally ecl-tial to a complete i,'ii(,ino, c@,cle. 21. In ,L telephone system, a slibscrib,ei@ c,oiiti.,o'.c - siv'teli li iig access to a i-iumber .LI C[ of o[@ -Tneaiis for selectin(y I cle,- ed li-@ie, meaiis coi-niiioi, 'Lo all the lines for 10 p , ( @ i - i o ( l i c a l l y c i i r i - e i i t t o r i n c y l l n ( , o the fi i,(@,@pon,@- t rst al)- oi-' as@,,ocia't-ed oi-ily 'tl,i, 'ii of 'lie lines to catise tlil, ,tl)pliivi t, of ciirreiit the ii-iterval r) l'olloAA,iii(, tlic,, fir@@t applicatiDIl Of l@inf,riii,- iiic-,,in,@ i--t--,,@poit,,,ive to t-,'ile secojid v,l)pl.l(-,ttion of' curi-ent to citise tli(,, cli,,,@coiineetio-ii oil. tlie. @4ce0iiCL ii,,,,iiied ii-icaiis fioiii the line. 20 1),2. iii i, toloplioiio syst@@iii, -t giibscriber coiiti,c,',I(,@l h,,tvii-io- ae.ec,,ss to ,t iiiiiiibeiof Cf lilies, m(,ans foi.@ @@electi-iiy a (I.eSi]-ec,i I ne, ]ii(l@iiis coi-ninon to all the Iiiies for po@@,io(lical.ly applyiii,(,r riii@,in(r ciii@i@ei-it to 2C) s,,,,i(i ].]lie, means resl)OnFiv@ to the fii@st pt;cati.on o-f j-litgin- cui-rent associated only v@,itli ecrti,,@ii ol@ tlic, Iiiies to caiise the "tl)])li7 0- cation oT the iiiterv:,i] ,@ I fol.IoAl'ill,- @lic first applicatioii of i,in@@ing ii irid me(iiis i@esponsive to the second ai)pli.eati6ii of or to the I?rior anol@ e@ill, to ciiise lic, "CO]II savel III") iec tioli 6f ti-lo seconcl named mcaiis from tlle, line. 35 @93. li'l i telel)lione, system, a, Iiiie, a (,rotip of lines, ,t switch including wipei-s arraii(-ed to setcct ,t clesired line of saicl (,Potip of l@,ics, iiieans f,,)l@ i)ei-lodie,,tlly ipl)lylll(Y riill)"@ilg I 11 curreilt to the selected line, and m-lails for 40 coi-ine-etin(y the wipers witl-i the first line a pilecl(,teriii,ine(I period of time after the -%N,ipers select the (.Iesirecl line, said period of time being i ftinct,ioii of the 1),-i-iocl of the riiiging current. 4r) 24:. li-i a telephone system, ,t 1-i.,-ie, a group of Iii-ies., a switch itieltiding wipers arran(led a desired Iiiie of said to select groLip of lines, meanc,, for periodicallv tl)plyiiig riiagiri(r n current to the sel-leted Iii-ie means for conto necting the @vipers ivith the first Iiiie a predetermined I)eriod of time after the wipers select the desired line, said pei-iod of tinie beiiig approximately equal to one rin(yinc, cycle. 65 r). Iii ,L telephoiie systeiii, a line, ,t o-ro-Lip of liries, a sw@teli iiieliiclin(i, \Nipers arranged to select a desired line of said (yroup of lines, i-neans for pet-ioclicilly applying riiiging etirrent to the selected line, Yneans for con60 nect[ii(,, the ),vipers witli tb.e fii-st line tipon the an,,@Averin(r of the c,,t'll or -L predeteim@ined I)eriod of t;n-io after the ivipers select the desired line, said period 6f tii-ne bein(r approxim,,itely eq-Lial to o-.ie rinin, eyele. 6 r) 26. In a telephone system, a group of for calli (r a desii,ed I n_ @ne, said meaiis iiielticling i, source of E. M. F., ti n so,.irce of ri"!- I" E. M. F mea s for periocl'cally t I p p l@ii'n-,, to said lines both of sa'd E. M. l@'.'s simultancotisly follonved by the 70 fii-st of said E. M. F.',s alone, mi,,,,ins renderii-i,r s,,i,'@d first iiamed E. M. F. iiieffective, effectiit'e upon a siibse(liient applica-' iipon the prior tioi-i ol' li@. M. F. or the aiiswei,iii of call to i-encter s,-tid first 5 iiliilec I F@. M. F. effective Lnd inean@,, PeSI)onsiire to ilie fii,st n,,iiiied E. M. F. for ieii(leriii@,, ,,@,iid irst iiai-Ded me ns ' effective a in 27. Iii a teleplione systein, a gi@oup of lines, ii-ieiiis for calliii,, a des]T-ed Iiiie, gaid so n-te,.iiis )'i-.tcli[din(-r t Fotii-ce of E. iNt. 1"., a. of rin(ritig E. M. F., mealls foiperio,,IicLi-ily al)l)lyiii@.- to sai(I lin(,,s I)Otli of sai(l, E. Al. l@.@s siniilltaneot'isly followed by the lit-@@t 6T si@id E. A@lf. F.'s tlone, ineans lle'nder- 85 iiir iaid first iiame(I E. @ M. @F. inefrective, ii-io-,iiis effect(ii,e til)on ,i siibseqtieiit aliplicatioll (,)f i-in @_,iiio; l@,. Al. F. to render said first iiaiiie@"L Al. l@. effective, ,tiid means responsii-c to tlio, fit-st i@taiyiect E. M. F. for render- 90 iiif- fii,@@t iianied rneans ineffective. 28. Iii -L telel)lione system, a, line the two of i-vh'Iel, are in non-tall@ci.n(,r i-elation111), iilc, fo,,, intei-mi@tteiitly )-, applyino, s@l i-iii(-Ijil to @the lide, and ineans i-eto the secoiid ap@li.eittion of ringiii(, ciii,r(,,iit or upod. tilprior ansivei-ino, of tli,-, call to i-eiider said first nar@ed m.(@ans iTioffectii,e and to bi-ing the ends of line into t@ill@ing i.elttionship. 10( 29. Iii a telei)boiie systerh, a Iii-ie the two eiids of iAIiich ai-e in non-talli:ing relat onsli@lp, means for inteririittentl y "Pplying rii-i(-ring current to the line,,and means resl)orisive to tli@- secoiid aljpl]6ation of ring- 105 in(, current to i-ender said first naiiied means iiieff(,,-tive and to bring the ends of line iiito t-ill@in(--, i-elationsliip. 30. In a telephoiie system, a coiinector, a Iii-ie accessible to the connector. means con- 110 ti-olled by the connector for pro , jeCtiD(r i,lno,- irig etirrent over the l'iie over eitlier of two I)atlis, oiie of sai(I patbs includin the talk9 in(y coi-iductoi-s of thG, coi-inector ,tnd the other patli exel-Lidln,-, said' talkino, condile- 115 toi-s. 31. Iii a teleplioiie svstem, a conne-Itor, a Iiiie acce@.,sible to the connector, iiieans for cycl'cally ,il)l)lvin- rino-ing ciiri-ei-it to the line 01'C.,r til'e ta"ll@in-- coliductors of the con- 120 nector, means coiitrolled by the Coiinector for aj)l)lyiiio, to the line ovei, a liatli exclu-ding the tallcing conduetors of the coiinecto-i-, and means for shuttii-ig off th-, rin(yin(y eiirrent at the nd of 125 oi-ie cycle. In iNitne@,,s ii,hereof, I hereunto subscribe my naiiie this 6th day of June, A. D., 1925. JOHN WICKS.
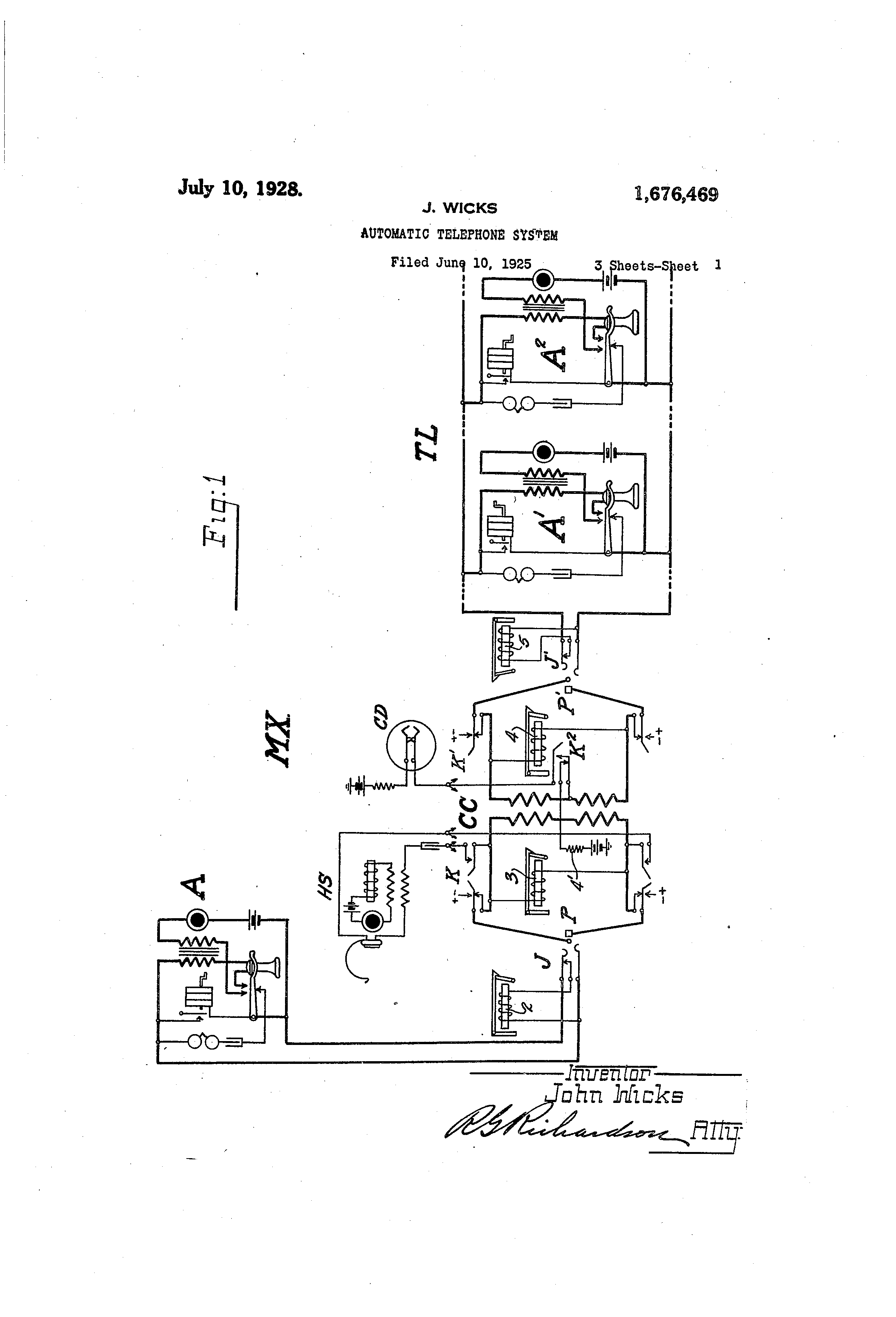
Patented July 10, l@028. 196769469 UNITED STATES PATEf4-T OFFICE. JOHN WICKS, OF OAK PARK, ILLINOIS, ASSIGliOR, BY XESNE ASSIGNBIENTS, TO A-UTOMATIC ELECTRIC INC., OF CHICAGO, ILLINOT.S, A CORPORATION OF DELANVARE. AUTOMATIC TELEPHONE SYSTEM., Application filed Juiie 10, 1925. Seri-al No. 36,069. The present iniention relates to autoiii,,ttic teleplioi-ie systeiiis in o'elieral, but is co)icerned more -particularl7 witli '@eleplioiie systeins including so-called privateautoiiiatic exchanges; and the principal feature of novelty resides in the provisioii of an efficieiit ,trradgenient for iiiterc6nnectin a privtte au'tloniatic exchano-e and one oi- iiiore iiiaiiu,,il exchanges by meaiis of trunk lilies having io stibscribers' statioiis thereon. Oiie object of the invention is the provisioli o-f. a stiltable circuit ari,,in.geiiieiit i'@oi, titiliziji(, the i iiteriiiltteiit 1-iiigiii!-)- etii-i-eiit suil)- plied at the P. A. X. for sigiialing callecl i5 subscribers to coiitrol the ti-ansmissloi-i of a siiigle long applicition of rin(,iiig clirrent to a truiik line leading to a iiiintial office -wlien the iiianual office is called from the private autoinatic exchailge. 20 It is a further object to accoiiiplish the above result by ineans of a coul-iting arr,,tn-elilent positive in action and co,-ltrolled over the regular interiuitteiit ringing lead. Another object is the provision of the eir25 cuit arrai@geniel-its -whereby the .tpplication of riiiging curreiit is telrminated upon tl-ie response of the operator' There are otl-ier objec@'Ls and feat-Lires of the iilvention Nvhich will becoliae appai-ent upon 30 a 13erusal of the following descript.io,.i. Referrilio- now to the accoiiipani,iii(y di,aivill(,TS coliipiising Figs. 1-3 in Or@iel- for @he draivings to be unders+loocl best, Fig. 2 should be placed, to the i@i-aht of Fig. 1 Z3 ,tiid Fig. 3 should be placecf above Fig. 2. When laid out in this m,,iniier these clra-wings represent t manual exchan(,e sh6wii in Fig. 1 and abbreviated as M. X. ancl a private automatic exchange shown iii Figs. 2 40 aiad 3 and abbreviated P. A. X.. to(,etlier iiith the truiik Iii-ie TL intercoiiiiectin(r the tw,o exchanges. Referring now to Fig. 1, this drawing shoiys a staiidard iiiauneto teleplione stib45 statioii A and the associated Iiiie whicli teriiiinates at maiiual exchan@re M. X. iii the jack J. The trunk line TL terminates in the jack J'. Thi-s draiving sho'Ws also the cord circuit CC for iiiterconnecting the jacli:s -50 J ajid J' and. other jacks (not shown). The cord circuit is pi,ovided with aii ,iuxiliary head set HS and t calling device CD, which are, of course, comii:ion to t-he cord circuit CC and to the otlier cord eircuits (iiot slio-wn) - ra 5 T,'te substatioiis A' aiid A-, coniiected across tlle triink lilie TL are similar to the substation A. Fig. 2 shows the coiiiieetor C in the P. A. X. which is operated over the trunk line 60 TL froiii the manual exchange i-q. X. to extend a connection to any oile of the lines teriiiiniting iii the P. A. @Z. This colinector switeli is of the usual vertical and rotary type, liaving ba,iil@ contacts ari-aiigecl ill llol-- 6 r? izoiit-Ill rows or len,els. From ,t circuit staiidp(int tllls connector is of the ivell l@i-iowi-i tWo IAT ii@e t,ype, its Particular ille@t'llod of control being a simplex@control over the two sides of the trtilik line TL in parallel. 70 Fio,. 3 shoivs the autoinatic substation A3, too-etlier with the associated line which terminates at the P. A. X. in the line - s-%vitch LS. The Iiiie switch LS is of the well knoivn rotary non-restorinu type, liaving 7.5 wipers 209-211, which are zn advinced -Lipoli the restoriilg stroke of the steppiiig ma(ynet zn 208. The connector C', accessible to the line switch LS, is similar to the colinector C, 80 Fig. 2 except that, being a local connector, it is less complicated on accouiit of the fact that it is liot associated with a two-wiy ti-unli: and it is further simplifiecl iii that it. does iiot have the arrangemeiit fouiid in tlle 8r, coiinector 0 for translating the interrupted rinaing current into a single applicatioii. Altlioli-h only one manual exchan,-e is shown, icis to be assumed that there 's at least one other manual exchan e accessible 90 froin the P. A. X. over @"runk lines similar to the triink line TL. The truiik Iiiie TL is accessible to t-he connector C' in the "O" level of bank contacts. Tt is assuiiiecl that there is at least 9,,) one other trunk line such as TL coiinecting the iiianual excliaii(re M. X., Fig. 1, witli tlye pi'lvate alitoii-iitic excliaiage aiid that this trunk line is associated with -.t coiinector similar to C and is also reached from the ii)ti "O" level of bank contacts. It is assumed ftirther that tlle other trlink line I)e'L@veoil the manual exchange M. X. and the - privat@@ automatic exchange P. A. X. also bas tt number of substations similar to A' ancl A'-' 1, connected th@,rewith. From this it will be 2 1,676,469 apl)areiit that a stibscriber l@n the P. A. X. desiriiig to ctll ol-ie of the stibscribers oii one of the trunk Iiiies betiveeii the iNi. X. aiid, the P. A. X. should knonv @"he iiuiiiber of the ,5 ti,uiik line of the desired subscriber'. That being the case the truiik lilies TL, etc., appear in the bai-il@s of the coliiiectors iii tlle sanie manner as ordinary stibscrib(@rs' lljics, and the codnectors are not ari,,iiige(-t to ro1( tate over busy trliiik lines iii seti-ch of aii idle oiie in case the oiie called is biisy, ts I this Aioiild reslilt in a cojineet'on to the wrong Iiiie in case a coiiiiectioii is want(@(I to oiie of tlie ii-itermediate stibst,,ttions, stieli 1,3 as A' and A2. On account of the fact that tlio, coniiect-ol--s are'not i@eoiiired to supply t.111@iiig battoi-Y ill the direction of the@called siibstatioit oii calls extende(I over the trunl@ lines such 20 as Tl,, the coiiiiector C' is providecl Avith :t etitoff i-eliy 223 'which operites on ctillis to the t(,iifli lol,,cl of tllc, coniiectop baiil@s to ge iiiipe(liii e'222 ctit cff @'u-1-ie bacl-. bi@id . -rlie c ell[-OR i-elty 104 o-f il)e eonilectol. C, wiliell 25 ol)erates iyl@en @the triinl,- Iiiie TL is s( I ,ized to etit o-,q' the ba li bridbe iic,!,iy '105, @ilso ol)er-,ttes oii calls ovdr tl-le truiik line TL ,,n(I throi@,ghithe, tenth level of tlig, (@@)nii(-,ctoi, C to cut off the @b,(tek briclg(@ re@lay 105 iiixl to I)y 30 pass fhe talltiii(r coii(leiisers 117 tn(I 118. The ii@vc@ntioli hai,ing been deser'fbed ei@,illy, a detailed dosetil)tion of tl4e opel@,,tti6n of the ,tpl)arattis 'shown Niill iioav be -ii,eii For this'ptirpo-o it will be tqsuniecl tli the si-ibsi@riber at s-Libst,,ttioii !V iii tlio manual exchange M. X.) Fi&. 1, desires to converse with fho stibscriber@ at slibstatioii A-" iii the @ rivate "Llitomfttic excb,,tiige P. A. P X.@ Fi-. 3. 40 @lie'subscriber at substation A oper,,ites his liaiid genotlitor thereb i-ojectiiio- i,in y P @4- iiig cutrent 6ver Ilis 1;.ne to operlite:@tlic (Irr),) 2 at the opei-atoi-'s sN%ilteh-bo,,.trcl, aftei, AA71iiell tlie@si,ibselL'ber i-eiiio es his receivei,, tlicr(@,b I v 45 conilectii-i(r tip tli6 iieceiver, aiid energriziii(-, tllc ti-,tnsiiiittor 'frotn the local b@ttery. Wbei-i tlle operator notes the opei-,,tt'ed cond;ti.on, of tb.e dv6p'2, she ilriserts the plug of aii idle cord eircuit, for extrnple, the I)Itig 50 P of the corcl circuit CC, into lacl@ j tlic,i,eby etittino- off the drop 2. The operatot ii6w throws her @ombiiied listening an@l r i ngin(y key IC into @li@tening,- I)os;.tion, tliereb'y cornecting her listening set to ithe tftlking 55 strands associ,,ited A,,,ith the liltig P. The opcrator @noAA, convet8es witli tlif,, callliig stibsci-iber and asoettaiiis @the nu,,iil)(@r of the desired subscriber. Upon learining that the stib,,,oriber at 4stib10 station A3, Fig. 3 is fhe one dosired the, olderator restores her key K iiid irisetts the, plu.o,, P' into a jack a@so6i!itod NAith an idle oiie tt the trunk lines, connedtin@,, the e@xcliange M. X. to'tho -exchange P. A. X., foi. example, the jack J', thereby cutting o:ff the drop 5. It will be noted that the insei@tion of the pltig P' into the jaelc T' places batt(,@i-y, obtailled throtigli tiie tnvo i,iglit-liaii(I -%Nindings of tlle repeitiiig coil o@f the coi,(l (,,ii-cult CC iii iritiltiple, on @tlic talkiii(r coii- @c) dLICtOl'S of the ti,uiil@ Iiii(,@,TL. A(Tor(tiii(YI@r, tllc- battei.@y poteiitial is ext(@iided on,-er thct@vo coiid@ictors @at the trunk Iiiie TL aii@'i illirOLI(Ill the left-hiiid win(Iiiigs of the repettiji(, (,-oil associated Avitli the coiinector ',15 in -ryiitltil)le tncl the r(!stilig (@,olitact iiitiiro 1 ' 33 to Iiiie relty 106 of'tlie co.,inec- I tor'C. Liii(@, r(l@lay 106 a'ceoi-dificyly enet4),IZ(IS tiid it armature @141 closes a 61retiit :for i,6@ lease i-elay 107. Ilelease relay 107 iionv (@j@i- 60 ergizes and at trin,,ittire 144 prepap@s the saiiteli foi- opei-ation; exteiids groi-iiid to ti:- iii,.ittii-e 149 of relay 110 at 14') tnd ,it armatui-e 142 disconnects r(,Ic",,Isc trlink 'condiietor 172 fiom clit-off i-el,,iy 104 @.5 and coniiects it to the ground i.nsteid tlici-et)y preparilio' locliill()' circuits for rol.,Iy t@ @ 109 aiid a iLiid 112, ni k iig the truiik TL busy to the conliectol's. In tli.e inaiititil excliange@ the oi)erator no8v @u (@liroavs hei.- ctlliiig device Icey K 2 , tllereb.@, cl;scoiiiieet,in(y the battery thilotitfli the i-esist@'tiic(, 4 froin the riglit @liand wi.ii(lings,of thf,rcl)ott,ing coil and substittitii-io- battery thi-otigli the comi-non CILIliii(r device!CD. 1,@,5 Tli(,@ opei-ator noAA, iiiaiiiptfl,,ttes her calliji@,r clea-ice CD iii accordanco, Avitli the fir,@t di,@j!i, ol' thG, deSi7 i-ed nltrlnbor, tliereby op(@,iiiilg the eirci@iit of @line rc@la 106@@6f tbc, coiiii6@tor,C y a coi,respon,dis- iiuinbei@ o@f titiies. el Each tliiie its eirotilt is ol.)ejiod, Iiito:reltiy @tO6 fills bacl@ ttnd @,,it t@i,niattir(,, 14 t clos(,s circuit tliroti(rli ai-intittito 144 , n its @Norkilig contact for vei@@tictl maonet 121, the cii-cuit ,it tlle time of the first clostii-e inellidi@nc, 106 the eciit@ict @tnd of-T no@inal sprirtor 120, relay 108, @in(I vettlctl m-,igiic@t 121. By@@tlic opei-,itioii of ,rertical i-yi,,ignet 1211 the Avi-pe i z ei-s 159-161. ai-e rai,,z@(,d opposite llie (I s'ii(, I leN,(@l of baiik conticts. Rela 10S i,@ etier- iio gized iii sei@ies witli vertical @tnti(ytiet 121. . tnbeino,- s!oai, iit,,tiiit-,tins its trni-,ittire 14F) tit @the iertical 1110\7C-Mell' attra(--tc@cl tIAloligho @, I tliereby i-fiaintaining its own tii(t that of the i@ertical n-i@igliet ijitact after the i ir, off noi-iiial springs shift, is the3, do itipoii Lit(! first iertical step. iVt the end of the vertical moi7ement, reJay 108 falls bick and it arii-ittlire I 4r) sli i ft,@ th , e opei-fttiii,-),, concliletor fi-oiii the @'ei'tictf@l inagiiot to tile i,otti@y, inagnct. Wheii i-lie calling operator ditls the next and last digit in the desiretl ntimber, the coi!i-esponding sei,ies of imptilses is tr,,ins. niltted tbrotigh arniattire 145 lt'nd its restiiig colit,,ict, resting contict and armLtur(,@ 1,@')O, and arni,,tttire 157 -,fncl it8 @rostiiig coiitict to flie rotar.Y iiiaopet 122. Accordingly magnet 122 oper,ttes to rotate the @,vipers 159-161 step-by-step into engagement with 0 li676,-"A9 tile b-@tnk c6ntacts 162-164: associated with @Llic line of the siibstation A3. Relay Ill is eiiei---ized iii iiiultiple inith rotary iiiagnet. 122 aid, bc a@iiig sloin, tetiiib-, ii-i,,tintains its 3 triii,,ttitre tractecl tlirclugriout the rotary inovejylelit. ,Vt its @irlilature spring Ir)2, relay Ill dlscoliiiects fest iviper 160 froii-i tli(, tcst iviiidliig of rel,,ty 112 and connects it iiistead to the b-Lisy rel,.Iy 110, aiid at ,Irlnaio ttire 153 places .t slitijit ai-otijid the i-estirig cojit,,tcl aiid ai-iiiatlii-c 1,,-)O s6 as to iiiaiiitaiii its oivii eireiiit and tlitt of the rotary m,,i,,- net 122 I'ntact during the i-ot,,ti-y inoveiiient iii case bLis3T i-elay 110 eiiei-o-izes becalise of i5 test iiiper 160 passino, over bue;@y test contacts. n At the end of the rotary inovement, the busy rela3, 110 is elielglzed in@ease the callecl Iiiae is busy,- ,tncl it @ is cleenergized iii case 20 the, &,tlled line is lclle. Asstiniino- fli-st -Lhat th6 calle(I line is busy, btisy relay 110 is or.ei,gized thi@ouo-h test ivipei- 160, aiid, -N@,lieii the ,@low' a.et-iiigri,elty Ill falls back, a lockiilg circuit for busy @relay 110 is closecl iv, Iiicli 25 iiieltides the ivorl@in,, coiittet aiid ai-inittir(, l@43, armattii-c 149 and its ivoi-kin(, coiitict, aiid the noi-m,,tII3, clo@sed coiitacils controlle(-l by arm,,tttire 152. Accor(lin(I-ly, relay 110 remains locli:ecl up and the furtlier opei-ation of rotiry magnet 122 is pi-eveiited at arli:ia-ion biisy-sioiial'n(y ture 150. Also the coiiiii I Z, conductor IT6 is coiinected at ariiititul-c 151 to the lower lieavy talking conductor to inform the callin,,)- opei-ator that the desired :i.,, lilie is iniecessa'ble for the time be' Assumijig noiv that the desired line is iclle ,-Vhen called, busy i-eldy 110 is not energized when the ivipers of the connector C come to rest oii the bank contacts 162-164. Iii this 40 case, when rela37 111 f alls back it completes at armatlire 152 -i circuit for the @tipper Nvinding of relay 112 as follows: froni (yroi-ind by eD iv,,ty of the woi-l@ing contact at arli-iature 143, ai-iii@iture 149 ,ind its restiii(r contact, upper 45 winding of relay 112 restin(,y cojitact ancl armature 152, test wipei@ 160, bank cont,,tet 163, coiidlictor 169, relay -201 of the liiie s-",itch LS, and stepping iiia6-net 208 t6 battery. Rel@ty 201 energizes over this circuit, 50 btit it is un@Lble to opei,@tte completely o-v@,incr t, to the mechaiiic,,tl interlockiiig @irr.Liigement (not shown) between its armatui-e p,.,oper ancl that I of. the -Linoper,,ttecl line relay 202. Accordingly, all the restiii(r coiitacts of re5,5 lty 201 are opened, but iioi-ic of the coi-itacts ,tre clo,,;ed, ivith the result that line relay 202 tnd groiin(I are di.1"eoianected fi-oiii the called I.ine, btit the wipei-s of the sw'ltc'il are iiot connectecl up.@ 60 In the coniiector C, sivitcliin,, i-elay 112 energizes over tlio above tracecl eireiilt and closes at trmatiire 156 a sel-f- locl@iiig e'rcuit f ]-Om the grounded coD(-Itictor 1'12 through its lo-wei- winding; discoiinects rotai-y magnet 65 122 and relay- Ill at arrin,ture 157; places dii,ect gi-otind on test iiiper 160 at armtture 155; @ind at arniature 154 aiid, 158 coiiiif-,cts tip the in,ipers 159 and 161- -@N'Ilel'CtIpOll ring7 iii,,r eui-i-ent froi-@i the riii(ying lead I'@5 is i@,- tci-lilitteiitly projected out thro,,ioli.tllo Lipper 70 i,,-iiidiii(, of i-in(- etit-off relay 109, tlirough ii-ipei- 159 to rin, the bi-idued bc,,Il at slibsL ition Al, and it i-etiirhs throii,(-h wiper 161 'co gi-ouiid at ariliati-ire 148 aiid its 1.C"3tiii@, I coiilact. 75 Wheii tlle SLibscribei- at stibstatioii A:' i-eSt)-ll(:Is to the i-in(,in(, of his bell 't)y reiiion,- iii- his i-eceiver, i-iii- eiit-off i-clay 109 ptills tip aiid closes at irmatui-e 147 a lockii-i,(,,, eircuit forits lower windin(y and at armattiies SO -ipers 159 ,ind 161 146 aiid 148 discoiinects w from its own upper winding and (@,rol-ind and exten(Is theminstead throtigh armatures 135 ai-id 13-, to the wii-idings of the back bridce relay 105, ,ind also, of course, to the talking cireuit. Back bridge 1-olty 105 noii, pulls til) over the called line, but its opor@ttion at tlilis tiiiie is inei-ely inciclentil ilid it tliereforc, acts only iii its capacity as a battery fee-d inipediiieci. Altliougli ,It tllis tliiie tilel-e is @)0 connected parallol i@,ith the tipper wii-idin,, of 105 it series circuit iiieludiiig the r(,Itys 101 aiid 104, this circuit is of iio effect d-Lie to the hi(rii resi,,staiace of those relays. The talking coniiectioii 's iiow complete 11.@ aiid the subsci-ibers tt stibstations A aiicl A3 iilay jiow converse with eacli other iii ally manner desired. When the convei.@sation is tei-iiiiiiatecl, the two stibscribers replace their receivers. Tli(,, I;ii) i,(,,I)Iacln,- of the recein,er at slibstation A@, i.-esults merely iii the deenero-ization of back bridge relay 105 of the conn-ector C. When the rece@ver is replaced at substation A, the subscriber there,,tt turiis his h,,tnd I u;j cenerator in order to operate the di-op 3 iii t'lie cord circuit CC. This oper,,ttion serves 'uo ,ittract the attention of tlae operator who ptills down @the connectioii. Responsil,e to the removal of the ltiP' Ilu p @, fi@om the jack J', relay 106 of the connector C falls back tnd opens the eiretlit of the slow actin(y i-eleaqe relty 107 at @irmature 141. Rela 107 falls back @ifter an in,"-erval tiid y at armature 142 breal@.s the lockin,, eircuj' U 115 of relays 109 aiid 112 -",hercupoi these relays, fall back. At,arinatui-e 144 relay 107 coiii1,)Ietes a cii-etiit tliro-Li(,h the oiT iiormal coi,.- tacts 120 for i-elease ma(yiiet 119 wit-h the i,esult @ th@l t tIJ6 coniiector C is i-estoi@ed to its i-)[) iioriiial positioii in the iisu,,il maniier. Consiclei-i@-ig noiv a call, froiii the substation Al to the switchboai,d of the operat-Dr iii the manual exchtnge M. X., Fi-cr. 1, it iv@ill be assumed that the stib,.Scrlber at sub1 ;25 station A3 desires to co-,iverse -,i@ith the subscribei- it substatioii A', Fig. 1. Accoi-(tiii(@-lv, the stibscribei@ ,it substation A:' i-emoves his receiver and dl,,ils the liumbei, as@signed to the trunk line TL. 13U 4 1,676,4($9 Wh(3ii the @receiver is removed it si@ibstation A ]@ine i,elay 202 of the line s-Nviteli LS pulls up over the ctlling line aiicl closes at ariiiati.ii-e 206 a circuit fo@r switchin(@ rel,,ty 201 'i and stepp'fdg iiiagiiet 208 in series, it tl-ie 8ame time coilnecting the test ivipci@ 210 to the jtiiietioii of relay 201 aiid ,@teppiii,-@- iiiagPet 208. Tli(,, restilt of this is tliit 1 '@ .0,1,ty 201 ptills tip aii(i scizes the trtiiili oii wli@ch the I @I wipers are standiiig iii case this trtiiik is idle. RoAvever, in case the trunk is busy, relay 201 is short eireiilted iiiid does not eiiei@,,Ize. Iii this latter ci@ise the sclf-i i-iteri-Liptin(.y iiiagnet 208 is operated OA7er test @A,,ipor 210 to ad1,@ vance tlic, -@vipets 209---:-211 @step by stc@p iii search of ali idle truiik. Asstii-iiiiig that the triiiil@ coii-iprising coii(I,t,,etors 212-214 is the first one fouiicl to be icll(,, stel)piiig iiia(-Ilet 2,08 ceases to operate this trunk is reache(l, @nd switcliin(, i@e'i,,ty 201, being iio lon,er @hoi-t eirciiite(l. ]@)tLIls lip ill so,].-ies ivitb niagnet. 20S ANhicli iri,,t@ynot, lioiv(,,YGr, is tiii@tl)lo to opertte at tili,g tilne oit accoutit o,f tli(@ Iii,,Ii 25 o.. i,elay 201. Upon elle r,izi@l(,r i-(,Iay 201 el)(,@iis the test eireiiit, aiid 1)rep,,ires the holdiii(y eireltit at arinattire 204, @tiicl it at,i,,l,iture '203 tind 20,,) extends the c,,illiii!,, Iiiie thr6ti,@li wipers 209 aiid 2.11, tnd coii30 cliictors 212 a-iid 214 to the I.ine i-elay 221 of- the coiiii(,ctor C'. Line i-cla), 221 noii7 ptills up over t@ho calliiig line and closes @it armature 251 a eirettit for release relay 224. I'telay 224 iio-@i, onergizes ,ti-id closes the irnlial 35 circuits it ai-ii:iattii@es 2"-)5 tiicl 256, tind atarinatiire 254 o,roiiiids tlle, release truiik con(Itictoi- 9-13 'tlioreby establishing tl-ie iisutl 11011din(y eirellit for the lino siiitehLS bef6r(@ thc, sloiv actiiio- Iiiie i,elay 202 h,,is had time 4o to fill back. The c,,illin- subsei,ibe@r iioiv cli,,tls tlile first CLigit 0 ii-i the desircd iiui-nber. The dialiii,,of the @first digit 0 restilts in tlie cirei-iit of relay 221 of the connector C' being inter45 ruptecl ton times. Each time its circuit is interi,ul)t,ed, rcl,,iy;221 f,,tlls back hnd closes at armtiture 251 a circuit for vertical magnet 231, the eireliit at the tirne of the first closure beinthrotigh ,iriiiatLire 256 and its 5( -"701'kiiig coiitact, contact ,tnd off normal spring 233, series rolay 225, a.-ad N,ertical '131 @to battery. The opei@atioit of i-play 22,,@) aiicl off normal spring 233 iii sliiftliig the ill'lpillse eireliit from the vertical m,,tgnet, to the rotai-y magiiet-, is the stime iii this c,,tse as iii the cise of the connectoi- C. A,Iso ', the ol)er,ition of the veftic-,il magnet 231 resillts ii-i this case, as before, iii the wipers being raised opposite the desired level of bank contacts. Wheii the@calling s-LibscribG@r dials the second and last digit in the nlimber, the impuls s of et-irrent are trai-ismitted througli , e the rosting contact and armature 262, and armature 268 and its resting 6ontact to rotary magnet 234, which is cohnected in multiple iiitli tho, slow acting i-elay 228. By the opoi-ation of @magnet 234 the wipers 271-273 rot,,tted step by stop until they come ilito engaglemeiit ivith the baiik contacts 'i 24'7-@?i9 associited with the truiilc lirie 'rlj. Piel.ay 228 is energized in mult.iple witli ro-net 234 so as to bi-iiig -tbo-Lit the t@ki'l, mti( ' t@ oL)C'ratioii of the busy i-clay 227 iii case the I.iiie is busy and to bi-in- about the opei@atioii of i-elay 229 in case the line is idle. AsSLIlhillg ttic ti,unk Iii-ie @rL to be idle, the deciier,,izatioii of rel-,ty 228 at the ei-id of tli,@, rotary movemeiit results iii thc, cloof a circuit as follows: froi-n groulid Fo b37 NA,ay of tl-ie working contact aiid armatitre 255 of release relay 224, ar.iiiature 261 tnd its resting contact, Lipper winding of relay 229, i-esting contact and arma@tui-c 264 test iiiper 272, bank contact 278, conductor 8 r) I't2 Icading to the connectoi- C,, ' FI(y 2 armatlire 142 aiid its i-estiiig c,oiitact, and cutol't ielay,104 to battery. IZel4y 104 eiiei@,,izes over this eirettit and cuts off t-l-te bac'k @i.-idge rel.a 105 at ai-mattires 135 and 137 90 y 7 at the same time connecting up the alteri-elay 103 at armatltre 136 A@,hicl@ relay 103 is now connected iii a bri(ige aci-oss conduotors 171 and 1,73 which is closecl tlii'louffli coiid@ ser 11@6, relay 10,3, 95 e@ 'e-D -@i,orkii-t(y contact and ai-mattii-e 136 aiid armatiire 132 @and it,9 i@esting contact. In the connector C', relay 229 pulls up over the above traced @eircuit; closes a lockin(r eircliit for its lower winding at ,irma- 10( ttire 268; gi-ounds test wiper .272 @at armatiire 267; ciits off magnet 234 and relay .228 at ai-mature 269; and at,,tirmatures 266 aiid 270 connects up the wipers 271-273. As, soon, after the abov6 operation of re105 lay 229, as the interrupter rolay associated with the generatoi- G operate8 toplace ringing current on conductor 175, the rin(ying current is transmitted through the up'per -%vinding of relay 226 a;nd ;out over - Vvipet 110 271 to conductor 171. This iringing curi-ent passes through the two right-h@ind -%viiidin(ys of the repeating coil associated with the connector C in series and @it return,-, to ground over condtictor 173, and throu_gli 115 Al,iper 273, tiid ,trmature and its @resting cont,,ict. The pissage of this current throiigh the right-hand windings@of@@the re,pettiji(,, coil restilts in ringing current going otit over the triink line Tlj from the @leftl- 12( liai)d windings. The alternating current relay 103, 'wbich is connected in a bridge of condtictors 171 ,ind 173 is operated by the ringing cuirent aiid it @oloses at armature t34 a eiretlit 125 througli armature 127 and its @resting contact for the upper winding of relay 105. Relay 10.5 now @energizes and locks its upper winding @to ground through the working contact ilnd :BrinatUre .138, -reltty 101, 13(i 75 1,676,460 norm,illy closed coiitaets controlled by armattire 131, left r.,cjntact and si)rln-.- 11-3., resting coiatact and trrnature 142 and the groii,.icled normil conductor 172. This locl@in,)- cii-ettit Is not called ilito play zn at 'L-Iiis tiiiie oii accottiit of tli.- o-rotind pote!l@ial suppliecl to tipl,)el. ivinciii@g of relay 10,5 0,,@er its iiiltial eireti't. Bela-,7 105 also slitliits the ics@ing cont,@.et and irmattire 132 10 of i,ioiay 102, at. armaliij@e AA7!ien I-,lie r-il-ilylll(y ig iiext removecl b,,, tli6 iiitei@i,t.il)tei- relay is,--,ocitited AA,-itli the geiierator CT. Fiff 3, rel iv 103 -1" @ills bacl;@ and (pe,@ic, the @,iiitial c;rct,it of- tlic,, tipper Avindiii of relay 105, -",Iiei-eupon the IOC]i:ID(.1 circilit tl)i-6ii(,Ii ai-initulc 138 and tlirou(,-'il relay 101 becon-ies effectivc,. :.@ecordino r ;ly, elay 10,@) renjains energi7ecl incl relav 101 enei,(Yjzes; clisconi-iects armature 134 from 20 rel,,ty 105 and coiinects it ii-istead throuffli the closc-d c()ntict,@3 con'L-.,olled b @i-iiia1.7 1,30 to i-ela,; IOL9: tiicl ,,t 1'-)6 ai)cl 128 di.scoiiiieets tlie, i,it),,Iit-liajid Avindinas of the i.@e eat@iig coil fi-om coiiditctoi-s 171 f" 25 aii(I aiid.(-.oiaiiect,,,@ tli(,ni to the iioii-ii-iterrupted iiii ncondtict@)r l't4 tiifl (,i,oiiTl(]. respectin,ely, at the saiiie tiine removinu t', gi@oitiid fi-oiii, ii-iiiatti-,@e 141 o-f i-el,,i), 106. dtti,iiio- tli(, eiitiveI sileiit pei@io(i 30 ill ttle X ' rino,iii- citrretit is projectea @' t' the @trtii-il@ Iiii(, TL ouL oi,or . to opei.-ate the brid(red (:Irop 5 assoel'a'Led ivitli the jack J'. it 11 be undoi,stoocl that the volta-e of th(, (yenei-ator G is 111@el to be il-itieli Iiigliei, 11 35 dui-iii-, illiis pei-iod tliaii di-irin the reo-tilar 9 riii,)-in-- I)ei-iocl on acco-Liiit of the fact that the i-olta-c is likel.), to be loiverecl duriiig the I'eO'Lllll@ i-ing:iiiL,- pei@iod iii case several loc. Itl lilies fire [)el@z sianallecl simultayie40 ouslv. Upoii the ne-@,t @nereiz,,ition of the interrul)tci, i.@ela@- associated wtli thc, (,enerator G. Fig. 3, the alte,,@iiit-lnf,y curreiit relav 103 of tile C i@ operated again aild it 45 clo@-es ,it tlii@,,, t@Lm@ a, 611@cuit T-or relay 102 at arinatiii@e 13-1 tlirolit):b @irm@i+liii-e 127 and its coiitact ancl throviuh the normatlv (@,@-ose-d col-it@lctg conti-ollecl by armqtlire 130. Accoi-diii,)--Iv i-elav 102 oner,,ize@,, 6( an,., clo@-(?@ ,i eirettit for it,-,,elf at ariiiattire 1,30. -,t the same time ol)cning its initi@il the ii-iitial ei.rcult of relay 101 aiid closes a iie-w circuit for tlii,,; rela@l- ,iiid 'Lor the lll)per -winclilig of relay 55 inciticle,--- the -",ol-l@iii(y contaef and arriiature 1,31, ai@mati-ire 127 and its woi,kino,coiii,act aii(i ,trinaLu,,,!e 131 ai-id its workin(y colitg,ict, OI)elis at ari,.-latuie 132 th(, @oniiection. i'l@lay 103 and conductor 173, leaviii-., '(,-Iiis conneetioii i-ntact thi@-ouo--Il armattli-e 1,9j9 and its ivorkiiig contact of the lockc-(] ,!l,) 1)ac'@,- 1,,iicl,-c relav 105; (lisconne(-t,, i,(,Iav a't ai-i-natu,,,e 133 aiid at arii-intul.@e l@-@19 the co-llc,[e-,lser 116. wheret7,pon t-l-ie rint-etit-off -elay 226 of 'clie connector C' pulls up in so]-ics ii,itli rel.ay 103 ,ind d-l,,'7,--o-iiiiects tli,@ 2i-.1, aiid 273 froin riiio-iii,- ciii@rent ancl fi,oi-i-i grou-.icl. respectivelv. and connects them to the talkiiic@irciiit. @@lso. silice tli(, 0 @' [OVel SIILjt 7( sprin(ys h,,lie been closed, upon the i-aisii@,(,,, of the wipei-s of tl-ie connectoi- C' 0,I)POsice the teiitli le@-el, ctit-off i@ela-- 223 ;s in; multiple witl-i tl-ie lo@idn(-,- ivindinu of i-ina-cut-otT reldy 226. At ari-iatures 259- 7,5 aiid 2,-)3, i-elay 223 cuts off back bi-;d@@e i-elav 222. fii the coniiectoi- C i-elay 10'@l lje'lll(Y no Ion r 'nel eircitit (le I Lided in aii odei-( izi clue to the opei@atioii of rel,,tys 226 an(I 2'@3 of the coiinector C' falls back aiid ol)eiis the 8( cii-eiiit of relays 101 ,tnd 10,5 at armatui.-e Wlien th's o curg, relays 101 d 105 134. 1 c an fall bacl@ and relay 101 rei-noves the riligin(y current from the right-hand repeitin- coil -windings. 81") U oi-i noting the opei-atii-io@ coiiditioi-i oil p the drop 5, the ol)erator ill the mailllal excbano-e M X Fi(- - 1, inseits a of ,tii idle ord circuit, foi- exa@iiple, the I)Iil(, p, c of the coi-d circuit CC iiito the jaelc i', g(li tli6robi, etittin(- 6fF tjie di@ol) 5. It iaill be noted that line relay 100 of tile conliectolC is not o eratecl at tllis time oivin(r tothe p fact ttiat it is discoiiiiected at armatlire 133 9;", of relay 102. The operitoi, noni, converses -witli the calliii,, subsei-lber, and wlie , ii slie leai-ns tlia lie (le,,,ires to converse, witli the s-tibscribei@ it substation A' she throivs bei@ riiio-' I iny key K', a number of times correspondl'ii(,- to tli(, particular code assi-neci to the slibstatiod A', for example, three r'lnw folloi-vel-I by tl-iree other rings after a I)ause. Wli ell 'LI-te subscriber at stibstation A' removes Iiis receiver. the coi-lversatioii 1-_Q ',', -)T pi,oceecl in the usual ma i-ier. When the conversatioia is teriiiinitecl., the two stibscribers replace their i,eccivei,s. Wlieii the i-ecel@-ei- is i-epl,,,ce(I a'L stib,---,tation A' the stibscriber tlierea4@ ttii,ns Iiis ],,ind lit) oenei-ator so as to opertte the drol) 4 o,,i tlae ri it haiid s@l(le of the cor(I eircut CC. Upon obsei-ving the operatecl con(li@io,@i of this di,op the opei,,ttor pulls do-wn the coiinection. 115 Al@liei-i the receiver is replaced tt subst,,,-tion A3, Fig. 3, lirie relay 221 of @llie co,,inector O' faflslback and opens the eiretilt of iele,,ise re'ia,, 224 at armature 251. T-'tel@easc@ relay 224 iiov,- falls bacl@ ap cl removes -7@oullcl 12(J from condtictor --913 at @armatili@e 254, ilpon i-elays 2,26 tiid 2-@9 fall back. '@k'llen relay 229 falls back it removes )-i-oi-ii,,d fi-oi-n test wiper 2'@2 ai-id con,@eci-Lientlv froir@ coiicliietor I'@2. llheii tb;s occui-s tl)e locl@ed til@ 12,@ relay 102 of the conne,,@tor C eiid etitof-V relly 1-04 fall blel4c. li-i IL-,lie connector C', as -.. i'tirtiier i-esilit of IL-lie cleenergizatio@.i of relic-,,ise re!-,i3, 224, the usu,,il release magiiet circuit is clo@-ed at 130 armatiire 236 tlirotigli off iioi@mal coiitacts 'I@'32, wl"th the result that the coniiectoi- siaitcli is releised to its normal position in the Co.nsidering iiow a-ain the call just coniI-)'ieted, no mention was iiiade of the operatioii Nvhich occurs in case the operator responds imniediately to the operation.of the (li@ol) 5 n,nd doe.,,, not wait for tlig, cessatioii f the 1-iiioin- curt-ent 10 o when it is autoina t'c I i al y elit off in tl-ie P. A. X. as above de:-,cribed. It will be noted tli,,it i,elay 106 of the connector C is iaot discoiidected ui-itil 102 pulls up near the eiid of the ap1 .5 -,)Ileation of the rin-iii(y eiirreiit and cuts ol,f i@etay 106 at armature 133 as hereinbei'orc potliited out. Accoi-dingly, in case, the opei-ator plu,()-s in stibseqtiei@@ to the 6p(,,raof I-elay 101 aiid before tiie operation 2(@ -)f relay@ 102, relay 106 opei,,tt,es aiid shlints 116 at arjiiattire 140, bi@it it is not able to opei,ate i-el,,ty 107 at ariiiattire 141 o-@viii- to the pr evious operation of arina tiii-c, 128 of i@elay 101. 2r) When the conclenser 116 is shunted, relay 103 on(,rgizes in series witli the upper wilidiii(y of rincr-cutoff i.-elay 226 of the cont, tn -nectoi.@ C' ,ind closes at ai-mat-Lire 134 a cii-ei,iit tlirou(yl-i ai-inature 127 and its working 1( (,,ontact to7opei.@ate an(I loelc iip relay 102 as hereinbefore described -Nvheroupon the opei,ation of armature 140 is taken ovei, at ,lrn,i,ittire 149 and relay 106 falls back on account of the f act that it is cut off at trmatLire 133. As soon as ri-@l<,, cut-off relay 226 ai-id relay 223 of the connector C' operate in the manner liereinbefore clescribed, relay 103 I .'-ill.s bick ,ind permits i-elays 101@ and 105 40 to fal-I back whereupon relay 101 i"alls back and disconnects the ringin(r curreiit froill n the associated trunk line in the hereiiibefore clescribed manner. As above ointed o-Lit ground is not disP 45 connected from armature 141 of relay 106 Olt the cotliiector C until rel,,Ly 101 plills up to tppl.y rino-,ing etirrent from lead 174. It is considered practically impossible, howei7or, (due to the proiiiptness of the response, ,50 of relay 101) for the oper,,Ltor to i,espo-ncl to the rili(,inocuri,ent prior to the enercy'z,,ttioii of rel,,tv 101 and to ti-lereby ener"ize relay 106 to brin(y about the energiz,,ttion of & reiay 107. Acco'--'rclin.(,rly no att(@ii-ipt has been 55 niacie to disconnect the ground from arn-iature 141 or to tal-,e -,tDy other prec,-Ltitions prior to the oper,,ttion of relay 101. It will be noted that wben a call is, made fro@,ii the P. A. X. to M. X. over tl-ie toll 10 line TL, the operator may complete tl-ie connection to a local siibscribcr su(-I-i as the silbsci-iber ,it subs,,tation A, in c,,tse that stibscriber is wanted. It will be noted tli,,it the connector C is providecl -witli 0 level shaft spi@ings to coiinect the cut-off relay 104 in multi.ple with the locking windina of ringiii(p cut-olt relay 109 so as to operate relay 104 to discoiuiect bacl@ bridge relay 105 on call.s to the tentli level made through the coiinector C. '"7hi@t is