A liftin, 'bai'l 116 iiiay be prov'CLed or, tl,.e fr. liereby the appari,t',us 1-11,,Y reiclily be I'lf'ted fi,oin o-iie plice to ,ii-iotlier by i,L suitable Iiitill(r -lelftils. The cojisti@tictioii of the novel secoiicia7-@3, eleiiieiits. as SIIO-\V-, in Fi(yure 31 iii,,ty be vf,,rieci froiii the pai-@ticular coiistructioii s-tioivr@. As here slio)v@). it will, I)e i-ioted tl,.,L'L- @-lie IoNver horizc)ii@',@,tl legs of eacli i)air of seco.,idai,y el-eiieiits ii-e @'o united by be'in(,@ foriiiecl in the iiiolcli-,ig oi' the tivo eleiiieiits, iviiich are preferably coiislrtictecl ol copper or otiler stiltable concluctive ii-iatei-ial. l@)'heii coil-strlicted as lieve slio@vii the upl)er poitioii of the iiiiier secoiidar@- eleiiients ifiay be stippoi-t(,@cl by the lioj:izoiital pol@tion 26 o-@L2 tlle otiter secoiida--ov ele)iieiits by su eliitieacj.,,as 'Llie sci-,tl)s Ili'. iviiieh h@,,,ve their eiids sui@@ably bolted to tho t-vvo Qecojiclai-@@ o'Lenioii-Ls 0 as slioivia in Fl(,-iii-e 3. AVIieii sticli sti,,tps ,ire Li@sed '@ is Decessai'v 'Lliit o.-tio c@iid tliet@eo" be iiisulated fi-olia oiic, of the secoiidai-- lileiits ip- oi-cler that. tliei-e be no leaka(ye 0T curi-eiit froiii oie seco,,idai-v eleiiieiit to t'ile 2@@ other. if desii-ed, the seconclary eleiiieiits iiiay also be liiclel)ellclentl@- eoiis@Lj,-,,,cilecl iiiouiitect 'I-ii ',-Iieip respect@.ve I)ositioias oii the llii--,io,-.iietic co3,e it bein(, uiidei-stood that t'lle ioiver 1,,or'lzo-iltal le(,s thei@eof jaeecl ilot be electrically co-,iiiectedto(-etlier as slio,,v.,i iii the draiizi-- ti(ys. The -I)urpose oT consti-tictip-@)- th,., s.@@condai-y eleiiieiits @@-]"'h lo-,@-c-11 liorizoiital le@,-s ui-i',Ited. -Its slioivii. i-s to I)ilovic[e iiieans Ayliei-el)v coiit@Lct face,@@ A@-1-iieli the contact L,--,(.,cks ire iiioti-Titect I)e coiiveiilejily iiiaclii-iied so tlia-'Ll 'II be iii true alio-iij ei-it. If the seeuliey -@vi -- ii o,.idai@,, zire iliC,,el,-endeiitly coiii@tictecl " Nv:ll be nece:@sai- u Si lu I)e 40 qectire(I tolye'Llier iii orclei, t'@iat ,:t goo(t cl@-ectrlc:il codiiection ii@,a3T be obttiiiecl b,-'L,v@-een the coiitact faces 'liei,eo--@L' aiO, ttie corit,ict !Jlocl@s. F; -@)-ui,e 8, the iiiclticel eiii@i-e-it iloi@Ili(, S(ICOlid@try elel,@iciits is slio@vi, as -ftoyjl,-If,r ii@ oDe cilree'Lion but it is to be uiidp-j@@stooci, o-l' cotti-st,, iic,@ii,@g ,,@,I.teriiatliig ilie Lio@v of curi-eii'L-1 O'i-crfleTits I)-IlI i'lov,, .i bctli cli-rectioiis @,v' icli is oT fioAN-. 1"' slio,,v.-ii i-i), i accoiiii)aii eltipl@oys ti@-0 ltl)l)e,-@ ancl t-@To co lls ;)lit it is to I)C, uilclei@- 55 s"-oc)C@ oiie or iiioi,e oT siieli co.ils i)ia-,,- 1)o ivitliout fi-oii-i 'clie oi-i. cl-,i,-;-i qs iiiy iii,,Teiation: 1. A i-i,,-et stippoi@ting clevice for aii ele-,- tr-ic iiiaclai--t)o. cor,,ipri@-@-'.no,- t first co-.n-tact ancl rl;i-et-liol(.Iiii,y iiiet-,iadjust,,ib'jv iiiountect, to eiiga+'le 01)1)osite ei) d q o-L (@f contact an@t -c--,e tsi-Ililli.L, ,i. secoji@L me,-,nbe@-s adapteci @Lo a ri--jc-t ,,P. CLI@""te oo'lll,L,, a ,)i-voled the levc,, -1 Cl oiie r@tleiiii)o- QT sai-C@ secoiicl paii, c)a:' hold',,,i,-, iiiei-@i.oers, a 1'- 'OE @10rilllllX,7 Cil" le@- el; the Liist iiient@.oieci ,)air oi@ a c@liii Llpoii 0--@,@e oil to i @L e v e -c 'L o il!O@'O SIICT @ecoii@l to position v@lieri tli(-@ iieiiiJ,)ei- t,,@aveis 'Lo @i siiaiilar positicii. 2. o,'L@ tli(-, eties describecl, corrii)rlsin(@- tLec. - ,YiLi-i 'L'lo eol@ls, t'lli@Otl("Ii iiiciticed CLirrelli:s ai-e est-.il)l:isiieci 1),,- - '!,,o rilip.iai-y coils , oiic, oT @Lll(,@ saict sc@coi@iclai:- @, ele;ll ejits jitovaj)le coijttets foi@ tli@- ciici s ol a '-to 1)c tlie, i-ivet coli al)letiiio, - Llic, 'Llie otliej: seco-,icLai,y elcii To. @.@ eii--agiiiff slifiiil@: c,-r tl)c i-ts (,jaCts, a cai-@l the conti,o'.- oT ttic it.-oi@ saici coiil,,,cts 'to a([-vaiieL tl,,(3 c@a@lle to ri,,-et co-litic4L aii(i Iii@ical co-,,i-iec@iojis -!,or tlil- coils -ro,.@ @,ig aiicl coiitroll@ii,@, tl)c z-@aiiie P, sepa--,@,te curi:eiit -il'or cq(-Ii se,,,oiidai@v ilciit. ol i--Ile c@li'iss ecils 111 circuit, secoaC@ar-@,,- (,,Ieiiieiil'-s seplipate-i-iidiieed the I)riiiiai,v coils, one of e--'e,, noLits iv iii(l, fo i, - iiia'Llic, shaia!7 o-f-' i P;i-oL ol - -L @-@ @,@i-at(- its I A "oi@ siiiiiiit,,iii(,()"islv ac'Lti,cl ' @ lii ,,)- slic', c o-Li'Lact@@ for @tiid ci'ttl@"I'l@,@' til e r@Lvct to - - I 1 1 q @t. cle-@-ice OL@ L-'ie el-ass lai li(,Y-@ (@',- Ic c o-ic L, i, i i ll:i enibei@S7 ' C)i!S 0 i I C ' pt i,allel - for i@-,iats tiei@c-iii, i-Ti otile!@ 11.1vi-Tio- an(! -,@,7itli the coi,e, -"so lilv'n,,)- iii)i)er lo--,,-ej: si@.Lc. 1 core anci subs'uinti,,ill,,- ii t,, 1,@i t e,, !'(lift '-Ill-2 -.--,iotlier, sp@-L@L co,-@e t-iCL c-c,'Il, Ouce i ciir,l@Clit l@'i 'lie curi-- aivet, 3iecL'ricaliv cor.7-aecti-Tig 'o-,- -- I a p@-I I.owei, le'), oi@ sii6 s a-aO, the loi@.-or o i- c i ii 1 i, s c o i,, s,,iicl 21 c o-@i:' se@lorioll-,@- @ iie d, -,Yice 't-,o - is@ .2 e t e C! j I t s,, - 0 I c core T, i@,@ C. I members, the midclle of the three. forming a corni-i'lon return for currel'it enerited and p,is@sinz thi-ougli @the other t,-",-o, pi,imary coils upon the outermos'L, parallel iiaeiiibers, an %outer second ary elen-ie,-it ha ' viiig upper and loiver le-s oiie le- betiyeen the nter,@ I n mediate, and oi-ie o-Lit-Ir l@-ai.@allel il-lember@ ancl other leg belov,7 the other Ou@L,er pai-aliel member, Icljustable contacts -Lipoii sal,,l legs 1D for engaging opposite epds of a rivet to hold the rivet ,is a circuit iii,,ikino, nieiiiber, a,n inner seconclary eleitent also having upper and lower sppcecl legs lying -witlilii, and n ,Lli- ed with said firsl-I iiieiitionecl le-s@ one 15 passing bet-ween the interiiiecliate i,ncl outer parallel members, and the O'Lher acljacent and otitsicle of the san-.te out,er parallel . me@--iber, adjustable coiitacts upon the -Lipper iiiner leg, adapte cl to electricaily eii(ya(-,-e the. 20 rivet at ali interiiiediate r@oint and eleetrical connections for ener(@izing aiid controlling the coils for simultaneously gcnerating lieating etirreiil-s ind c@qtisin,,o; the same to pass tl-irouo-li boti-i secoiclarv el.o25 n-ients, tnd throuuh a iii,et iii tli-- s,,iine clirection, 'whereby one IDai-t of tlae ri-vet is superheated by the additive efects of two distid-c'u a-@id separately iiid-Liced clilreiits. 6. A -niagnetic core having parallel iiaelii30 bers, priiiiary coils arranged upon said p,,irallel inembers ciiter ancl iniier secoiiclar3, elements e,,icli 1-iaving Lippel' a,-.id IoNi,er leo's respectively p,,issin,(,y bet-weeii, iild lying at. the ol-itside of, said parallel iiiei,.ibers it CS ri(yht ali(yles thereto, iiisulated therefroni anci subsntantially insulatecl f rom on(,, aiother, the upper leg of the otiter iiiember ,,tlicl the loiver le of the ii-iner -,ncl outer gs do mernbers ha,i,ing cooperable adjlictable contac"s 'Lor holdin(Y ,t rivet Plid the upper iiiner 1(,a of the secondary i-neinber l@iaviiioadj-LisLa@- le cooperable coiatacts adapted to engage a rivet at aninteriiliediatepoint, aii(:l electric,lil connectioiis for energizin,(z) anct 4-5 coiitrollina the c6il for simultaiieousry geiie,.atiiiseparate currents, oiie in each seeo-ndary element, passiiig the sci@ine throtiah the rivet with tl-ie currents flowin,- in the same direction -whereby a portion of the 50 rivet is superheated. 7. An a-Di),,iratus o'l the cl,,tss describecl comprisin(y a iiiaglietic core havin(y p-arallel &-, zn i-nemders, coils -LipolI 'Lhe ineiiabers adipted to generate t@vo curreiits thereii-i, ou@Lei, a-,id in55 ner seconclary elejiaeiits on s,-@id magiietic core, each adap'Led to@ receive one of- the errrents indticed by the core, eachsecol'ida"'Y eleinelit liai,ing upper al-id lo-wei@ sp-,teed legs, movable contact blocks iiiountecl upon tl'le 60 le s of said seco,,iclirv eleiiie-.its adapted: to clamp a rivet to be heateo,, aiid ,tnti-friction i-neans gecurecl to said legs and adapted t,o yieldably hold said contact blocks in electriea! conget with said legs. 05 8. Ali apparattis. of the class - described 6k compr@slpg nia,-@ietic core having parallel nleinbers outer and inner secondary Qlenleiits on saicl magnet.ic core, each havinal tipper ,incl lovver spaced le--s two sets of z@ I . - - , claiiaping cont-.ct iiienibers adju@-table on the 7@) legs, the sets an-,ularly i-elate,d, the first for I ta eiigaging eiicls oi a rivet aiid the second- f,cr eiio-,,tgina a rivet laterally at an iiitermediate point ' a pivoted lever, coniiections bet:ween the lever of the las'u mentioned contact mem- 75@ ber for translatiiig the same, meaiis@ for yiel@tably urging @Llie lever iii contact a'@reetion, a can-i tipon one of the first iiienticned coiitact meiiibers adapted to engage an.d swing the lever -vyhen iiaoving to noii-clamp- so ing po-itioil, lor siilltiltanc@ously correspoladingly iiioving tl-ie lever-co-nnected meiiiber an(I tre@,,dle naeans for traiaslttilig the camcarr3Tjllg member. 9. A clan-ipino, and contact clevice of the 85 cla--,sdescribecl including, a first, pair of ,iligiied clampiiig and cont,,ict members, a seconOL pair of silililarly related clamping contact members a pivotecl lever connected, -vyith ,i contact iiiember of the first pair, a Do spriif(Y for urgiiag 'Lhe lever in clamping and coiitact direction a cam on, one meiiiber of 'd sai- secoiid,,iry pair of contact iuembers, lever eilgage@able by the cam when moving froiii clampi-Lio-. poz-@itlion, -",hereby after one 9.5 iliciiaber n-ioves to clan4piilz Dosftion the le-ier acts to simultaneously move the other to ,ind nlaintain it in a similar position., 10. A mao-iietic core haviiig parallel@ members,secoiictary elements traversing said core loo at riclit. angles therelto aiid insulated therefi-oin, providiii(y upper lower, and ilitermediate legs, ancl contact devices one upon each upp I er and lower leg adjustable for edgauiitg opposite ends of a rivet, clampinu ancl 1105 coiitact devices Lipon said intermediate leg adjustable to enga-e a rivet at an intermediate poiiit, and primary coils ul)on said coi-e arranoed conilected and electrically coiitrollable-, and adapted to induce t-wo ciis'- -iio tiliet heatin(y currents in the secondary elements, ivitli the secondary currents ulii-directional. 11. I-n q device of the class described, a maglietic core liavin- three @arallel n-iem- Ilabers connected too'ether at opposite ends, two U-shaped secondary elements, outer and iiiiier, arrangeo, iii nestecl relatioia, each -providinc,- upper ancl lolv , Y c, -the t, er legs, one leg - outer iiiember disposed between, crosswise 120 and insulated froin two of tlio parallel I-nembers of the core, anci the other extendina crossnvise at, and insul,-,ted fioin, the outenr sicle of tl-ie core, o@lie leg of the@ iiiner eleineiit disposed bet-weeil, cross-wise and, - insu- 125 lated fron-i the other two parallel core inembers, and the outer lec, of the inner eleihent disposled at the o,,iter side of the core insulated tlierefrom, spaced@ fron-i and attached only at its outer end to the, couespo nding 130 1, 6 r) 8,1-1 5 9 eild o-L' tlic@, othc,,r eleiiient, eliiiiping eleme--Qts upon the pi-ojectiiig eiicls of the elements qclapted i-espectively to contact a rivet at its ends and it an intermediate poi,tion, col 'Is upon the core, ,tnd electrical iiaeaiis for en(@i@o-iziii(y the coils to pass a sep,,trate etiri@elit through each secondary element, -witli the curi-ciat uni-directional, through a rivet clampecl completinu the eireiiit therebe10 t-ween, 12. A worl@ cl,,tiiipin(y device for @in eleeti-ic rivetin --lieating iiiaeliin(@, coiii])risin(, t first pair @T aligni@@l contact and rivetin!Zliolclin(-, iiaejiibers slidablv adjtist,,ible, a s(@- p, 15 on( iii, of contact and @ivet-lioldin(, meiiib,ers sliclably adjust,,tble ancl aclapted to engagei @@ rivet @it a point internieditte its ends, a pivote(i a linl@ connecting saicl lever -with ojie of said -n-iembei-s, a sprin- for nor20 inally di-aiving the lever towarcl tlic, First iiientioi,ied members and a caiii iipoii onc, iiien-iber of the first mentionecl p,,tir of members ,iciapted to engacre ancl retract the lever zn when the niembers are retractecl from claiiap25 ing position, incl furtlier adipted to i-elease the levet- to obtain clamping action of the other iiiember wlien the fii@@tnientioned n-ieiiibers tra-v-el to elinil)ing I)ositioii. 1"). A device of the cl,,tss clescribecl coiii30 prisliig a ina.,o-iietic core liaviii(y pai@allel riac@mbei,s, primary coils arraii(red oii said parallel meiiabers, electrical - iiie,,tns for controllina the coils for clevelopiiicr tki-o etir. rents iii tlae core, the currents having ,t coiii35 mon return in the same clirect@ion in the core, ,in outer secondary element havii(,, upper aiicl lower leos an inner secoiiclai@y element liavino, upper and lo-wer leo-s, saicl elements mounted upon and insulatecl from the core 40 ,i-,icl substantially 11-om one another. n,nd eacii arr,,tn(yed and adapted for receiviiag ,t t@ separate current incluced by the core -",i'uli the ctirrents uni-directionil, and a common return throiigh the loi7ver elemeiits, 4,@5 and ,i rivet electrically connectino- at its encls the upper ancl lowe leg outer r s of sai @econclary element. and the lower leg of the .inner secondary elernent, the upper le(y of i-lic i-niier seconct-,try element connectecl -@-vith, ,,ncl adapted to pass a secon(I currcnt zo tlii,ot ig@h t,be i@ivet from an intermeoiate portion, 'io st,,perheat. that p,.Irt of the rive'c tlii@ ough which both uni-clirectional curreiits pass. 1 4. A clevice of the class describecl, COII'I5 5 prisi ng a iiiac,,netic co-re frame providing tlire e parallel iiieiiabers spaced and coianect ed ,,,t their eiicls -with the intermocliate mem ber as a coitimon return for a CUI'TeDt set tip bv the, core, outer and iliner U-sl-iaped co seco nda@y eleiiients clisposecl one witliin tli(,, othe r an4 liaounted upon the core crosswise tlier eof. havin- corresponcling legs at tli(, o,,ite r sid-I of the core connected to provicle a common current return, with the other 65 leo @,g of- the inner ilid outer ele,.iient resl)ectivel v pas,@ing bet-"-eeii the intermediate iiien;ber iiid differeiit outer members, co;ls upon tlae outer members of the core arran-ect for generating etirrents having the sa-tiie 7o directioii in the common rcturli or inL-e@2j,.aediate meiiiber, clainpin- means upon the otitermost legs of the secoliclarv elenients for lioldiiig L ri-@,et in position 'Lor'Plllssiiie, a ctirren'u lengthwise therethi,ouqll, 'Ind means 75 iipon the central or innerniost leg of the iniier second,,iry member for mak'ln- electricil coii'Lact witli th rivet at lin' @'interi-necliate point, wbereby separate currelits a3:e inducecl in eacli seconclary element ivitli th6 so current flowino- in the some direction for obtii-.-iing aclditii,e heitin@_r effectstliroiigli t portion of a rivet for stip@rheatino- that por'Lion. 15. A ma(,rnetic core having parallel meii-i- P,5 bers, secondarv elements traversidg said core ,it right anel@s thereto ancl insulated therefroni ancl I)roi,idiiio- upper, lowei, ancl intf-,imediate legs, and I)rimary coils upon saici core arran ed and connected ancl electricaII77 9,) 9 .1 controllable and aclapted to induce two clis'tid-ct heatinocurrents in the seconclary elements, with the secondary currents ulai-,- Iirectional. In witness whereof, I have h-@reunto sel@- my liand this lst day of December, 1924. JOI-IN E. SEDERHOLiAl.
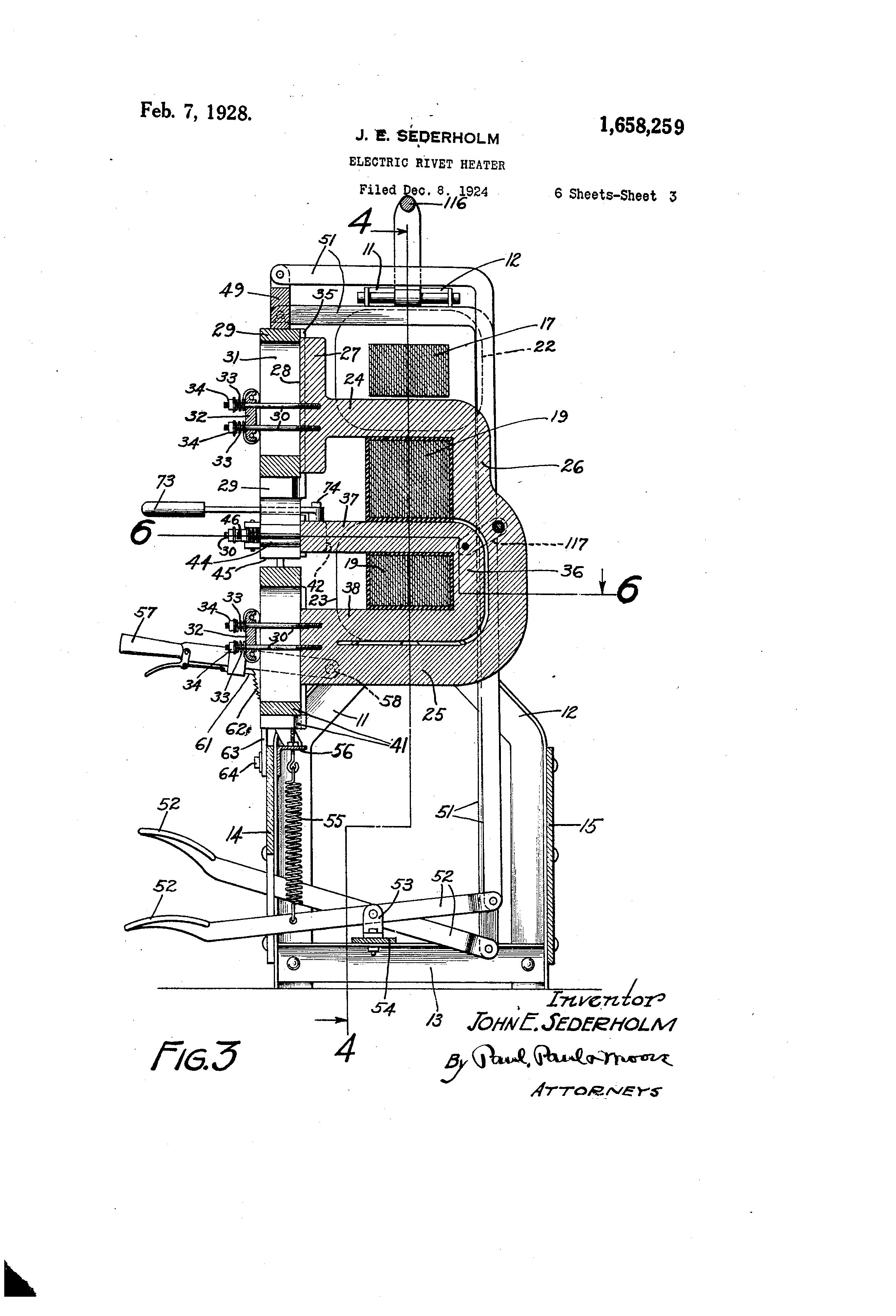
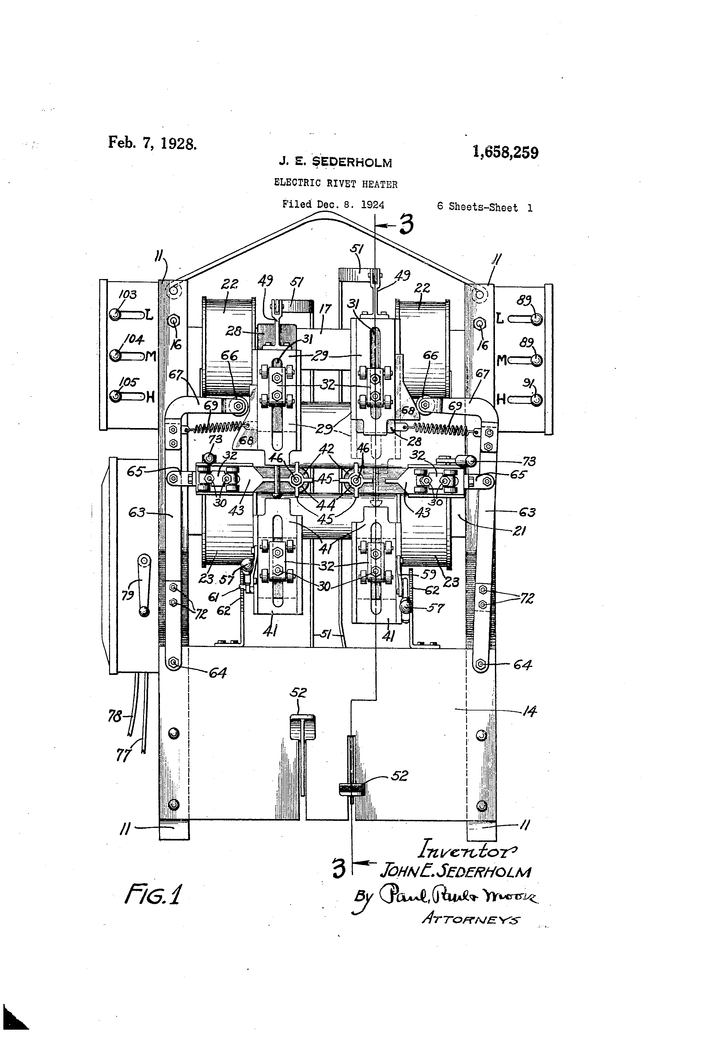
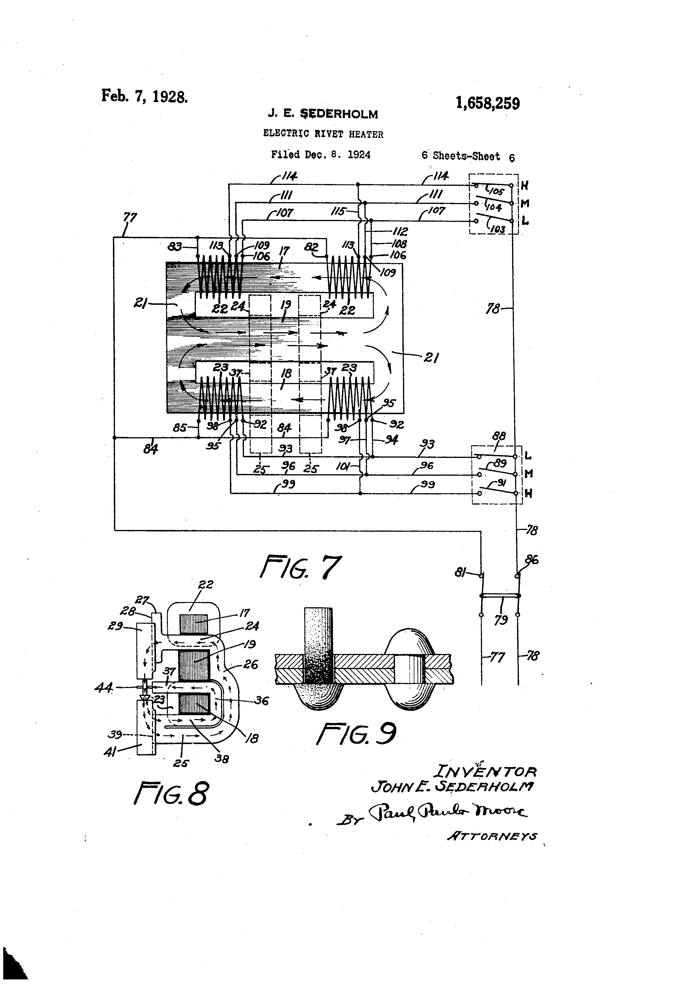
Pate.,rited Feb. 7, 192--q, 11658@259 UNITED STATES PATENT OFFICE. JOHN E. SEDERHOLM, 02 ST. EAUL,@ -@III@TNESOT', ASSTP,,--J-\TOR TO A- ERICAN HOIST DERRICK COMPANY, OF ST. PAUL, MINNESOTA, A CORPORATIO.N OF MINNESOTA. ELECTRIC RIVET HEATER. Application filed December 8,1924. Serial No. 754,613. This invent@ioii relates to neiv and useful ip@ipro-veiiieiits in electric rivet lieaters particul,irlv de-,,Igliecl for iise in heatino- rivets to be, used in hot-rii-etin(y structural steel r) frames for I)iiii(IiiiQ@s. bridges, etc., and more p,,irticularly relates to such heaters ad,@ipted for he-,iti-no, i@ivets - Loor use in the constructioli of steel boilers Ailierein the seams alid joiiits mus@Ll be securely riveted in order that the io boi-lei@ itlien coiD]:)Ietecl, iiill be leak-proof aiid safe. Rivet heatei-,g ill use at the i)reseii'L time are usually so constructecl zis to (livect. ,i ut-liforiii floav o-L' current throuo-h the entire 1.5 lengtli of the rivet -whei-i lieating it. B.)7 thus i; iiniforiii floii, of currel-it to flow throuo-li the l@iN7et the siiiall eiiOL of @'he rivet is usii,-.Ily liea4L-ecl to a hi ' o@her temperattire the opposite or ii6,,td eiid tlier-lof caused 20 bv the cui-r(,iit cai@r)ziiig capacity of the small be" i i-elati vely less than the ii@, of the rivet lie,tcl, ancl tliei-el-)y ofi'ei-in(r a greater r esist iiL ,)@iiee to 'he i'loiv of etirrent therethrough. The ,ibo-\,e co-,iclitioii iiiay al-so be intensified 25 1,1 s aresult of the I)oss'lbil'IL-y of obtaining ,i. re!-ttively pooi-ei- electri-cal coiii-iectioii betiveen the siiiall eti@t of the ria-et anOL the he,@tino,- eleiiieiit. than iii,,ty be obt,,iined between the 1-ieqd eiil aiid its resl)ectlve heat'@O ing elemeiit, ctused by the sm,,tlle.-- end of o rivet sometimes b L11 verv rough tnd un.-,ven, tliereby iiaki-tio,- onl3, a I)oint coiitact wi-tli the h(,,atillo, eleiiient. Si-ich heatiiig of t]-to rivet has 1.@)een - L'oiind ujisatisfactory and 35 objection,,ible i-n certain el,-,sses of work, sucl-i, for instance ,ts boiler making, wbere i'L-1 is eKz4ential that ill joints -,iiicl seaiiis be ii-iacle steam incl iyater ti(,rht. fn the nlaiiufacttire of steai-a boilei-s, the inetliocl niost 411 comiiionlv emplovecl at 1)resent, to rencler the boilers leakproof, is to peen oa-er tl-.ie ed@@es of the rive'u- liea(Is ivith an air haiiimer or other -,Iei,ice after the r'vets liave been hea(le(I oi,er, therel)v subz-@IL-antially uniting the 15 -es of the i-'Yel- lic,,icls Ay'th t@ie boiler ,,,,late. witli the result tl-iat a leak-pi@oof joint @Till 'be obtainecl I)et-ween the rivet aiid boiler plate. The above piocedui-e is Lisually -necessary a., a i-estilt of the f-,tct ttiat the bocly or (yrip of the rivet ustitilly cools qiiieker tha@i the, - encl tliereof -%-,-hicii is to be headed over. caiised bv cont,,,,ctiii-u ivith the cold -walls of the rivet hole. Therefore ivlien the end of the rivet is lieadecl over a liead will be formed thereoii- before the body or yi-ip of the rii,et lia.@ expaiicled sufficiently to coii-ipletely fill the aperture in which it is setted. Thus Nvlien the elid of a rivet is lieaded over aiid the body or gi@ip thereof 111,ls not slifficiently expanaecl to completely fill the rii!et liole, there 'will be dan o@er of lealcage around the rivet, which must be eliiiiiiiated by such means as peening over ti-ie lieacl of fiie i-ivet, as above described, befoi-e a leali:-I)i,oof joint can be obtaiiied. It tj v;ill tberefore be reaclily seen and understoo cl that the above clescribecl iiiethod of rend ei-ino@ a boiler leal@-proof is objectionable a.@ iF requires considerable labor with 9, resul tint increase in the cost of manufac- 70 tilre. AP object of the presei)-t inventioii is to 1,)ro vicle an inaproved rivet heater so constiucted.,tDd desi(,ned as to enable the operator to lieat the body of- the rivet fori-ning 75 the 0-1-i, . to a relativ' tlia '- i) ely hio-hei@ temperature n the end tliei@eof ' whicli is to be headed over. By thus heatin, ')' the body, or tl-iat portio--t) of the rivet ivhich passes throticrl-i the I)Iates and T-orms the grip, to a very hi@' h de80 (yree of teiiipei@ature, Pnd the ' g small end tliereof to a consicierably lo"-ei-, temperature, tle bodi, or 2@rip portloii of the rvet -will (,,xl),incl and coilipletely fill the rivet hole as soo-,i -,s 1)recsure is br'ou(yht to bear - ao-ainst 85 tliie eiid of the rii-e t in lie,@iclin, it over. -'Siieh exp,,itision of the rii,et bod.@, will occur subst,@i@-itially before the head be(yins to form on the eiid of the rivet with tl"ie result that P, leik-I)roof joint ii@ill,be provided - between go tl-ie bocly of the rivet, and the wills of tlae -perture in wliich it i's seated. thereby eliminating the nece.--,sit.1, of having to peen over t'lie rivet 1-ieacls afte . r the boile-r has been riv-,tecl. The above iiietliod of riveting will 95 qlso o @reatly increase the rtren@_rth of tlie riveted joint as the t-wo menlber@ -or plates will be firi-iily and seciirely held to(yetlier, thereby eliminating ,ill danaer of the plates creep. ii-i@z or clian,iii, their relative positio' 11, 100 ivliieli is a I'vell l@nown ocetirrence -when employiii(r the present inethod of rivetino-@Nherein tl-ie entire rivet is beated by direct-in a uniform flonv of current tberetl-irough. The above difficultv is i-isually cati-,ed by I soii-ie of the rivets beina loose as a result of the rii-et bodies not expaiiclin(y sufficieiitly to completely fill the apertures iii which they ,ii,e seated before the heacls are formed on the ends thereof. Further, the rivet heater lio is provided with means whereby the operator may conveniently vary the temperatui!e at eitber end of the rivet'as reqtiired, or if desir,ed, only one end of the rivet may be hea.tecl. TI@e apparatiis is also readily acljustable to a:ll sizes of t4t,-Lnclard rivets. Another object of the invention therefore, is to 'provicle an iinproved rivet heater of simple construction -which is capable of 10 being operated t6 flill capacity continuously ancl -.will be efficieiit and positive in I)e@formaiice. ADother object of the invention,is to provi4e means f'orheatiiig the grip or any selected portion of a rivet t-o t higlier teinp.erature than the otlier portions said iiieans adapted to induce two distinct electric Ileati,ng currents, aiid to pass tl-ie currents leiio,@t.li'WIS@E through a rivet, 6ne entirely ancl oiie 20 partially theretlirouuli, so that the heating e:ffects of the tivo separatel.- @, (rel-ieratecl ciirrents are combined tlirou(@lio-ut a selectecl po-rtion of the rivet to superheat tliat portio n. 25 Other objects of the iiivention -will appear from the f'ollowing descrip'tion aiid 'the aep con-ipan@,ii-ig clraivihgs an(I -will b6 ointed out in the annexed clain-is. In the accon-ipai-iying di,a-wings the-i-e bas 30 been disclosed a, stritetiire clesigned to carri, oiit the various objects of the inientio,,i biit it is to be -Linderstood that f-he invention is not confinecl to t.1-ie 'exact, features si-io-",ii CII@tD(ye-: m,,ly be i--nade within the as various p 35 scope of tlle eltims ivh@@ch follbw. Li the accon-lpanyiiia drav,,Ings , forming par-t of this specificati(@ii, Fi-ure 1 is ,i. vieiv in front eleva,tion 6@r the improved rivet heater showin(r a I'llTet 40 positionecl between tl-ie iiiovable cont,,icts thereof; Figure 2 is a sicle view of Figure 1; Fig-Lire 3 is a sectional vieiv on tho line 3 -3 of Figqre 1 showing the noi,el con45 striietion of ihe seco-nd,,iry 6lemeiits; Figure 4 is t, sectional: vieia, on the line of Figure 3 showing@ the relatil7e posion the 1,,tminatecl c'o@re of tlie pr;i-nqr.v windings and seconclar-v el@ements; 50 Fi-tire 5 is a I)Ian v@ew of the al)paratus t@, showino, the various controls; Figtire 6 is a sectional vie-w on the line 6-6 of r@i,-ure 3 ivith the ope atina le-@7,el@,g r and foot. pedals on-iitted, sho-wing the I)i@eOr> ferred manner of inountilia the 1- i6ri7olit.111 contact blocks on the second,,try elenieiits; Figure 7 is a. wii-idg cliagr@ir@ of the ,ipparatus sh6wing the n-iaonetic eiretilts gener60 ated in the iron core wlien the i)riinarn, wiiiclii-igs or coils are ener(,iz,eA,- ., Figtire 8 is a d@iayramma @ic vie'W slio-win@ the prim,,iry I wiiidinas and secoriclary el6 merits, mounted on fhe mao,Tl etic core ani also inclicating the path,of the iiducecl etii,o5 rent built -Lip in the secondary elements -when tb-e riin,,iry -win(iiiigs are energized p and t rivet is interposed betiieen ihe c6ntacts -tilereof, and F'jutire 9 is an elilargecl view, sliowing a rivet'-' positioiied to be li-,aclecl over the 70 sli,,tcleci 1)6rtion ind'eatiiig th(, 0 i:l-ie I _arip f ' rivet and the portion -which is heated @Lo 'LIie Iiigliest teiiipei-attire; t rivet also beiiig sho-wn after having beeii lieacled over to slioiv lioiv the i@i-il) of tlie@rivet will com- 75 I)Ietely fill 'L-lie 'rivet hole. Tlic, noi,el rivq'u 1-ieater slioivn iii the ac-; coiiipai-iyino- dranvill@ys is aii impi-o-,-eiiieiit, on th,@ foriii of rivet he@iter shown in my penclinc, application Serial #579,940 filecl Au- 50 -tist, 5. 1929,. @s 'ilere slioiin, the fraiiie of this i,ivet lieater preferabl ' y coiilt)rises the -Lil)i'igl-it 'Lront leo's 11 iiid siiiaila@ly sliaped le@o;s 'L2 conneeted to(Yether at their bottoijis by means e-f the cross iii I enibers 100. 85 Plates 'L4 aild 15 ,.re secured to the f'roi@t iiid rear legs as slioiin iii Figtires 1, 2, 3 @incl 4. ivlil ch IDI,,Ltl-ls f iinction to sectirel.)T coniiect . the le(Ts to(yether, tliorebv i)rovici@in, g a very i-i,i(I t,,nd siibst@tt-itial f i'aii:ie. 90 ilipO'D.etic co.,,-e, pi,efei-,,tbl i,ect-,in(yuliin I y in sl-iape aiid coi-is@@-,ructed ci la,@ll i,,aate(i sl,@clet iiietal in the -Lisual iiia-Liner. is motin'ted in the tipper portion o-'L the frime and is seciirel.-,T clainpecl betiveeii the frol'it and rear 95 le s @bv n-ieaiis o-IL' t@e bolt,-@ 16.@ ks showii 9 in F-tgure 5. the froiit ,tncl re,,ii, leos 11 and 19- ai@e preferably of aiio-le iron con11 Is of -I strtlct,,oi,. @,,o tli t the 'ep, ihe iii,,L(Ti etic cor@e m,.ty 1-0 cl,,ii-iipecl bet-wecti the rio;'titioo iiigled tli-,reb-v proi-@-diiag a i-io,i(I -,Po,2 tlie core@ As slioNv,,,i ill 4-, the iiia@,yiietic cc,-re I)refer,,iblv con-,PrISQS the tipper an,-l loiiel., 1-iorizontal, sectiors 17 ai-i@, IS ,@ncl i -literniedi,,if.elv- io5 clispogeci sectior-. 19 -L)referabi-,T of larac@r cross s,@c4l-ion con-Liected tooetier ai@ tl-ieir (,,iicig b3r me,,,ns of the sectio,@is 21. TI tippei- lo-we,- i),-trillet @lo ii.-it-Lidii-ial exton(ling r.,ienibers of th-e map--retic coi.,e are ilo I)roviclc-c! A-v,,tlil -@t,.;tal)'Le Nvinciip.(Ys or coils 22 ancl 23, respeeti@-ef@T. Is sliow,,i. These .-oils ii-e e,,icli end oi' the core lated therefi,om as ;s custoi-n@iry i-n. 115 of 'Llils kind. Tlae c-)iistriietioli of the i-@ia(-,@ netic core qicl the o-T tlie, prioi- co-'Is ti@eileo 's s ch that n I u i-vl-ien the coils ,ire tivo clistiiict iiia,2@netic eireiiitg I)e btiilt -Lil) in the 120 magiieti.,-, core as iiiclicptecl by the aiirows in the Clilgr',1311. ii Llre 7. 1 . 11 9 @i-n -Tet@t-L,,re of tliic3 inNep-'Lion re@sides ii-, tlie, iiov-,l coiistruelioil o-ie the seeoiid,,iry elle,-,aeDLs -@rc, 111OUnte@T in 125 sida@-ed p,-,riliel rel,,ition o-ii the T)aao,n,-tiecoi,e, .ind stiitably @nsiil,,ited ',h-refrol-n. -@ks slio-@ n ii-i Figtire 3. ec,@nci Prv elep-icnt, is I)ref or@)bl,, o;- tlyo menil@el'f, -,vhiel-i lv;li jlelll@,!]"If@lf,';,--,- be -i@e--'eri,eci 4-0 is the oiiter iiiounted aclj-,Lcent ,ire suitably ii-isu- and the inner secor-dary -lei--@ie--i'. As the t-wo secondary elements @lild the iiiovable coiitacts iiiounted thereoii aile siiiilar in cons'i'Tuctioii, it ivill be necessai@y to describ.., but olie of the secondary eleiiients, and its @,,s@--oclz,'L,ed parts-, like pai-ts beiiio, i-efci,i@ecl to by lili:e 1,,uiiierals. The oull-or secor-,dai@y el-eiiient pi@eferably coiiipi-ises ('lie upper lo-cv,er liorizont,,il legs or porlions 2J-- aii(I 25, coniiected to(yetlier at the rear of tle itltClllllC', Dy iiieans of the upi@i,ylit portic)ii The Lippei' leg 24 is pi,efe@,,ably prov,,'CtcO, -v@ith an elon-ated liead 27 Ayhlcli I'Linctioiis to proi-ide a coiitact face or surface 28 ior a slicliio- coiitlet bloelk 29 iiiouiited tliereoii. Yield,Lble iiaeaiis are pi-efei'ab',3r Tor sectiring the contact block 29 in electi-@ical coetact -with the contact face 28 of IL-lie seeonclai@y cleiiieiit. Such illeans pi-eferabl@; collippises a paii, of studs 30 ai@e securecl @,o the lioacl 2@'1' of tlio eleiiient ,tiic-t T@1,Li,clly I)i,oject thei-eiron-i in space,,-l relatioi,i tlii,ougli aii eloii(-ateel prov-ided in the blocl@, ajicl liaviii(-, a '"Tlleelec-,', C,)I,riage 32 liaounted thei-eoii iviii"h is ),Ieldabl-,, held io-ainst the oti'Ler f-ace of tlic- cop-tact block by iiaealis of stiltiblc, col-.-ipres-,@loii S-,L-,i'iD--s 31 anci the iii,,ts 11A tlii,eade(I engaaeiyieiit on "lie eiids ci-' tli,- @ucis 30. The con@act blocl@ 2,(' i-s al@o pr@--,fei-,ably i)i-o-i,ided Avitli Li loii(Yitudii,.al I zn 35 oii eacli side whicli ftineL-,I'oiis -@o i-et@iiii tlic- cot-itact block iii ti@ue ali(,iair@ent -@vit], 'L-he -1 head 27 wheii iiioved tliereoia. By of the 3,ielclibly iiioiiiitecl it be seeii t'iiat the coiatact "lo@k 2(j' i-,i'l Da lield in dii-ect contact )vitli the -'q@ce 23 of tlae heacl 27 of the secon@L,-ry by providilig a o-ood electrical cor,-Lael, P,'L ,ii, ,i @k iliries reoardless of the positiod of the bloci@ tliereon, The iiiiier secoiiclii-y eleriient 3G is @iblv U-sliapecl in foi,-@i-i and 61 I - lie upper ancl loivei- sl),iced pi-,@,,illel ],-o-s 37 111.@@@ and 38. Iii tiie consti-tict slioiz,Tn the loin-ei- Ico-s 1?5 @,-iid 38 O'L the outeiar,d iiinei- secoii-dary (@leiiieiiLs, resjjec'ci@-el-@,,, are secureci togetliei,, the t,;,,-o pretei-ab'iy beiii@r fornied of aii LILS F"I-iolvll b-tit -,vitli the iiine,,, el,-eiiiciit contiectecl witli the lower lei2@ of the Ql(,- illedt onli- at its fi@oiit por@t'lon. (S(ae ii'lo@ 8.) Thiis a coi-n,,-non retiirn cii@cuti-L, @,s vicled for the tAi7o elertiepts coi,resl,)oiicllll!,@ to 55 the colainaoii returii pro,,-iclec'L bv 'L'I-ie ip@tei,iiiedi,-ite meiitber 19 o-IL 'Llie cot'e. Tiie i.nner aiicl otiter secon(larv elei)ien@Lc.; from one another a@L ,II o'Llier i)Olll'L-s., @,see Fi(-s. 3 ancl S) an air (,nl) 60 sa-win-. It -will be note@t that the meiiibei-s ha),-e a nestecl i@elitioii @iii(i tlii'L f,i)c,, two lo-wer legs of the inner ,ir@ci ot-i)@,oi@ elemeiits ai-e disposeci at the otitei, ;@l',,Ic@ oi" jl!ie core while the tivo ui)lder legs 65 pass between the iiitermedia,L-e see[-'Ic-ri 'i-9 l@l,,e '-'7, 18. Th-is arranL,:eiii coiijitii(-,tlo-,i Avitli 'Llie coll@s 22-23, qti@t rel@atioii tc. ti-le s.-cojiclary iiieaiis s,-pai@atel,, o-eiiei-aLiiia Y I-, (y cul,r(-,ilts a L t@, ,- o zn jid enables '-lie s,-Liiie 7o tc, curr eiit tlii- @i Ili ti-ic c-ai-l-le cli-,-,(,Ctlon ill o,-.ie T).Iolii eiacl to eiid, i@,iict tlie o4L"I(,@r poliit @L-o)vard 'u-iie eiicl v.-;-iLh CO) Iliil ti c,,tri ,eiit oia retiti.-ii thi@ou,)-i il;le of t@ic Lecoidtii-,,, eleiiaeiits oiie er,@L oi'@ tjic @vl tei-eby ,'lie eit@,ets ;,,i-e ,idc-litil,-e To,- iii tlio eLts,21 Slicati-iip,@ ILI--,e yi-lp poi.-tiort of ilie riv,,@t. L@,,7 tlii-s coli@@tructl,)ii, tl,(-, lo@yel, legs 2-0 so a-,- t5 ol@ t'-rie IL-,@- o @A 7ill provloe L,@ Ttc e -- tdipted to @ s;,,,-Iiijaicoiit,,,ct 41 ii)ovably ir,,ouiice0@ ti@t -,i,con Itiid liel([ iii elecli@leil co--@i-@eL i.il,-i jiv iiie-Itns ol ., cailri@lge 85 '!ii IL-o the oiae slio,,A@ii ill "O'.1- --,iectieii t"-ie itppei@ coiitact blocl@- 29, ,@iid 'tie i,ei'-el,recl to !)Y i @i -,i !-.z@ t O i aiicl 6, !'L9 0 li o.-cizoiitallc(, c, @ js 11- 1,011,1@ L, licac,' 42 upon iviiieli @i i s i,,,) a I 1 co-,,,tict b-l,,ck 4@@ is o e -1, is :[or secLii-'Iit, 'LIli@ 95 'ollock -i@'; to tlje liead 42 Is siiiiilap to refet-eiiee to tl,.e ul)per - t!iCL 1; )Io 29 tiicl 41 aiici v@,--IIIL iibc-i@- 44, 100 0--L coiiltct faccs L C,, o tl,@L, licad ajiOL Is tliet-eto @)v c,-L d 6 -j: 7 ip-Cl t IILI@L U -q4LI@ C) UOI II,')' Q, Ctll'(3cl to the liead -is C,5 c ool,)erites to a ([tial c z, -L@G. :iii tei-posecl ther,,,- '1 2@ 7, S I'@ 0 II i th e si d(@ ol I 0 't sG @liti-ictioj)s as -,tii ill @2li t L'u-i'L-l'ie i-i%@"o@-- the j)[O ( 'i@ - ,'.s lati) coiit ael. A-vi-tli 't'l@ e clea i-lv z@lio-,Yii ;,it Figtii-e 1. -L:)' ),l,- aii,:: cf il@o tilitill"y of @llie coiiz@4 aiad 7)luti@alltv of coiit@iel, 1 -L.- Ices 'Lh(, iiaeifibet' I)e rotatecl to precoitt @t(,t ill-te i-iA-et, sliot-.Ild the c@ eii a clean Leiii c,- its(-,d bec!oiiie iiieffective as a ',-C@stilt OT beilly p'll-tecl 01- )"-Ol,n froiii arcetc. ,ii-e -,),,-oN@ided - @N-lierel)v tlio itl)peiI)Io cl,-s 29 iiiziv I)c, coiivliiieiiti), ac,@u, ,itecl iyll,c n it is (Ie Qij,ecl to 1)os'tior. ,i tll,- , aii(i lowei- coiitact coii[ ,ict block 4') 12,5 -.s I I -k(,cl 49 secure(I li@,@ , -o, 1,@) tl,,-@ i,ll)pc@i, el)ct to -@vliieli the iij)per e,,,-I, o'@ @l oi:' L-s,)-aped Ictttiti@if, birs 'T'lie lo",er ends i,)I-votally con- l,-" i a bL)r-. ilected to suitable opbrating peclals 52 pivo'L,,,illy mounted in bra,ekets 53 secured to ,i supportiii- bar 54 liavino_- its encls suita,bly secured to the cross meiiibers 13 of the fraiiie i@ as ,@licwli iii FigLire 4:. Coiled tension springs 55 liave 'ulieir lo-%,Ver eiids coniiectecl to tlle opc,rating I)eclils 52 aii,,l their tipp-,,- en(Is ,idjustably securecl to aii ano'le bar 56 whicli Is suitablv see-Lireci to tl-ie fr,,iiii-e of the iiia1 chiiie@ The sl)riii@-Ts 55 function to 3,lelcl@ibl-.y i@etaill the foot pedals 52 iii tlieir r-,iised positior, thereby telidiii- to cloiyiiii,,trdly f orce the til)l)er coli-lact blocli:s 29 iiit6 coiitact Aiitli 'Lhe i-ive'L'S iilen liateridosed bet-",e(,n 13 these blocl@.--,, a-.id tlle loaver cont,,ict blocks 41. V-@7'lien ilu is Ccsire-,l to intei-pose -a rivet be'Liye(,n tli(,, contact bloel-@-- 99 ancl 41, tlle upper coii'Liet block 29 ivill be i-aisecl by the operator do'Wpii-,,ti,(Ily inoi,-i the foot pedal coili-iected ti,itkreto. As -- 001'1 as pi,esstire is released f.-,oiii the foot, pedal, the tipper blocl@ 29 will be downiiarcIli7 iiioved iiito electrical coilt-,Iet - wi@Ll-I the rii-e'L t'ilei-eb), closin,,, th-, lieatin(r ciretilt Avhich iyill licreiiiafter b,desel,i)),.,cl. The lower coiitact blocks 41 are provided Aiith li'leans v%,Iiereby they iiia y i,eadily be adjuSLed to tl,@,e pi,opei, positioii Avliicli is usually deterillip-ed bv the thickn(,ss of the eleii-ieiits to be r;.vetecl to(yetl-ier 11 30 or b37 tlae len6-th of the gi@ii) portion of the 1-ivet. 'Fhe iiie,,tiis ])rovided I-or thus adjustIII(' the positions of the loaver coiitact blocl@,s prc@ferably coils'sts iii the proNIsloli of 41 1 stil 'table hand levers 57 which al-e pi@eTei-abl3, 35 iuolinto-cl oii sttids 58 proiided oi-i tiie lower horizontal leopoi-tions 25 Of 'Lhe outer second leiiients as sliowii in Fi-ui-es 2 and. @Iri@.1e, lei,er is coiinected witi-,"i,u-s resl:)ective coiitact block by iyieCLIls of a, link 59 liai,- 40 i@ig one eiid pivotilly coliiiected to the lever ,ii),l the other si 'larl y coiinected to the side nil of the contact. bl6cl,:. The levers 5@, are also -Nvl Ul pro,,,-ided 'tli s 'tible latches 61 adapted to ,Ige q-Lia i-aiits 6i)@ mouii n ell(y, d ted o the, ai-io@l4,5 'k),Ir 56 oi-' the frawie, whereby t@lie blocks iiiay t3e conveniently tind acljListabl,,, held iii adj,,isted positioiil The iiieaiis pi-ovidecl foi, actuatil@'lg the j!elativell, sliialler liorizoiatally mouiited coiiC)O tact blocl-:s z@1:3 prefei,ab'iy consists iii 'Lhe I)rovisioii o'L a p,,iiioT opposed ariiis 63 -whicli are pin,otpilly iilountect on 'Llie fraiiie of tl-ie app@,ii-,-tttig by iiieaiis of I)ivbts or bolts 61@. These arms are coiiiiectecl to tlieir respee65 t.il7e contact blocl@s by iiieai-is of brackets 6,,5, i's Sl,-16y@,@i i-,i Figures I aiid 6, so tl-iat )IIlen ,he ,iriiis are os l@L "1,-,ted the coiltact blocli:s c 7 )i,ill be act-Liated. Aii aiiti-frictioii roller 66 is pi@eiei-,tbl3, iiio,,int,@ecl iii tl-ie tipper forked 4i( eiid i)ort-ion 67 of each qriii 63 aiid these rollers are ddti)tecl to b-- en(ya@-yed b37 SUitL I @ible c,,),iiis 68 inot,,n'-ed o-11. the @l@ij,-cent s cles 6T the uppei- coiitqt@ blocl@:s '-)9. Each iri-ii 63 i@ lield iii contact with the Cai'll 68 by meaiis o'L a spiina 69 havii-ig oiie eiid 17658,25,9 co-.iiiected to the ,trm and 'clie other end coniiec'Lled to the heacl 27 of the o Liter' secondary clemeilt.. Thiis it -will b,- seen, byre'Lei-ence to Figui-e 1, 'Iiat -when the upper contact blocks 29 are raised by iiie@iiis of the foot 7o 1) ed,,i I s 5 2 the liorizontally iiiotilit6d coiatact blocks -@'@3 Aiill siliitiltaneotisly be otit-",ardly iiioi,ed t6 t,lie posit,ion slio-,;@,n on tlie i-io,ht,- !land sicle of Fio-tire 1 When -,i rivet has be(,ii positioiied tipoii tlie loiver contacu- - block 75 41, as ii-iclicatecl by the dotted 1-'Lnes, and the i,,pper coi-itact bloel.@ 29 is lowered to the ,)ositioii on th-, 1(,ft-haii,,l side of the above the lioi-izotital coi-itact blocli: 43 will sliiitiltaneousi.i, be iiioved into contact with 8o t'@i(, i-iiet bv ii-ie act!6ii of the sl)rin(- there1)3, coli:iplet,iii(y the tiio lieati,,i(,, cii@ctiitsAA@,hich @@-ill subscqulently be desci-ige'd@ Th-. oscilai-iii.@ 6'@') are prcfei@ably iiistilated froiii t,,e iiiaelillie fi-,iine. A coiivei'lieiit foriti of 85 @,@isul@itiiig tlle al-ilis froill the framc, is sliown in Flo,,ui-e 2 wl-ierein each irm is coilstriietecl llsiilatiiaW blocl@: '@ 1 'In'Lelpose@-I therebetiye,-all. It is to be uliderstood, o-'I' course, th,,it oiie go 0:@, tiie sectionsivill be insulated froiv- the bolts 72 by such iiieaiis as -,-uitable instilat:111(- - busiii.(Ys aiicl ivasliei-s (iiot sl-io-",n) i.- otint,,d ol'i the bolts so that currep-t cannot p,-,ss froill oile sect-ion to tl-ie o+,her throuah 9,3 the bolts 72. are also provided -\vhe@eby the horizontall- @ in otintecl con@Laet blocl@s 43 iay be iiiaiiuallv actuttecl should it be desirec I to ob tain a bet'Ler codtact the rivet. Stich 100 iiieans I)r(Iferabl,)- coiasists in pliot-,tlly motilitin(y i h,,iiid lever 73 over e,,-tch contact block 43. These lev(,Ps are iiiotii-itecl on siiitable pliis 74 secured to the he,,ids 42 of the t,,pper horizontal leg 37 of the ini)-elsc@condary ele- io5 iiients 36. i@ I)i-@i 'i5 is iii otinted in each contact block 4'0 aiid tl-iese pins tipivardly exu -li elono- ted i -es tencl therefroiii @hroti,(-, a pei,ttii e s 11 I i)rovicled iii tile. hand ley r 73. Th s 't ivill f ti-iat wheii the li,,iiid levers '@3 ai-e otit oe seeii i-vardly iiioved fi@oin tho position sholvn on the left liar-id side of Fio,til-e 5 to that sh6iin on the rl,-@lit liancl siclelc@ -Llie fiyui@e ' the con'L-act block -@-t3 on the rig"-,[ -ilai-ic@l si-de oi 'uhe fi-iire -will be otitivii-dl3T iiioi,-ecl to the posi- 115 tioii shown in Figtire I so that a rivet in,,ty be irt.-Irposecl bet-vveen the -Lil)p,.-r aricl 16wer coii.ta-It blocks 29 ,tnd 4:1. respectively. Tile -wirinu diigi-am of t'tiis novel rivet is slioivn in Figul;e 'i. A.s here sholvn i2O the -,,-)riiiiary coils 22 a-Ticl '-)3 ii-e coniiected i) iii tieli a iiia-.)ner tliqt a niiiiiber of difLI s - ferent heats may be obtaii'led, and also that 'Lhe entire length of the rivet iiiay be heate(I te, P, stibstalitiallv -Liniforiii teiiiper,,iture, or 125 oiie eiid ilia.), b@' lieated to a consiclerably L,h r tei-iipei-ature li- c, e than the opposi'e Stich heati@ig o-i@ the rivet -Ls accomplislied by man' ul tibn of suitable coiitrol the sii--Yll)le I p 'Cl sivitches provicled for that ptir ose. Elee130 p oi -in tipl)ei- section h'Itiling an trlc,,il eiier(,?Iv is supplied @l-o @Lhe priingry coils 22 ancl 23 b-@, iiieaiis, ol- coicluctorq- '@77, tii@l '48 th.rouo'li a @iiaiii line switeii 79. The coiiductor 77 lea(is fi-oiii the bindiii,,@- 1)ost Si oTthe main liiie siviteli @@9 lo a tei-iiiiia'L 82 oii the uppeipiiiiiai@y coil :).2 oii the i-IL,-iit liano, @ide of Fl(,Ytll@e 7. I'lie ot'iler PrIlllqr@' CID i 1- .22 is coqnec'ed to the cot-idtictor bA, a -Nvire u 83 Tl,ie lowei@ primara coils 20 are siii-iiiai-lv 0,- io coiiiiected to the cojic@ticcor @i@i bv meaiis wii-es SJ@ and 8,-i. Tliiis -it i-vill 'oe seeia Itliat one eiad of eacl@l of the coils Ai-il'i. aliva3-s be iii electricil coiinection @vith the bindiiio- post 81 o'Ll IL-he ii-@ain Iiiie The !,,i condtLCtOl' 78 Of ti'le otlier sicl- oT the ll'no coniiects the J-)iiadiii" post S(i of @'tio liia-switeli witli the lieal post of a suiiil),.,heat coiitrol switeli iriech,,iiiis,.ii. As in Ficyure 7. tllis control s@vitcli iiiecii,,iii-isiii 2t@ pi-efgi-ably coiiiprises a PILlralitv oj' ijiterloci@ing si-vitclies, prefei-ably tliree, 'Lliei-ebl, pi,ovidino,- a loiv lie,,it s@viteli SS, -L ille(]:iuili l,ca'L siyitch 89 @inci ,t bi2'li hea'L si-vlceli O'L. Tliecze sivitelies are f,,Iso -jn,,Iici,itecl iii F;Io@-tire 1 and oii the ivii-i.iir diao,i,a-iii bA,@ 'Li if-, '@, et te i-s L@ il,!. aiacl H., repj@esen'L,- ]-Llo- 'lie lo-,@-. i!ied'uiii @qlACT Iii@_yli lieL,,ts. These siviteli.-s are el-eeL-PIcallv coiiDec'Lecl to flie conciiietor 78 as shoi-vn The loi-v licat sin-itelli SQ, I'@@ coniiecteCL @o the loi-v lieat tei-iiiiiials 9- '-) of the 'tolver L priiii,ii@y coils bv ii-io,,tDs of i-vi-i@(@s 9'0 ilnci 94, nected tothe med;-Liiii heat tern-iiiials 9b of the lowei, coils bi, tile A-v'i-es 96 aild 97: and the I l@io-li lieat sivlt-.eli 91 is coniiecte(I to the IiiL)h -@e,,it IL-e@@miiials 98 o"f' the pi@iiiial@y coils 23 by i-fieans of the A-vires 09 ancl 'LOI. '-.F'Iius it iyill ',)e thac bv the provisioii of tlio control siyltclies 8,S, 89 aiid 91, a D-iiijiber 40 OT- di.Foroiit liea'Ls iil,,iy be obtlined. These switelies control tlic, flo-,y OT cul,i-eiit tlirou--.Ii IL-lie i-tiner or siiiillet@ seconclary -.,i,,d Lilei@efoi-e the 1)ocly oi, @ii,ii) oT the is -iiiCLica@ecl by the ar@--o-v,,s in Fj(-t-fi@e S. 45 Tl,.e iitei-locl@ing ' ',icat coriti-ol siN-i'Leliessloav,.i zn - o, iii 1--li-e ivi.i@in dia--raiii. Fl(ytii-e 7, n cl @,, 1 s slio-wn iii Fi(,ui@e -'LI are sliiii-ltr in construein I t ii to t conti-ol, s-witeli foriii'ng the sub4e(,t riattei, ofi-,ai, pon,,Iirio,iprlicatloii, 11 i'lled Aii-tist 2. 192@l. 1)( ,A siii'lil.ai, licat coptrol s-witleii ii-iechc,ii-iisin i,,@ I)rovidecl for co-atro'llino- t]-te @oi,,, throti(y i the tipper coil,@ 22. TI@lis si-vi-teL, is preferal)lv - pi@ovicied witi-i a q,"riiiar iitirtibei@ of corti@@i @,,Ayitelies 108,.10-'-@, at,)cl 10,5 wi);c'ii ii,e, -Ii electi,lc,,il fl'jic@ iiiaiii iiiie coii@lu-,tor @8 -@s Tliae 'ioii, lielit siaiteli !,Oi') is coDnc,@e-"-,lcl '@1) loiv hea@L teriiil,,aal,@ 106 of the -tipp@,r 'Is 29 1 0 @l-. c@!', coi - by 10- iici 108@ tl)e f@wi lo the tei@iniii,,,I@@ 10@') o' y co e e s ,i i, fl I I P. i o io,@ io ie pi,iiia,,tri- ,oils'2Q aii(i II B,,- tho ovision o--'c 4,h-- co-,ithe meditim lie,@t sivitch 89 i@-- coii-- trol sivitelies 103, 104 and 105 the -flow of curreiit iii tll,@ tipper priiiiary coils 22 may be contro'll,-,,I, as desii-ed 5 @vhich in turn con-Li@ols the flo@v of induced curreiit in the larger or outer secoiidary elements, as in- 7o cll'ca'Led by the ai-i-ows i-ii Fio-ui@e 8. The (-Ilagrani slio-@yn iii 1-@l,-ure 7 is ari,:,ia(-ect for ,i 220 volt, 60 cycle alternating ZD etirrent cii-etiit, btit it is t<) be understood, oT cotirse, that the I)rliiiary coils luay be con- 7r, iiected in such t iiianiier that the apparatus jiiay be used foi- differelit ioltages, such for iiistance, as 440 volts. oi)eration of this novel rivet heater iijay be e-@pl,,t'ned -wit' reference to Fioures so 1, 7 aiicl 8. Before 'p'laciiig any riveils betiveen the coiitact block-s for heating, the iiiaiii line siviteli 79 inill be closed as shonvn ill Fj(,YLlre T, tiiei-eby electrically connectiiig one eild of eacli pi-iiiiiry coil with the main 85 1-iiie concluctor 77. Oiie, of the lieat control s@vitches o'l eacli pair-of priiiiary coils will @lieii be elosecl as slioivii in this figure, there-by cojiipleting a circuit throu(yli eacli pair of coils. -'Lii Pi,,ure 7, the hicli heat control 00 s@@-'teli 105 controll'n(, the flow of current 41-hrou(yll the uppei, priiiiary coils 22 is shown in circuit7closliig position, ivl-iile the circuit Iiii-otiL@li the loiver pi-iiiiary coils 23 is shown CO!Ilpleted by tlie closiiig of the lo", heat 95 88. ll'heii the switches have beeii closed, as aboi-e clescribed, the circuit through ',-Ie til)i)el. pi-iiiiar3, coils ivill be as follonvs: -roiii the iiiain line savitch 79 through tl-io concluc'uor 'i7, to t-lie end terii--iinal 82 of the pri- 100 iiiar@, coil on the rierlit-liand side of Fiyui-e 7, zn zm ilii-ottgl-i a portion of the iviliding of the coil to the high heat teriiiiiial ll'o', thence tlii,ouo,h the ivires 115 aiid 114 throuch the sii-itch 105, coneliietor 78, and bacl@ to the 105 iiiaiii sivitcli -Lerniinal 86, thereby completing the eircu'I'L. The other primary coil 22 -will al,,2o be eiiei,(,Ized as a result of having one e-Tid tliereof coianected to the conductor 77 by the %Yire 8'0 wl,,Ile the high heat terminal 110 'hei -eof 's connected to the wire 114 ',,aC'Ling to the sN-Nriteli 105. The lower eirI cii'j- will be as follows: Froiu tl-ie concluctor the cu--,,,ent -will floiv through the -wires 8- 1 ,trd 85 to oiic, e, -id of each of the lower 1 15 coils 240)., tliei-ice through all of the 'L u-,-@iis oi each co"' to @uile IoNv heat teri-ninal - @)os'Ls 92, 41-1.1- rougli 'c lie ivires 94 aiid 93 to the @.o-,-@ hepLL, eon,- ',,c", s @wi'ch 83, -@ncl back to 1 20 t'ti-2 coicILic'Loi- @S i,@,,diiig to the iiiaii-i line i- I - s yti"cli @9. @. -1" T' @ic- -witcl-i 79 a d the two -ti tl, e iii.,iii liiie s n contllol are closecl as above deSC3"1"eci i'Ll o@ ti-ie --,)rlji-iary coils will be enercause iiia(ynetic lines of t, to -floi,,- iliroucrh the sections of the 125 L coi-e, as inoticatecl by the dotted S T,. Ti'i(ylll.e, 17. As a resul' of the novel of tiae pi-iiiiary coils on the aiicl lo-ver sect-o@,as 17 and 18 of the 131) inagnetic core, two complete inagnetic circu'@ts ivill be generated in the core. The two magnetic circuits flowing through the magnetic core will cause an induced current to j5 be built up in eacli of the secondary eleiiients as is iiidicated by the arro-ws iii F' re 8. 19LI On the left hand si(le of this figure, it ivill b r c notecl that a, ri-vet has been positioned between-the upper and lower contact blocks 10 29 aiid 41. This rivet functions to complete the cii-cuit tlirouoh th secondary elements, as iiidi@atecl bv the arro@vs. Referring to this flo-ui-e it will be seen that tlle c-Lirrent flowilio@ ti-i2i,ou(yh the outer secondar@y ele15 iiient,;;' (whicli cui-rent is induced by the upper @-i'a"gnotic circuit sl-iown in Figure 7), will flow froni the upper horizontal leg 24 of the s6c.ondary eleinent through the contact block 29 througli t.he rivet, lonver coiitact 20 block 41, uhe IoNver horizontal leg 25, and throiioii the upright portion 26 of tlie outer see.ondary eleiiient and back to the horiz6ntal leo,, 24,, thei-eby coiiipleting the cii:cuit. The currei@t flowiiia tlii@ough the above described 26 cli-cuit is pi@eferably of very hio-,Ii an-iperage, silch for exalnple, as 2000 ainperes. As a result of the low current-cariyiiig capacit@, of the rivet, it will imn-iedia-telv begin to heat, caused by the high resistance offered to the 30 currelit '.n flowii@g therethrough. When a rivet is heated in the inannpr above described tlie upper or sm,,ill end tb-ereof tisual@y becomes tl-ie,hottest, as a result of the possi)3ility of- a poorer contact beln,, ob35 tained bet-",een the end 6f the rivet and the coiit I act block 29 than is obtained at the otheiend of 'tlie rivet, thereby cau@ino, ai-eatei@ resistance to the flow of current through that encl of the rivet. It is, therefore desirable ,io that means be provided whereby the body or grip portion of@ tlie rivet may be heatecl to an eqtial or relatively higher teinperatui-e than the siiaall end@ thereof i_n order th,,Lt 'Lhe b,odv or 1,ip of tl-ie rivet Nvill expand suffi45 ciently. when headed over, to completely fill the rivet hole in which it is seated. Heatiiig the. lower or body portioia 6f the rivet to a higlier temperature as above stated is readily accomplished by means of the lower pri50 n-iai-y windings 23. When the low heat switch 88 is closed as above described, an induced current will be built up in the inner secondar m .y ele ents 36 aiid when the horizontally'mounted contact block 43 is mdved 53 into contact with the body of the rivet. which ivill also be in contact -with one of the contact meiilbers 45, a con-iplete circuit will be formed@ - wliieh -will be as follo-ws: througli the -Lipper horizontal leg 37 of the secondary 60 element 36, throuah the lower half of the rivet coiitact block 41, lower horizontal le(, 38 of the ini-.leisecondhry element and bact to the upper leo, 37. By the closin(,, of the above circuit, the flo-w of current tl-iroiio,,h the JOwer. portion or body of the rivet ivill be iL substantially increas d, thereby causing that e portion of the rive' to be heated to a n-iuch L hi(rher 1eiii-i)ei-ature tlia-Ti the upper end thereof. In Figtire 9 there is shoivii a rivet insert@@ 70, ecl in an aperture before bei-ng lieaded over. The shaded portioii of the rivet here shoivn inclicates the o-rip or I)ody portioii of the rivet ivhicli li, ts beeii heated to a relatively Iiigher (legree of teniperature than the up- 75 pei, eiicl thereof. Thus ivhen the upper of the rivet h,,ts been lieacted over, as sho-wii on tlif-, right-hand side of the figlire, the body or gi-ip portioii thereo'L vvill be expande(I stifficien't-Ily to coliipletely fill the rivet so liole,, tliei@eby positively I)i-ei,eiiting any leaka,ye the body of t e riv an a o providin(y a very rigid ,ind rugged connecti6i, betwecii. 'uhe t-v@ro plates or iiieilibers to Le be i-ii-e' d to,(,-etlier. ilien the plates have s5 1) is abo- 7 een riveted to(yether %,e described the bodv )1- (.1-11) of@ the rivet will be substaii" ' zn tially tinited Nvith the walls of the aperture in lvlileli the rivet is iiiouilted whell- a he@id is foriiied on the (-,iid thereo-'L, ciused by the 90 expaiisio-i of the rl-NTet body @is a result Of beiiig he,,tted to i relitively Iligher deoree of t(,iiilderattire than the si-iiall end thereof. Froiii tiie foreo,-oino, thei@efore, it will re',tdily I)e SeE@n-tli@,it by the pro-vision of the 1)5 tivo iiiter'Lockin(y eat contro sivite ii c aiiisiiis, oile pre'l'erably beiii(y pi-ovide for zn the tippei@@,aiid one for the lower priiiiiry coils, it -vv:lll be possible to heat 'clie body or grip I)ortioii O'L' the ri-vet to a rel-,Ltively 10( Iiiglier teiiipci@dtui-c tliaii the siiiall end tliiereof. It will als6 be possible to heat the si-iiall end of the i-i-@,-et to a Iiiglier deo-i-ee of teillp-,rattire than the bod:y or o-rip ;ortion thereof by decreising the iltilliber of ampere turlis oi the lo%ver priiiiary coils@ 23 ,tiicl by increasinu 'Lhe iiuiiaber ol ,l-iipere t-Lirns oi the upper priiiiary coils '-)2. Such inereasiiig and decreasin, of the niiiiiber of ampere turns of the priniary coils is effected by the openino- and closing of the heat control sivi' tches @is a.bove desci:ibed. It is also to be tindei@stood that., if clesirecl, either the uppei- oiloivei- priTiar3T coils inay be cut out 6f the eireiiit thereby causing only one set oT coi-itact blocks to function; tn,,it is, if the lower coils 23 Lre eliminated from the reiiit then current will be 'iiclueed ill the ei outer secoiid,,iry cleii-ieiits ol-ily, -wliile if the upper priinai,v coils 2), @Lre ellliiinated frolia 12(l the circuit, then the curreiit will floiv tlirotio'li the inner secondary elements 36 ana t@rough the lower portioii of the rivet oiily, tiiereby heitino,, only a portion of tlle rivet. In PA io-ui@e 1, the i-iiaiii line switch 79 is sho -N@ii-ii@i'ollTlt(,cl ol-I flie left-liand side of I the 'LrLr.-ie of the apl)aratiis. wliile the lieat, control switches are sho-",Il iiioiin'ted oDe, on each side of the upper p-ortion' of the frame,