заявка
№ US 0001625241
МПК B61L21/06

Страна
US
Как управлять
интеллектуальной собственностью
Чертежи 
2
Реферат

Формула изобретения

iilii6li is connected with the -track rail. This provid6s a normally opened cii-cuit. I-,i all three instinces, the, separate eire-Liits are coii1 1 c,@@ 'th stii'u-@,@,blie an(I sepfti'-,Lto )u,'ces :tc,(,! IA-1 s 5 of enei,,,,,)T or supply. Ftirtlie-l.-- 't is cle@ir that t' e ei,-ciiits i-@,i t)i,o iiisttn(@efg, closed, i-vheii the wheels of tlle t!.,@ill pt@,s oier the portioiis of tlio rails iii 1171iioli the )Nii.-es 34 aid 35 are corinecte(l. 10 is tliei-i conipleted tllrotigil tlic, wlieels. i-xle, etc. l@]@oill tll(2@ forc,(@-o'i, 't Aiill I)e seeii tl)@it I litao I)i,oN-I(lcd iio\,,,@l switcli betii@eeii tle spaced en,,ts of tlle rtils iiieluded in ,t iiiain ti-iiek aiid a s'lde ti.-ack. The switch coiiipi-ises a pair of diff-ei-ep-@tly coi-istri-icted nielil)Ders of relatively dig,.erejit lei-igths - wl-iieli .,re coiiiiected togetlior to ol)erate in uiiison. 'Ihe switch is iioriiially dlosed, utider the 20 tict"@oll Of tlle Spring pressed plun r 17 ai-id ge tlic" electi-ical safet3, appliance 19. Uiicleistiell c,',Pcuiiistaiiees, the train ibay traver@@,e the iiiaiii track as if no siviteli were present. .@)Llso, a traiii coliiing froi-n the side track 25 oi-ito tlG, nlain track viill seri,e to press the iiiember 4 of the s-@vitel'i aivay fron-1 the relatii,ell ,,T suitioiiary pai-t of the track, aiid in so cioinwill thi,ow the siiitch so as to L@ i)eril-iit the traiii to get from the side track ,iO oji'Lo the ii-iaiii tr,,tck when travelinu in a direction froiii right to left. In traveliiag to the opposite direction, the ivheel flang'es do iiot fuiictioii, but the inechanical opera'uiiig i-iieans may be. usecl to throw the 35 switeli bv hand poiver, or the electrical safetv coiitriv,,Lnee 27, may be used, for throwiiig the siiiteli over to allow a tr,,Liii to shift fi-om tl-ie maiii track oiito the side ui-,ick. At 'Lli's time, the electrical appliance 27 is operated by energizin@y the magnet tlirou,gli the cii-etilt wires 32a ,tnd theil 32, t)y closiiig a siviteh ii-i ,t tower. If desired, @ill electric iiiolor, coinpressed air, or otlier stilt,ible poia,er could be coiiiiected with the L-) ch@tin 26 foi@ operatiiig 't. It is obvious too, that ii,lien the switch is completely thrown oi,ei, to open position by the magnet 3'L, a ,aap will occur between the contacts 26' by the tinbridaiiig of the same by the contact 5@) iiieinbet- 24, thus reiiderii-io- the clect,rical s@ifet-@7 appli,aiiee oii 'clic other side iiioperaIcive fo@,- the time be-iiig. Froiii the foregoing description, it is clear 'ha'u I h,,tve e@,olvecl and produced a novel 5;3 itch 'or railiv,.ty tracks aiiioiig SW possessingi others, tlie fol',-owing advantages. First, it proi-ides @ most satisfactory arrangeiiaeiit or coiiibin,,ition of the iaiovable switch rails, it beiiia tliou-yht that the switch per se, is iiovel in itself , owing to the particular coiistruetion of the double rail stub, and the especially sliaped mono-rail formiiig the coopera'uiii- meinbe,. on the other side. It should be noted that the mcno-rail is coiistr,@Leted properly to bring about the df,@sired -Nvedge tetion -I)rodtic6d by the flanges of the cii@- Nviie-,l@s in eiitbliiio- the lifter to shift (',C, n Iwhle the traiii is ialoving froii) 'c'lle sidiii(, oi,,Co the iuain track, at whicli "lo electr@cal appl ance 27 aid--, in tl-ie 70 -)ii. Secondly, tlie invention serves ti i@l'fiiiiil]7c,, tlie, ("Liflictr]L'ies ciiised by siiow, a,@i,,l otliei, foi-ei(,ii iiiatt(,i, in tel-,Tel@riiio, iayltli tl)e effeetive OI)ei-,ition of switelies of@LI)is l@iiid. I)tie to the fac,@- 'Lliat the siiite-ii 75 is iioliii,,1,11 closecl, the aceiiiiitilation of stieb L,(@tNN@een the iii,!,ii ti-tic]K and sivitcli is i@,oidecl., iNfoi,eovei-, iiiidtie friction aiid i-esis@t@ince to the oi)eratioii of tlae Illoveiii,@iit of the switeli @,ills is redi-leecl to a 80 ]@liplilitini i-iial-iiig tl-ie ol,)eratioii easy aiid vtltli precisioii. Generally, it offers a meI i-iic I ,iiid electrical iiieans coacting i'll c ici a pi@ope . r ii-ianner to safe u,,ird agaiiist 9 risillo, Otit of the opel,,itioii of rail- 85 wa-@ sll,-itelies. It I's to be. -Linderstood, iii 6ojiTie(@luioji i-vith tl-@e eloctrical contrivii-ice 27 tlia'u a s6urce of etirren@ is in@'lided in the 32, this beiiig of ,I streligt,li -",Ilicll enero"izr-s the magiiet 31 to a clegree to 90 reitder it ii-isiifficieiit to @uhi,onv the switch iiii'I'Ll@ted. It is flie pui@pose o,'L this par i t@cul,,ir eircii,,'u to siniply aid iii moiing the switeli 'Lo opei-i position i),hen it is acted on by t,lie lieel flanaes 6 The current passin U5 car w 9' 'hi,ot i @a how er, is froiii a u _gh the ii@ires 3 ev soul-ce which is comparatliely stroiiger. 'uhis beii-ioperated, as be'Lore stated, from a towe i-. The ei-irrent hei,e generated is stifficiei it iii itself to ener(,,ize the ii'lagilet 31 to a degre-e to operate or throw the s-witcb entiiely iii-iaicled. It is understood that in eoiiii ection witli the eireliit thro-Ligh the iiires 32, that tl-iis cireiiit is closed autoinati cally 1,)y the car wheels, ai-id axle of 106 tli(,, locoiiiotive moiin- from the sidiig olito the i-iiain track, this eiid beiii(y accoiiiplisli ed wlieli the traiii is -knithiii a few rods of the i-allway switeli. The other eiretiit is iised iiiore partici-ilarly for throwing the 110 S",itch foi- ti@ains approacliipg tl-i-e saiiie from the 6pposite direction. No doiibt, a careful coiisideratioii of the desc ription in coiii-iection witl-i tl-ie drawiiigs iNIll enable I)ersoiis skillect iii the art to 115 ii-liieh the ii-ii,elitioi-i i-elites to obtaiii a clear iincle rstajicliiio, of tl-ie, stme. Therefore, i more lenathy descriptioi-i of the inveiitioii is thou(rht utiiiecessary. While the preferred embodimeiits of 'ube 120 ini@ ention have been specifically described aiid sliown, it is to be understood that minor chan ges comilig withiii tl-ie field of inveiit@on eliiiiied riav be esorted to if clesired. I-laving thiis described the invention what 125 I I claim as new al'id desire to secure by Letters Patent is 1. In a switch eqnstruction, a main track embodying spacecl parallel rails having a gap ISO oxistiiio, betw"n the adiacent ends, P, side

ti@itelc (,iiibod3,iiicr r@iils coiiiiected Ai-it-li iclj@,iceiit p@-Li@,,illel i,ails of t'lie iiiaiii tr@lc-k, otle of' the r@iils o@ the side ti-,tcl;: I)e,ill@); (,'Olll-lecte(l ivitli ,I I-eiliote l@.1i] o-C the iiiti;ii s:ilcl gtp oii one side. zn @, -iiid @i iteli locatecl ii-i s@ii(I gil) @iid eiiiiiiovable iiieiiibers 1)1'o@icl@(@ )I'itli ],),Ill I)o@'L-lon@; to lit@ IN- @,,Ii(,iiecl -\vitli ilie ball portioi-is oi' 'lie, i(le i@.Ills ol@ i@,,iils s @i -11 iiiiiii ti-@i;(,I@ f,iiisl).ic@(,(l 1),,trall(,.l rails lia-\-iiig -L tll(@ icl elicl- @i, I'll i kI e, Vitll tll(', ii(Ij@lcoiit i-@iils of t',@c, iii@i'ii ()Ilo oi',@, (lie r@iils oL' tli@,, ;;de triie'l@ 1),@- c@)iiiiec-ted l@e'lljot ii e, i-, I of tli(, tr,ick iiiicl bi@id(,-iia!,, sii(I oi-i one si(@le. @iiicl i s,,vi.teli locaied iii s'-,@id !,Y@@"P iiii(I ei-ii!,)o(l-%-iiig Sill.tillt@1,11001]S.]), moi.if)le ineiiibers pro@-id-ocl %vitli tre-,td portlojis adtipt(,d to l@)c iTiLli the b@ill I)outloiis i)@l' the si(le 'r@iils"or in-,tiii as dc,,sired, tti(@ -[I the iiiembers of said 1.)ol-t@ioii oT on(, 0 iioriii,,tli\, I)oiiig iii (!o,iit@ict \@7itli 'li(, L (@orrespoii(tilig I)Ortioii o,f t'lic (tia(-oiiil I)oi-- tioit oL@ tlio s;@-te r@,,il s,,tid (yal). 'I. Iii ti si@@iteh of tli(, strtictlire d(.,scril)ot . I @l piii@ oT, spiced pai,,illel sivitcli r@,111 sections l'oi- pi.vot,,,,l inoveiiiei-it, 0,@tcli of s,,Iicl s(,,etions eniboctyiii(,-,r i 1)@ise fliii,,Ll 1,625,24 1 Iiaviil(' 'Ill lil)stlildiiig )Vel) ,It Llie top of ivhicli is a tre,.icl I)ortioii, the cross sectioii,,tl slii,,I)e of the tr(,,a(l poi-tion of one of s@l,icl Fiviteli i-@iil sections i,,iryiiigill ll-i(lt@ll So tll@lt 35 this ti-e,,id I)oi@tioii is t,.Ip'el, .(,(I to)vai. (I its ol)l@oend-q. 4. l.ii i i-ailv@-aN@ swit(-Ii striicttii-e of the (,I-Itss descril)ed, ,t sliort se(@ti.oll (Iii'l't)o(li,ii.ig sl)@ice(I pari.111(@l i-ails @t(l,,tpted to be 40 ',I liie(.1 ,it oii.c, rid eitlici@ \@,itli tlle I)all I)o-L-tioii e of ,i ni,,tiii i,i,,il oi- the )o@--io of @i secojid @iiiteli sectioii of ,I, I(Iiigtli tliiii tlie, fint naiiic@d sectioii. ,iiid cotiii(,cflotig 1.)c@tNN-eeii s,.tid s\vitelt iis. 45 Ili ,t SN@riteli striietiti.@e of t]-@e (-Iii@s (1c,-;cribe(,I, a 1),iii, of si)@ice(t p,,irzillel sNN@iteli sect;ons, oiie of ivliieli is coi@-ipavitii,cly loiig aiici tli(,, otlier oi-ic oil ivliieli is shoi-t, eacli of siicl sectiolls 50 I)eiii@r adapte(I to 1.)e I)ivot,,tII3, iiioulited in a sw-i@eli pi@oi-idecl iii i i-.tiliv(ty tracl@, ]Ono- S(!CtLoll (-'ollll)l'isiilg i ti-etcl portion zn Nyli.ic!h is decreased iii 1'Vi(Itti toiv@ird its fi@ee eii(I to I)i-oi-ide t knif(, od(-e the biitt eii(t r) r) o'@ ai(I treld port;oii being tlso L S ;ii -v,71dtli to@@,,ird tlio I)ivoted end, ,in atta(-Iiiii(,- )@-ing it the last iiaiiiecl eiid of stid loiig section aii(t coiiiiectioiis I)etweeii s,,tid sii,itclisections. Ii-i t@estiiiiony @i@llereof I @iffix iiiiPERr@y o. 11ROWN.

Описание

[1]

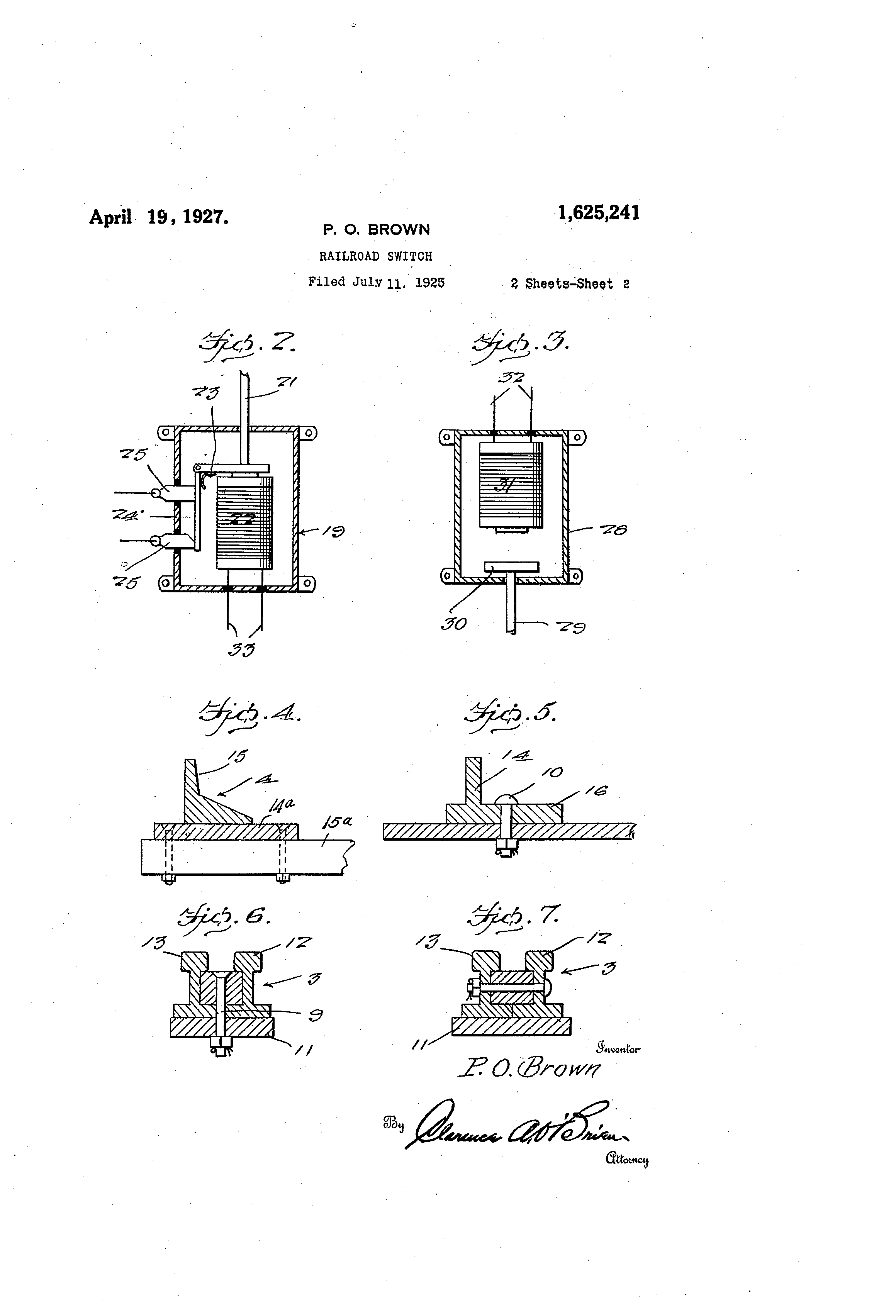
P,-,itented Apr. 19, 1927. 196251241 UNIIT@ED @S@TATES 'PATE@@NT OFFICE. P'TI"RRY 0. BROWN-, OF ST. VINCENT, 1'91NNESOTA, ASSIC-NOR OF ONE-HALF TO GUSTAF V. BACKSTROM, OF ST. VINCENT, XINNESOTA. RAILROAI) SWITCH. Application filed July 11, 1925. S6rial No. 43,016. '-'Lhi,,@ ina,entioii relttes broadly to an im,proved r,,tilwa3, switeli for,tiniversal use, aiid it has specific reference i-n one instance to aii jlllpl'OlTeiii2,-lit in the switch itself, too,,etl-ier iN7itli electi-ical and -niechanical safety coiiti-ivaiices and appliances associpted tliereAvith in a iioi,el iiiaiii,,er; to be heieinafter i.,lore p,,irticulaulty poiiited out. Br'lefly, t-.Iie iiiventio--Li li,,ts reference to a io structure %vii-.rein a side ti-ack is ,tssociated )-vilh a ritain track, togetl-ier ivith ,Ln atito,ii,i@i,t;@cally operable savitch coopei.-abl-, with these two tpacli:s Niliereby t tn, in iiiay atito,iip.tic,,Llly pas's froin the side track onto th,,e 15 track, it -@-,hich time the s)vitch @-,.atitoiiiatic,,),11), tliroaiii 'Lo periiii@'u this to be safely @accoiiiplished. In this coiu-iect-lon, it is to be stateci that ili@, sv,,-Itch i.s coiistri-icte.,d@ iii a iiianiier to b-, slii'lted bv the iilieel flanoes. 20 i@- c par t of tiiis application, aiid in ivhich lil,@e nui iiergls- are eiiiployed t6 designate I'ke pdi -ts throuo'hout tl'le same: Figure I is @i, top plan vie.Av of portions of a ii:iain ti-ack, a side 'Lrack, and the im- (in pr oved. sivitch, the arrano-eiiient of details bei ng@ Sol--qeAAhat diagrammatic so tha;t the ,(e eii-er@il strtictui-.e linay be vieived as a -Linit. Fig'Lii-e 2 is a detail vieiv of aii - elec'urical co ntpia,ance formin,- a part of the invention. 6 r) @ Figure 3 Is ,t similar view of anotlier elec@. tric al contrivance. Figili@es 4, 5, 6, and 7 are@ cross - section,-,I vie ivs talcen a,Ppi-oxinl-,ttelv tl]Don the l@lailes % of; the Iiiies 4-4; 5-5; 6--6; and 7-7 of 70 Fii @Lit-e I respective@y. I-,eferrino, to the drawiiio;s in detail the iei@oreiiee characters .1 designate the rails of wh at.is,definedasthen-iaintrack. Tlaeseap'IlIg in conjtliictiod., hoAveiTer, is aii elee- pear at bolu-h eiids of the showin- in Fi(yure 1. 75 trical sqi"ety ip litiiee T-or aidi in throavThe reforence characters 2 desi,-ilate tlle p , 3:@g ii,.(Y tl-ie sivitoli at this time, and this safety rqil@ of- the side, track, freqtiently referred appliai-ice is in open cireiiit with the track to as a sidingi The iiuproa,.ecl sivitch iliterand closed by the traiii itself. venes between these two tracks, and the rela25 Means, prefei-.ablv controll-ed from a s-Liit- @,lv,.el rioa,able parts or i-iielubers of the 80 y able sotirce of current, is utilized in, associa- skvitch are design@ited,generally by tl-ie relftion with s,,tid electrical safety appliaiiee so ei@ence characters 3 and 4 respectively. In th.Lt the switch i-n,,ty be thro-wn without the -coniiectioii ivith the rails 1, tt the left hand ,qid of tl-ie car -wl-ieel flano-.es.iii order that it side o,f the clraiving, attention is directed to 3.0 m,,Ly be properl positiol'i-ed for @allowing safe the brace or@s-Lipplemental guard rails 5 dis- 85 travel of a trlllin inoving in the opposite 1-)osed in spaced parallelism iiith the rails 1. direction fi-om the i-nain tra6,li: onto the Th6se rails are coniiected togetlier by bridle siding. bars or, acljustable coiine6tioDs 6 simulating In additioi-i, the invention provides for an- oidiiiary tur-n-buckles. Adj.-.c-Iiit the con35 ot@her eloctrical s,-Lfety al:)pliance, disposed oii verging ball Toj:millg portioiqs of the rails 190 the OPPOS Le side of the:track aiid a6ting to .tlld 2@.and cfll the ri(,Yht hand side is an ad.automaticq-ll hold the switel-i in ditional (yu,,Lrd rail T. Moreoier, duplicate .y rettirn ancl Z, a close position. This saf-ety appliance is in bridle bar conliectors 8 Lre employed betweeii opeii circuit Avith the track qnd the @eircuit fl-ie savitch members -3 and 4 to calise simul40 is closed bv the train itself. A dist'net fbt- taiieolis operat oii of these men-ibers, and to 95 tlire of tlii@',s appliance is that it einbodies a poi.,mit any necessarv adiiistiilents of the i,iormall.), closed circuit closer ivbieli serves sai-fie to be.ii@ade,. The,iiiember @9 pivoted to to move the switeli from a partially 6l.osed ---Nviiig tipon the vertical axis indicated at 9, I)osition,to a fLIly closed posit,ioii, and whidh while the niember 4 is pivoted to swing upon 45 is rendered inoperative in itself wlien the ..the vertical axis, 10. Co.-isiderin- iiiore in 100 sivitch is fully openea Cidt ail-the rai,l ineitiber 3, attention is directed The inventio n is TtLrth,@r characte 'zed by to. Fi(@iLr es 6 aiid 7 - %vlierei ii it will@ be se@eii . el aii: arr@Ln_g-ement of stri-icttir,,tl detallswliieh that - this @ men-iber is in reality inade up of 14t - of this t - rail,, each inclildinu a, head, a iveb, and i.s aii in-iprovemeiit tipoii inve ion8 wlo -50 class, dule to the@ fa-et ti'lat it is comparatively a base.. A .&pacing bar @s arrano-ed betweeii 105 pr@ctical- 1)R construction ai@d - sudt th@ -@-v@6b p'or-.ti'ons qnd is boite-d- "@iii place as thai it nia.-v, be incorporated in a ec;nNT@ntio-iial @ h6-y@n i)l@iiily in- Anotir6@ 7. The -base pori-tlio,ut @e4.-Liiri of t o era ilq siida tipoii a'ba-se ri, extexis@ve-abl-y ter,a-P-io,ri.s of. the rtils, @nd.@the ne. @l.@ite,bolt,od.io tb,6. fie. Tllisl)ase Ijlate is 6f d ti.@ it r, t @ii th@ coiiibi ned I IC, ii, ih@6 A d iig ,- f6rm @ th igii g-re e h ecoinpaii.yiii.o,,., rawi a

[2]

L:@ 1, 61"5, P,,l 1. )N7i(itils (@ll tlie, of the i-ails ,iii(I i@@ of i leilgtli e(iiiit to (@oiiplete iiieii:ibei,. Iii soil"(? iiieitil)er @il iiiay be reto is a or do@,il)le riil sttil), ai-i(I '@)N, coiiip@,@riiio- it ii-iili the iieiiil)er 4, it is s@eii tli@it @it i@,@ sliol-tei- in len(,tli. It is obi-iotis that t'ile 1),i-it foi@iiiin(r - poi.@tioi-is of these tivo 1-ails @iiitc@il(lod to 1)(" seleeti @7 ely ia-itli the por@ioii@, of tli(@ i.-ails I ttiid i-,o tli(@ is to llo\v t@:@ ilit@, it lliitt it i,@iil 15, that tli'is i,,Iil is i's It-o tlie, stil)stai@iti-lilly to @i e(l(@e, as 'te at I.,r). it its ol)posi )iid. 'Fl@ie riglit enc@l is ,issociqt("Cl -\Vitli 11 -\I-iilo- -10 -foriiied ii-ite20 ivit-li the b@iso I)oi-t;oii ol' tlie rail ,I ii d L" coiistit-Litiii(-r the 4@or coiiiiectiii(r tlils ivitli tlio ,i-rorcsaid pivot pii-i 10. Tli(@ dotible rails of tl,,e sivit,,-Ii 'D are (listli(@ l@t by the t2 aiid 13 as sl)oii-n. It shoul(I be, note(I ilso froiii F4igiii.@o, 4 tliil; the T-orportioji of this rail 14 is siibstqiitiall)r i,i("iit, aii(-Litai, ii cross seetioii, this i-irlit poi-tioii r(@@,@ts iipoii t el@-tti@relv sl r iort zio I)ol',e(I oi- otlic@l"%I-isc, 1',-tsteliel lo tjle a(ljiccii.t ci-oss tie 'I'Iiis ])late li@t@, is of I leii(@l-ii to tlie, iioccss,,(try li'loveiiici@i of the L@,til 14, Tli(@ st-e,.ii of i pi(,,ss(,,(t l@- .1 is Avitli 'L,Ilc, IliellIT)cr 4. oiit(@r eii(I of tli;s pltiiigc@r i.s (@oiifi-Lied iii aii iiielio3,ed e@isiii,,x .1,@ of the tl.(Icl@ (let.1ils Toi-ii )vli@,it is sollictiiiies 1,@3101vil ill tlio 1',, I fl 40 t'li@ 1) @l CI;z ti-ic,il saf(@ty iii the 19, @n this 9@iit@ibt3- iiieliore(I oil 0 I'@ (', of tll(@ (,I,oss t@i(,S. (loiili-iiii@)(Y @itt(@iition i@ioi-e to tllo (@oiistrtictioii 45 (f this 1.)(@ inoi-c clos(,t,,- ol)seri-e(l. -;@s slio)vii liei,e, it coiii1) 3.@; sc-s ti l@) i ill ro (I @, I coiii-tected i-vitli the siviteli I ii @, i ail iriii,@ttiii,e llel(l oil 1 ilei, ell(I (,Oopoi-@ibl(,, ivitli aii electi-oon. tlle I-ocl is @i I-icrlit 24@ @lital)te(i @.01, co@i(@ftoli ivitli tlio s t) -, i. c e, coiiti(-,'L,-; The cii@ctilt ivire,@ ire coiiiic,,,@te(i ivit@ii t'lle coiit,,icts 2,,-) iiid the co-,qiece is i-elqtli-elv slidable, i.s ad@il)tect ti) to ]Iol,- iiiall@- re,,i(lor ii-i ol)eii cii@- ciiit v,-itli tlio '19 \1@ill t)e itli(l(,i@stoocl. -kqei@e, it L@ '@)c s'Late(I tli@.it- i,@ll(ILei, cloildii-ioli,,-@. tliese, coiitaecs 24 aiicl -2,5 ii-e (,xeeedi.ii(-,Iv iiiiport,iiit. For instai-ice. if the sy,@itch is oiilv partlil- opened, the cireiiit iii ivhicli the coi@tacts ai-e inelti I cled will be in readiiiess to iiiiclose t'lle switeli fully Is 'sooii as 'L',!(' Ipproteliiii,@' @l'i-oiii I-li(,, This - clectri(@,tl v@,itli the iiiecli,,in;cal (loi)i@il@es ,iii ititoiii,,itio I'oi- the siyilcli to closecl positioii it iii siielt I)ositioii. lkl)ii tilo otlic'., si(@l.o ol'! tlle SINic(@ii StpLiettii-c i@; ili@, SAN,Itcll. 'I'liis iii (,ii(@ lle@@ible cliiiii is I)II-illi',Il-i]Y IIS(@(I 1)@@ lizi@11(l, tl)e !]I :ill \r to ol, ;Nvit@(.11 it, tilis b,@iii(, @ilso iise(I foi- [Iii@oNviii(@- tli(,, l@)i, lli.,oiii a cii-ei.tiL(-oi-iti-ol i'i,oii-i @.i t 1.)@- i.i@i(,@alls o-t@ aii eleeii@ic siyiteli I)iittoii. coiiti,ivince sei,l"c"s @ilso foi, liold;ii(- (1-t(@ opeii iNIien @-liro-Nvii iiiecliaiiicall.@- 1)), ilie fl,,iilge@, Oil tlie, (,ar -v@-lieel.,,. an([ ag slioivi-i ii - t is o t lie c 11 I-ivinec, coii-il)rises ,i, 28, ,t i-o(I 2@) liaiiiig ari ariii@itill.-C li(,qd c(-,ol)ei@,,il@)le v,,71tli@ ilie, el.(,ctroiiil(.Iiet 31.. The ")I iii tli(,, lioiisiiig 28 i,,, iiicltidecl in ivii@it iiit@r t@o to as ,t cl.otible ,I eireiiit whicli iiielilides Li@-le livo ,Ill pl@rt Colltrolle(t I)y fli(,, ti-,iiii, iii(I i, @l @ilitlt)ly ]oClt.(@(t (lotible cii-eiiit ,ii-- iTI(@111(1(@s tivo sets of (@I]c c iii,,till (!(,gigli@it(@cl [110, (lesigiiatc,,(l Iii(@i liit@ilc I-,-, the )Yir(,s .ii-c coiinected ii,it@li (I]- ( II (@, 32. loi@-eovei@, the siil@)oi@ t IA,' 1) C) -, al'o, 105 i-@iti) tli(' I 1. ol. o 11(@i@ stiital)lo soiirce oi' Sill-)PIN- @111(i 111(@Nr iliclil(l(, ,t 911'if@e@ll (1101, @@lioWll) is of tll(" ti@icl@, (also jiot 110 slIO)VII). 'Ili(, ii,ii-(@s ')2 coiinecte(@[ witli :t s(@pii-at@e il). a(lditioi-i oil(@ ivilt (@oiiiie(@ts ivitli ilic i-.iiis o-C, ilie tr(icl@ oil 0I)e, si(l(, @111(i the otliet- ivii-e coliiiects iiritli tll(" @vii-e Ill(, toi@-(,.I@ j@@ )Vill l@)(, tli:it the i@).Ilglle[ "@l. (@ltit I)e cii(,i-(,@ized eil@I)ei, tli-, it](@ctit!lll of the ivIl.lo@7, 32 @liicl 1 til-L'Otio-,I) flio iiieclii.,,i,n of the iv, res 86 i "YI(@l tile I F]Ierofol.@e, (,'Iiiyei,crit ol' ol)ei-,t" Lioii. ai.,(,, ])i,oii( c the iiie@tiis 2(i @,iiict i-,Iie cle(@ltri(.@ii ill" i-, ill(,Ill(los @iii .1lutolTi@itic elee125 i)ai.@l@ @ill(I to-",er coiitrolt(,,d part. 'I'lle lii-st 11 @l]liect cii,cttit oii tlie, ol)posite side oi' tll(,@ ti-@iel,. ii,liiel@i ilielLicl("-, the iiii(-,net 22 also iii,,Iii(les c.,,iri@ent d(,,si2@i-i,,ited bi, tlio re-'Lei,eiiee cli@ira,,,t(,,rs 3'a, tli,-s@' Leiii'a'ssociated 13@i NviL!i a @,ource o'L slipply alld a wire 34

Как компенсировать расходы
на инновационную разработку
Похожие патенты