заявка
№ US 0001529105
МПК G07D9/00

Страна
US
Как управлять
интеллектуальной собственностью
Чертежи 
3
Реферат

Формула изобретения

aiid the arrii is fi@ee to be :s(@t i@iL an37 @.positioi-i desixe,,I. li-i the operatioi-i @of this settiir@g clevick,,, to couiit sav ten coins, the ai-iii ivill be set af, the ni-iii@ertl 10 6ii the index plite 1.,) and befol!e st,,irtilig tl-ie ii:iotor that turns the table the operator I)resses dovn oii the piii 19. This ivill raise ivliatever stop pi-n 16 is agaiiist the sttid 14, by oper,ation of the p!uD,(@er 15, :a,.icl it tlit@ t;ine ivill iorce c@oi-,,-l-, the pin thtit I;Ies beneatl-i tlie ariii. @ "e i-iiotor Nvill theii be sta!rtecl. @and i,,-heii the star iTIieel lias been;ii-ioved,aro,,ind b-v teii coins @tlie seleeted pi,ii 116, Nihich i ivas pressed doivii, iiill be stopped :,igaiiist ti-ie sttid 1741. tl-itis stoppiii.g the rotqtion of t'Lle tt,,rret, aiicl also thtit of @the istar W'iiee@l. so that -,.io iiiore coins will I-e cielivered. The operator @iiiay tlien prcss do%Vll :@agaiii 2o on the pii-i 19, -N-v'thoiit chaiigii-ig ithe position of- the 17, f,,,nd,ten more @coins @cal'i be coiilited; and so loii iiidefinitely. Tlir-, br@ike actioii of the paiyl 42, above ireferxed to pi-evei-its overtliroiv, @vi,.ich @jilio-lit c,,i:rl-y 25 tll(, piiis out of i-e-isti-IT v;ith ;tlie iiiarks OTi 'lie iiidex plate, .tiid ilso I)revent-s over-@ t,il.OIV cf the i-egisteriii,-,- iiistriii-nent 13. 1,A'Iic,,n the coins pass Lf'@ie star ivlieel @they -w -i off by arc,, tliro i the i-otatioii of the tvble 3o into a chii'te 90 leadiiag to a delivei-y ?tube 18. This ttil)e is of,novel constriietioii. It ,-oiiipiises @t lie,,id from ivliidli (,Iepends -.i pair of tapered geparited sides 01 @(Fio;. lil,.) - forme(.1. o-f thiii iiiet,,11, the lower eiacls 'beinc, 35 tapered as indic,,itecl at 92 , a t'-' 4-o f cilita, e mo-Liiitin,-; tl-ie wrapper 93 thereon. The 1-iead lias a pzir of ears 94 -with iiotches @95 -Nvliieli ii-i,,,v be ei-ioa(yed oi@3r the lie-@tds of spring pliis 96 to hold the tlibe -,Lzain-,t the 40 bottoin of the casii-i-, aiid iie@vertlieless perni; @t-tin- it to be detadlied for the siibstitutioi-i of otl-ier tubes ii,hei-i desired. The hear-I IS has i tapered boi-e, and there Nvill be cliffereiit tiibes ivith different diaii:ieters for 45 cliffei-eiit sized coilIS. The paper ttibe or ivi-apper in conse(titence of tli,,,- coi-istructioii of @t',Ie tapered tiibe, c,,,ri be easily pliced upon tl-ie tube bv -i slidin(- inotic)ii, foi-eiiio, the ivral)per, over n ,,i o tle outside dianieter of the tube, aiid by holclin(,, oiie finger iii the ivrapper A,@ith the othei-s (,ripping outside, -when tl-ie correct ntimber zn of coil-is bave been @delivered the ivi-apper niay be s'tid oiT ivith the @coins inside. 55 The 'Lable iiiav be rotated by any stiitable nie-aiis. I have shoivii a motor 100 s-Liliport,tnd connected:b e(i oii the staii(I y cyearing 101 to the depending slil-ft 102 wl-lich is fasteiicled -,Lt its top to ztlie @table I @and @ exten(Is c) o tl-iroti(,h the bottom of the casing. The Av@ole -will be conveniently mounted on a liolloi-@- sta_ndard 103. it is tlioii(rlit th, ill be it the operatioii w evicleiit -Ilrom the above clescription, but i-t 63 iiia@- be e-xl)lained that i-t is iiot iiecessarv 'Lo ,top ilie iiiotor ivlien @-Lisiiig @tlie machillie @for pacl,-aging. "- Phe oiiiy o-I)era,,tion required is to pre@s tlie bi;itton on tlie pin 10 iiliich controls tl-ie ope,,ritioii of @uh@e t@Lirret. I e 0 Wlieii ithe motor is sta;rted the p Ite or tabi I is revolved, @tind,the coins bei.iig.,fect ttliei-e,- on pass throu,-Ii the o-ate . 3 A,,id are c@rriecl a,i-ouiid aild pass @tinder the tliielkiiess gage or bar 12 and against the diaiiieter gage -or gi-,ide bar -10, @and follo-w the -saine @in a sin- 75 ,)@ld @ro@,v @around ito @tlie sttir v@,liee'l @ihich i@s operazte cl by the pa,ssa-e @of @the coins;'Llo the extent ,permitted blr the setting ,,clevice, aii@l tlieii cliroly i,.nto @the 'chtite 90 ancl the te-oiii tlibe @antl wrapper belo-w,. A171i:en tlie Tota 50 tioii @of;the star:-wli:eel @is sto,pped ]Dy the set piti 1,6 strikin the:stud 14 the I)assage of 9 the coiiis also sto s, and tli@e table coiitln-Lles p to rotate @@Ullder tlie bed of coins ithereon until,the piii :19 is a,-aiii pusliecl iiid;the ana- 85 chiiie is @started @to ;Pepeat the countin(y,operation. And iii consequence Of t@e setting clek-ice the sarne intimber:,.Of @coiiis iiill be deli,v@ere d at 'eael-i operation. No 'j),,trt-s @have to be - set back, 7anct itlie mach;.@ne @is therefoi-e C)O capable of- spee(ly opetati<)n. The @t,op of the - reNrolN,ino, plate beiiig il),erf'eotly - s-i-nooth ha . s no raised parts iv,,Iiieli -,ivotild'iiii,,ii the -ns or i cause cloo, iiio thereo-.f. coi ng e, IA'e claiil:l: I@. @Iii ia colln COLIliting @iiia,@Iiiiie, Cl-te @ combii-i-,ttion of a rotary -,t,,tble @on wliieli the coins are placed ,t rliii-way @adjaceilt thie@ eclcye of:said table, .@into -"Thich the @coins a-re foi,- 6ec,l bi @- ceiitrifligal @action iiicident o tlie rot,,I- IP)O tioii of the table -said run-wtly@ha@l,incr a side giiide - ,cljustable!laterall.,.y to v,%ry -the iizid'Lli of tl-ic ruii-wav according to lithe,diamgter -of the coiiis to be @admitted, and i, relgrsrer operating cle-vice projecti--rig into the -i-t i]iNiTa3, 1,05 and aettiated by tli-e collis to indic-,tte the number of,coins passed, said ()'tiide, havin(,- aii :extensioi-i @I)iojectii@@o ttiru tthe casi@iig,of tl-ie m.tel-iine tncl -,id,-iptpd to receive a calli to gage,tlic adjustii4ent of the @ztiide. ll.0 2. li-i a coiii countincy liiaebiiie @the coiiibiiiation of a a:rotary table.ti@ei,ein, oii ii@.hich the coiiis are ipl,,teed, a f@iiii.-w-,Ay adjacelit the edge of the tible, -,t !Iatei-@ill y aelitistable @ oiiide:b,,Lr foriniiig the o,,iter sicle 115 oT tlie,i!-LiniATay -,nd @havii-ig an exteii,,gion;projectiiig tlirotigli tlle l(@asin-u aiid @adapted to receive a coin'@to set the bar at ,icljustiiient, incl ,t register operating clevice p'r'o-'-,ectiiig into,the @ruii-way@for operation @I)y @coi,ns' pftss- 120 iiig throuq;h the @same. n i coin %co nti -iachine, ithe coin3. I u ng n blii-ition O-f,a casin(,Y, @t rotary'@table,thereiii on-",,hich;the coins arp,; laced, a rtin",,,t) p , , adj,,tceiit. the outer edge 1 of -said tibl@ to whi@l-t 125 the icoins.ai-.e di@livered by r@otation of @tlie table the:Lipl)er @Nvall @of tlie riinwa-,y @h,-iving ,, @bar vertictlly,ac@justal)le to form @a thick-less gage, ai-id a ;register oper"ttin(r -device into ;the rtinwty, fthe. said i3o

having a post conneeled thereto pi-ovicled @vitli@ a flange cooper,,tting ivith a fixed part of the casilig for the reception of a coin bet),veen,said fllnge aiicl said part of the casing to set the adjustment of the bar ,tecording io the tl-iickn'ess of the coin. 4. The coi-nbintti6ii stated ii-i cl,,iin-i 3, aiid gin- s,,Lid post to bold t locki g device enul the parts.,,Ls set. @ 10 5. In,a coiii @e6unting n-iacliine, the combin,,ttion of a rotary table on ivhiell the coins are placed, a runwa37 to which th6 coiiis are delivered by th4B t,@ble, t register operating device i)roiectiiig 'into the ruli-way to be 15 @ctuatecl by coiias ppssiiio-@ throulyh the same, and a rotary coin feeding device, engage,,tble -with tho coins in the -ri-Ln@vay, s,,tid device comprising a -@vheel running in contact with the table ,ii-icl clriven thereby aiicl another 20 wheel operited@ by saicl -wheel and liclapted to bear upon coi@is passing througli tl-ie rtinivay.. 6. The conlbination, st,,ited in claim 5, and ,,L pivoted bracket supporting said ivheels. 25 7. The combinati-on stated in claim 51 and bracket suppoi@tin& the vheels . -,nd havin@@ uiiiverstl joint @ermitting varillitioii iii th6 angles of the ivlieels. S. Iii a, coin cotinting macliii'le, the com30 biiiation of a rotary table on ivl-iieli tl-ie coins are cairied i, runway o),Te,i, the edge of the t able, into I whieh the@, coins are fed by the rot,Ltion L of th6 table a, recisfer operttirig dei7ice projecting iiito the rliiiway Tor oper35 ation by coilis passing throu h the saine, 9 a pivoted brael,@et ,tdjiieent the rLinwa3T, a shaft carried by the bracket, a -,wheel att,,tched to the shaft and betring -Lipon the t.,ible tt the outer edge there,of, al'id another 40, wheel carriecl by the shaft ,incl located ,ibove the run-way in osition to engage coins p tlierein ancl force them tbroligh the riLiiiv,,ty. 9. Iii a coin couliting michine, a t,@tble aclapted for,continiiolis rotatioii: in one di45 recti a ri-iiiiv,,,ty to which c6ins are delivO'l ere'd b; the t,@ble, means to feed coins thi,u the, runNi-a3,, a register o-Derating-, device i:)rojectina@ iilto the i@tinway foi- opei-atioii b3, tlio pass,to,e of the coins thril tlie same and 50 meaiis to stop the oper,,tti-on of @-,tid clevice @to stidp the feed Nvhile the table coiitin-Lies to rot@Lte' said means iiiel.-Liding t pliirality of sett,,Lble ins ancl a stop eiio,,ageable by: p a selected pin. 5@i 10. The combination stated i-Ti cl,,iim 9, aiid means to r6leise the seleo-ted pin, after it is stopped, to re@start the, feed. 11. In ,t c6in countip-g machine, the combination with u rtiiillway ancl moaiis to feed c, coins in a. row throiigh the same of ,in escap@meiitmechaiiism includin- a star wheel projecting into the run-way for operation by coins passing througl-i the same, a rotary turret gea-red to the star wheel, 'and a plurality of setiable pips ca@ried. by il-ie turilet and.,,irraiiged to be selectively advanced tc) stril@e a stop and stop the moveinent of tlie@st,,tr wheel aiid ttirret. 1-2. Thc, combiiittioii stated iii clai.m 11, tli@@ piiis being slie,.ably n-io-Linted iii the tur- 70 pin engaging the pin to repeat ted in claim 12, the last rnentioned means including a pu,-h 75 pi.n mounted it the ltxi_s of the turret, a. plungei- coiinected tolthe push pin aiid operable to retract tl-ie. advanced pin, and an arm conliected to the push pili@ and oper,,tble to I advaiiee- aiiother selected pin. so 14. TI-ie con-ibination stated in cl,,iim 13, saicl irm beina adjustable to register the same Nvitil a ct s;lected i)in ecording to tl-ie nuniber of coins to be delivered at e,,tch operation., 85 15. In a, coin couiiting -machine, the, combination vvith a rliiiway and means to feecl coiiis throu--h the s'll,me,' of a setting in6ch,,i@ nisni to control the@ ntimbor of coins fed tlirough,the runway tt each operation, - said 90: n-iechinism inel-Liding a st,,tr wheel projecting into the runway for operation by coins p,,issi-ng througli the same, a i,otary tui@ret geared to the, star Nvl-ieel, ,t plurality of sett@ible pins c,,trried by the t-tirret at a eSp D5 corresp6iiding to di:fferent nunibers of coins and adtpted to @be selectii7ely advancecl Ldcordiii-'to the, number of coins desired ',tl stop located in the path of the, pins aiid a apte t be, struck by the selected and loo C' C' 0 'idvanced in, to stop the rotatioii of the p turret ancl star wl-ieel, and metlns to simultaneou ly retract the selected pin aiid to simultaneo-Lisly advanep, aiiother pin f6r@ a succeeding operation. 105 16. Iii a coin coiintiilg machine the combination witl-i a rtinway and meatis to:feed a @Iiiie of coins through the stme, of I register oper,,tting niech,,iiiism ineltidilig a staiivheel projectino- into the rui-iway fo@ opera- l@10 tion by the coiln's as they pass tliro-Ligh the sanie a rotary ttirret eared to the star 9 wheel, a plurality of sliding pins@ mou.)Iteci aroiind the turret and id,,tpted to be.selectively tdvinced according to the iiumber of 115 coins desired, t spriiig 1:)in molinted at the axi8 of the turret,, a pl7Linger operatively connected to the pin alid adapted to retract the advanced pin when in stopped position, an arm rotttably carried by the, spring pin 120 and adjusta!ble to be selectively registered witli tny one of the pins to adv,,tnee the s,,ime, and a stop eii@@aoeable by e va piii to@ stop the rotatioii of the turret ,tnd st,,tr wheel -vvhen the desired num.ber of coins lipve been delivered. In testimony -where6f ive. tffix our signattires. MARTIL@T L. ALBRE' CHT. FREDERTCK 1,V. B-REHIMER. @:D "I tl-i acl iieed

Описание

[1]

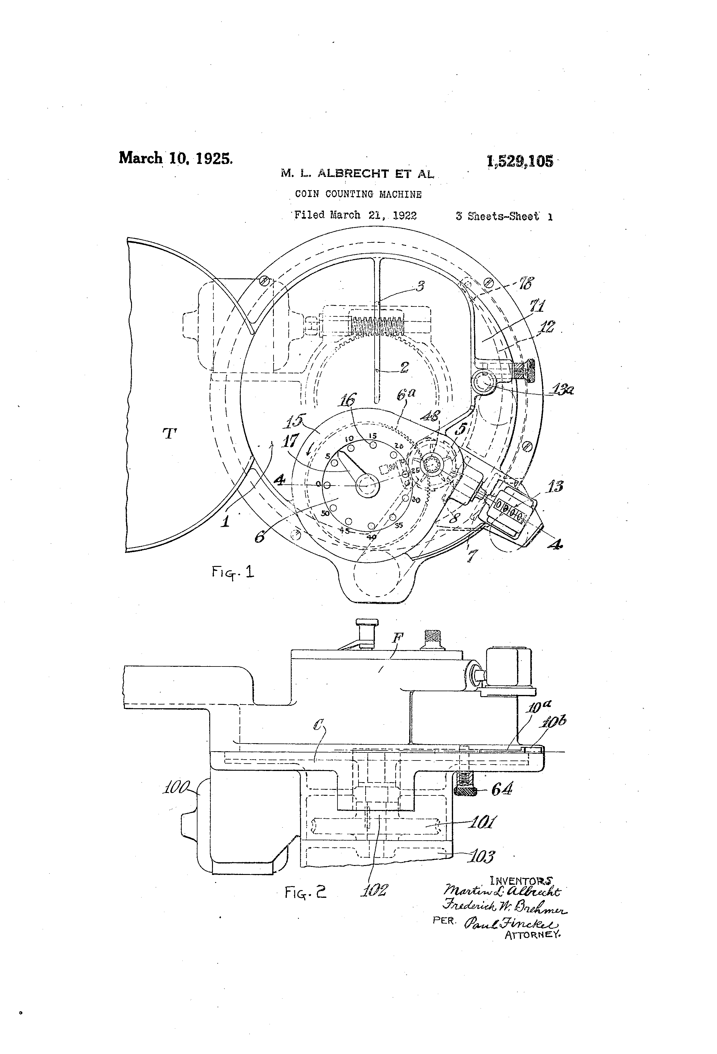
Patented Mar. 10, 1925. -U'NIT'ED S'TATES PATENT OFFI@CE, ITARTI-N.L. AI@BIRECHT AND FRFI),EIUCE W. BREH-XE@IZ, OF '.Cl-NCINNATI, GHIO, @ASSI,GN,ORS,TO THE.F,. IV.,332E.HlV= Lw-rACHI-NX,AND TOOL:COMPANY, A,CORTOP.ATI-0,N OF OHIO. -COTN@COUNTING 7-i[ACHINE. Application,filed'Xarth 21,1922. Serial No. @645,529. Y,o Be -it l@2nE)iin-thtLt ATBPEclqT aiid @CitiZell-S oT itlie -U.iited -Stz@,tes. i,esiding at Ciii6ii-in-ati, @in tlle colility ol@ T@-Taiiii.Itoi-i and'State of:Ohlo, -I-i,,ive i@llveiite@l ceit,,?,Yn neiv - ,ind iiseftil I)r(f-"emc-nts @iii Coiii-'Cotii-7iting 'iNla6liii-les, of @t-,@e follo-Nving is a spee . ificat-ion. 'T.Iiis @iiiventioli relates to 6C.,@-,i@--ti cotintiiig i 0 m,,ichines ,ind paiitictilirly - to m,,ichiiies ,Idaptect to -couiit a,iid @de'!iNer into a 11 iiiiiiibei@ of-' e6ii-is ivliicli ci-ii thiis be paclcThe iiia6l-iine is oT -a t pe c-mploy' pl,,ite on to @ii-,Iiiell the cains -,,@id this plat(@,cai@i-i-cs t-le coiiis iiito ,ulcyd tlii,Ollc,@ll I Tii,-ii-v;ay cant-,,Ui,i@ino- -a star AAiec@l i%@ilieli cotiiii-,s the coi-ns t-liey pass, @,incl flie pas@4.ige of the coiiis can 'be coli'u-rolle.cl 1).,,T siiitab e 1,@@iiid oper,,Ttecl deT' ices to clitse the 4ecd 'Lo -top ii,,itlioiit aLo iig tlie rotaiti(yi-I of flie -I)Ittte. Siilt-,,ible cleN7-.ices ai-c-, also pi,ov'idkl -for se'Lectip@,,@@ the coilis by diametei- -,ind 'thicl@IleE:S, .1@O -t-'L-tat oiily coins d a cei-t-,ii-n df--PcjiiiiI IV aiid )vlieii use,L fai couiitiii(y o-LLt qi,,,,tntitl(,s -i-- ,i,liva3,s rotated in @ti-ye .@,i.inc, cl,@rection, i,,-itlioLTL lit-vijig I-tliro%v bt ek ,is, ilsocl oil e(yril couiiterv,. A TLi@rt,;Iiei- of -tlie iriveiit',ion is aii clevl(-e l'oi- stipportin(- tILe '15 into i s co-ii, fed by the iiia6hiiie. The o-f flie f@,e,-Iin(v -iiiech@,-nisni )it]- 1 lecl I-)@, I btit' n co ol @t L@or, -Wlyi(@li ea bo t@,p ot- do@A-,i-i I-)ir the -o. e,,i-atoi- ito sta,,,t p or @top the 'Teed. 40 V,@i-lo,,ts otlier cl,@tai'ls of @impro-@,eiiieilt wil'I be, ;app,@i-eiit fi-oiii the ';ollo%i,iiig desei'iptioii aaid -blie ,.ccoiiil)an.-@iiig drtinvings iii iifhicil Fl:,(.. I is 2. plai-i i,iei-v o-f @the iiiadliilie. Fig. 2 is a @i,-Ie elovi,tio-.i partly bi-ol@e-Ti a.-@N-ay. 4,5 Fig. 'C.', is ,,, dcti@ -iii @,ee'Lion of the stop for tl,,e ttii@i-et,tliff'L, Iiiii:its tl-ie coulit,of -tlie coiiis. 14'lg. 4 is P. sectioi-i oD the line 4-',l of'Fil-. 1. 1-@ig. @') is a I)ei-spective, -viq-w of 'the coiii Fi-. 6 is a 1-ioi'@izoiital seei-ollei-s. zn tion of the i-ipper ,iiit oftlie iiaacliii-ie slioivP ili-- tile S'L,@-,r the adjtistahl.e literal o-itide. Fig. 7 is a in section of the locl@:ino- sci-e-\v -E'oi- said giiide. Fio-. 8 Z" is a I)ersl)octive sliowir@,o- tli(,, sctcliig- dei7ice oi1)1()ek fol- ti'i(, c()ii2 tliicl,-iiess. Fl(,-. 9 is a dot@iil iii iectioi-i o@ the '16ckiii.- device for IA'i(". 10 is ,t cletail of,tlie r,-@toliet @,iiid 'brake for the @sta@ @ivlieel sha,f-.t. 11 is t vertical ;section showiiig the deliitci-y ttibe, tnd iirapper. Fiol-. 19- is a f;o top vieiv of said @ttibe, detaelied. The casing of tl-ie imael-iiiie, indicated @o-eiierally at C has a @coiii,ti,ay T :from iihi@li -the c6ins ar-e fed to a m@N,olviiiooirc@citir tal,)Ie or plate 1., ivitl-i' in the casi-iio- ' @ind 65 @l)artll, a6ross this ttible exteiids a @fni or @par!tl't,ioii 9- \-vitli qii @opeiiiiio-'3 etit in fhe 'lo.- kver (ige tl.-lereof, ,tdjacent t-lie @-t,,tble for pe3l@-iiittiii!o,tlie pa-ssage oT c6ilis IV itli the table, @,it I-"-lie peril)liei@y tlie@i@eof, i,il co-liseqllcll.-ice GT- 70 tlie @rot;@ti6ii of the @tible,tund @f-lie ceiit@i@ltio,a,l effect tliereof. -Set -wit'liiii t-li(, evsi@no-,is @t,fran-ie F 'T-or @tlie, cotiiltiii(, -ii-iecliaii'isni. This lildlti@les a vleilshaft @t oii @the 'loiver @eiid of ivhich is 7@ -IiioLl,l-f,L"ed,,,i star -x@lieel '5 adjleentflie Lipper @slirface of the table, 'as sl-io-wn i-n 'Fii,g. 4, '-CTpon the -tipper end- of @tlie slliaft 4- is i-iiotiiited ,t coinbined -bevel gpar ,und.r,,ttcliet e iiat'oii ill pass. 40 tlie rateliet ite6tl-i 41 b iiio-- o'lio-aaed 'b-v The -thitt is@t-lie'li'leeli- ,i pai-v@.1 42 -@vliiai is -1@ivote@l at 43 to fhe ,tnisiai coiitrols the re stei-, is -pro- -Ti-anie ai-id ',.is pressecl -by -a s@riiig 44, the gi vi(!("(l 'Al-it'll ',i3iipi-ovecl deariees to i-ns-tli,e its' rctoliet ractiiig to 'preveiit baelc Iip. T]i@@, paNi-I ias -,i,flat face 45 ii-Iii6l-i) as the iitchot ttitiis, bears'lilit;l-i the sprino iiist 9 presstire,tuga . the fl,,its 16 on flie @i-at@liet teefli t-liei,ebA@ict@in-, as @t tbi,@,il@e to pi@evei-it o-vertlirow of tll(@ aiid stii- ivl-ieel. Tl-ic o-ear 10 iiieglies ivitli ,i pinion 4-7 whi6li tlie,ii-iotioii 4to the countii-ig cleiice 13 @@hi 11 iitay @be of ai@y Sili'L-,@ble typeThe coiii feedi,.ig cle:-kice is @Iriveii b@, i-ei,61vii-io, table 1, ai-i'cl it ine'ludes the Nvheel 7 iii colitact iNItli tli(- table, iietti., tl,.e otiter edo,e t'liei@eo-F ii-ici this ivheel is iiiountecl .6@i t gliafb 50 ivllicl-i @ilso cari-,ies ,t ivleel 8 iVIii6li is located bes'ido, the sttr -"-lieel, and is a(lt eli -ao-e the top of a, coih, aiicl 'Lor@e it paqt tlie; star ivliedi, tli6 %,vliee:l S:beiiig soiiieivlia(- @siiia . Iler iii (IiLliieter loo I than the -iilieel T. Botli of tli6s-. iviie6ls"lrc, PI-efel-al@' Ml-,L(le Of 3Ti6ldiiig iii,,itel.'iLd, or.at least pi-ovided Nvit'li i-iiiis of yieldiiio, te,.-ial. The slaaft 50 .is ci r r i e d i n t l i e h e i d o-f a T-sliapecl ;bearii-ig piece 51 tlie steiii lo5 of )Yliiell 'is reclueed Is indicated at 52 lqiicl f,].tted iii I socket 'in flie eii(I -6f;a bracl;zet icli is Ijivo.taII3, niouiited on .@a iii 54 -"-li P om -, ptir@ 6f tl-ie fr,,ime F aiid i 9 @l I)y i spi-iiig '51-) confiiied beti-,een tli.e !IL

[2]

flit side of "LIle bracliet and the @idja-eiit fastenecl ,it its loaver end Lo the bar 12, part,of -LI-ie frdiiielto pi@eveiit vioiel-it movet j-Lili-ipin of.tbe wlieels. The pii,ot-, men or 9 52 is coil-'iliied iii its socli@et by @,) piii 5,6 ivliiel@ 1-ias fiiiiitecl@@ inoveiiient @iii a slot 5'@ lii @ the brtielcet. B3T tl-lis iiieans the Nvl-ieels liave uiiiv,ersal iijo-@Teiiieiit to ,iccomiiiodate them-, selves to coiiis of diiterent tl-iickiiesses. Th@it is, the bracket can s@vii-i(- up or doavil oi-i tl-ie 10 pivot ")4, ai-id the pivot 52 call turii i.ii its .socket as a ivrist piii to permit ,Lno,tiltr variation of the@ tnvo llvheels. effect, a uniATersal joilit is i)llodlueed. It ivill be seeil th.tt the i,otatioit of the table 1 drives tl-ie i5 ivheel -@@ Llid fi-ils diives tlile vtheel 8 which -i the fe cl is rele sed c@Ari-ies 'Ulie coiii whei e a 1,)ast tlle st'llp ivheel aiacl ttiri@s the litter one tootli as e,,tcli coiiiLp,,).sses, the r6t,,ttioii being comi'lltii-iieited to the cotiiitino,- mecl-iaiiisi-ii 20 to O,uistei- the i-iuiiiber. I - The coiiis ai-e fed in a sin le ronv to the 9 otai. -Ni@liLeel, aiid to 1:)roduce this feed thei-e is r@irol"ided a @-Lilde rib @ 9 projecting dowilt, wai-dly fi-oiiii :the, fraiiie td'acent to the L5 table,, this i-ib 1- i,,Lviiig a recess in Nvhich the star wlieel tul@ns, and a etirved finger or @iiose leacliiig tliereto, as shown at 91. Pivoted at 60, ii-i the side ivall of the cas1119, is a cur,ved guide bar 10 which foriiis t, lateral o-uide opposite the rib 9 and controls the-dialiieter of coiiis pei-initted to pass to the st,,ir wlieel. The guide bar i@s @pivoted to periiiit it to be adjusted to th(, diaiiieter desired, aiid for this purpose it ,:',5 has an I extensioii 101, which worl,-s through a sl6t. 61 ill the casing, and this extensioii has a I-Lp Job @ at its outer eclge, and the gul( . le bar iiiay be set by placiiig a coiii bet-v@Teeli this lip and tl-le adjL6eiat wall of tl-ie casing, as illtistrated in Fig. 6. That is, the dimensioiis of the parts are such that 'When a coin of @ ce@taiii dl,,iineter is used to @ot the :bar ,is indicated, the passao-c @n bet-@veen the bar 10 lqiid tl-ie ri.b 9 ivill be j5 of the s@ame di,@imeter. I This provides a@ vei-y qi:,,ick aiid acetirate ii-ieai-is oi- settiiig tl@e 'd gul e for the desi.ed coiiis. Aftel@ beiiio set the guide bar is held at adjtist,iiieiit. by a-pin 62 which lias @t iiotch 63 eiigagino- the edge of the exteiision 10',,, aiiii this l@in is thre,,td--cl to receive a iitit 64, under the bottom 6f the casin-- . lvhen the nut @ i,,@ tiohteiiecl the edge of the plate is grippecl at the notch i--ad lielcl aualinst moveinelit. 55 The 6xtension I Oa 1-i@Ls aii opeiiiiio- 65 thereill thiouo-h wlii.ch the whe6l:7 extends t 0 coiitact with.the rotary table 1', this openi.@-ig being wide enougli to ace bn-imodate all ,idjtistmeiits 6f tl-ie bar. (;o 'I'o c6iitrol the tliickiiess, of coins a,clmitted to tl-ie runway leading to the s t, L -,., -w,heel, a ),)ar 12 is stispeiidecl from.tl-ie overiial-IL,,-ing part 71 of the frame, by i-iieai)s of a slidina@ post 13a -which works in a oi@ ttibillai- boss 72 oi-i -the overh,,in t g lid 1 s whereby tli6 bar may be raised or lowered to space it a certain distance from tlle rot,,try table 1 (see Fi 8). This post @ is I g. 1-ield at adj-Listinent by I ross pil'i 73, the To c head 74 'at the iiiner eiicl of which bites agtinst the post 13 When tighteiied by the iilit 75 screnved on the ei-icl of tlie@ pi]-.1. The post 13 1-ias a flai-io,e '@6 neal- its upper elid, aiid so ioc,,.ted - Ni,-itli i-es ect to 75 p the top of the boss 72 that the post m,,ty @be set @by inserting a coin 77 betvveen the flal'lge and tl-ie boss, the parts being SO proportioned that -when a coin@ is so @inserted the space Liiider tl-ie bar 12 ivill @,l equal the thickness f the i . Accord0 co 11 ingly the block 12 can be quickly set to the exact positiol-i desired. Beyolid the bar 12 the,Overlying frame porti@l'i 71 is pi@0vided ivith an inset @late 78 which jiist clears the i-evolving plate @ 1 aiicl acts as @i cleflector, aiid is essential to keep the coins froni wedoino, under the thickiiess@bar 12, - @75 this plate causing the coins to enter@under vell the bar 12 at tn li-igle as they are dri arouiid by the rotati6n of the table 1. By revolviiig the table the coiiis are flung centrifugally beneatl-i the bar 12 and aaail'ist the b,,Lr 10, thereby entering the runnv,,ty to the star wheel where the.:coins are sticc I essively engaged tncl fecl past the -Nvheel, by the roller 8, ilito the chilte leadliag t,) the coin tube. The sl-iaft 40 of the st,-tr -vvheel has at its upper eiid a pinion 48 ),vliieh meslies with a gear 6a around the ladge of @ tilirret plate 6 -,nd tl-iereby revolves the saine. Iii -the fraiiie belieatli the turret, is a stud: 14 (Fio-. 3) wl-iieh is located undi3r t ;,,ero m xe -iul p ark on a fi d ,tni ar index late 15 101) whicholterlaps the edge of the, turret plate., The tlirret plate has d s6ries of boles of the desired number, ill which ai-e 16 frictionally held by spril-i,,Ys 80 aiid psillilcslillg plugs 81 iii i-ecesses adj I eiit tl-i pins, ,tnl 110 ae e by pressii-ia do-",ii aii@, desil,ed piii 16 the tui -i@et plate will thus be 1,@r6vided with 11 stop piii adapted to stril,-e qiid stop against the sttid 14 Pncl thereby liinit the rotation o@L' the turret plate aiid the ptrts geared ill-) thereto. HoAvei7e3! b3, piisl-iiiio, u p Oil a pl-Llllger lba the pin 16 so clel)ressed n@av be raised so as to clear the stlicl 14. This plunger 15 is carried by ,t leite@ 82 which is pivoted at 83 to a, depencliii(y luo, on 12( the frame and is coniiectecl at it,;'op'pnosite eiid to a pin 19 wliieh ivorks tliropgh bushiiioz 8-1 molii-ited oii the frame aiid forlil-@ iiig als-6 the beariii-- fo@ !'le rotary ttirret plite 6. TI[le pusli @ill. 19 is nori-nally held 12.-) iii raisecl position by @t s,,)i-iiio@ 8-- c ilec, n 0 arouiid the. same iii tl-ic,buihing@ The pill 19 lias ,t i@ot@ii-37 brittoii @190 at t the op, Aihiel-i clirries an Lriii 17 iihich serves to pi@ess doiyii oi-i a le ted iii 'i-i tl se c p 1 ie turret.

Как компенсировать расходы
на инновационную разработку
Похожие патенты