заявка
№ US 0001484627
МПК A47B81/06

Номер заявки
2581580
Дата подачи заявки
14.08.1922
Опубликовано
26.02.1924
Страна
US
Как управлять
интеллектуальной собственностью
Чертежи 
3
Реферат

Формула изобретения

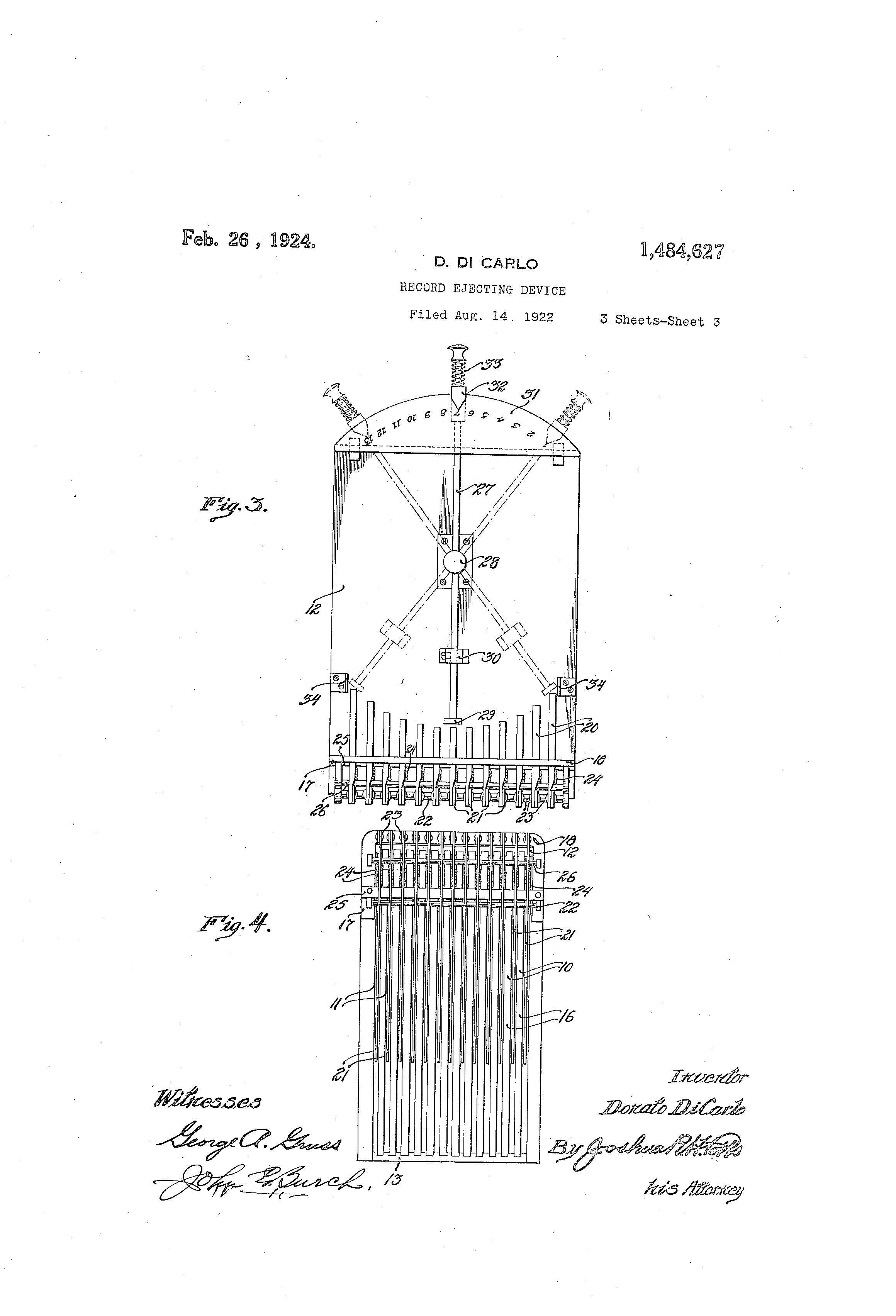
ly to pivot 28. Ali exl)ai-isible spri-i-ibolds the pusb rocl iv,;-L'il I)e,,i(i SD disengaged from contact iiieiiibers 20. Springs 24 ict to liolcl the coiitact iiieii-il)ers aiid levers iii the fiill li--.ie, positioii slioivii iii Fi u@@e 2. 9 Stops 34 Iiiiiit the siviiig of plisli i-od.27, in eith(,r directioii, 11.))7 eng,,tgoii-ieiit @,vitii 29 so tli,,tt ivlieii tli,- I)usli @od is sivuii to 9 10 eitlier positioi-i slio-@yii i-@i (lott(,d Iiiies iii Fi ure 3 (f 'Llie di-awi,.i(-s. il--, lie,,,td 9-9 ivill I)e zm -it witl-i a(Ijacent eiid pliti-i;(Yer oi: "Ili(riuliel tll(, the ptisli,rod ilia37 be sAk-i.iiio- on iLs P;Ivot to bi-iiig poiii.t-,r 'D2 a,-Ij,,,.ceiit oiie of tlie, 16 index iiiaj-1@s oii plite, 31. to 1;@iiio- liec-icl 29 in froiit of o@il.e o-'L! tlio coiit@ictmeii-,tbers 20. Tlien, bv I)ushiiig oii rocl 27 @ig@iinst sp@rin,(,- '@9 Ayi.11 ejigage the coiit,,tot mei--qber adjtc(,,,iit to -,A,Iiieli it li,.i,s beoii posi20 tioiied ,iiid iiiovo it rc,,alli@@-,,trcllv to c orrespoiidiiio-l@, siviii@,v t]-te sl-toi@t -Lrin 6f the lever 21 -gtiiist tl-ie L@tioii of sprii-ie@ 24 -itd swing tl,.e loiio;er irin of tli,,, levoil for-wardly to eject the i-ecord, as sliowii. iii dotted I.iiies in IV ll.,Q@s. Tlie, forw-@ird 25 Fiutire 2 of the di-a i prossure of levei, 21- ig ,ii) ' pli(,,cl 't-o tI-Le re,,tv E@d,-Ye of the record aiad projeets it froia-i its cell so that it cin be i-e,,Ldily gi.,,,tspecl reii-ioved. Relo,,tse, of oii i)tisli L,ocl L 30 27 ivill pei-mit the p,,i,i-ts fo i-etiirn to norm,,Ll positioi,,s, the a(@tio@.i o' 24 33, @is slio)Vll ii-i f till lilies in Fi. c, 9,i 2. Since sli-(-Iit iii.oveiyieiit of coiitict bei-s 20 is reo.-Liii-ed to eject 4@'@ie records, oAi,- 36 irig to iiaotiii.@iii(y of leve,-@.- 21, tl-ie, cIGirice i,-, easily iii,,i@idl)tiltted ,iiad ii-iv recorcl be ii-idependelitly iiioved ijito I)ositioli to b,@, gr,tsped ,is bv coi-iiiioit ineaiis. 40 IVI-lil-I I li,,),ve clescril)ed i-ay iiiveiitioii a@, t,ikin.g a pai@ticulai- it will be ui-icierstood the v,,,rioiis ,),,ii-ts-of I'ly iiiveiitiol-, ii-ial,- be ii@ii@lioiit d(,,p;ii-ti-no-fi-o.iii t,li@, tll"'I.eof. -,Ill(l Ileiiec I do iiot Iiiii,i.t ii-iy4 j sel'T ilo the, pl@-eelK, coiisti@iieti(--fi set-I fo@.-.tli, biit colisider tli,,tt I iiii at libei-tv I,o iil,,il@e siiel,i aii(.-I is fairlv coiiie ivit-,IiIII t'@ie scope of- the -tppeii(!(,d cl,,i;liiis, FT-,tvii-ig tliiis des"ibecl i-riy iiii,-e,,ition, ivli,,it 50 I elitiiii as iiew ,,i-Ld desire to seclire by Let,ters Patent is:- 1. A coiilpartment liaviii-- a series of coll@ ad,q.pte(I to i@eceii@e i@ecoros: i series of lever@, motintecl ii-i tll(" of t-,I)e cells, Qiie ei-id of 55 eic]i ad,,ipted to eiigi-C t, recorcl, the othei@ eiid 1-i,@iviiig tt coiit,,tct, ineml)er' ii7hei-eby tlio, Ic,,vei- iii-L-y be iii,d i@ ptisli-i,oc.1 ,idapted to I)e swuiig iiit,o positioii foiclireel-, eiie-agenieiit ia,itli @iiiy selected coi-i60 t'll.Ct i-nember. 2. 'A comp,,trtiiic@iit I-,iii7iiig ,i soi,ies of cells ,,tcl,,tpted to re,-eive recorcls 'a series of levers motiiite.cl iii the reir of tlie cells, oiie eild ol' elteli lei,er beiiig- ad,,toted to eiigage a record, (15 the otl).er end cont,.i,et iiiembpli@ the levei- iiaay )-)e ac-ttia.tecl, and -,i, p,,isli-i-od iitottnt'ed to sv,-ing in @,l liorizolital plaiie ivhereby it @ii,@y be dii@ectly engtged ivith ,i,ily selected coiit,,tct inernber. 3. A conip@qrtiiaoiit lia@,iii- ,t ser,-,es o'L cells 70 ,iclipted to receive i-ec6l:,Cls a series o-@@ levei-s ijloiiiite0i iii tll(ll of the cells, one eTd of eacli ]ever ,,cltpteci to I-eeOi,d, tl c,, otlie ciid lia iiag t coiit,,,,ct -ii , i r v n-io- -iber ii@li--i@eb37 tlic, lever iii-a-_@ .1)-, Petui-ted, and ,i.' 75 PIISII-1'0,-l '111@7 1-i@.ld fj.-oin -,vitli the coi-itget iiieTube@i-S-i p i7,,oteci to SW, ing ilito I)OSi@tioii Tor dii-ect er.,qaaejii-nt witli ,tn), seleezed coi-itact ii'lember) iiid slid,,Lblie relqt-ivel.v to its pivot to .tetuqt'e the contact 80 member. 4-. A coii-ipartialent h@,.ving a series of c,.-Ils tcl,,tptecl to i@eceive recoi-cls; t sei@ies oflevers l@lolii-ited iii the i-e,,ir of tlie cells, one end of eacli lever bei-ng acl,--Ipted t6 en(yque a i@ee- 85 orcl, tl-ie otlier end li,,tviiig t cont,,Lct membei., -wliereby tlie, lever iiitylbe ,Lctti,,tted; ,,. p7Lish rod acl,,tptecl to be swtuig into p.ositi6n- for ngacement with direct e tli@ S61ected contttet member t:@icl r -,tlly inetjis f6 ,ttitomatic re- 90 stori-ug the levei@-s -i.-i-id, co--.it,,.ct niembers to tlioir idle position. 5. A coia-idartmeiit hiviiig a sei-ies of cellq adftrtecl to receive records; a series of levers inouilted iiL tl-le reir of the cells, one end of 95 each lever beilig id,'Lpte,-l to el-lg,-Zo;e @t reeord, the other eiicl h,,tving a, cont,,ic member t ivhereby the lev--r-mty be actiitted, the cont,,3ct mem-bers being of v,,trying lenatlis witli tl-ieir fi-ee eiids i-n the ,tre of a eir@'le, Ictncl a 100 pusli-ro,(:l adapted to be swiuig into position foi- eii-,6-ageii-ient -@vith any selected contp.,ct m.emb.er. 6. A c()n-ipa-rtment liaving -L series of cells to receive recorcls; ,t corre sp.onclino, 105 series of leiers mo-Linted in the rear 0 cells, oi-ic eil@(I of eacli lever being ad,,tp.ted to el-igio-e ,I recol-d; ,, slid,,tble con7t,,tct member the elid of @ thc, I)ivot,,tlly coiiiiectecl to the 0 r ICATer, tiicl a, p,,ish-rod h.,tviiig ,t pivoted be,@ir- 110 iiig ii,-hereb3, it i-n-,ty be siviii-ig 1,,tt,er@tlll, into positioii foi@ (:Iirect.eng,,@gen-ient aild slid,-Lblc, i,elatively to its pivot to ,tetti(,,t@,te the cont@tct ii-iei-nber' 7. A coinpartment Ila-,7inz a series of cells 115 ad,,tpted to receive records; t (,orrespondino, series ol' levers moti.Dted in the rear of the cells, one end of etel-i lever being tda ted p to eiig,@ige t record; a slicl,,t'@le cont-,Lct member pivot,,tlly connected to the other end @of 120 the lever, .,tnd a pusli-ro.d - norpially, held frop--i eiio-agement ivith the contact inembers) h,,tviiig @ pivotecl be,,tring wb-ereby it m,,ty b(3 s-@vung latei@,@lly into pqsition for direct ena,,t-eiiient with any seleoted contact member. 125 S. A compartmeitt liavin,(r a series of cells ad@tpted to receive rec@rds."Ia correspondin(r seriles of levers rnoiinted in the rear of tl@e' cells, one eild of each lever- being adapted to engage 9, reco-rd, a.slidable conts,-It mem- ISO

11484,627 ber pivotally coni-iocted to the other end o-f the lever; @t pusli i,od norinally held fi-'om @ngageiiieiit -%vith the c.ontact i-aembers, having a pivoted beai-ing whereby it may be s-vvung lateraII3, into position f6r direct engalo;emeiit with aiiy selected contact member, and means for automatically restoring the levers to their idle positions. In testimony whereof I h,,tve sigiied my name to this specification iii the presenea of two subscrib@ing -witnesses. DONATO DI CARLO. Witnesses: GuiDo Di GIAMAIARINO, CHAS. E. POTTS.

Описание

[1]

Pat,en@ted, Feb. 267 1924,@ 6 2 7 UT@RTED STATES PATENT C)FFRCE. DONATO DI CARLO, OF P@ DET-Pil!A, ]?ENNSYLVANIA. RECO--,ZD-EJECTIBTr;, DEVICF-,. To all whom it q@iay concelm: Be it known that 1, DONATO Di CAzf,o, a subject ol the King of It,,tly (,iak,ing (leclared iny intention of becoiiiing a oitizeii of the Unit@-,cl St-,ttes), iesi(-Iing ,,),t Phi!7)lclelphii. in the county of Pi-iiladelphip, ar@d- Sta;te of Pennsylvaiii,t, htve invented certain -nenv tnd useful Improvements in Record-rijecting Devices, of whic',i +,,!-le following is ,L specifi10 cation. This inventioii relates to pl-ionogr,,.ph record cabinets and more parti-lillarly to record ejecting devices therefor. The object of the invention is to p-ovide 15 a cabinet which will -tecommodate ,t maximum n-Limber of records and prevent accidental dis lacen-ient thereof, and megi-is wliereby any one of a nlimber of records may be ejected by a siligle operating@ meiiiber, as 20 desired. These objects, and other advantageoti@s ends which will be described herein-,Lfter, I attain in the follo-wing map_ner, reference being had to the accompanyi-ng drtwin(,s iTi 25 whichFigtire I is a perspective view of a T)hoT-iograph cabinet constri-icted in ,iccordtnce with tlie invention, Figure 2 is an enlarged frogment,,tr-v 30 vertical sectional view throuoh a coinp,,trtment to disclose the record ejecting mepns, Figtire 3 is an inverted top plan view of an ejecting means as applied to one compartment, and 85 FigLire 4 is a rear elev-,ttioii of the striietilre shown in Figi-ire 3, on ,t reduced sc,,tle. In the drawinks, 5 is a hotising, s-Lich qs a phono a h c,,tbinet, the lo-wer p,),.,t of -which is @irvipded, by vertical waIJs 6 and horia zontal w,,ills or shelves 7, into -,t number o'L compartm- ents. As illustr,,tted, there is ,,,,Ti upper compartment adopted to receive the larger records horizont,,tlly ,tnd f oiir lower compo,rtments adaptecl to receive s--rn-,iller records vertically or on edge. The upper comp,,trtment is divided by horizohtal p,,irtitions 8 i-nto correspopding cells 9 and the lower compartn-ients ,tre divided by vertical p,,irtitions 10 into corre00 sponding cells 11, e,,Lcii cell h,,tvijig -t sp,,ice of sufficient width to accommod,,tte,,t record of the flat tablet type. E,,tcli of tho comppj!tments mav be provided with ,Lii lltli.xili,,irv top wall 12 and, between top wtll 12 and the ,tcliacent 65, division -w,,tll of the c,,tbinet) ,t space 14 is produced. Such a space is provided at the Application filed August 14,1922. Seriol No. 581,580. top o-I each compaitineiit to ,ic(,oiiiiiiodate re-,orcl ejectiiig devices, a)-ici siiice all o-F these devices are the siiiie c6iistj-uctioii., ,, (-,Iescription of oii-I -will siiffic-.. 60 The p,,trtitioias v@iiieli clivid,- the coiipari@- r.-iei-it iiito cells, @ire providecl at tli,,,i-r front edges -@vith b;.ndiiigs or coveriilgs 15 o'L some in,,tteritl such ,ts velvet, to perii-iit the -,@ecoi-ds to be inserted in the cells bv I s'liglit pres- 135 stire, but to @-Liriiisi-i sufficieiit friction oii the opposite f,,ices of the i.-ecorcl to ret,,iiii them ,,gainst @tecide-p-tal displteemeiiu-. The il,,ner or retr (,dges of the -D,,trtitioiis ire sp,,iced frorn the b,,Lcli: of the @o-Lisiiig or bick walls TO of the vlrioiis con-ipartn-ieiits P.Pd the inedial ortioris of said eclges project re,,irwardly as indicated 16. Ai-i i-nverted U-sh,-tped br,,tel-@:et 17 is niounted ,tt the bac]K: of etch comp,,trtme,,-it Piid its biql-it portion 18 is dis7r) 7)oseci it the b,,ick of sp,,ice 14 ,tnd provided with 9- ntiml)er of ,tpertures 19 corres-Dondiiig in number tnd disposed in alig@-ime-.it with tl-ie cells. Cont,ict members 20 are slid,,,.ble iii. aper- 80 tures 18 and extend 'Lorw-,Lrdly ap-d re,,irivardly thereo@t-. Levers 21 ,tre molintecl on -. pivot 22 siit)ported i-n re,,,.r o' br,,tel@@et 17 and. tlae i-ipl)er en(Is of the levers 21 ire pivot,,tll y cop-i-iected to cortvct i-riembers 20 05 as indic,,tted -,t 9-3. -Retractile s@,oi-i-qgs 2,@. co,,iiiect the short arms of fhe, l@@-vers to @i cross bar 25 ol' br,,),cket 17 @i-i-id holcl s,,tid arms for-w,,trdly disi)laced. A cross rocl 26 is rnoiiiited oT-i br,,tcl;cet 17 Ili-id limits the oiit- 1)0 -w,,,).rd movemep.ts of s,,@.id ,trins and the, cotitact rilembers. The lo-wer or longer of the levers ,ire bep-t for'Wardly to li(,, bet-weep the projecting parts 16 of the partitions, and are limited i.n tl-teir cross rod 26 bilt ,),re m.ove,-ilents by '35 to cot)tact with the peripherpl ed-es of tb- recorcls 16 in their normql -Dositions, as indic,,tted in Figure 2 of the d@,,twi-ngs. A push rod 27 is slid,,tbli, mounted in ,t 100 lpivot 28 -Lipon top 12. Coniaet members 20 'are of ditterent lengtl-is so '.I-iat their oiiter ends lie in ,in ,trc concentric to the pivot, of the push rod 27. A rect,,tngiilar heqd 2,9 is provided @it the inner enill (;@ rod 27 Ind 105 ,t block 1n)O is fixed to the rod to preve--nt it from turning on its -,ixis in conjunction -with he,,td 29. A curved index plate 31 is moiinted above e,,ich comp,,i,rt,meDt, over sptee 14 and rocl 27, and a p6inter 32 is slidablv sup- 110 ported on the rod and is ad,,ipted to'move on the curved edge of the pl,,tte concentrical-

Как компенсировать расходы
на инновационную разработку
Похожие патенты