заявка
№ US 0001466158
МПК E01B9/40

Страна
US
Как управлять
интеллектуальной собственностью
Чертежи 
2
Реферат

Формула изобретения

claim: 1. Aii f-,nehor Dlate comprsti-,,r a meMLer I I adapted to underlie a. rail ,tncl -,t holclin(, 'position relative @uhere-to, s,,),icl being.provided with Tne,,iii@, for ',-,b(,, ing posl'tion -.nd lii-ViD-1 thei-eii,itb for 'locating ind - holclin,,Ir ,i ri,il spil;@e. 4(@ 2. An anel-ior I)Iate, comprisiiio, a ii-ie-nber adaptect. to uiiderlie a rill an(I hi,%,iig t 'iioidin- posittoji i-elative thereto. nicins foi- lim"t@ing rotari, nion-emeiit or- sai(l, ii)clo,,- froi-n sa;d lioldin- positioi-i ivlien il-.)pllecl to 4 a, rtiil, sai(I iiieml)er b,.jp.(, proi-i-d,,@(I A%,itli spil@@e 1(5catiji,(,r inei-Lis, saici ancl',Ol- 1)1,lte I)eI a i)oi-t-ion )'o-c oN-ei.-' i ig I)roN,@ided iv'tli Y,""-' a-icl lioldin(y s,,tid rtllroad sl)ll@:o, in a ecAi.-t@"In positioii. of said @,tnehor plate. 3. An ai)chor I)Iate coiiiprisiii(, ,t meiril)er a(lap@,ed to a ai-ici o p 1) o,@--z, e d iiioa.-is aciaptect i-,-t oiie pos;t-lion of, szii(I pl@,,i@(@ to- locate 'U-h- posiil-liojis fol@' ciril-illo@,@ IL plate, to ovei.@lie said spikes to lil)ld 4. ii combination, -,t' railrogd tie, -,t r@i-il, ,in aii(,hor plat(@.iTioti-nt-ed s:i-l(l t.'to ,,incl r,,til, saicl a-nclior plat(, ha-ving@ a lioldin,(-r (io PO@,ition aiicl bein(r provided witl@'me,,ti-is for limiting the swin(yino, moi7enielit thei-@oi' fi,om said holcling pos',-tioi-i, said aiiehoiplat, h,,tviiig means -L2or loctting ancl holdiiag ,t rlil spil@:e. 05 5. In combi-nati6n, a railroad tie,@ a ril-i4 sl)l -,s @i,,ld in I-)os"-ioTi of s@ii(I an(!hot -Nyllen siid iiiehor plate is at the opl)osite !'Imi-@L of its rotary movement. 7. 1-n combination a rtili-oad tie, -,t rail and an anchor plat-,e, s,,tid ancbor pl@ite II)Olng 1)rovided wil@-h op Dosed means adapted in one -@)ositiop- of s,,Lid anchor plate to locate hold-. in-- spikes aiid in Lnother posi-tion of anchor pl,,tte to overlie said si);Ikes to hold s a i . d s p i k e s P g " ) . i n s t t l o o s e n i n g m o v e m e i - i t @ 8. An a-Tici-ior 1)1,,ite coi-nprisin- a becl por--ion provided with parallel shoulclers adapted to rece-ive bet-wee--q them a rtilro,,tcl rail, ajid having OI)posed a,re-L,,a-.e slots iclapted to rec,-ive railro@ad spl"l@c,,s ancl also being provi(,Iecl:-,wi4- , nd h opl:)osed ip-e,@-@ns for overlying 11 Ili s id'@ ikes. i 0 n@@ a -D A .n ay.),chor i)l@ite comprisidg ,i bed j,qc,,rnbei.6 for ca,l@i-y,ing a @rtilroci,d r,,@il S,(i,id I)oilwee,@n i-bem,tlie, bottoiii of siid .,til s,,iid @lecl b-iTi,-,, i)i-o -@Ti(led witb oi)i)osecl sl(,,ts receiv e ," 0 (I lilill-(',Id "Iii,cl leilig 13-'o),icle ith 105 bo'idIT)Q@ iiieins Nvllicll ON'C.-lic -t ])Oct-ioii oT l@j of e,,,cli o-f-. gaid slots..- 10. @\11 "Illebor b,,,@vin@c, L (Joivriiiarcll-,, cxteii(lin.(r ."I "I -, . iio i-l@oilit .II-l(l i,l-ciipto -,Iot-8 1). Vii-iici poirt ',I's 11, eel-iter, s.-,,i(I ,tnchor i.)I,-tte e,.in f I m s or lini@i@tiny o-I saicl ,!.ncbo,,, ai-i(@ .11so J-)I.Ovl,(Ie(I liol(lill@-, Tiie,,ins 1-.)oi-tioiis of s,,ii(-l -ti-ciiite slots. 11, An ,inclioi- 1)1,,tte to I:t@, ii a @d (1- i.,aili-o@@(I t@ie P. rail. S.,ii(i iiichor a 1)1, i-e comi-)rlsin- beci ceTitr @ill), locate ci 1)o'llit I)iV tl] I)lellq @l' r 120 I 0 f@l . (](@l. oil t,9 i,o]. t to 1- iold 1)1,tte iraiii,@l(, ing. An ,iTiebor -,)late ,id,.ipied to I' le125, le I tiveop- 9, rai1roacl tie IP-ct q rtil, S,,ii.d anel-ior pl@te coi-pprisinc-, a. bed member ha,vi@n@-- a ce-Tiur,,illy . locatecl clo,,vn-waralIT e---i--ten(-Iing -"Doil-lt i,)roi,iding pivo' ils Tor: s@,lid bal Met chor plate, said anchor plate being pro I vided 120

i-ail @iiga O'l@-ig meai-is -Lor Pl,eA-entill(@, ske),@,iiiol- of S"icTaiiel or plate. '-13. iii conibliiatio-Li, a -i-ailr-oad tie, a rail, ail--,I an orcli.oi- I)Ia@Le l'or sa@ (I ia@l. siid aiielior ,i I)ecl ii-ie,-nber having a p do,,7nNN,aL-O,'-y extendin,@- pin -,id-,tpted to proVi(le I)--,T6tal -Treii-is for s-,lid Lncli:oi- pll-lte, s,,icl i-rielioi- plate beiiig i,),L-ovided ivitli meal-is fl(@'1' 1)1,el7el-iting slieNviii(@- effect ai-id Avith spili:e ol clj' -IS TOr I)reieiitii-i the upivard h iio, rtioat 9 moveii-ic-nt of raiii,o,,,.d spikes. 14. In (@ombinatio,l ,t i-ai--road tie, ,t rail, --.id ti), aiiehor late siid aiiiehor plate beiiig p ',)I-OVI(I,eci iy, ith a dowi-tavardly extei-iclliig por.oA,icLino, idivo a w-eliiis for said aii15 @ion i)i t I chc.r pl@ite, mea@ns Lor li-miting rot,-iry iyiovet c-, r,-) -cl a,@ch6r pla'Le for att,@tchina p tir])Oses and spike loegtiii(,, puri,)oses aiid means foi- preveiitl'iio, rota,@y mov6iiieiit of said an-'c clior lila'Le wheii s,),id aiiehor plate Is il@, holdino- 1,)os; tion. 15. In coi@ibination, a railroid tie, a rail, citiid ,tiiel-ior plat6, s-,ticl tiil,-ho-i- pl-,tte being provio,ecl -witl-i L'L,doivil-w,,,irdly exteiidiii- porOb tiol-I Prov,lc!-Lng PIVOE,.ft-L Meai,.s for said aiicliol- plate, meg--qs -l'or limi,',iiio, rot,,iry move.i-ri-c,nt of -sa-icl aiichor plate, for at.-acliing pur pos(@9 an-! sT);Ii:e I.oc@Ltii--t(y plirpo,@es qni-,l meq,@-is -Lr(-,r DE,-Vel,tino' TOf,,try move@ment of said an30 cli ot Tilate operative N,71-ien .@ctid anchor pl.,Ite is Lli positioii, said anchor p'iate be,-I,r -provi@ted ivith opposecl ,tretiate spili:e receiv i.n,z s.lots, ai-id spil@e holdiii,@ means overcl lying i-)orl,-j'ons of said slots. 16., @Vii ap-chor 1)1,-tto, coiTiprisin@,,, ,t portioii ,tdaptecl -@,o a i@aili-oad rail, sa icl aiii)lite be' g I)rov'ded -witli siots ad-apt(,Ijoi III I od to i-eel"ive il@tili-oad sl)ikes, said plate h,-.vipg a lioldi-tig positioit i@clatiie to 'd i-.til aiic[ lieiii@,,-providecl iiith meaiis for 0 S',Ii linii,tjii(- i-elat'it to s,,Li(I i I I e -ail, sa'td ,.Ir,clior i)lat(- hailing holcl'n(i@ means oyerlyill@). a poi;ti@oii oi-ily of said slots Nilici-et)y @I)il@es inay be iiiserted in S,,tid slots and:@i-h(@i-eby, by shiftiiiomoA,emeiii-, of stid incll(,,r plate, scLIO, lioldin- -moaiis -@nay be to ,t position onerlyin:g ,tiid holdii s,tid spil@zes. 1-@(. Ai-i ,tiiehor plate c6.iftl)i@ising, a bc@d por5o 't,ioii C-lo.11@L,:atecl el-osed spilce locatiiig @,@lots to i-eceive spikes q-.nd liaviiioA,erliangiii.,g a portioll oniv 0-(-.' saio, slots 18. @kii ,tiieboi- pl-,tte hai-ing a, pa-ir of -tpted to enclose the 55 l@larallel slioiii(lers ad@ b,,ise @of @i riili-oqd rail to lock said anebor pl,,ite. ae,,,iiii-stL ,@kewinMONTe,]Tlellt wlien sai.d aii(-,Iioil i-)Iqte is Vei2,l-,toOL doATn by saicl rtill a.@i(I stoi) iiiL,,Tnber@@ acl@tl,)ted to pei-mit a pre00 skeA@,i,,ig n@ OACment of said chor r(-@l,-@t,:ve to said rail Linder other c I or.O,,Ilu-ioiis, a-@icl,-or plate being T)rovided "Ti,@'i sit-)ts an-,!,. oie-hangin(, ii-icans, s,@tid'over1-,,,'-TlllDg covering P. part cnly of each Li.,@ of ss@,id slots. .1 466,158 19. @@@n anchoi- plate comprising a base a ,iiid upw i-dl@, projecting menns, sa'd base beij:ig providecl ivith slots for tl-ie receptioi-i of railro,,td spikes, said tipiyardly projectIDO' rnea,-is covering a part only of each of saicl slots, said anel-ioi- plate havin- a holdiii(, I)o-,il@loii, said iipivardly projecting ii-icaiis lial7ill.(,Y ,t portion for limitin(r th(, si@eiviiionioveifient of s,,tid anclior plate rel@ttiv'e 'co a railiioa(i i-,,til froiii s,,tid holdin(y 75 position. -ipris' - i), @b-,st@ 20. An adelio, 1).Iate coi In( s,,tid iiie,-,Ilber beiii.cr provided wit,i spil;@e loc@itiili,- s]6ts:-,oi@ the reception of raili-oi,d sl ikes, said inen-iber being also pro- 80 i ed -w"-h lioldi-pg nie,,tns P(,riiiitting tiie v'd IL insel-tion o-F, sl,-)il@@es i@ s,,tid slots but ovci,lyi.-i- Lind hol(ling said spili:es in anothet i:),osiLio,,,@ of s,,tid mcii-iber. 21. !'n combination, t i:-,tili-oa(l tie, t rail, 86 an(I aii anchoi- 1)late, for said rail, -@,tid (@l-ior plztte being shil'@table t6 sfti-I ancl- bein@,y i)r6A,ided ivith slots perinitLlie inser@io'n of sl)ikes fttid m-trkin,6, th(@ positions 'L'or said spikes on the t-wo sides of 90 s,@iid roil whed s,,tid @inchor plate is in 'one PO@Icloji i,i-id ovei-lyino- -,tnd holding said spikes A-@,hen said ancho"r plate is in another positior). 22. In combinatiop-, a railrotcl tie 1-t rail aiid an anchor i)late, s,,Lid anchor plat@e haviiag ,t holcling position ancl being CIpa'Dle ')f 'd r, rcfai@y iiiov(,,.-iieiit relative to sai til, niealis lipiii@iii-- siieli rot@try iiiovehieiit froila s,ild tioldiiio- positl'on Ind iiieans opei@,it'v(, 100 vrlleii tti-c asseiiib'ted to Prc,,Nell,'. stieli rotary -iif)voi-nent. 23 Aii anclioi- I)Iai@e COIIIPI'ISIII(Y a bei- i(],,tpted to iiiiaci@136 ,i rail ai-id liaviiio- t I ,-' n I le :I I @,,o moin- 105 1)1-ovide I Ai,'@tli iiieaiis -Ilitegi-,i,l bcr tli(@rewilh "L'oi, locatiii aiicl holdiii@o. 1, ralli-oicl s@,)il;-(-. 2@l-. !Vii ai-Lelioi- )Iite, coi-n))I,isiii(, a me . ni - bei- a(!--I-)ted to tincl(,riie a tail v@,id hpving lioslioi:"dei'- meips "oi- onclosi-n,r the b,,tse of si'(1 1-a'l, sa'(1 @illellol. 1)1',Ite ]I,, @,ino- iiiecins in[IIOUC@Ari,nl "OF IOCIt' ID(y aiid holdiii,r a i-,,iii spike. 2,,-). Aii iiiehor I)Ittte, CO]III)rlsii-i(, a mem- 115 bei- ad@-Lpted to ti i,al'I -tl'ld haviiig t li i)osi@ioii tiiere'-o, sa'd memo Nv'tli i-i-ieans foi@ loctitin,,, ,@, r'llili.@o@id spi@li:(,, aiid tli(, lic-,I(t theteof i'roiii @inovement eitliei@ i,ei-tically or later- 120 @illi, of stid rail. 6@(i. -k-ii 1)1.1.te, C(Ifil)t-islii" a memI t7l ],)er :tclai)t,-,d 'to iiii(lel-lic a 1-1,IITill(@ a llot-,Iiii,y J)osit-,@cii relati.ve tliepoto, s,(,ii(:l memI)er being i)roiTj:d,-,d -Nvitli @means inte(,Yal 125 therekvitli for looatii-ig a ra;lroid spilk@o and for '@iolcii-Ti,,,), ti-ic heacl thereof against inove-ment,ve,@,tj'cctllli, qiid '@a4uc@t6@lly r-@lative to said rail. -27. An anchor plate, comprisi.,ng an- 130

1,466,158 chor plate adapted to underlie a r'ail aind having shoulder means for enclo iiag the base of said rail said anchor plate having means for locating a railroad. spike and for holding said spike against movement either vertically or laterilly with reference to said rail. 28. An anchor pl,,tte comprising a member acl,,Lpted to tinderlic a rail and havii)g io sho-@lder iiieans for enclosing the base of said rail, said anchor plate having means inLlegral therewith for locatiin(y a railroad 'ke and for liolding said spike a(,ainst spi movement either vertically or laterally with 15 reference to said rail. 29. An anchor plate, comprisin(y a bed portion having elongated, closed spike locatin@z slots adapted to. receive spikes and ha ving spike holding means overhangi-ng a - po rtion only of said slots, said spike hold- 20 ino , inean@s having a p-ortion to hold spikes ag ainst a bending movement. 3 0. An anchor plate, comprising a, base me iiaber, said member being provided witl'l spi ke locating slots for the reception of 25 rail ro,,td spikes, said member beino- tlso provid ed with holding means permittincy the ins ertion of spili:es in saicl slots bLi4b overlying said spilces in another position of s,,tid me mber, said ho'Lding neinber comprising 30 me ans for holding s,,tid spikes agaiiist inoveine iit vertically and laterally relative to said bas e member. Signed at Chicago, Illinois, this 18th (lay of Auaust, 1922. JOHN R. CALDERON.

Описание

[1]

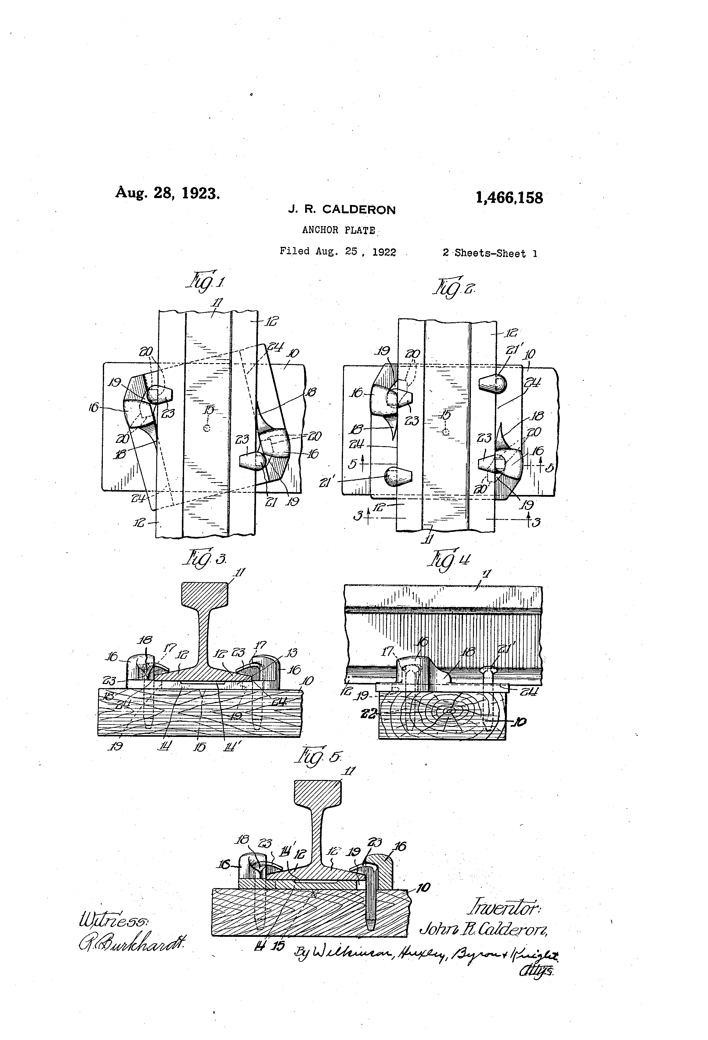
Patented Aug. 28, 1923. UNITED STATEh'-@p @PATENT OFFICE. JOHN R. CALDERON, OF CHICAGO, ILLINOIS. ANCHOR@ PLATE. Application filed Augl-,st 25,1922. Serial No. 5SA-1164. To (t7ltv7boii@ itii2,a,?l Be it, kno-,iii tll,-,t I, JOI-IN l@. CALDi'l',ON, a citizen of t;li(,, TTnitect ',-)tates,, resid'ii it Cliie,tgo, iii the eotiiity of CQok aiid State of Tllinois, have in nt @,e ed cei-tain iienv aiid use-pul lillprovemeiits iii A-neli6i- Pl,,@tes-, of -",hich the following is a specifictitioll. Tli.e pres,,-iit iiivention relates to aiielior pl,ites. 10 More plii-tictilarly the presciit iiiventioii i-elates to means for ,tjichorir,,, the r,,tils to the ties in ra;llroacl coi-istri-ictior,@aiid hds for one of its ob-iects the provisioii of efficient i-ail aucliorin- nieans, combiiiecl -\vlth ri'leans 15 _fo_r anebor-ing the, spil@:es whi,-,h are ordi'Is t 0 nari.ly -Lisecl in seelirin(, tl-,e rt,, o th ties. A further object. is to ,)rovicle anchoriii(ly means for railroad ties -v7iiieli is cheap to manufa6ture aiid simple to install. 20 -lur'ubei- object is to -Drovicle anchorin(y 'A 12-12. Unclei-lyin(- the flinges 1.2-12 is the ,tlicho iifc, i@, iihicli plate, p sl-ioulcl be oi' tough metal whereby to ivi@uhstai id severe shocks. . S,,tid anchor plq@te 13 60 co mprises tli c bec't )oi-tion 14 aoaptecl 'Lo lie up on the top of the tie 10 the il-IListrqted - anchor plate beiii(,r pr6v-icled -NATith a.down:wa rdlv exten(l'ii!x pili 15 oii th-, Liiidei, side of its bed l@ortioii, )i,hich pin is adapted to 65 )ject, into, i,lie tie @iiid Toriii a.pivot P'Oint @17 C for a tie plate. Tho 1.)ed portioii 1-4 i-s re- - - ces sed as iil-,Iictttecl by tlae, i-iumeral@@14' to ait oi(i high spots whl'cl-, Avoiild inte-rfere -Nvith the f Lilictioiis of the device. , The aiiehor 70 plate iyiay be o-f con-formation i.n pl,tn vieav ,ind will be 'provided, Dear cliagonally opposecl corners -,vith upwarclly projeqting fl,,tiio-os 16-16, .- Nvhich flaiip@es are proviciecl with reces,-;es, the top 7.5 -vi,alls of s,,tict recesse beiiig- indi6,@ited b s y i,,ieaiis which ma,7 be reaclily apl)lied eithe'r the niimerals As iviil be i3oiiit,ed o-Lit ,t;ls @vhich are Jiereinafter, the recess -ferred to a,@-,e -'lo new construction 6r. to r, es re ,,ilreacly in place. adapted to receive the heads of -rqilroad Furiher objects -will@ appe,,ti- ,is the@ de- spikes Ind the ),v,,ills l@-17 ,tre a-,Iai)tecl to so 25 ScT-iptioii proceeds. ovei-lje, aiid therefore provi(le - El@uc,til,6- Referr'ln(y '-o the draavi-ngsmeans to pi-evet-it the loosening of said @ L Fio-iire I is ,i, pl:-Ln shoiviilg I-),,tL-t o-E a spil@es from t-he The flanges 16-16 0 -,-ve ivalls 18- 18 Avhich act as stol)s idapte r@til, )@irt@ of ,I tie ancl one (,,mb clii@elit of the b c i impr@A,c,,cl anchor i)].ate, 's-,tid ad.el-ior pltte to ab-Lit a,:-,a; nst, the cres 12-1-2 o C the, r,Lil 85 e(li,@ite ,)Ositioii, oc- iiiider certtiin coiditions. Said Ils 1-8 beiii- slio-\vii ii,. an interill wa -18 clipie(-]. -vvlieii SPic-L tiieboi.@ pl,-Lte is being tlitis proa,icle limitiliq@ for i-otary stallecl - n-ioveiiient, o'L the anclior, pla'ue r(,I,,itive IL-,o Fi"iire I-) is a plan i,ie-%i, -,imilir to Figiire the rail, 1,@erii-@itt'ji si,.Id ar, hor -,)Iat,-, ',.o..asI but sbowincy the iTiehor plate in I s - ,iiichor@ si,,iiie the i)o iti.o F ' It s n 'llusti-ated i icytire 1, go Ni@ ill be referrec@ to II-IE' position; foL ,t PIIL-,,Dosc@ NA,hliel-i 3 is ,I section,,tl view taken. ,iloDhevoipa-t'-ter. L6ca'@ecl iii tlic, b(-,,d 1)ortion 14 tl)e Iiiie 3-,9, of Figure 2; of @Lllie tie plate the slots ),,@bich Fi(rui,e 4 is a vie,,v i.n sicle eleva'uion ofthe of are-Li,@te coiiformation liftving as sfructill-0 ill.I.IsIT."I,te(I in Vio.tire 2; tieir coni@,iioii center the center oT the becl 95 40 Fi,@:ii,-o 5 is f,, sectionql view tak(,,j-i aloiiu poi.-ti6n 1,@. S,,iid 1-ioles hai,e end the Iiiie 5-5 of Fitg@tuire Z2@ is 1,)y tile l@uiiier,,i-ls 9@0-2,0, Fil(yul@es C), 7 an.(-l S are vie,-Nvs of a illocli@i'lecl. @to coiifoi@.Iii to the sides@o@f the or,dinary railf-orin of the,pi@eseiit inA,-oTition. roact is rectaD(YLilar -tl'l cross ",'lie i-:illropd ti.e is iiidic,,tted bv the liu- @section. Wlieli @the ,i-achor t,,ito Is in the ioo p iiiei-al 10, Nvltilo 'ul-ie ni-imerql 11 indicates 0 @Ll e@ 4,-) t p sition iiidicated 'li Fioiire I tb.el in!zLilar -ail si -ed b@, gaic I tie, i -ipl:)orL -1 eiids ol'@ tbol arcuate slots 19@-19 )roN,i(le A gi-eat iiiimber of devices h,-i,v(,, I)eeii triecl locatint-Y i-neaiis T-or the r,,tilroi,d .- sl@ik for ral-is to the @,,Ies, 'L-he most coii-iY@,hereby tl-ie si)ike ma-,, be::-(Iriveh into the inon expedleiit to w@ei-cl3, di--'LA,-e spil@es tie I'-i-i aosicion Pdj,,ice-at to-the sides of the 105 p 5o lnlt,- o the t;les, @@ai(-'t sp'lkes h-,tvii-ig over h,,lii(-- -rail the spil@es being 111(lic@@ted by the ii,ii7 I)ea cls eiiL,:zt,riiicy Av@-tli the lowei, fl,,tiige of O-t, each,of sa-id si)ili:es coiiiprisingtllel Passaue o-f heai-y tra;iis over tli(@, 91-iaiik @- @2 ,tiid the hetd The,:sl-i,,iiik 22 o@f. rails h-,s the eitect of looseniii(Y s,.ii@t spi!Tes, e,,tch ,pike 21 lies in 1,)roximity to the side const th6 of ,t flan reqtiirin( at-it at'i:ention -P, keei)inz 12 of the while the head 23 ilo 15;,; r,,iils of eacli,of ,iid si,)ikes overli6s a flanoe 19ill proper POS 011. s The rail 11 is proviclecl -@vith the flano,-es whereby to 1-iold the rail,tiulitly in en(ya ge-

[2]

1,466,158 ment with the bed portiol'i 14. E-,tcl-i flange 16 overlies only a part o'L its correspoiiding ar6uate slot 19 whereby a spili:e may be driveii iiito said hole iii oiie positioii of the anchor plate, s,,@id spil@e underlying the wall 17 of ilan-oe 16 in an6ther position of s,,tid anchoi- 1)1@te. The arcuate slots 19--19 shotild be of suf-. licie-nt length to pei,m- it tl-e d@-iving of tlie 10 plate a rot,-ry iiiovement to a position sueb as indicatec't 'Iii Figure, 2, in which the ivalls 17-17 of the fian(,.es 16-16 overlie the he-,Lds 23 of the spii@'e's 21. In oiidei- t,) hold the, andior plpte iii i's-normal i n that is th p 'tioill dicatod in 15 po@'tio 1 e Osi in Figure 2, said ancl-ior pla@tle iiaay be@grooved loi@gitudinally wher6by, to provide tl-ie shotilclers 24-2zt. ivhich @hol-ilders Teceive bc-tween thein the flan-es 12-12 constitutinw 20 the base of the raif Tf Drefe'rred,- spil@es 21'--21' raay be driven throu(yl-i suitable aperti,ires in the a-Tichor pl,,ite-13 to aicl shoi,ilders 24-24 in prevencing an accideri-ioveme of said a el-ior plate. tal rot-,try, n nt n 25 If clesired the dci-wnwardly exte@ndin- pin n 15 ni.ay be oinitted, inasn-iuch as the - 9,T-ichor pla@te, may bo@ (Xlven its desired rotary movem6nt Nvi'thoLit baiting its center of rotation fixed 30 The method of installation ind the 'Lunetions of the ep:ibocliments of the present invention illustratecl ii Figures 1, to 5 -will be clear without cletailecl explaneion. It i-@-ta.y be stat(,,d bi-i@@fly, ho"lel7er, that the an35 clior pllltte ivill be pl,,teed ul)on a tie with tho ])ill 15 embeddecl iii said tie at the proper point to portnit the necess,,ti,l, j.-ottry i--riovement of tlie, -,tn,@hor 1)late. Ti@e Itncl;ot, plate -Ni,ill be pli@ce4 in the position inclic,,Ited iii 1 -i the i%,, -,lie flaiiges 4U l@'i(ytire 1, in. )Yli'cl i,lls 18 of I 16 lie ill enga(roment witli the sides of @7,' eS 12_1, r flang 0 f ail 11. End walls 20-20 of the ii-eiia:te lioles 19-19 i@ill (!onst'Ltilto lo(,atin(r nieins for the spil;@e-, 21-21, which 'ke ii,, V 1 0 1 15 si)l S ,i, be dr'veii 'iit the tie in pi-oxi iiity to , th ' sides of the fl,,tn,,-es 12-12 an(I e o 6rl v ying the tops of sa'd fl@tn,uos 12-12-. The anel-ior I)Iate nl"IA7 t]-iell be sti-uek %vitli t slecl:,n-e, b@,iii,,, o,' iveii a niovemeiit oi-@ rota 50 t,ion t@- a positi.ol@in-,Ili!Xlln-ielit -viitli @he rail 16@--16 of the ft,nelio@ plate will overlie the hea@ts.23-23 of the spil@:es 21. Tli(,, flang:es 12-12 will asstiine a. position betin,ecii ilic 55 @houlderg 24-24 of. the anchor 1)1,tte aiicl said aiiel-tor 1)1,,I,te Avill 'be secut-ely locked ii-i position. Olpilces 21'--21' -will eiisiire, this 'loelcinoactioii. B.1, i@eason Of tile li6ldIDO' offeet of flant@es 16 10 i@t @YI]l '@)e im,,)os60 sible I"or the spilces 21-21 to @j,,oi-k otil-, o-l' tb(@, ties. The upstandiii- -,vall.s oi' i'laii-e8l6-16 also prevent 'cl-ie spic@:es 21--91 frolli bepd11'1(1 or havin- tli6ir heqds 'loreed back, w@ich is a commop, ocelr@ence ir, tra,-k Nvorli:. 65 The pr4Bsent inv6iitioii, 'uherefore, -ptovides liaeans for preventino,- t,he ",Iiea@din(l," or she,,trlro,-" ofT of the heads of the spil@:es. V17lien it is desired to remove the anchor pltte illllSt).-.Lted i-n Figiires 1 to 5 from beiieatli @ rail, said opera'uloll ii-iay b,3 accoi-ii70 -,plished by sliglitly ]-,aisino, the i-ail by mealls of a croiv btir or other riieans, and, the spikes 21'-21' having beell remo ed O'iving the anehor plate a blo-@v V,@,ith the sledge wliereby to drive stid aiiehor pl,,tte to the 75 pc)sltlon indicated ;.n Figure 1, after ivi-lich the spilies 2't---91 m:ay 4e i-)riecl loose., If iluis (lesired 'Lo 'Install the aiichor pll,-te ,@ithout renioi,ino- tl-ie rails fi-om s,,tid ties, or if it is des re i d to remove the anchor plate froiy-i a 80 rail without ilemovlnff said i-ail, either operat;lon may b- accom[plished by lifti-Tig the rail a sufficient distance to allow the tops, of flt-tiges 16-16 to pass beneath said r,,,il. The- fi aii (yes 16-16 need be of only relatively 85 siiiall beiglit, so tliat the distance which the rail need be lifted is relatively sma I 11. -zkccol-c'Lin,@- to tl-ie modif"-ed l'orr I n Of the pres t 1-ioii ;Ilustrated all I -D1 .n TA Itii@e- 6 'i' ai,,d 8, the lockiny lat,@,@ is inoi7l-d to or, 90 z@ pfroji-i locking positioi-i relLti-,-e to the si)il.@es by a -Troven-iept loiigitudin,,Illy of- the rail. The a-.ichor 1)1,-te illustrated ill Fi(Ytlres 6, 7 anc.1 8 are indicated by the numc@i-al 2@,, ivlilcli a-.ichor pltte n-i,,iy b,- of g6iierttl r(Ileti,ncular co,-i-['oi-i-i-iation in F,1,111 View tnd msv i)e proa,ided -witli the slaoulders 26-,26 :@ili.ich rece;ve between theiii tl.e fl,,Lnges 12-12 of the railrord rail. The anchbr pl!tte 25 is I)i,ok,idecl with iil)stayidiiig flin(,es 100 2@-S,7 I.o(!@i,tecT iil,on tli(@ 2C) 26, c,@t(:h 6-fl s,,tid fliii 27 I)el i-(,,cessed t6 1)@roi,].(-Ie a to-[) wall 28 aiid i:il eild 28'. The -,tDCII.01' 1)1,)t(@ iS I)I'ON'i(ICCI Witl@ S]Ots 29--l@)') extenc-lin- ttio-,Iethrougli, I)elii,y -tslot, 29 io5 --Foi- 2@ iiid the ('tesj,,,n bc,,In,- SLict-i @ 7 , P , 7 c o @ , c i @ s o i i e e l d o n ] . o f tlial. y i")S (,Or]-PSi)OjlCliii,(,, slot i),(). E-,i@eli 2( i's in oiie i@iosi'tioii of r i plite 25 to oie J.'o ai d s,eciii@el, I old ilo iii pl@ice t corresl)OnOlDg spili@e 3(l, Al' L I SI t 9 ili'ii tb(, cori-est)ondii 0 _g iuclior 1)]@it(, is ',,n 11 J)ositio?l loll("Itttcli-ii-,il,ty ol' the rtil, tlie, spi]7,,@s "jO-@)(, be clr.'ti,-eii 'Iii'@o the- tie thi,oti(,Yh slot,@; 29-12,0 115 The 1. s't'on of tl-,G- aiiclior pl,,i,te-2D- P--i-illit, ')O I It,iii,,, dri-@- ii),., tl-ie sl)il-es .'io-;,o interfei,ence' is inoicato@l. in Figill-c" C)@ Fis ure 7 i-opi-esents the !,-)( @ 1- )sltion of tl o @i cbo,, 120 plate 25 in ivliieh the flaiiges 2T@--27 o,,-ei-lie the spikes a-'Ifl S(,ClirelAT li id iii positioli. SI)il@es 31-'l @mii,y be di-'I thi-oiigh stilt-,tblc- li-oles in the 1)1,q,t(@ 2,5 -tftc,,r -,.,tid an,,,hoi- I)Iat(, h,,ts t)een -q-i6l,eCt 125 L'o tl-ie position shown in Filyure 7, lvherel-@v to prever@t stid anchor IDIate fro.,ri creel)lra lojiomituclinally of the rail. instf!jl, @@ '@he for@n ci-a I -In iT)@ iei@tion sholvii in Figures 6, 7 and 8: ti-ie 130 whoreby the tol) N-@,i.Ils @(--17 of the iqiiio'e@, - ivithout I'n,terfereiiee wi@th fl,,tn(re";

[3]

1,466,158 anchor pl,,ite 2D- iiill be placed upoii the tie alict tn %iiehor 1:)Iate lyiny bet- I ",een s@iid tie in,tpositioiitiiidei',Yiiigther,til. Thettii,,I,ior and rail, said ailchor plite havin-,a holdpl,,tte ivlll be displ@tced a, short dist,,ince -I'rolyl Ing position and being provided witli me,,tlis @'@ts desirecl home position in a d'irectioi,- for Iii-l-iiti.ri- ro'L@arv MOATCII'Ient tllereof fi-oni loi)gittlclinally of sclicl ra-il aTi(I si)ikes 30-30 stid lioldiilg posi.tion, s,,tid,,%nchor p',,tue beTO 'II bo dr'ven throu(yl-l the sl-ots 29-1@9 tt ing also pro,,,ideCt "Tith spilce loc,.tilliii -NY I 1 t7l (_, m e @i n,) those ends of s,,tid slots whiol-i are iiot, coi,- aiio, witii a portion f6r overlyin(, aiid h6ldcred by flan,es 2'@-27. After the spikes Ing a i-ailro,,td spike. 30-30 h@ive been driveii int,) the tie, tlio 6. i-n coml)inatio-ii, a railt-oad tie, ,t r:@il, 10 anchor plate m,,ty be str-Lick I\Iitli t aiict an anchor I-)Iite I-vinL, bet-@ieen s@tid tie 75 -1 Lh 'ie bei g VI movinl(, s,,Iiue lon!c-rit-tidinally of the ri il to '- o rail, said anchor pla , n I)i-o @ded position inclicat@d in Figure 7, iii iiliich the Y,,ith means for li,iiiitip(Ir rotai-.y move@ment end -wtills 28'-28' of flap.(-es '-)7-2T aj)ttt tl-iei-eof, s,,tl'd @tnelior I-,roAIded 9 a-ainst spikes. 30 ,tnd top inalls 28 s(,,cLiLe'i.y %Vitl, means for locatir,@)- t), spi-ke -,vhen siid @n 15 liold the spikes 30-30 Lgainst loose.',Iiii,@-)-. - iiehor pla'e is it one lim"'L of its.rotar 80 y The flanges 27-27 iiill also lreve@iic, iiio-,,-c,- niovement -,ind beinff also pi-oi,idecl Aviti-i t ni.ep.t of the lip-ztds oT- the spilces '@')O iii zi cli'por'u'lon for oveillying anct l@oldina sticl Si-ilce rection l-,tei-ally o,'-' the rail. Sp-:Ikes may now be, inserted, to @pre-,Tei-lt crecpl-,ig "O action of the, anchor pl,,tte lon@),itticlinali-,r ol' the rail. The chosen embodiri@eilts of the preseiit invention have been t,,ikeii me,,!cly for the ptirpose cf illustr,,ttion ,Lnd shoulcl iot be 5 co-.isldere-,L in ,t 1-im'lt'lii(,y sense. mocl' ficatior,s will o,-cLir.tc, tl-iose skil'i,-,d in art. It is intendect, in this patent 'uo ---ovej@ all slteh iiiodific-ations that -1@all @,l@7 'tl-l-' 11 , the@ scope of the i.nvent-Lon as defired bv the ,tp30 pended claims.'@ I

Как компенсировать расходы
на инновационную разработку
Похожие патенты